Increasing the Efficiency of Marine Engine Parametric Diagnostics Based on Analyses of Indicator Diagrams and Heat-Release Characteristics
Abstract
:1. Introduction
- A delay in the pressure pulse due to the time required for the pressure wave to move through the channel;
- Acoustic resonance of the gas column and wave phenomena in the connecting channel;
- Changes in pressure acting on the sensor measuring node due to throttling or acceleration of the flow through the channel;
- Gas velocity acceleration due to measuring channel cross-section changes.
2. Research Preparation
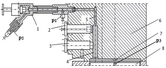
2.1. Preparation of the Stand for Research
2.2. Selection of the Method for Smoothing Indicator Diagrams
2.3. Selection of the Piston Top Dead Center (TDC) Method
2.4. Selection of the Computational Model of Heat-Release Characteristics Based on Indicator Diagrams
- A lack of recognition of the issue of determining heat-release characteristics based on an indicator diagram;
- A lack of effective data-processing methods;
- Difficulties in determining the TDC on the angular scale of indicator diagrams;
- Difficulties with “smoothing” indicator diagrams;
- Difficulties in determining the courses of the derived indicator diagrams;
- Distortion of the pressure signal caused by measuring channels and indicator cocks.
- (1)
- The gas was an ideal gas;
- (2)
- Load losses did not exist.
- An assumption of a constant value for the isentrope exponent;
- TDC location errors;
- Errors in determining the compression ratio ε;
- An error in the assessment of the compression starting pressure;
- Measurement errors introduced by pressure sensors.
3. Results and Discussion
3.1. Diagnostics of the Combustion Process Using the Cylinder Pressure Measurement
- The maximum value of the combustion pressure (pmax) measured at p3, which was noticeably lower than the pressures measured at other measurement points;
- The diagram corresponding with the measurement point p3 shifted to the left, relative to the TDC in relation to the other measurement points;
- The course of the combustion pressure p3 was disturbed to a lesser extent compared with the courses of p2 and p1;
- On the course of combustion pressure p3, the moment of a sudden increase in pressure due to the self-ignition of the fuel–air mixture was clearly seen (inflection of the curve). This inflection occurred at 175.5° CA. This was assumed, with high probability, to be the moment of self-ignition in the combustion chamber because it was invisible on the other runs;
- The courses of the combustion pressures p1 and p2 were similar, except for the area of passage through the highest pressure values, i.e., in the range of the crankshaft rotation angle from approximately 185° to 205° CA.
- The values of the mean indicated pressure (MIP) for the measurements at points p3 and p1 were similar, and the value of the pressure read on the indicator cock was the highest;
- The value of the maximum combustion pressure (pmax) was highest at measurement point p1 and lowest at p3, and the differences between these values were significant;
- The CA angle at the maximum combustion pressure (αpmax) was by far the lowest for p3. Large differences in the value of this parameter were noticed for other measurement points.
- For the research conducted with the selected damage to the above-mentioned engine systems, a greater diagnostic usefulness of indicator diagrams and indicated parameters was observed when the cylinder pressure measurement was obtained without measuring channels.
3.2. Diagnostics of the Combustion Process Using the Heat-Release Function
4. Conclusions
Author Contributions
Funding
Data Availability Statement
Conflicts of Interest
References
- Kaisan, M.U.; Anafi, F.O.; Nuszkwoski, J.; Kulla, D.M.; Umaru, S. GC–MS analyses of biodiesel produced from cotton seed oil. Niger. J. Sol. Energy 2016, 27, 56–61. [Google Scholar]
- Drewing, S.; Witkowski, K. Spectral Analysis of Torsional Vibrations Measured by Optical Sensors, as a Method for Diagnosing Injector Nozzle Coking in Marine Diesel Engines. Sensors 2021, 21, 775. [Google Scholar] [CrossRef] [PubMed]
- Tadros, M.; Ventura, M.; Soares, C. Assessment of the performance and the exhaust emissions of a marine diesel engine for different start angles of combustion. Marit. Technol. Eng. III 2016, 3, 769–775. [Google Scholar] [CrossRef]
- Bai, F.; Zhang, Z.; Du, Y.; Zhang, F.; Peng, Z. Effects of Injection Rate Profile on Combustion Process and Emissions in a Diesel Engine. J. Combust. 2017, 2017, 9702625. [Google Scholar] [CrossRef]
- Vettor, R.; Tadros, M.; Ventura, M.; Guedes Soares, C. Influence of Main Engine Control Strategies on Fuel Consumption and Emissions, Maritime Technology and Engineering. In Progress in Maritime Technology and Engineering; Guedes Soares, C., Santos, T.A., Eds.; Taylor & Francis Group: London, UK, 2018; pp. 157–163. [Google Scholar] [CrossRef]
- Hiroyasu, H.; Miao, H.; Hiroyasu, T.; Miki, M.; Kamiura, J.; Watanabe, S. Genetic Algorithms Optimization of Diesel Engine Emissions and Fuel Efficiency with Air Swirl, EGR, Injection Timing and Multiple Injections. SAE Trans. 2003, 112, 1353–1364. [Google Scholar] [CrossRef]
- Włostowski, R.; Wróbel, R.; Trzmiel, K.; Dyrcz, K.; Dębowski, L. Analysis methods of measuring the pressure in the combustion chamber of an internal combustion engine in terms of use as a control signal in diesel engines. Combust. Engines 2013, 154, 587–592. [Google Scholar]
- Vuollet, T. Next Generation UNIC Automation System to Enable Wärtsilä 31 Performance, Presented at the CIMAC Congress 2016. Available online: https://www.wartsila.com/insights/article/next–generation–unic–automation–system–enables–wartsila–31–performance (accessed on 24 February 2023).
- Available online: https://www.man–es.com/docs/default–source/document–sync/retrofit–upgrade–eng.pdf?sfvrsn=ea0f5eee_7 (accessed on 1 April 2023).
- Available online: https://kistler.cdn.celum.cloud/SAPCommerce_Download_original/960–712e.pdf (accessed on 1 April 2023).
- Available online: www.new.abb.com/products/measurement–products/combustion–pressure–measurement (accessed on 24 February 2023).
- Available online: www.iconresearch.co.uk/diesel–engine–analysis/doctor–portable (accessed on 24 February 2023).
- Cupiał, K.; Dużyński, A.; Gruca, M.; Grzelka, J. Some errors of gas engine indication. J. KONES Intern. Combust. Engines 2001, 8, 154–171. [Google Scholar]
- Gałecki, W.; Tomczak, L. Indykowanie Okrętowych Silników Spalinowych; Wydawnictwo Akademii Morskiej w Gdyni: Gdynia, Poland, 2002. [Google Scholar]
- Polanowski, S. Studium Metod Analizy Wykresów Indykatorowych w Aspekcie Diagnostyki Silników Okrętowych; Nr. 169A; Scientific Journal of Polish Naval Academy: Gdynia, Poland, 2007. [Google Scholar]
- Polanowski, S.; Pawletko, R.; Witkowski, K. Influence of pressure sensor location on the quality of thermodynamic parameters calculated from the marine engine indicator diagram. Combust. Engines 2013, 154, 319–323. [Google Scholar]
- Tomczak, L. Wykorzystanie Pośredniej Metody Określania Położenia Wału Korbowego w Indykatorze Elektronicznym. Ph.D. Thesis, The Faculty of Mechanics, The Gdansk University of Technology, Gdansk, Poland, 2001. [Google Scholar]
- Walter, T.; Gossweiler, C.; Willson, B. Application of an Improved Model for the Determination of Acoustic Resonances in Indicator Passages for Combustion Pressure Measurements in Large Bore Gas Engines. In Proceedings of the ASME 2006 Internal Combustion Engine Division Spring Technical Conference (ICES2006), Aachen, Germany, 7–10 May 2006; Available online: https://www.kistler.com (accessed on 20 November 2022).
- Wysocki, J. Modification of the System for Measuring Combustion Pressure in the Ship Piston Engine Sulzer AL25/30; Scientific Journal of Gdynia Maritime University: Gdynia, Poland, 2018; pp. 168–180. [Google Scholar] [CrossRef]
- Polanowski, S. Wygładzanie Wykresów Indykatorowych Ruchomymi Obiektami Aproksymującymi z Więzami Łamanymi; Nr. 1; Scientific Journal of Polish Naval Academy: Gdynia, Poland, 2006. [Google Scholar]
- Savitzky, A.; Golay, M.J.E. Smoothing and Differentiation of Data by Simplified Least Squares Procedures. Anal. Chem. 1964, 36, 1627–1639. [Google Scholar] [CrossRef]
- Pawletko, R. Increasing the accuracy of the mean indicated pressure determination by appointment of the tdc cylinder position. J. KONES Powertrain Transp. 2014, 21, 251–258. [Google Scholar] [CrossRef]
- Polanowski, S.; Pawletko, R. Wyznaczanie GMP silników okrętowych z zastosowaniem wielomianowego modelu wykładnika krzywej sprężania. Combust. Engines 2011. Available online: http://yadda.icm.edu.pl/yadda/element/bwmeta1.element.baztech–article–LOD9–0031–0015 (accessed on 24 February 2023).
- Wajand, J. Możliwość wykorzystania wykresów indykatorowych do określania przebiegu wydzielania ciepła w cylindrze silnika spalinowego. Siln. Spalinowe 1966, 2, 111. [Google Scholar]
- Hayes, I.K.; Savage, L.D.; Sorenson, S.C. Cylinder pressure data acquisition and heat release analysis on a personal computer. In SAE International, Technical Paper 860029; SAE International: Warrendale, PA, USA, 1986; ISSN 0148-7191. e-ISSN 2688-3627. [Google Scholar] [CrossRef]
- Woschni, G.; Anisits, F. Experimental Investigation and Mathematical Presentation of Rate of Heat Release in Diesel Engines Dependent upon Engine Operating Conditions. In SAE Technical Paper 740086; SAE International: Warrendale, PA, USA, 1974. [Google Scholar] [CrossRef]
- Lyn, W.T. Calculations of the Effect of Rate of Heat Release on the Shape of Cylinder–Pressure Diagram and Cycle Efficiency. Proc. Inst. Mech. Eng. Automob. Div. 1960, 14, 34–46. [Google Scholar] [CrossRef]
- Rychter, T.; Teodorczyk, A. Modelowanie Matematyczne Roboczego Cyklu Silnika; PWN: Warszawa, Poland, 1990. [Google Scholar]
- Schweitzer, P. The Tangent Method of Analysis of Indicator Cards of Internal Combustion Engines; Bulletin No 35; Pennsylvania State University: State College, PA, USA, 1926. [Google Scholar]
- Ambrozik, A.; Łagowski, P. Wybrane metody sporządzania charakterystyk wydzielania ciepła w silnikach spalinowych. J. KONES 2005, 15–25. Available online: https://kones.eu/ep/2005/vol12/no12/JOURNAL%20OF%20KONES%202005%20NO%201–2%20VOL%2012%20AMBROZIK%202.pdf (accessed on 24 February 2023).
- Michalecki, M. Badanie Procesu Wydzielania Ciepła w Dwusuwowym Wysokoprężnym Silniku Na Podstawie Wykresu Indykatorowego; Mechanika, V., Ed.; Zeszyty Naukowe Politechniki Gdańskiej: Gdańsk, Poland, 1973. [Google Scholar]
- Staś, M.J.; Wajand, J.A. Niektóre problemy analizy oraz interpretacji wykresu przebiegu wydzielania ciepła w silnikach z zapłonem samoczynnym i wtryskiem bezpośrednim. In Silniki Spalinowe; Polskie Towarzystwo Silników Spalinowych: Poznań, Poland, 1973. [Google Scholar]
- Staś, M.J. Preparation of diesel engine indicator diagrams for cycle calculations. In Journal of KONES Powertrain and Transport; Conference Materials; Journal of KONES: Warszawa, Poland, 1999. [Google Scholar]
- Teisseyre, A. Obliczanie przebiegu spalania w silniku wysokoprężnym na podstawie wykresu indykatorowego. In Silniki Spalinowe; Polskie Towarzystwo Silników Spalinowych: Poznań, Poland, 1973; Nr 1. [Google Scholar]
- Witkowski, K. Wykorzystanie Analizy Charakterystyk Wydzielania Ciepła do Oceny Stanu Technicznego Aparatury Wtryskowej Silnika Okrętowego; Rozprawy nr. 490; Wydawnictwo Politechniki Poznańskiej: Poznań, Poland, 2013; ISBN 978-83-7775-247-0. ISSN 0551-6528. [Google Scholar]
- Witkowski, K.; Wysocki, J. The possibilities to effectively of detecting failures and defects in the injection system of a marine diesel engine. SAE Int. J. Engines 2020, 1, 10. [Google Scholar] [CrossRef]
- Ambrozik, A. Wybrane Zagadnienia Procesów Cieplnych w Tłokowych Silnikach Spalinowych; Wydawnictwo Politechniki Świętokrzyskiej: Kielce, Poland, 2003; ISSN 0239-4979. [Google Scholar]
- Heywood, J.B. Internal Combustion Engine Fundamentals; McGraw–Hill Company: Haymarket, NSW, Australia, 1988. [Google Scholar]
- Klein, M. A Specific Heat Ratio Model and Compression Ratio Estimation; Department of Electrical Engineering, Linköping University: Linköping, Sweden, 2003; ISBN 91-7373-992-8. ISSN 0280-7971. LiU-TEK-LIC-2004:33. [Google Scholar]
- Klein, M. Single–Zone Cylinder Pressure Modeling and Estimation for Heat Release Analysis of SI Engines; Department of Electrical Engineering, Linköping University: Linköping, Sweden, 2007; ISBN 978-91–85831–12–8. ISSN 0345–7524. [Google Scholar]
- Sikora, M.; Orliński, P.; Bednarski, M.; Wojs, M. Evaluation of the heat release rate in the combustion chamber of the self–ignition engine powered by sunflower methyl esters. In Zeszyty Naukowe Instytutu Pojazdów; Instytut Pojazdów Politechniki Warszawskiej: Warszawa, Poland, 2018; Volume 1, pp. 27–34. Available online: https://repo.pw.edu.pl/info/article/WUT84cf98270c864ddba79a5deaa0d0558e/ (accessed on 20 November 2022).
- Kriger, R.B.; Borman, G.L. The Computation of Apparent Heat Release for Internal Combustion Engines; ASME Paper 66-WA/DGP-4; ASME: New York, NY, USA, 1966. [Google Scholar]






| Indicated Parameters | p1 | p2 | p3 |
|---|---|---|---|
| MIP (MPa) | 0.79 | 0.81 | 0.79 |
| pmax (MPa) | 8.18 | 8.53 | 7.96 |
| αpmax (° CA) | 16.5 | 18.0 | 13.5 |
| 1 | 2 | 3 | 4 | 5 | 6 | 7 | 8 |
|---|---|---|---|---|---|---|---|
| Selected Parameters | Engine Running Without Damage | Leakage of the Injection Pump | Difference (Column 2–Column 3) | Dirty Compressor Air Filter | Difference (Column 2–Column 5) | Combustion Chamber Leakage | Difference (Column 2–Column 7) |
| 72.47 | 55.78 | 16.69 | 64.01 | 8.46 | 66.59 | 5.88 | |
| 193.50 | 197.00 | −3.50 | 194.00 | −0.50 | 195.50 | −2.00 | |
| 4.13 | 23.88 | 16.25 | 34.26 | 5.87 | 35.08 | 5.05 | |
| 54.44 | 41.58 | 12.86 | 52.16 | 2.28 | 52.21 | 2.23 | |
| 323.50 | 323.50 | 0.00 | 323.00 | 0.50 | 322.00 | 1.50 | |
| 21.90 | 13.40 | 8.50 | 19.64 | 2.26 | 20.69 | 1.21 |
Disclaimer/Publisher’s Note: The statements, opinions and data contained in all publications are solely those of the individual author(s) and contributor(s) and not of MDPI and/or the editor(s). MDPI and/or the editor(s) disclaim responsibility for any injury to people or property resulting from any ideas, methods, instructions or products referred to in the content. |
© 2023 by the authors. Licensee MDPI, Basel, Switzerland. This article is an open access article distributed under the terms and conditions of the Creative Commons Attribution (CC BY) license (https://creativecommons.org/licenses/by/4.0/).
Share and Cite
Wysocki, J.; Witkowski, K. Increasing the Efficiency of Marine Engine Parametric Diagnostics Based on Analyses of Indicator Diagrams and Heat-Release Characteristics. Energies 2023, 16, 6240. https://doi.org/10.3390/en16176240
Wysocki J, Witkowski K. Increasing the Efficiency of Marine Engine Parametric Diagnostics Based on Analyses of Indicator Diagrams and Heat-Release Characteristics. Energies. 2023; 16(17):6240. https://doi.org/10.3390/en16176240
Chicago/Turabian StyleWysocki, Jacek, and Kazimierz Witkowski. 2023. "Increasing the Efficiency of Marine Engine Parametric Diagnostics Based on Analyses of Indicator Diagrams and Heat-Release Characteristics" Energies 16, no. 17: 6240. https://doi.org/10.3390/en16176240
APA StyleWysocki, J., & Witkowski, K. (2023). Increasing the Efficiency of Marine Engine Parametric Diagnostics Based on Analyses of Indicator Diagrams and Heat-Release Characteristics. Energies, 16(17), 6240. https://doi.org/10.3390/en16176240

