Modelling of Solar PV under Varying Condition with an Improved Incremental Conductance and Integral Regulator
Abstract
:1. Introduction
- Improved incremental conductance with an integral regulator strategy (IC + IR) to track the peak power point and maximize the output of the solar PV system under outdoor conditions.
- An automatic converter restoration scheme that incorporates a block and de-blocking restoration control scheme was designed to control the converter’s switching mechanism and to prevent the device from a higher phase current/voltage, a switch-on instantaneous input current surge, solar PV faults, and grid faults.
- The proposed method attenuates the occurrence of oscillations and ripples in the output power due to the error signal generated between the instantaneous and incremental conductance.
- The proposed method provides grid voltage stability under variations in load, solar irradiance, and temperature.
- How can the impact of irradiance and temperature variations on the solar PV output be controlled?
2. Method and Materials
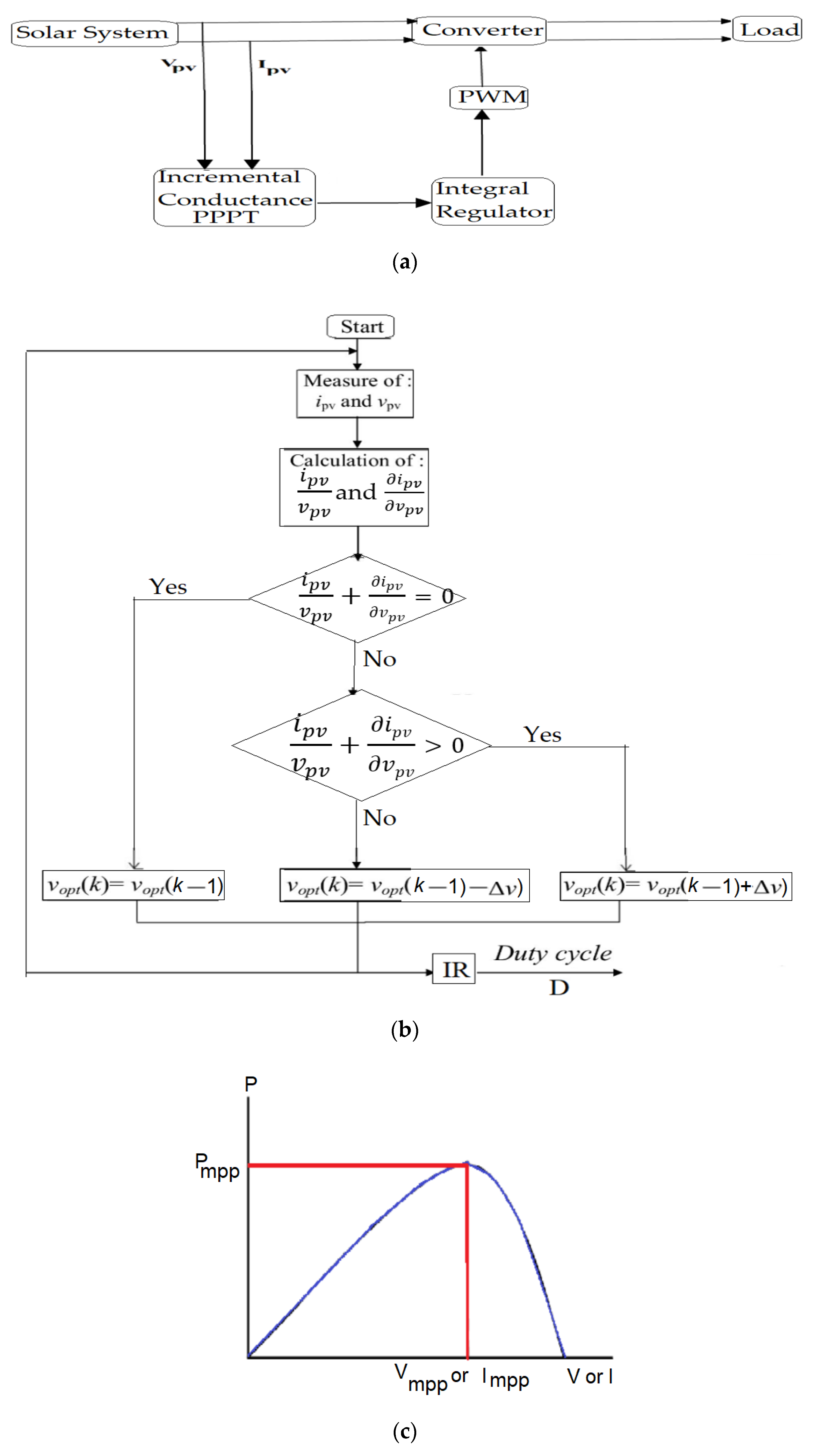
2.1. Photovoltaic Modeling
2.2. Overview of Perturb and Observe Strategy
- is calculated from and .
- Power and voltage data are saved.
- The data are verified for the next successive immediate values and the first step is repeated.
- The data processed at immediate values are subtracted from the data processed at .
- If on the right-hand side of the solar curve, the slope of the graph will be negative. Similarly, if on the left-hand side of the solar curve, the slope will be positive. Consequently, the reduced duty cycle appears at the right-hand side of the curve, and excessive duty appears on the left-hand side of the curve.
- Depending on the polarity of the slope after subtraction, the algorithm decides the change in the duty cycle.
2.3. Incremental Conductance
2.4. Improvement in Incremental Conductance with Integral Regulator Strategy
2.5. Boost Converter Modeling
2.6. Proposed Converter Restoration Scheme
2.7. Proposed Converter Block/De-Block Scheme
2.8. Test System Description
3. Results and Discussion
4. Conclusions
Author Contributions
Funding
Institutional Review Board Statement
Informed Consent Statement
Data Availability Statement
Conflicts of Interest
Nomenclature
| PCC | Point of common coupling |
| DC-DC | Direct current to direct current |
| PPP | Peak power point |
| PPPT | Peak power point tracking |
| P & OA | Perturb and observe algorithm |
| GW | Gigawatt |
| PV | Photovoltaic |
| IC | Incremental conductance |
| IR | Integral regulator |
| Open circuit voltage | |
| Short circuit current | |
| G | Surface irradiation at module temperature (T) in kW/m2 |
| Irradiation at standard temperature condition | |
| ∆I | Change in current |
| ∆V | Change in voltage |
| Direct current of the active component | |
| Quadrature currents of the reactive component | |
| VSC | Voltage source converter |
| Input voltage | |
| Output voltage | |
| I0 | Output current of the DC-DC boost converter |
| Switching frequency | |
| Change in voltage | |
| PV output current | |
| PV output voltage | |
| Energy gap of solar cell | |
| Photo-generated current | |
| Series resistor | |
| Shunt resistor | |
| Instantaneous conductance | |
| Incremental conductance | |
| q | Quantity of electron charge |
| α | Ideality factor of the diode |
| γ | Boltzmann’s constant , |
| T | Temperature |
| Diode saturation current | |
| Standard temperature condition | |
| No. of series solar modules | |
| Open circuit voltage | |
| D | Duty |
| Direct current link voltage | |
| Direct current | |
| INC | Incremental conductance |
| MPPT | Maximum power point tracking |
| GMPP | Global maximum power point |
| UPF | Unity power factor |
| Temperature coefficient | |
| Thermal coefficient |
Appendix A
| Parameters | Values |
| Number of cells per module | 5 |
| Number of parallel strings | 66 |
| Modules connected in parallel | 305.2 W ± 5% |
| Number of series-connected cells | 96 |
| Open-circuit voltage | 64.2 V |
| Short-circuit current | 5.96 A |
| 62.1 volts | |
| Voltage at peak power | 54.7 volts |
| Current at peak power | 5.58 amps |
| Boost converter | Component’s value |
| Inductance | 5 mH |
| Capacitor | 12,000 mF |
| Transformer rating | Component’s value |
| R1, R2 | 1 m Ohm |
| L1, L2 | 3 mH |
| Primary voltage | 260 volts |
| Secondary voltage | 25 kV |
| Nominal power | 100 kVA |
| Solar array output voltage | 250 volts |
| Boost converter output | 500 volts |
| Modulation Index | 0.85 |
References
- Mirza, U.; Ahmad, N.; Majeed, T.; Harijan, K. Wind Energy Development in Pakistan. Renew. Sustain. Energy Rev. 2007, 11, 2179–2190. [Google Scholar] [CrossRef]
- Paul, A.V.; Stephan, S.; Simon, B.; Lennart, S.; Joachim, M. Modeling Energy Demand—A Systematic Literature Review. Energies 2021, 23, 7859. [Google Scholar]
- Chaudhry, M.A.; Raza, R.; Hayat, S.A. Renewable Energy Technologies in Pakistan: Prospects and Challenges. Renew. Sustain. Energy Rev. 2009, 13, 1657–1662. [Google Scholar] [CrossRef]
- Akinyemi, A.S. Optimum Impacts of Renewable Energy Generation on Voltage Dip and Voltage Profile in a Distribution Network. Inter. J. Sci. Eng. Res. 2019, 10, 280–291. [Google Scholar]
- Akinyemi, A.S.; Awodele, K. Voltage Profiles Improvement with Wind Energy Converter Connected to a Distribution Network. In Proceedings of the Southern Africa University Power Engineering Conference SAUPEC, Johannesburg, South Africa, 28–30 January 2015. [Google Scholar]
- Akinyemi, A.S.; Davidson, I.E. Impact of Renewable Energy Generation on Voltage Flicker with Dynamic Load Connected to Distribution Network. Inter. J. Appl. Eng. Res. 2019, 14, 3137–3145. [Google Scholar]
- Osaloni, O.O.; Akinyemi, A.S. Voltage Profile improvement and Loss Reduction in LV Distribution network using Genetic Algorithm. Inter. J. Sci. Eng. Res. 2019, 10, 1857–1863. [Google Scholar]
- Winstona, D.P.; Kumaravelb, S.; Kumarc, B.P.; Devakirubakaran, S. Performance Improvement of Solar PV Array Topologies During Various Partial Shading Conditions. Sol. Energy 2020, 196, 228–242. [Google Scholar] [CrossRef]
- Chuanxiang, X.; Kazutaka, I.; Tsugutomo, K.; Keishin, K.; Qiang, G. Proposal for an Active PV Array to Improve System Efficiency During Partial Shading. IEEE Access 2021, 9, 143423–143433. [Google Scholar]
- Mahmoud, N.A.; Karar, M.; Matti, L.; Mohamed, M.D. An Efficient Fuzzy-Logic Based Variable-Step Incremental Conductance MPPT Method for Grid-Connected PV Systems. IEEE Access 2021, 9, 26420–26430. [Google Scholar]
- Elianne, M.; Jenny, C.; Geovanny, M. Short-Term Forecasting of Wind Energy: A Comparison of Deep Learning Frameworks. Energies 2021, 22, 7943. [Google Scholar]
- Abunima, H.; Teh, J. Reliability Modeling of PV Systems Based on Time Varying Failure Rates. IEEE Access 2020, 8, 14367–14376. [Google Scholar] [CrossRef]
- Panda, B.; Panda, B.; Khillo, A.; Pradhan, A.; Jena, C. PV Based DC-DC Converter Design Using MPPT for Stand Alone System. Int. J. Sci. Technol. Res. 2020, 9, 5075–5079. [Google Scholar]
- Imran, P.; Immad, S.; Saad, M.; Adil, S.; Mohd, T.; Basem, A. Most Valuable Player Algorithm based Maximum Power Point Tracking for a Partially Shaded PV Generation System. IEEE Trans. Sustain. Energy 2021, 12, 18761890. [Google Scholar]
- Rajib, B.R.; Rokonuzzaman, M.; Nowshad, A.; Mahmuda, K.M.; Sanath, A.; Saifur, R.; Jagadeesh, P. A Comparative Performance Analysis of ANN Algorithms for MPPT Energy Harvesting in Solar PV System. IEEE Access 2021, 9, 102137–102152. [Google Scholar]
- Catalina, G.; Carlos, R.; Samir, K.; Jose, R. MPPT Algorithm Based on Artificial Bee Colony for PV System. IEEE Access 2021, 9, 43121–43133. [Google Scholar]
- Anusha, K.; Hossein, D.T.; Nandha, K.K.; Glen, G.F.; Josep, P.; Thangavel, S. Flexible Power Point Tracking for Solar Photovoltaic Systems Using Secant Method. IEEE Trans. Power Electron. 2021, 36, 9419–9429. [Google Scholar]
- Afzaal, M.U.; ISajjad, I.A.; Awan, A.B.; Paracha, K.N.; Khan, M.F.; Bhatti, A.R.; Tlili, I. Probabilistic Generation Model of Solar Irradiance for Grid Connected Photovoltaic Systems Using Weibull Distribution. Sustainability 2020, 12, 2241. [Google Scholar] [CrossRef] [Green Version]
- Santos, J.L.; Antunes, L.; Chehap, A.; Cruz, C. A Maximum Power Point Tracker for PV System Using a High-Performance Boost Converter. Elsevier Sol. Energy 2006, 80, 772–778. [Google Scholar] [CrossRef]
- Welfle, A.; Thornley, P.; Röder, M. A Review of the Role of Bioenergy Modelling in Renewable Energy Research Policy Development. Biomass Bioenergy 2020, 136, 105542. [Google Scholar] [CrossRef]
- Thellufsen, J.Z.; Lund, H.; Sorknæs, P.; Østergaard, P.A.; Chang, M.; Drysdale, D.; Sperling, K. Smart Energy Cities in a 100% Renewable Energy Context. Renew. Sustain. Energy Rev. 2020, 129, 109922. [Google Scholar] [CrossRef]
- Saibal, M.; Ashok, K.A. Comparative Analysis of Various P O MPPT Algorithm for PV System Under Varying Radiation Condition. Inter. In Proceedings of the 2021 1st International Conference on Power Electronics and Energy (ICPEE), Bhubaneswar, India, 2–3 January 2021. [Google Scholar]
- Khadidja, S.; Mountassar, M.; M’hamed, B. Comparative Study of Incremental Conductance and Perturb Observe (P O) MPPT Methods for Photovoltaic Application. In Proceedings of the 2017 International Conference on Green Energy Conversion Systems (GECS), Hammamet, Tunisia, 23–25 March 2017. [Google Scholar]
- Podder, A.K.; Roy, N.K.; Pota, H.R. IET Review Power Gener. MPPT Methods for Solar PV system. Crit. Rev. Based Track. Nat. 2019, 13, 1615–1632. [Google Scholar]
- Akinyemi, A.S.; Kabeya, M.; Davidson, I.E. Voltage Rise Regulation with a Grid Connected Solar Photovoltaic System. Energies 2021, 14, 7510. [Google Scholar]
- Gupta, A.K.; Pachauri, R.K.; Maity, T.; Chauhan, Y.K.; Mahela, O.P.; Khan, B.; Gupta, P.K. Effect of Various Incremental Conductance MPPT Methods on the Charging of Battery Load Feed by Solar Panel. IEEE Access 2021, 9, 90977–90988. [Google Scholar] [CrossRef]
- Zand, S.J.; Hsia, K.H.; Eskandarian, N.; Mobayen, S. Improvement of Self-Predictive Incremental Conductance Algorithm with the Ability to Detect Dynamic Conditions. Energies 2021, 14, 1234. [Google Scholar] [CrossRef]
- Owusu-Nyarko, I.; Elgenedy, M.A.; Abdelsalam, I.; Ahmed, K.H. Modified Variable Step-size Incremental Conductance MPPT Technique for Photovoltaic Systems. Electronics 2021, 10, 2331. [Google Scholar] [CrossRef]
- Pathak, P.K.; Padmanaban, S.; Yadav, A.K.; Alvi, P.A.; Khan, B. Modified Incremental Conductance MPPT Algorithm for SPV-based Grid-tied and Stand-alone Systems. IET Gen. Trans. Distrib. 2021, 10, 776–791. [Google Scholar] [CrossRef]
- Hussaian, C.B.; Rani, C. Different Conventional and Soft Computing MPPT Techniques for Solar PV Systems with High Step-Up Boost Converters: A Comprehensive Analysis. Energies 2020, 13, 371. [Google Scholar]
- Noureddine, B.; Djamel, B.; Vicente, F.; Fares, B.; Boualam, B.; Bachir, B. Maximum Power Point Tracker Based on Fuzzy Adaptive Radial Basis Function Neural Network for PV-System. Energies 2019, 12, 2827. [Google Scholar]
- Tomasz, B. A Conductance-Based MPPT Method with Reduced Impact of the Voltage Ripple for One-Phase Solar Powered Vehicle or Aircraft Systems. Energies 2020, 13, 1496. [Google Scholar]
- Ma, M.; Liu, X.; Lee, K.Y. Maximum Power Point Tracking and Voltage Regulation of Two-Stage Grid-Tied PV System Based on Model Predictive Control. Energies 2020, 13, 1304. [Google Scholar] [CrossRef] [Green Version]
- Leopoldo, G.; Belem, S.; Otniel, P.; Juan Carlos, Á.; Pánfilo, R.M.; Rigoberto, M. Flatness-Based Control for the Maximum Power Point Tracking in a Photovoltaic System. Energies 2019, 12, 1843. [Google Scholar]
- Femia, N.; Petrone, G.; Spagnuolo, G.; Vitelli, M. Optimization of Perturb and Observe Maximum Power Point Tracking Method. IEEE Trans. Power Electron. 2005, 20, 963–973. [Google Scholar] [CrossRef]
- Hyeon-Seok, L.; Jae-Jung, Y. Advanced MPPT Algorithm for Distributed Photovoltaic Systems. Energies 2019, 12, 3576. [Google Scholar]
- Mohamed, L.; Daniel, T.C.; Petru, A.C. Management and Performance Control Analysis of Hybrid Photovoltaic Energy Storage System under Variable Solar Irradiation. Energies 2020, 13, 3043. [Google Scholar]
- Espi, J.M.; Castello, J. A Novel Fast MPPT Strategy for High Efficiency PV Battery Chargers. Energies 2019, 12, 1152. [Google Scholar] [CrossRef] [Green Version]
- Wijaya, B.H.; Subroto, R.K.; Lian, K.L.; Hariyanto, N. A Maximum Power Point Tracking Method Based on a Modified Grasshopper Algorithm Combined with Incremental Conductance. Energies 2020, 13, 4329. [Google Scholar] [CrossRef]
- Fatih, O.K.; Ahmet, G.; Mustafa, S. Design and Hardware Implementation Based on Hybrid Structure for MPPT of PV System Using an Interval Type-2 TSK Fuzzy Logic Controller. Energies 2020, 13, 1842. [Google Scholar]
- Raihan, K.; Pranda, M.P.; Hyunjin, L. Performance Assessment of Global Horizontal Irradiance Models in All-Sky Conditions. Energies 2021, 23, 7939. [Google Scholar]
- Anjan, D.; Imtiaz, P.; Dastgir, M.G.; Asim, N.; Temitayo, O.O.; Hugo, R.; Arif, S. Voltage Regulation of Photovoltaic System with Varying Loads. In Proceedings of the 2020 SoutheastCon, Raleigh, NC, USA, 28–29 March 2020. [Google Scholar]
- Michelle, K.S.; Mehreen, G.S.; Hassam, C. Review on the Sources of Power Loss in Monofacial and Bifacial Photovoltaic Technologies. Energies 2021, 23, 7935. [Google Scholar]
- Krishnendu, S.; Arkatanu, M.; Mandal, K.K.; Bhimsen, T. Control Strategy for Active and Reactive Power Regulation of Grid Tied Photovoltaic System. In Proceedings of the Control Strategy for Active and Reactive Power Regulation of Grid Tied Photovoltaic System, Kolkata, India, 5–7 February 2021. [Google Scholar]
- Diego, A.F.; Alberto, L.; Norma, L.; Octavio, G.; César, D.; Ignacio, A. Optimal Strategy for the Improvement of the Overall Performance of Dual-Axis Solar Tracking Systems. Energies 2021, 22, 7795. [Google Scholar]
- Vincenzo, F.; Aldo, O.; Alessandra, D.G. Assessment of the Usability and Accuracy of Two-Diode Models for Photovoltaic Modules. Energies 2017, 10, 564. [Google Scholar]
- Wang, Z.; Peng, Y.; Liu, Y.; Guo, Y.; Liu, Y.; Geng, H.; Li, S.; Fan, C. Photovoltaic Power Quality Analysis Based on the Modulation Broadband Mode Decomposition Algorithm. Energies 2021, 23, 7948. [Google Scholar] [CrossRef]
- Daniele, Z.; Marija, D.; Luciano, M.S. Income Maximization in a Maltese Household Photovoltaic System by Means of Output and Consumption Simulations. Energies 2021, 23, 7934. [Google Scholar]
- Mehmet, A.Y.; Marzena, N. Modified Maximum Power Point Tracking Algorithm under Time-Varying Solar Irradiation. Energies 2020, 24, 6722. [Google Scholar]
- Aouchiche, N.; Cheikh, M.A.; Becherif, M.; Ebrahim, M.A.; Hadjarab, A. Fuzzy Logic Approach Based MPPT for the Dynamic Performance Improvement for PV Systems. In Proceedings of the Fuzzy Logic Approach Based MPPT for the Dynamic Performance Improvement for PV Systems, Boumerdes, Algeria, 29–31 October 2017. [Google Scholar]













Publisher’s Note: MDPI stays neutral with regard to jurisdictional claims in published maps and institutional affiliations. |
© 2022 by the authors. Licensee MDPI, Basel, Switzerland. This article is an open access article distributed under the terms and conditions of the Creative Commons Attribution (CC BY) license (https://creativecommons.org/licenses/by/4.0/).
Share and Cite
Stephen, A.A.; Musasa, K.; Davidson, I.E. Modelling of Solar PV under Varying Condition with an Improved Incremental Conductance and Integral Regulator. Energies 2022, 15, 2405. https://doi.org/10.3390/en15072405
Stephen AA, Musasa K, Davidson IE. Modelling of Solar PV under Varying Condition with an Improved Incremental Conductance and Integral Regulator. Energies. 2022; 15(7):2405. https://doi.org/10.3390/en15072405
Chicago/Turabian StyleStephen, Akinyemi Ayodeji, Kabeya Musasa, and Innocent Ewean Davidson. 2022. "Modelling of Solar PV under Varying Condition with an Improved Incremental Conductance and Integral Regulator" Energies 15, no. 7: 2405. https://doi.org/10.3390/en15072405
APA StyleStephen, A. A., Musasa, K., & Davidson, I. E. (2022). Modelling of Solar PV under Varying Condition with an Improved Incremental Conductance and Integral Regulator. Energies, 15(7), 2405. https://doi.org/10.3390/en15072405

