Strategy of Compatible Use of Jet and Plunger Pump with Chrome Parts in Oil Well
Abstract
1. Introduction
1.1. State of the Current Development of the Problem and Formulating a Research Task
1.2. Purpose and Tasks of Research
- −
- calculating the distribution of operating parameters along the borehole of the oil well, operated by a sucker-rod pump;
- −
- performing the calculation of geometric and thermobaric parameters of oil-gas jet pumps, installed at different depths in the oil well;
- −
- analyzing which of the considered operation modes is the most profitable and determine which variables have the strongest affect on the efficiency of jet pumps’ usage in the oil well;
- −
- calculating the technologically possible reduction of the outlet pressure for the sucker-rod pump and tubing load for optimal operation mode;
- −
- developing a technology of electrochemical chromium plating in the flow electrolyte of the working surfaces of the parts of jet and plunger pumps.
2. Materials and Methods
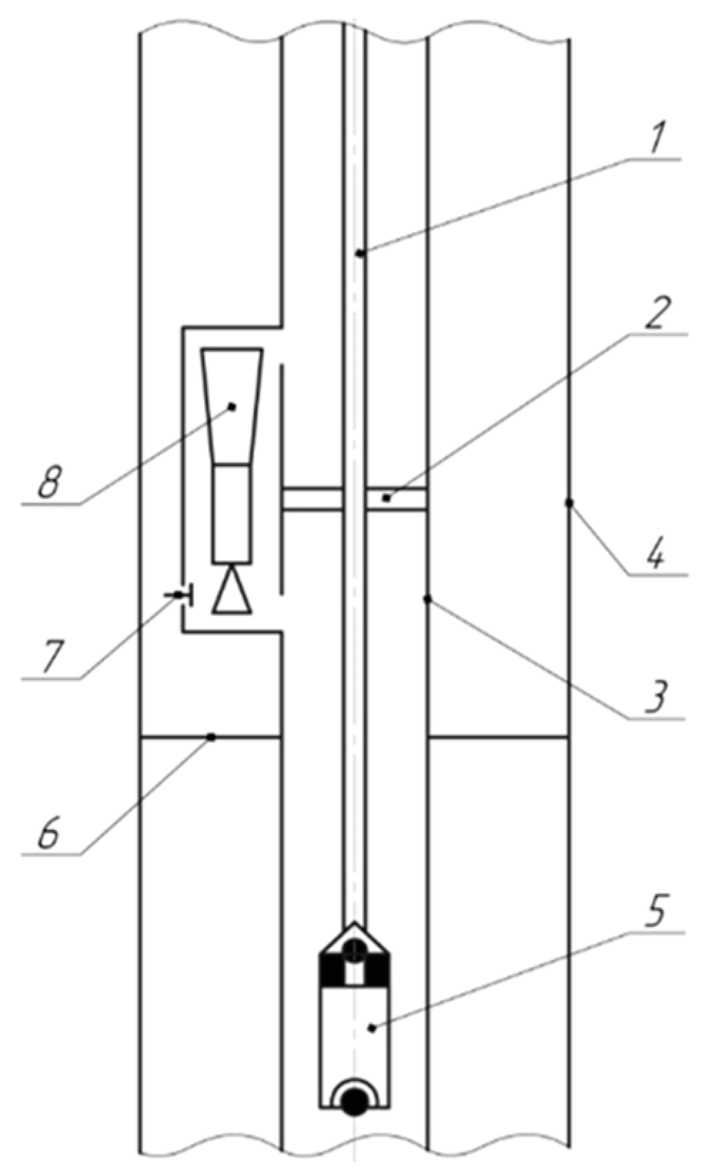
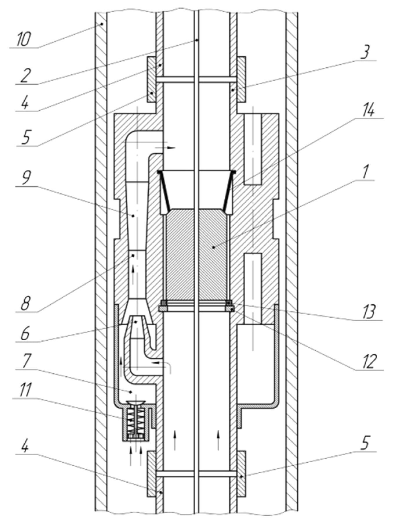
2.1. Features of Design, Manufacture and Strengthening by Chrome Plating of Details of Pumps
2.2. Determination of Rational Placement of the Jet Pump in the Well
3. Results
- -
- effectively using the potential energy of free oil gas from annulus;
- -
- making sucker-rod pump operation more stable;
- -
- decreasing dynamic level fluctuations in the well (to avoid dangerous fluctuations in the case of a small immersion of the sucker-rod pump);
- -
- increasing the production liquid to the surface by the mixed flow density reduction (after the jet pump);
- -
- reducing the stem load, which in turn will extend their overhaul life;
- -
- decreasing electricity consumption during well operation and decrease investments in oil production.
4. Conclusions
- -
- to install the high-pressure oil-gas jet pump (f3/f1 = 3) at a depth of 870 m to take off the whole amount of free annulus gas. This means to aim at reducing the stem load by 26%. The aforementioned jet pump has the following geometrical options: nozzle diameter dn = 3.88 mm, mixing chamber diameter dmc = 6.72 mm, and the diffuser outlet diameter dd = 18.01 mm.
Author Contributions
Funding
Institutional Review Board Statement
Informed Consent Statement
Data Availability Statement
Acknowledgments
Conflicts of Interest
References
- Rajović, V.; Kiss, F.; Maravić, N.; Bera, O. Environmental flows and life cycle assessment of associated petroleum gas utilization via combined heat and power plants and heat boilers at oil fields. Energy Convers. Manag. 2016, 118, 96–104. [Google Scholar] [CrossRef]
- IEA. World Energy Outlook. Flagship Report—2019; International Energy Agency: Paris, France, 2019; Available online: https://www.iea.org/reports/world-energy-outlook-2019 (accessed on 20 May 2021).
- Saik, P.; Petlovanyi, M.; Lozynskyi, V.; Sai, K.; Merzlikin, A. Innovative approach to the integrated use of energy resources of underground coal gasification. Solid State Phenom. 2018, 277, 221–231. [Google Scholar] [CrossRef]
- Koltun, P.; Klymenko, V. Cradle-to-gate life cycle assessment of the production of separated mix of rare earth oxides based on Australian production route. Min. Miner. Depos. 2020, 14, 1–15. [Google Scholar] [CrossRef]
- Pivnyak, G.; Bondarenko, V.; Kovalevska, I. New Developments in Mining Engineering 2015: Theoretical and Practical Solutions of Mineral Resources Mining; Taylor & Francis: Abingdon, UK, 2015; 607p. [Google Scholar]
- Le Billon, P.; Kristoffersen, B. Just cuts for fossil fuels? Supply-side carbon constraints and energy transition. Environ. Plan. A Econ. Space 2020, 52, 1072–1092. [Google Scholar] [CrossRef]
- Krichevskiy, S. Evolution of technologies, “green” development and grounds of the general theory of technologies. Philos. Cosmol. 2015, 14, 120–139. [Google Scholar]
- Khomenko, O.; Barna, T. Zonal-and-wave structure of open systems on micro, mega- and macrolevels of the universe. Philos. Cosmol. 2019, 22, 24–32. [Google Scholar] [CrossRef]
- Rozin, V. From engineering and technological process to post-cultural technology. Future Hum. Image 2020, 15, 99–109. [Google Scholar] [CrossRef]
- Akchiche, M.; Beauquin, J.-L.; Serra, S.; Sochard, S. Exergoeconomic Optimization of Oil and Gas Production Systems. In Proceedings of the SPE Europec Featured at 82nd EAGE Conference and Exhibition, virtual, 1–3 December 2020; pp. 1–15. [Google Scholar] [CrossRef]
- Rabaev, R.U.; Belozerov, V.V.; Molchanova, V.A. Associated annular gas utilization methods. Pet. Eng. 2019, 17, 88–93. [Google Scholar] [CrossRef]
- Anosike, N.; El-Suleiman, A.; Pilidis, P. Associated Gas Utilization Using Gas Turbine Engine, Performance Implication—Nigerian Case Study. Energy Power Eng. 2016, 8, 137–145. [Google Scholar] [CrossRef][Green Version]
- Pavlychenko, A.; Kovalenko, A. The investigation of rock dumps influence to the levels of heavy metals contamination of soil. In Mining of Mineral Deposits; CRC Press: Boca Raton, FL, USA, 2013; pp. 237–238. [Google Scholar] [CrossRef]
- Pujihatma, P.; Hadi, S.P.; Rohmat, T.A. Combined heat and power–multi-objective optimization with an associated petroleum and wet gas utilization constraint. J. Nat. Gas Sci. Eng. 2018, 54, 25–36. [Google Scholar] [CrossRef]
- Law, B.E.; Ulmishek, G.F.; Clayton, J.L.; Kabyshev, B.P.; Pashova, N.T.; Krivosheya, V.A. Basin-centered gas evaluated in Dnieper-Donets basin, Donbas foldbelt, Ukraine. Oil Gas J. 1998, 96, 74–78. [Google Scholar]
- Fyk, M.; Biletskyi, V.; Abbood, M.; Al-Sultan, M.; Abbood, M.; Abdullatif, H.; Shapchenko, Y. Modeling of the lifting of a heat transfer agent in a geothermal well of a gas condensate deposit. Rozrobka Rodovyshch 2020, 14, 66–74. [Google Scholar] [CrossRef]
- Panevnyk, D.O.; Panevnyk, O.V. Investigation of the joint work of a jet and plunger pump with a balancing crank-rod drive. Neftyanoe Khozyaystvo Oil Ind. 2020, 2, 58–61. [Google Scholar] [CrossRef]
- Panevnyk, O.V.; Dubei, O.Y. Determination of the pressure and temperature distribution along the oil well bore. Nauk. Visnyk Natsionalnoho Hirnychoho Universytetu 2015, 148, 98–103. [Google Scholar]
- Bekbergenov, D.; Jangulova, G.; Kassymkanova, K.K.; Bektur, B. Mine technical system with repeated geotechnology within new frames of sustainable development of underground mining of caved deposits of the Zhezkazgan field. Geod. Cartogr. 2020, 46, 182–187. [Google Scholar] [CrossRef]
- Drozdov, A.; Gorbyleva, Y. Improving the Operation of Pump-ejector Systems at Varying Flow Rates of Associated Petroleum Gas. J. Min. Inst. 2019, 238, 415–422. [Google Scholar] [CrossRef]
- Gabdrkhmanova, K.; Izmailova, G.; Samigullina, L. Solution of the Problem of Annular Space Gas Utilization in Wells Operated by Walking-Beam Pumping Unit. IOP Conf. Ser. Earth Environ. Sci. 2020, 459, 042080. [Google Scholar] [CrossRef]
- Telkov, V.P. Improvement of oil recovery by jet and electrical centrifugal pumping technology of water/gas influence. In Proceedings of the SPE Annual Technical Conference and Exhibition, Anaheim, CA, USA, 11–14 November 2007; pp. 4–9. [Google Scholar] [CrossRef]
- Yelemessov, K.; Krupnik, L.; Bortebayev, S.; Beisenov, B.; Baskanbayeva, D.; Igbayeva, A. Polymer concrete and fibre concrete as efficient materials for manufacture of gear cases and pumps. E3S Web Conf. 2020, 168, 00018. [Google Scholar] [CrossRef]
- Prokopenko, D.; Shatskyi, I.; Vorobiov, M.; Ropyak, L. Cyclic deformation of separating tape in electromagnetic rolling pump. J. Phys. Conf. Ser. 2021, 1741, 012029. [Google Scholar] [CrossRef]
- Tarel’nik, V.B.; Konoplyanchenko, E.V.; Kosenko, P.V.; Martsinkovskii, V.S. Problems and Solutions in Renovation of the Rotors of Screw Compressors by Combined Technologies. Chem. Petrol Eng. 2017, 53, 540–546. [Google Scholar] [CrossRef]
- Sun, T.; Zhang, X.; Liu, S.; Cao, Y.; Xie, R. Annular Pressure Buildup Calculation When Annulus Contains Gas. Chem. Technol. Fuels Oils 2018, 54, 484–492. [Google Scholar] [CrossRef]
- Jianxin, S. Application of composite jet-rod pumping system in a system in a deep heavy-oil field in Tarim China. In Proceedings of the SPE Annual Technical Conference and Exhibition, Florence, Italy, 19–22 September 2010; p. 8. [Google Scholar] [CrossRef]
- Drozdov, A.N.; Drozdov, N.A. Prospects of development of jet pump’s well operation technology in Russia. In Proceedings of the SPE Russian Petroleum Technology Conference, Moscow, Russia, 26–28 October 2015; pp. 1–14. [Google Scholar] [CrossRef]
- Fedorov, A.E.; Verbitsky, V.S.; Goridko, K.A. Experimental studies and analysis of gas-jet device’s operation characteristics for oil and gas production in abnormal operating conditions. In Proceedings of the SPE Russian Petroleum Technology Conference and Exhibition, Moscow, Russia, 24–26 October 2016. [Google Scholar] [CrossRef]
- Skitsa, L.; Yatsyshyn, T.; Liakh, M.; Sydorenko, O. Ways to improve safety of a pumping-circulatory system of a drilling rig. Min. Miner. Depos. 2018, 12, 71–79. [Google Scholar] [CrossRef]
- Velichkovich, A.S. Shock absorber for oil-well sucker-rod pumping unit. Chem. Pet. Eng. 2005, 41, 544–546. [Google Scholar] [CrossRef]
- Moysyshyn, V.M.; Lyskanych, M.V.; Borysevych, L.V.; Zhovniruk, R.A. Multifactorial Empirical Model of Three-Cone Bit Gear Oscillation Energy. Metallofiz. Noveishie Tekhnol. 2020, 42, 1729–1752. [Google Scholar] [CrossRef]
- Velychkovych, A.; Petryk, I.; Ropyak, L. Analytical study of operational properties of a plate shock absorber of a sucker-rod string. Shock Vib. 2020, 2020, 3292713. [Google Scholar] [CrossRef]
- Zhang, T.; Zhang, N. Vibration Modes and the Dynamic Behaviour of a Hydraulic Plunger Pump. Shock Vib. 2016, 2016, 9679542. [Google Scholar] [CrossRef]
- Moisyshyn, V.M.; Lyskanych, M.V.; Borysevych, L.V.; Kolych, N.B.; Zhovniruk, R.A. Integral Indicators of Change of Drilling Column Vibration-Criterion for Assessing of Roller Cone Bit Wear. Metallofiz. Noveishie Tekhnol. 2019, 41, 1087–1102. [Google Scholar] [CrossRef]
- Dutkiewicz, M.; Gołębiowska, I.; Shatskyi, I.; Shopa, V.; Velychkovych, A. Some aspects of design and application of inertial dampers. MATEC Web Conf. 2018, 178, 06010. [Google Scholar] [CrossRef][Green Version]
- Velichkovich, A.S.; Velichkovich, S.V. Vibration-impact damper for controlling the dynamic drillstring conditions. Chem. Pet. Eng. 2001, 37, 213–215. [Google Scholar] [CrossRef]
- Shatskyi, I.; Velychkovych, A. Increase of compliance of shock absorbers with cut shells. IOP Conf. Ser. Mater. Sci. Eng. 2019, 564, 012072. [Google Scholar] [CrossRef]
- Ropyak, L.Y.; Velychkovych, A.S.; Vytvytskyi, V.S.; Shovkoplias, M.V. Analytical study of “Crosshead—Slide rail” wear effect on pump rod stress state. J. Phys. Conf. Ser. 2021, 1741, 012039. [Google Scholar] [CrossRef]
- Li, W.; Dong, S.; Sun, X. An Improved Sucker Rod Pumping System Model and Swabbing Parameters Optimized Design. Math. Probl. Eng. 2018, 2018, 4746210. [Google Scholar] [CrossRef]
- Konoplianchenko, I.; Tarelnyk, V.; Martsynkovskyy, V.; Gaponova, O.; Lazarenko, A.; Sarzhanov, A.; Mikulina, M.; Zhengchuan, Z.; Pirogov, V. New technology for restoring Babbitt coatings. J. Phys. Conf. Ser. 2021, 1741, 012040. [Google Scholar] [CrossRef]
- Kalwar, S.A.; Awan, A.Q.; Qureshi, F.A. Optimum selection and application of hydraulic jey pump for well-1A: A case study. In Proceedings of the Abu Dhabi International Petroleum Exhibition & Conference, Abu Dhabi, United Arab Emirates, 13–16 November 2017. [Google Scholar] [CrossRef]
- Zhautikov, B.A.; Aikeyeva, A.A. Development of the system for air gap adjustment and skip protection of electromagnetic lifting unit. J. Min. Inst. 2018, 229, 62–69. [Google Scholar] [CrossRef]
- Kumar, S.; Kalwar, S.A.; Farouque, K.; Qureshi, S.; Anjum, Z.A. Production enhancement by installation of jet pump in SSD in Pakistan Ghauri Oil Field. In Proceedings of the SPE Middle East Artificial Lift Conference and Exhibition, Manama, Bahrain, 30 November–1 December 2016. [Google Scholar] [CrossRef]
- Kurkjian, A.L. Optimazing jet-pump production in the presence of gas. SPE Prod. Oper. 2018, 34, 373–384. [Google Scholar] [CrossRef]
- Panevnik, D.A.; Velichkovich, A.S. Assessment of the stressed state of the casing of the above-bit hydroelevator. Neftyanoe Khozyaystvo—Oil Ind. 2017, 1, 70–73. [Google Scholar]
- Shatskyi, I.; Popadyuk, I.; Velychkovych, A. Hysteretic Properties of Shell Dampers. In Dynamical Systems in Applications; Springer Proceedings in Mathematics & Statistics Book Series; Springer: Berlin/Heidelberg, Germany, 2018; Volume 249, pp. 343–350. [Google Scholar] [CrossRef]
- Velichkovich, A.; Dalyak, T.; Petryk, I. Slotted shell resilient elements for drilling shock absorbers. Oil Gas Sci. Technol.—Rev. IFP Energ. Nouv. 2018, 73, 34. [Google Scholar] [CrossRef]
- Shats’kyi, I.P.; Makoviichuk, M.V. Contact Interaction of Crack Lips in Shallow Shells in Bending with Tension. Mater. Sci. 2005, 41, 486–494. [Google Scholar] [CrossRef]
- Velichkovich, A.S.; Popadyuk, I.I.; Shopa, V.M. Experimental study of shell flexible component for drilling vibration damping devices. Chem. Petrol. Eng. 2011, 46, 518–524. [Google Scholar] [CrossRef]
- Mikhlin, Y.V.; Zhupiev, A.L. An application of the ince algebraization to the stability of non-linear normal vibration modes. Int. J. Non-Linear Mech. 1997, 32, 393–409. [Google Scholar] [CrossRef]
- Kopei, V.; Onysko, O.; Panchuk, V. The Application of the Uncorrected Tool with a Negative Rake Angle for Tapered Thread Turning. In Advances in Design, Simulation and Manufacturing II; Springer: Cham, Switzerland, 2020; pp. 149–158. [Google Scholar] [CrossRef]
- Onysko, O.R.; Kopey, V.B.; Panchuk, V.G. Theoretical investigation of the tapered thread joint surface contact pressure in the dependence on the profile and the geometric parameters of the threading turning tool. IOP Conf. Ser. Mater. Sci. Eng. 2020, 749, 012007. [Google Scholar] [CrossRef]
- Pryhorovska, T.; Ropyak, L. Machining Error Influnce on Stress State of Conical Thread Joint Details. In Proceedings of the IEEE 8th International Conference on Advanced Optoelectronics and Lasers (CAOL), Sozopol, Bulgaria, 6–8 September 2019; Volume 9019544, pp. 493–497. [Google Scholar] [CrossRef]
- Onysko, O.; Kopei, V.; Medvid, I.; Pituley, L.; Lukan, T. Influence of the Thread Profile Accuracy on Contact Pressure in Oil and Gas Pipes Connectors. In Advances in Design, Simulation and Manufacturing III; Lecture Notes in Mechanical Engineering Book Series; Springer: Cham, Switzerland, 2020; pp. 432–441. [Google Scholar] [CrossRef]
- Tutko, T.; Dubei, O.; Ropyak, L.; Vytvytskyi, V. Determination of Radial Displacement Coefficient for Designing of Thread Joint of Thin-Walled Shells. In Advances in Design, Simulation and Manufacturing IV; Lecture Notes in Mechanical Engineering Book Series; Springer: Cham, Switzerland, 2021; pp. 153–162. [Google Scholar] [CrossRef]
- Onysko, O.; Kopei, V.; Panchuk, V.; Medvid, I.; Lukan, T. Analytical study of kinematic rake angles of cutting edge of lathe tool for tapered thread manufacturing. In Advanced Manufacturing Processes; Lecture Notes in Mechanical Engineering Book Series; Springer: Cham, Switzerland, 2020; pp. 236–245. [Google Scholar] [CrossRef]
- Shatskyi, I.; Ropyak, L.; Velychkovych, A. Model of contact interaction in threaded joint equipped with spring-loaded collet. Eng. Solid Mech. 2020, 8, 301–312. [Google Scholar] [CrossRef]
- Ropyak, L.Y.; Vytvytskyi, V.S.; Velychkovych, A.S.; Pryhorovska, T.O.; Shovkoplias, M.V. Study on grinding mode effect on external conical thread quality. IOP Conf. Ser. Mater. Sci. Eng. 2021, 1018, 012014. [Google Scholar] [CrossRef]
- Piotter, V.; Klein, A.; Plewa, K. Development of a ceramic injection molding process for liquid jet nozzles to be applied for X-ray free-electron lasers. Microsyst. Technol. 2018, 24, 1247–1252. [Google Scholar] [CrossRef]
- Zhang, F.L. Machining Mechanism of Abrasive Water Jet on Ceramics. Key Eng. Mater. 2010, 426, 212–215. [Google Scholar] [CrossRef]
- Ropyak, L.; Ostapovych, V. Optimization of process parameters of chrome plating for providing quality indicators of reciprocating pumps parts. East.-Eur. J. Enterp. Technol. 2016, 80, 50–62. [Google Scholar] [CrossRef][Green Version]
- Snizhko, L.O.; Yerokhin, A.; Gurevina, N.L.; Ciba, A.V.; Matthews, A. Voltastatic studies of magnesium anodising in alkaline solutions. Surf. Coat. Technol. 2010, 205, 1527–1531. [Google Scholar] [CrossRef]
- Dzyubyk, A.; Sudakov, A.; Dzyubyk, L.; Sudakova, D. Ensuring the specified position of multisupport rotating units when dressing mineral resources. Rozrobka Rodovyshch 2019, 13, 91–98. [Google Scholar] [CrossRef]
- Shatskii, I.P. Tension of a plate containing a rectilinear cut with hinged rims. J. Appl. Mech. Techn. Phys. 1989, 30, 828–830. [Google Scholar] [CrossRef]
- Shatskyi, I.P.; Makoviichuk, M.V.; Shcherbii, A.B. Equilibrium of cracked shell with flexible coating. In Shell Structures: Theory and Applications; Taylor & Francis Group: Abingdon, UK, 2018; Volume 4, pp. 165–168. [Google Scholar] [CrossRef]
- Ropyak, L.Y.; Shatskyi, I.P.; Makoviichuk, M.V. Influence of the Oxide-Layer Thickness on the Ceramic-Aluminium Coating Resistance to Indentation. Metallofiz. Noveishie Tekhnologii 2017, 39, 517–524. [Google Scholar] [CrossRef]
- Ropyak, L.; Schuliar, I.; Bohachenko, O. Influence of technological parameters of centrifugal reinforcement upon quality indicators of parts. East.-Eur. J. Enterp. Technol. 2016, 79, 53–62. [Google Scholar] [CrossRef]
- Shatskyi, I.P.; Ropyak, L.Y.; Makoviichuk, M.V. Strength optimization of a two-layer coating for the particular local loading conditions. Strength Mater. 2016, 48, 726–730. [Google Scholar] [CrossRef]
- Sudakov, A.; Dreus, A.; Kuzin, Y.; Sudakova, D.; Ratov, B.; Khomenko, O. A thermomechanical technology of borehole wall isolation using a thermoplastic composite material. E3S Web Conf. 2019, 109, 00098. [Google Scholar] [CrossRef]
- Sudakov, A.; Dreus, A.; Ratov, B.; Delikesheva, D. Theoretical bases of isolation technology for swallowing horizons using thermoplastic materials. News Natl. Acad. Sci. Repub. Kazakhstan Ser. Geol. Tech. Sci. 2018, 428, 72–80. [Google Scholar]
- Sudakov, A.K.; Khomenko, O.Y.; Isakova, M.L.; Sudakova, D.A. Concept of numerical experiment of isolation of absorptive horizons by thermoplastic materials. Nauk. Visnyk Natsionalnoho Hirnychoho Universytetu 2016, 5, 12–16. [Google Scholar]
- Sudakov, A.; Dreus, A.; Sudakova, D.; Khamininch, O. The study of melting process of the new plugging material at thermomechanical isolation technology of permeable horizons of mine opening. E3S Web Conf. 2018, 60, 00027. [Google Scholar] [CrossRef]
- Bloch, H.P.; Geitner, F.K. Protecting machinery parts against the loss of surface. In Machinery Component Maintenance and Repair; Elsevier: Amsterdam, The Netherlands, 2019; pp. 551–633. [Google Scholar] [CrossRef]
- Ropyak, L.Y.; Shatskyi, I.P.; Makoviichuk, M.V. Analysis of interaction of thin coating with an abrasive using one-dimensional model. Metallofiz. Noveishie Tekhnologii 2019, 41, 647–654. [Google Scholar] [CrossRef]
- Shatskyi, I.P.; Perepichka, V.V.; Ropyak, L.Y. On the influence of facing on strength of solids with surface defects. Metallofiz. Noveishie Tekhnologii 2020, 42, 69–76. [Google Scholar] [CrossRef]
- Bazaluk, O.; Lozynskyi, V.; Falshtynskyi, V.; Saik, P.; Dychkovskyi, R.; Cabana, E. Experimental Studies of the Effect of Design and Technological Solutions on the Intensification of an Underground Coal Gasification Process. Energies 2021, 14, 4369. [Google Scholar] [CrossRef]
- Falshtynskyi, V.S.; Dychkovskyi, R.O.; Lozynskyi, V.G.; Saik, P.B. Determination of the Technological Parameters of Borehole Underground Coal Gasification for Thin Coal Seams. J. Sustain. Min. 2013, 12, 8–16. [Google Scholar] [CrossRef]
- Ovetska, O.; Ovetskyi, S.; Vytiaz, O. Conceptual principles of project management for development of hydrate and other unconventional gas fields as a component of energy security of Ukraine. E3S Web Conf. 2021, 230, 01021. [Google Scholar] [CrossRef]
- Bazaluk, O.; Slabyi, O.; Vekeryk, V.; Velychkovych, A.; Ropyak, L.; Lozynskyi, V. A technology of hydrocarbon fluid production intensification by productive stratum drainage zone reaming. Energies 2021, 14, 3514. [Google Scholar] [CrossRef]
- Mei, W. Surface jet ump trial test in Safania Field: Evaluation and case study. In Proceedings of the SPE Kingdom of Saudi Arabia Annual Technical Symposium and Exhibition, Dammam, Saudi Arabia, 24–27 April 2017. [Google Scholar] [CrossRef]
- Dubei, O.Y.; Panevnyk, O.V. Basic equation of the low-pressure oil-gas jet. Mod. Eng. Innov. Technol. 2017, 2, 7–15. [Google Scholar] [CrossRef]
- Humeniuk, A.I.; Popadyuk, O.Y.; Ropyak, L.Y.; Kostyk, V.V. Method for Cleaning Air from Mechanical Particles, Microbes and Viruses. Ukrainian Patent Application No. u202002929; International Patent Application No. IPC/B01D47/02. 15 May 2020. Available online: https://sis.ukrpatent.org/en/search/detail/1447618/ (accessed on 15 October 2021).
- Dubei, O.Y. Analytical study of the efficient operation modes of oil-gas jet pumps used in oil wells. AGH Drill. Oil Gas 2019, 36, 19–29. [Google Scholar] [CrossRef]
- Panevnik, O.V.; Dubey, O.Y.; Yaremko, I.Y.; Lyakh, M.M. Well Ejector. Ukrainian Patent Application No. а201307030; International Patent Application No. IPC/F05B47/02; Ukrainian Patent No. 105135. 4 June 2013. Bul. No. 7/2014, Published on 10 April 2014. Available online: https://sis.ukrpatent.org/uk/search/detail/1018049/ (accessed on 15 October 2021).
- Dubei, O.Y. Improving the Efficiency of the Sucker Rod Pump Units by Using Oil-Gas Jets. Dissertation for Technical Sciences Candidate’s Degree in Specialty 05.05.12—Machines of Oil and Gas Industry, Ivano-Frankivsk National Technical University of Oil and Gas, Ivano-Frankivsk, Ukraine, 2016; 218p. Available online: https://old.nung.edu.ua/files/attachments/disertaciya_dubey.pdf (accessed on 15 October 2021).
- Dubei, O.Y. Rivnyannya visokonapirnogo naftogazovogo ezhektora. In Proceedings of the Internet Symposium “Scientific Answers to the Challenges of Modernity—2016”; Volume 2, pp. 107–126. Available online: https://www.sworld.com.ua/simpoz6/25.pdf (accessed on 15 October 2021).
- Ropyak, L.Y.; Shovkoplias, M.V.; Vytvytskyi, V.S. Determination of machining allowance for parts with chimney. Bull. Cherkasy State Technol. Univ. 2021, 2, 117–127. [Google Scholar] [CrossRef]







| Parameters | Depth of Jet Pump Installation, m | |||||
| 610 | 650 | 700 | 800 | 850 | 890 | |
| Input parameters | ||||||
| Pressure at the inlet of jet pump pw, (MPa) | 3.21 | 3.51 | 3.91 | 4.75 | 5.20 | 5.56 |
| Density of working liquid ρw, (kg/m3) | 724.7 | 763.1 | 806.4 | 876.7 | 904.0 | 922.5 |
| Consumption gas content βw | 0.208 | 0.169 | 0.125 | 0.052 | 0.024 | 0.004 |
| Velocity of the working liquid before entering the nozzle ww, (m/s) | 3.3 | 3.1 | 2.9 | 2.7 | 2.6 | 2.6 |
| Density of free gas ρg, (kg/m3) | 26.4 | 29.1 | 32,5 | 40.1 | 44.2 | 47.5 |
| Calculated parameters | ||||||
| Diameter of the nozzle dn, (mm) | 4.3 | 4.0 | 3.7 | 3.1 | 2.9 | 2.8 |
| Diameter of the mixing chamber dmc, (mm) | 10.7 | 9.9 | 9.1 | 7.8 | 7.3 | 6.9 |
| Outlet diameter of the diffuser dd, (mm) | 28.6 | 26.6 | 24.4 | 21.0 | 19.6 | 18.6 |
| Density of the mixed flow at the outlet of the jet pump ρm, (kg/m3) | 324.4 | 339.7 | 360.2 | 404.6 | 428.1 | 447.4 |
| Pressure of the mixed flow at the outlet of the jet pump pm, (MPa) | 2.12 | 2.20 | 2.31 | 2.58 | 2.73 | 2.87 |
| Wellhead pressure pwh, (MPa) | 0.47 | 0.42 | 0.39 | 0.42 | 0.47 | 0.52 |
| Density of the mixed flow at the wellhead ρm(wh), (kg/m3) | 33.8 | 30.6 | 28.3 | 30.0 | 33.9 | 37.9 |
| Parameters | Depth of Jet Pump Installation, m | |||
| 700 | 800 | 850 | 870 | |
| Input parameters | ||||
| Pressure at the inlet of jet pump pw, (MPa) | 3.91 | 4.75 | 5.20 | 5.38 |
| Density of working liquid ρw, (kg/m3) | 806.4 | 876.7 | 904.0 | 913.6 |
| Consumption gas content βw | 0.125 | 0.052 | 0.024 | 0.014 |
| Density of free gas ρg, (kg/m3) | 32.5 | 40.1 | 44.2 | 45.8 |
| Velocity of the working liquid before entering the nozzle ww, (m/s) | 2.9 | 2.7 | 2.6 | 2.6 |
| Calculated parameters | ||||
| Density of the mixed flow at the outlet of the jet pump ρm, (kg/m3) | 418.7 | 485.9 | 523.6 | 541.9 |
| pressure of the mixed flow at the outlet of the jet pump pm, (MPa) | 2.99 | 3.64 | 4.09 | 4.34 |
| Injection ratio before entering the mixing chamber u2 | 1.36 | 1.57 | 1.69 | 1.74 |
| Velocity of the working liquid before outflowing from the nozzle ww, (m/s) | 64.9 | 76.6 | 82.1 | 84.2 |
Publisher’s Note: MDPI stays neutral with regard to jurisdictional claims in published maps and institutional affiliations. |
© 2021 by the authors. Licensee MDPI, Basel, Switzerland. This article is an open access article distributed under the terms and conditions of the Creative Commons Attribution (CC BY) license (https://creativecommons.org/licenses/by/4.0/).
Share and Cite
Bazaluk, O.; Dubei, O.; Ropyak, L.; Shovkoplias, M.; Pryhorovska, T.; Lozynskyi, V. Strategy of Compatible Use of Jet and Plunger Pump with Chrome Parts in Oil Well. Energies 2022, 15, 83. https://doi.org/10.3390/en15010083
Bazaluk O, Dubei O, Ropyak L, Shovkoplias M, Pryhorovska T, Lozynskyi V. Strategy of Compatible Use of Jet and Plunger Pump with Chrome Parts in Oil Well. Energies. 2022; 15(1):83. https://doi.org/10.3390/en15010083
Chicago/Turabian StyleBazaluk, Oleg, Olha Dubei, Liubomyr Ropyak, Maksym Shovkoplias, Tetiana Pryhorovska, and Vasyl Lozynskyi. 2022. "Strategy of Compatible Use of Jet and Plunger Pump with Chrome Parts in Oil Well" Energies 15, no. 1: 83. https://doi.org/10.3390/en15010083
APA StyleBazaluk, O., Dubei, O., Ropyak, L., Shovkoplias, M., Pryhorovska, T., & Lozynskyi, V. (2022). Strategy of Compatible Use of Jet and Plunger Pump with Chrome Parts in Oil Well. Energies, 15(1), 83. https://doi.org/10.3390/en15010083

