Improvement of Gas Generator Technology for Energy Processing of Agricultural Waste
Abstract
1. Introduction
2. Materials and Methods
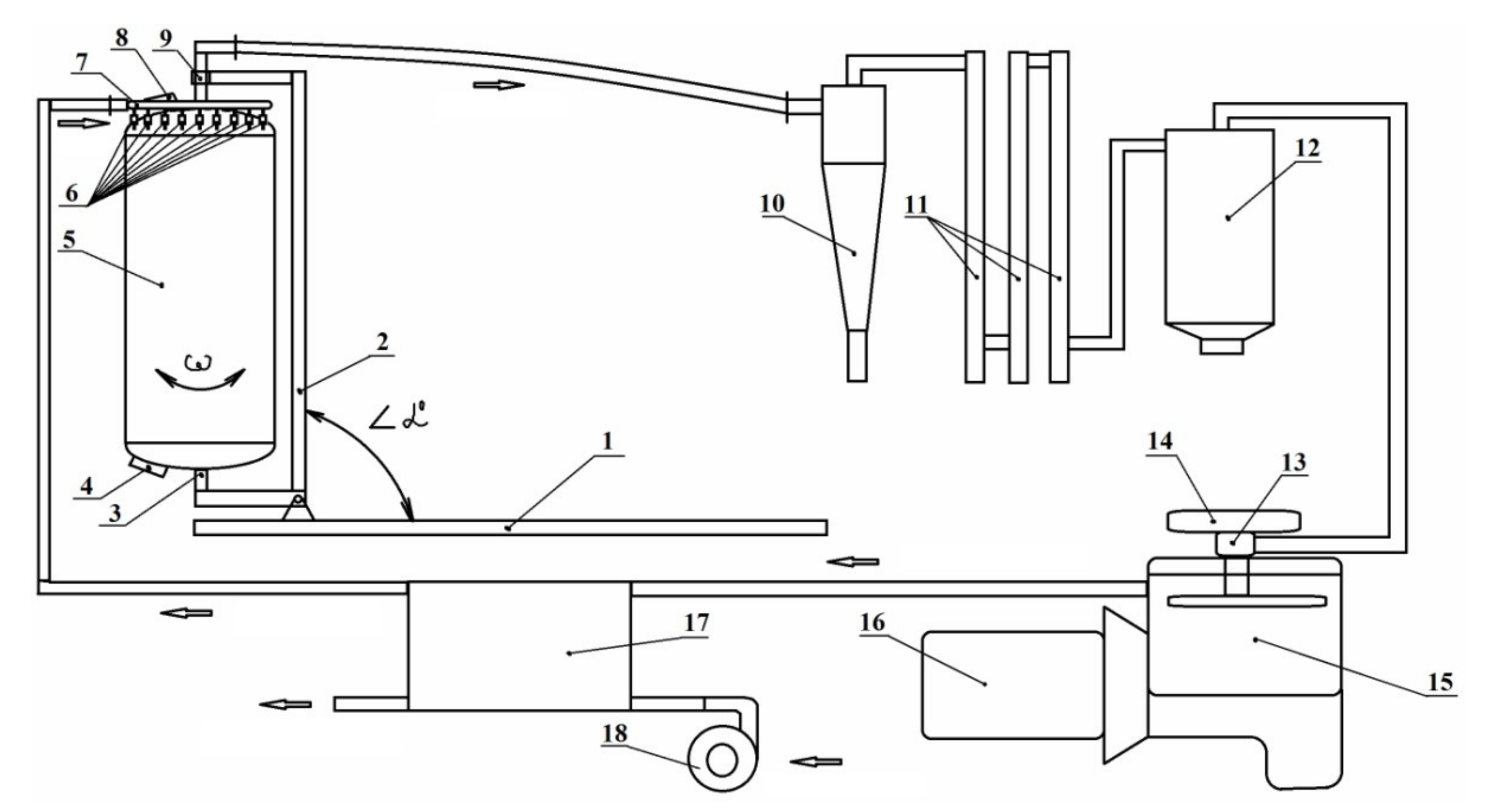
- Gas generator consisting of air collector 1, cylindric gasification chamber 2, charging feeding inlet with a closing mechanism 3, solenoid valve system 4, gas discharge cap 5, air discharge tubes 6, gas container 7, thermal insulation jacket 8, external protective casing 9, set of nozzles 10, ash grate 11, ashpan 12, supports 13, process discharge opening 14.
- Generator gas purification and cooling system which consists of vacuum sensor 15, gas pre-purification filter 16, cooler capacitor 17, thorough gas purification filter 18, vacuum sensor 19.
- Compensation system which consists of rotating compressor 20, electric motor 21, gas flow direction switch 22, gas check valve 23, compressor 24, temporary pressurized generator gas storage container 25.
- Reciprocating IC engine supply system which consists of gas reducer with security and control elements 26, mixer 27, air filter 28.
- Reciprocating internal combustion engine 29, electric generator 30 and control unit 31.
- The gas generator, depending on the gas consumption and the rotation frequency of the reciprocating IC engine crankshaft during the time-controlled range, after a change in pressure in the transitional collector with increased pressure and in the rotation controller by changing the number and the distribution of gas generator nozzles in gas and the use of their cyclic operation mode.
- The compensation system, depending on the variation in the parameters of input and output vacuum pressure indicators of the generator gas purification and cooling system, an increase in the vacuum pressure variation will point to the pollution of a given system. To compensate an increased system purification and cooling resistance, the control block makes an adequate correction in the rotating compressor operation conditions to increase its efficiency.
- The first stage; heating up the recuperator air with reciprocating IC engine flue gas.
- The second stage; heating up the heated air with physical heat of the generator gas during its flow through the air discharge pipes in the gas generator core.
3. Results and Discussion
4. Conclusions
- (1.)
- The most obvious change in the chemical composition of the generator gas produced, with a lack of parametric gasification process control, is found in inconsiderable costs. The analysis of Table 1 facilitates drawing a conclusion that with 1.73-fold limitation of the generator gas consumption by the receiver, there is recorded a 1.038-fold decrease in CO, with a 1.41-fold increase in the content of CO2, and the amount of oxygen consumption 1.5-fold increased. It means that the energy value of a generator gas volumetric unit decreases due to an increase in the content of incombustible components.
- (2.)
- The mode which is easiest to use is the static control mode. Limiting the number of the solenoid valves started increases the hydraulic resistance of the gas generator, which results in a decrease in the amount of the gas produced. For example, limiting the number of working solenoid valves from six to two increases the underpressure in gas generator 1.52-fold, with a 2.12-fold decrease in the volume of the generator produced for consumption conditions V1 (Table 1). In generator gas consumption conditions V2 (Table 1), the underpressure in gas generator increases 2-fold, and in conditions V3—1.46-fold, while limiting the volume of the gas produced by 1.58-fold.
- (3.)
- The dynamic synchronic gas generator nozzle control mode without compensation devices for the accumulation of generator gas is not useful for a practical application, as it results in pressure fluctuations in the gas generator and the gas supply to the customer. The optimal gas generator control process organization variants are dynamic asynchronous blowing nozzle system control conditions, specific for static and dynamic synchronic conditions.
- (4.)
- An essential advancement in thermal agricultural waste-processing technology can be accomplished with a comprehensive use of the control systems of parametric oxidizer supply to the reactive gas generator zone, a spatial gas generator core positioning, and a recuperation of thermal energy of the gas generator and the reciprocating IC engine cooperating with it, as well as the use of compensation and accumulation systems of gas supply to the customer.
Author Contributions
Funding
Institutional Review Board Statement
Informed Consent Statement
Data Availability Statement
Acknowledgments
Conflicts of Interest
References
- Fedorenko, V.F. Innowacyjne. In Innowacyjne Technologie Produkcji Biopaliwa Drugiej Generacji; FGNU Rosinformagrotech: Moscow, Russia, 2009; p. 68. [Google Scholar]
- Federal Classification Catalog of Waste (FKKO) with Amendments and Additions with 24 07 2017. Available online: https://docs.cntd.ru/document/542600531 (accessed on 30 April 2021).
- Nungniezera, V.V. Inżynieria-Mechanika Produkcji Rolniczej; FGNU Rosinformagrotech: Moscow, Russia, 2011; p. 492. [Google Scholar]
- Czekała, W.; Gawrych, K.; Smurzyńska, A.; Mazurkiewicz, J.; Pawlisiak, A.; Chełkowski, D.; Brzoski, M. The possibility of functioning micro-scale biogas plant in selected farm. J. Water Land Dev. 2017, 35, 19–25. [Google Scholar] [CrossRef][Green Version]
- Korotkov, A.N. Optymalizacja Konstrukcyjno-Technologicznych Parametrów Urządzenia Gazogeneratorowego dla Zwiększenia Efektywności Wykorzystania Odpadów Produkcji Rolnej; State Eductional Institution of Higher Education: Cheboksary, Russia, 2020; p. 169. [Google Scholar]
- Wałowski, G. Multi-phase flow assessment for the fermentation process in mono-substrate reactor with skeleton bed. J. Water Land Dev. 2019, 42, 150–156. [Google Scholar] [CrossRef][Green Version]
- Domański, M.; Paszkowski, J.; Otroshko, S.; Zarajczyk, J.; Siluch, D. Analysis of energy properties of granulated plastic fuels and selected biofuels. Agric. Eng. 2020, 24, 1–9. [Google Scholar] [CrossRef]
- Jansa, J.; Hradilek, Z.; Modrik, P. Energy rating of biogas station. Prz. Elektrotech. 2014, 90, 120–123. [Google Scholar] [CrossRef]
- Wałowski, G. Development of biogas and biorafinery systems in Polish rural communities. J. Water Land Dev. 2021, 49, 156–168. [Google Scholar] [CrossRef]
- Aleshina, A.S. Gazyfikacja Biomasy Roślinnej w Gazogeneratorach Gazu ze Złożem Fluidalnym; State Eductional Institution of Higher Education: Sankt Petersburg, Russia, 2013; p. 165. [Google Scholar]
- All Power Labs. Carbon Negative Power & Products. Carbon-Negative ENERGY. From Biomass-Powered Gensets. Available online: http://www.allpowerlabs.com/wp-content/uploads/2016/09/APL_2016catalog_9_5_16Small.pdf (accessed on 30 April 2021).
- Pieriedieriy, S. Ponowne Przesyłanie Generatorów Pelletu w Zdecentralizowanej Energii. № 2 (116). 2016. Available online: https://lesprominform.ru/media/_protected/journals_pdf/1414/lesprominform_116.pdf (accessed on 10 April 2021).
- Pieriedieriy, S. Zdecentralizowana Energia Oparta na Biomasie Drzewnej. № 3 (117). 2016. Available online: https://lesprominform.ru/media/_protected/journals_pdf/1415/lesprominform_117.pdf (accessed on 8 April 2021).
- Boyarov, O.D. Przemysłowy Generator Gazu Mini-CHP na Biomasę (Odpady Drzewne): Technologia, Sprzęt, Doświadczenie w Użyciu na Przykładzie Indii i Perspektywy Zastosowania w Rosji. Available online: http://www.combienergy.ru/stat/1045-Promyshlennye-gazogeneratornye-mini-TEC-na-biomasse (accessed on 17 April 2021).
- De, S.; Kumar Agarwal, A.; Moholkar, V.S.; Thallada, B. Coal and Biomass Gasification. In Recent Advances and Future Challenges; Springer Nature Singapore Pte Ltd.: Singapore, 2018; p. 521. ISBN1 978-981-10-7334-2. ISBN2 978-981-10-7335-9. [Google Scholar] [CrossRef]
- Ostretsov, V.N.; Zubakin, A.S.; Palichyn, A.V.; Korotkov, A.N. Gazogenerator. Russian Federation Patent. No. 2555486, 11 July 2013. [Google Scholar]
- Ostretsov, V.N.; Zubakin, A.S.; Palichyn, A.V.; Korotkov, A.N.; Kipriyanov, F.A.; Rassvetalov, A.S. С10J3/20 (2006.01). Gazogenerator. Russian Federation Patent. No. 2575536, 20 February 2016. [Google Scholar]
- Savinyh, S.; Palichyn, A.V.; Ivanovs, S.; Korotkov, A. Investigation of Possibility to Utilise Agricultural Waste in Gas Generator with Parametric Process Control; Engineering for Rural Development: Jelgava, Latvia, 2020; pp. 1349–1354. [Google Scholar] [CrossRef]
- Korotkov, A.N.; Palichyn, A.V.; Savinyh, S. Problems of Intensification of Animal Production Including Environment Protection and Alternative Energy Production as well as Biogas; Monograph under the scientific editorship of prof; Wacław Romaniuk: Warsaw, Poland, 2019; pp. 82–87. [Google Scholar]
- Plotnikov, S.A.; Ostretsov, V.N.; Kipriyanov, F.A.; Palichyn, A.V.; Zubakin, A.S.; Korotkov, A.N. Układ Zasilania Gazem Generatora Dla Silnika Spalinowego. Russian Federation Patent. No. 2605870, 6 December 2016. [Google Scholar]
- Plotnikov, S.A.; Zubakin, A.S.; Ostretsov, V.N.; Plotnikova, Y.A.; Palichyn, A.V.; Korotkov, A.N. Urządzenie Gazogeneratorowe. Russian Federation Patent. No. 2696463, 1 August 2019. [Google Scholar]
- Savinykh, P.A.; Kipriyanov, F.A.; Palitsyn, A.V.; Zubakin, A.S.; Korotkov, A.N. A New Device for Energy Recovery from Carbon-Containing Waste and Plant Biomass. Pet. Coal 2020, 62, 516–524. [Google Scholar]





| Effect (System Reaction) | Cause | |||
|---|---|---|---|---|
| СО, % | СО2, % | О2, % | Vacuum Gauge (Discharge in Gas Generator), kPa | Consumer Gas Consumption, m3/h |
| 16.2 | 3.04 | 0.9 | −8.33 | V1 = 5.7 |
| 15.9 | 4.1 | 1.1 | −6.37 | V2 = 4.6 |
| 15.6 | 4.3 | 1.35 | −4.21 | V3 = 3.2 |
| Cause | Effect (System Reaction) | ||||
|---|---|---|---|---|---|
| Number of Valves, pcs | СО, % | СО2, % | О2, % | Pressure Gauge (Discharge in Gas Generator), kPa | Gas Consumption, m3/h |
| 6 | 16.2 a,b | 3.04 a,b | 0.9 a,b | −8.33 a | 5.7 a |
| 5 | 16.1 a | 3.56 a | 0.9 a | −8.92 a | 5.1a |
| 4 | 15.8 a,b | 4.08 a,b | 0.9 a,b | −9.8 a | 4.6 a,b |
| 3 | 15.6 b | 4.24 b,c | 1.18 b | −11.76 a | 3.3 a,b |
| 2 | 15.1 c | 5.3 c | 1.48 c | −12.74 a | 2.5 b |
| 6 | 15.9 a,b | 4.1 a,b | 0.7 a,b | −6.37 a | 4.6 a |
| 5 | 16.2 a | 3.62 a | 0.8 a | −6.86 a | 4.2 a |
| 4 | 15.9 a,b | 4.42 a,b | 0.9 a,b | −7.84 a | 3.8 a,b |
| 3 | 15.8 b | 4.18 b,c | 1.18 b | −8.82 a | 3 a,b |
| 2 | 15.1 c | 5.04 c | 1.6 c | −9.31 a | 2.2 b |
| 6 | 15.6 a,b | 4.3 a,b | 1.35 a,b | −4.21 a | 3.2 a,b |
| 5 | 16.6 a | 2.74 a | 0.68 a | −4.9 a | 2.9 a,b |
| 4 | 16.1 a,b | 3.5 a,b | 0.85 a,b | −5.09 a | 2.6 a,b |
| 3 | 15.2 b | 5.06 b,c | 1.1 b | −5.78 a | 2.4 a,b |
| 2 | 14.8 c | 5.76 c | 1.4 c | −6.17 a | 2 b |
Publisher’s Note: MDPI stays neutral with regard to jurisdictional claims in published maps and institutional affiliations. |
© 2021 by the authors. Licensee MDPI, Basel, Switzerland. This article is an open access article distributed under the terms and conditions of the Creative Commons Attribution (CC BY) license (https://creativecommons.org/licenses/by/4.0/).
Share and Cite
Romaniuk, W.; Savinykh, P.A.; Borek, K.; Plotnikowa, Y.A.; Palitsyn, A.V.; Korotkov, A.N.; Roman, K.; Roman, M. Improvement of Gas Generator Technology for Energy Processing of Agricultural Waste. Energies 2021, 14, 3642. https://doi.org/10.3390/en14123642
Romaniuk W, Savinykh PA, Borek K, Plotnikowa YA, Palitsyn AV, Korotkov AN, Roman K, Roman M. Improvement of Gas Generator Technology for Energy Processing of Agricultural Waste. Energies. 2021; 14(12):3642. https://doi.org/10.3390/en14123642
Chicago/Turabian StyleRomaniuk, Wacław, Piotr A. Savinykh, Kinga Borek, Yulia A. Plotnikowa, Andriej V. Palitsyn, Aleksandr N. Korotkov, Kamil Roman, and Michał Roman. 2021. "Improvement of Gas Generator Technology for Energy Processing of Agricultural Waste" Energies 14, no. 12: 3642. https://doi.org/10.3390/en14123642
APA StyleRomaniuk, W., Savinykh, P. A., Borek, K., Plotnikowa, Y. A., Palitsyn, A. V., Korotkov, A. N., Roman, K., & Roman, M. (2021). Improvement of Gas Generator Technology for Energy Processing of Agricultural Waste. Energies, 14(12), 3642. https://doi.org/10.3390/en14123642

