Development of a High-Flux Solar Simulator for Experimental Testing of High-Temperature Applications
Abstract
1. Introduction
2. Design of Solar Simulator
Optical Analysis
3. Construction and Alignment of the Solar Simulator
- focus/defocusing the light, by moving up and down the workbench, to reach the desired concentration value;
- fixing a sample holder with extreme precision using the threaded holes of the optical bench.
- all elliptical reflectors were equipped with a 2-axis rotating system;
- a laser was mounted in the center of the table (Figure 11a);
- a laser beam was pointed towards an elliptical reflector;
- the elliptical reflector was moved, up to hit the focus of the lamp with the help of the laser beam (Figure 11b);
- points 3 and 4 have been repeated for all lamps.
- Heat flux, 5 ÷ 5000 W/cm2;
- Sensitivity, 2 mV/(W/cm2);
- Accuracy, ±3%;
- Repeatability, 1%.
4. Discussion of Results
- the maximum irradiance point along the central line of the workbench is shifted by 2.5 cm with respect to the zero position: this is due to the imperfect centering of lamp #7;
- the radiant flux of the lamp is not proportional to the electrical power: its growth gradient is low for electrical power lower than 20%, then the radiant flux rises quickly up to reach an electrical power of about 60% (2400 W) and finally becomes quite stable;
- differently from theoretical calculations, the best workbench height is not a point, but is an area ranged between 0 cm and +5 cm; this is due to the light source, which is not a point but is an arc of few millimeters.
- the maximum irradiance reached by the lamp #7 is equal to 23.36 W/cm2: this value is in agreement with the numerical results of Figure 8.
- differently from Figure 14, the maximum irradiance is mainly reached along the central line of the workbench (0 cm);
- the radiant flux of the lamp is quite proportional to the electrical power;
- differently from both theoretical calculations and previous results of Figure 14, the best workbench height is shifted towards +10 cm: also in this case, this result can be explained taking into consideration the imperfect shape and position of the light source;
- the radiant flux along the horizontal line +10 cm is bigger than zero, while the numerical results of Figure 8 show values of irradiance equal to zero already over 6 cm: this result demonstrated that the real focalization of the lamp is worse than the theoretical one.
- in the peripheral area of the workbench (Figure 16), the irradiance remains quite stable within the range of 1 ÷ 6 suns. Therefore, this area may be useful for the analysis of all low-concentration solar applications.
- small alignment errors of the lamps;
- micro-imperfections of the mirrors;
- in order to avoid excessive stress, the experimental characterization was carried out, with a maximum electrical power of 3600 W for lamp (equal to 80% of the maximum power of 4000 W);
- the radiation, measured by Gardon sensor, is not punctual, but is averaged over its sensitive surface, equal to 126 mm2.
5. Conclusions
Author Contributions
Funding
Conflicts of Interest
References
- Gallo, A.; Marzo, A.; Fuentealba, E.; Alonso, E. High flux solar simulators for concentrated solar thermal research: A review. Renew. Sustain. Energy Rev. 2017, 77, 1385–1402. [Google Scholar] [CrossRef]
- Sarwar, J.; Georgakis, G.; La Chance, R.; Ozalp, N. Description and characterization of an adjustable flux solar simulator for solar thermal, thermochemical and photovoltaic applications. Sol. Energy 2014, 100, 179–194. [Google Scholar] [CrossRef]
- Levêque, G.; Bader, R.; Lipiński, W.; Haussener, S. High-flux optical systems for solar thermochemistry. Sol. Energy 2017, 156, 133–148. [Google Scholar] [CrossRef]
- Hirsch, D.; Zedtwitz, P.v.; Osinga, T.; Kinamore, J.; Steinfeld, A. A New 75 kW High-Flux Solar Simulator for High-Temperature Thermal and Thermochemical Research. J. Sol. Energy Eng. 2003, 125, 117–120. [Google Scholar] [CrossRef]
- Arribas, L.; González-Aguilar, J.; Romero, M. Solar-Driven Thermochemical Water-Splitting by Cerium Oxide: Determination of Operational Conditions in a Directly Irradiated Fixed Bed Reactor. Energies 2018, 11, 2451. [Google Scholar] [CrossRef]
- Kuhn, P.; Hunt, A. A New Solar Simulator to Study High Temperature Solid-State Reactions With Highly Concentrated Radiation. Sol. Energy Mater. 1991, 24, 742–750. [Google Scholar] [CrossRef]
- Petrasch, J.; Coray, P.; Meier, A.; Brack, M.; Haberling, P.; Wuillemin, D.; Steinfeld, A. A novel 50 kW 11,000 suns high-flux solar simulator based on an array of xenon arc lamps. J. Sol. Energy. Asme 2007, 129, 405. [Google Scholar] [CrossRef]
- Martínez-Manuel, L.; Peña-Cruz, M.I.; Villa-Medina, M.; Ojeda-Bernal, C.; Prado-Zermeño, M.; Prado-Zermeño, I.; Pineda-Arellano, C.A.; Carrillo, J.G.; Salgado-Tránsito, I.; Martell-Chavez, F. A 17.5 kWel high flux solar simulator with controllable flux-spot capabilities: Design and validation study. Sol. Energy 2018, 170, 807–819. [Google Scholar] [CrossRef]
- Zhu, Q.; Xuan, Y.; Liu, X.; Yang, L.; Lian, W.; Zhang, J. A 130 kWe solar simulator with tunable ultra-high flux and characterization using direct multiple lamps mapping. Appl. Energy 2020, 270, 115165. [Google Scholar] [CrossRef]
- Ekman, B.M.; Brooks, G.; Rhamdhani, M.A. Development of high flux solar simulators for solar thermal research. Sol. Energy Mater. Sol. Cells 2015, 141, 436–446. [Google Scholar] [CrossRef]
- Li, J.; Gonzalez-Aguilar, J.; Pérez-Rábago, C.; Zeaiter, H.; Romero, M. Optical analysis of a hexagonal 42 kWe High-Flux Solar Simulator. Energy Procedia 2014, 57, 590–596. [Google Scholar] [CrossRef]
- Alxneit, I.; Schmit, H. Spectral Characterization of PSI’s High-Flux Solar Simulator. J. Sol. Energy Eng. 2012, 134, 011013. [Google Scholar] [CrossRef]
- Synlight. Available online: https://www.dlr.de/content/en/research-facilities/synlight.html (accessed on 13 May 2021).
- Song, J.; Wang, J.; Niu, Y.; Wang, W.; Tong, K.; Yu, H.; Yang, Y. Flexible high flux solar simulator based on optical fiber bundles. Sol. Energy 2019, 193, 576–583. [Google Scholar] [CrossRef]
- Dai, S.; Chang, Z.; Ma, T.; Wang, L.; Li, X. Experimental study on flux mapping for a novel 84 kWe high flux solar simulator. Appl. Therm. Eng. 2019, 162, 114319. [Google Scholar] [CrossRef]
- Xiao, J.; Yang, H.; Wei, X.; Li, Z. A novel flux mapping system for high-flux solar simulators based on the indirect method. Sol. Energy 2019, 179, 89–98. [Google Scholar] [CrossRef]
- Li, Z.; Tang, D.; Du, J.; Li, T. Study on the radiation flux and temperature distributions of the concentrator-receiver system in a solar dish/Stirling power facility. Appl. Therm. Eng. 2011, 31, 1780–1789. [Google Scholar] [CrossRef]
- Ioannou, L.A.; Hapeshi, E.; Vasquez, M.I.; Mantzavinos, D.; Fatta-Kassinos, D. Solar/TiO2 photocatalytic decomposition of β-blockers atenolol and propranolol in water and wastewater. Sol. Energy 2011, 85, 1915–1926. [Google Scholar] [CrossRef]
- Codd, D.S.; Carlson, A.; Rees, J.; Slocum, A.H. A low cost high flux solar simulator. Sol. Energy 2010, 84, 2202–2212. [Google Scholar] [CrossRef]
- Li, L.; Wang, B.; Pottas, J.; Lipiński, W. Design of a compound parabolic concentrator for a multi-source high-flux solar simulator. Sol. Energy 2019, 183, 805–811. [Google Scholar]
- Abdulhamed, A.J.; Adam, N.M.; Ab-Kadir, M.Z.A.; Hairuddin, A.A. Review of solar parabolic-trough collector geometrical and thermal analyses, performance, and applications. Renew. Sustain. Energy Rev. 2018, 91, 822–831. [Google Scholar] [CrossRef]
- Felsberger, R.; Buchroithner, A.; Gerl, B.; Wegleiter, H. Conversion and Testing of a Solar Thermal Parabolic Trough Collector for CPV-T Application. Energies 2020, 13, 6142. [Google Scholar] [CrossRef]
- Fuqiang, W.; Ziming, C.; Jianyu, T.; Yuan, Y.; Linhua, L. Progress in concentrated solar power technology with parabolic trough collector system: A comprehensive review. Renew. Sustain. Energy Rev. 2017, 79, 1314–1328. [Google Scholar] [CrossRef]
- Jebasingh, V.K.; Joselin Herbert, G.M. A review of solar parabolic trough collector. Renew. Sustain. Energy Rev. 2016, 54, 1085–1091. [Google Scholar] [CrossRef]
- Wu, S.Y.; Xiao, L.; Cao, Y.; Li, Y.R. Convection heat loss from cavity receiver in parabolic dish solar thermal power system: A review. Sol. Energy 2010, 84, 1342–1355. [Google Scholar] [CrossRef]
- García-Ferrero, J.; Heras, I.; Santos, M.J.; Merchán, R.P.; Medina, A.; González, A.; Calvo Hernández, A. Thermodynamic and Cost Analysis of a Solar Dish Power Plant in Spain Hybridized with a Micro-Gas Turbine. Energies 2020, 13, 5178. [Google Scholar] [CrossRef]
- Okoroigwe, E.; Madhlopa, A. An integrated combined cycle system driven by a solar tower: A review. Renew. Sustain. Energy Rev. 2016, 57, 337–350. [Google Scholar] [CrossRef]
- Zhang, Q.; Jiang, K.; Kong, Y.; Wu, J.; Du, X. Study on Outlet Temperature Control of External Receiver for Solar Power Tower. Energies 2021, 14, 340. [Google Scholar] [CrossRef]
- Wang, K.; He, Y.L.; Zhu, H.H. Integration between supercritical CO2 Brayton cycles and molten salt solar power towers: A review and a comprehensive comparison of different cycle layouts. Appl. Energy 2017, 1951, 819–836. [Google Scholar]
- Lee, H.; Chai, K.; Kim, J.; Lee, S.; Kang, Y. Optical performance evaluation of a solar furnace by measuring the highly concentrated solar flux. Energy 2014, 661, 63–69. [Google Scholar] [CrossRef]
- Garcia, D.; Liang, D.; Tibùrcio, B.D.; Almeida, J.; Vistas, C.R. A three-dimensional ring-array concentrator solar furnace. Sol. Energy 2019, 19315, 915–928. [Google Scholar] [CrossRef]
- de Risi, A.; Milanese, M.; Laforgia, D. Modelling and optimization of transparent parabolic trough collector based on gas-phase nanofluids. Renew. Energy 2013, 58, 134–139. [Google Scholar] [CrossRef]
- Potenza, M.; Milanese, M.; Colangelo, G.; de Risi, A. Experimental investigation of transparent parabolic trough collector based on gas-phase nanofluid. Appl. Energy 2017, 2031, 560–570. [Google Scholar] [CrossRef]
- Kasaeian, A.; Daneshazarian, R.; Rezaei, R.; Pourfayaz, F.; Kasaeian, G. Experimental investigation on the thermal behavior of nanofluid direct absorption in a trough collector. J. Clean. Prod. 2017, 1581, 276–284. [Google Scholar] [CrossRef]
- Farhana, K.; Kadirgama, K.; Rahman, M.M.; Ramasamy, D.; Mahamude, A.S.F. Improvement in the performance of solar collectors with nanofluids—A state-of-the-art review. Nano Struct. Nano Objects 2019, 18, 100276. [Google Scholar] [CrossRef]
- Steinfeld, A. Solar thermochemical production of hydrogen—A review. Sol. Energy 2005, 78, 603–615. [Google Scholar] [CrossRef]
- Meier, A.; Bonaldi, E.; Cella, G.M.; Lipinski, W.; Wuillemin, D.; Palumbo, R. Design and experimental investigation of a horizotal rotary reactor for the solar thermal production of lime. Energy 2004, 29, 811–821. [Google Scholar] [CrossRef]
- Chueh, W.C.; Falter, C.; Abbott, M.; Scipio, D.; Furler, P.; Haile, S.M.; Steinfeld, A. High-flux solar-driven thermochemical dissociation of CO2 and H2O using nonstoichiometric ceria. Science 2010, 330, 1797–1801. [Google Scholar] [CrossRef]
- Charvin, P.; Abanades, S.; Beche, E.; Lemont, F.; Flamant, G. Hydrogen production from mixed cerium oxides via three-step water-splitting cycles. Solid State Ion. 2009, 180, 1003–1010. [Google Scholar] [CrossRef]
- Puig-Arnavat, M.; Tora, E.; Bruno, J.C.; Coronas, A. State of the art on reactor designs for solar gasification of carbonaceous feedstock. Sol. Energy 2013, 97, 67–84. [Google Scholar] [CrossRef]
- Dahl, J. Solar-thermal dissociation of methane in a fluid-wall aerosol flow reactor. Int. J. Hydrogen Energy 2004, 29, 725–736. [Google Scholar] [CrossRef]
- Milanese, M.; Colangelo, G.; Iacobazzi, F.; de Risi, A. Modeling of double-loop fluidized bed solar reactor for efficient thermochemical fuel production. Sol. Energy Mater. Sol. Cells 2017, 160, 174–181. [Google Scholar] [CrossRef]
- Milanese, M.; Colangelo, G.; Laforgia, D.; de Risi, A. Multi-parameter optimization of double-loop fluidized bed solar reactor for thermochemical fuel production. Energy 2017, 134, 919–932. [Google Scholar] [CrossRef]
- OptiCAD. Optical Analysis Program User’s Guide, Version 9; Opticad Corporation: Santa Fe, NM, USA, 1999. [Google Scholar]


















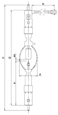
| Characteristic | Value | |
|---|---|---|
| Rated lamp wattage | 4000 W | ![]() |
| Rated lamp voltage | 29 V | |
| Rated lamp current | 135 A | |
| Ignition voltage | 36 kV | |
| Luminous flux | 160 klm | |
| Electrode gap e0 (cold) | 6.5 mm | |
| Lamp length (overall) l1 | 410 mm | |
| Lamp length l2 | 370 mm | |
| Bulb diameter d | 70 mm | |
| LCL a | 171 mm | |
| Length cable | 400 mm | |
| Maximum permissible base temperature | 230 °C | |
| Min. air flow velocity around discharge vessel | 6 m/s |
| Main Parameters | Value |
|---|---|
| Number of rays from each source | 21,600 |
| Number of sources from each lamp | 5 |
| Ray limits: max depth | 140 |
| Ray limits: min trans | 0.01 |
| Ray limits: max ghost | 2 |
| Radiometer smooth | 25 |
| Target attributes: reflectance | 0 |
| Target attributes: absorbance | 1 |
| Iteration: max count | 20 |
| Iteration: tolerance | 1×10−6 |
| Case | Electrical Power [W] | Height of the Workbench [cm] |
|---|---|---|
| 1 | 400 | −10 |
| 2 | 800 | −10 |
| 3 | 1600 | −10 |
| 4 | 2400 | −10 |
| 5 | 3600 | −10 |
| 6 | 400 | −5 |
| … | … | −5 |
| 10 | 3600 | −5 |
| 11 | 400 | 0 |
| 12 | 800 | 0 |
| 13 | 1600 | 0 |
| … | … | … |
| 25 | 3600 | 10 |
Publisher’s Note: MDPI stays neutral with regard to jurisdictional claims in published maps and institutional affiliations. |
© 2021 by the authors. Licensee MDPI, Basel, Switzerland. This article is an open access article distributed under the terms and conditions of the Creative Commons Attribution (CC BY) license (https://creativecommons.org/licenses/by/4.0/).
Share and Cite
Milanese, M.; Colangelo, G.; de Risi, A. Development of a High-Flux Solar Simulator for Experimental Testing of High-Temperature Applications. Energies 2021, 14, 3124. https://doi.org/10.3390/en14113124
Milanese M, Colangelo G, de Risi A. Development of a High-Flux Solar Simulator for Experimental Testing of High-Temperature Applications. Energies. 2021; 14(11):3124. https://doi.org/10.3390/en14113124
Chicago/Turabian StyleMilanese, Marco, Gianpiero Colangelo, and Arturo de Risi. 2021. "Development of a High-Flux Solar Simulator for Experimental Testing of High-Temperature Applications" Energies 14, no. 11: 3124. https://doi.org/10.3390/en14113124
APA StyleMilanese, M., Colangelo, G., & de Risi, A. (2021). Development of a High-Flux Solar Simulator for Experimental Testing of High-Temperature Applications. Energies, 14(11), 3124. https://doi.org/10.3390/en14113124

