Low-Cost Solar Electricity Using Stationary Solar Fields; Technology Potential and Practical Implementation Challenges to Be Overcome. Outcomes from H2020 MOSAIC Project
Abstract
1. Introduction
2. The Current State of Research
- USA: The United States Department of Energy (DOE) DOE launched the Crosbyton solar power project (CSPP), and the analog design verification system (ADVS) began tests in 1980 in Crosbyton (Texas). The reflector of the ADVS was a spherical bowl with 19.8 m aperture diameter, 60° semi-rim angle, and was tilted 15° [16]. Its receiver was 5.7 m long made of Inconel alloy 617, producing superheated steam at 538 °C. The system was intended to act as a testbed for the design of a 5 MW hybrid solar/fossil fuel power plant. Such a plant would have had 10 bowls, each with 60 m aperture diameter, but after the test period, the ADVS was dismantled.
- France: CNRS (Centre National de la Recherche Scientifique) developed the Pericles project to study SRTAs for the vicinity of the equator or tropical areas. A test bowl was built in Marseilles, France, and later rebuilt in Recife, Brazil. The system was operational in 1980. It had a 10 m aperture diameter, 120° rim angle, and no inclination. It was known as mini-Pericles since 30–40 m diameter bowls were studied within the project. The bowl included an additional mobile element (rotary visor) to reduce shadows and improve efficiency in the early morning and late in the day [17]. Gilotherm TH oil was used as Heat Transfer Fluid (HTF) up to 330 °C.
- Israel: Several SRTA versions were built in the 1970s in Haifa, Israel, at the Technion–Israel Institute of Technology. The largest prototype had a 10 m diameter dish that produced steam at 300 °C, but no public report has been found; it was operational in 1979. Design, construction, and testing of a smaller version (2.52 m diameter) operated with PAZTHERM 22TM are described in [18]. Other papers describe successive versions in the range of 2.4 m to 8.7 m aperture diameter [12]. Ref. [19] shows a video of a recent SRTA test bench.
- India: The first dish, with a 3.5 m aperture diameter, 120 rim-angle, inclined to 12° was developed in Auroville, Tamil Nadu, India, was already reported by Harper in 1982 [20]. It used small flat glasses glued to concrete. In the 1990s, a much larger solar bowl was integrated into Auroville’s community kitchen [15]. This new project involved not only Harper but also other technology enthusiasts who had been involved in previous projects in France or the USA, such as Goodman, Authier, or Debilly. They considered that solar bowl technology was relatively simple and low-cost and that it had the potential to use labor more intensively than capital, making it suitable for developing countries. In fact, the system had been supplying steam for cooking since 2001. The solar kitchen included a spherical bowl with 15 m aperture diameter, 120° rim angle, and 12° tilt angle. During 2001–2002, the system was tested using oil (above 200 °C) as heat transfer fluid (HTF). Later it was switched to a ‘water only’ system more suitable for cooking and easy to use; it produced steam at 150 °C.
- Europe: The European Commission funded Phase 1 of a research project (1996–1999) that developed a prototype [21] producing hot air at 850 °C in Crete, Greece. The original concept aimed to produce 1 MW, but the prototype developed in Phase 1 was downsized. The prototype consisted of a reflective surface with a radius of curvature of 30 m (a 47° wide segment in the north-south direction and a 60° wide segment in the east-west direction) that supplied heat to the 35 kWe solar-gas turbine. The volumetric receiver with a secondary concentrator followed the concentrated solar flux at a distance of 14.7 m from the surface of the mirrors. As two-thirds of the mirror costs were the civil works associated with the construction of the bowl, a revised concept was conceived for Phase 2, which included a flat fixed Fresnel mirror. The most relevant prototypes to date are summarized in Table 1.
3. Materials and Methods
- Low costs because of the fixed solar field. Eliminating the drives of thousands of heliostats eliminates the most expensive elements of the solar field and those that require the greatest resources for their maintenance. In addition, the proposed Fresnel configuration limits the main drawbacks of previous SRTA configurations (huge civil works costs, high wind loads, etc.).
- High concentration ratios and high thermal efficiency of the system. The system allows concentration ratios much higher than those of the parabolic trough collectors and maximum concentrations in the upper part of the receiver close to those of the solar towers.
- High operating temperatures allow high efficiency of the thermodynamic cycle that is fed by the system. Additionally, higher operating temperatures reduce the size of storage tanks and improve the cost-effectiveness of the thermal storage system, contributing to lower electricity costs.
- Scalable plants to any power output as a result of the modularity of the concept. The maximum size is not limited, and it is possible to think of plants with large power blocks that are more efficient and large centralized thermal storage systems that are more cost-effective. If needed, smaller plants can also be designed to produce electricity or to supply heat to industrial processes.
4. Results and Discussion
4.1. Solar Field.
4.2. Tracking System.
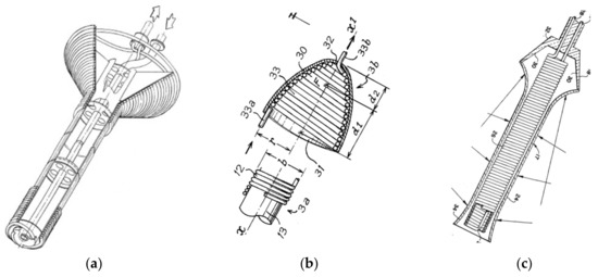
4.3. Receiver
4.4. Modular Plant Configuration
5. Conclusions
- The semi-Fresnel design of the solar field reduces civil works costs and wind loads, thus addressing the main drawbacks of previous SRTA configurations.
- The cable-based tracking system that replaces the numerous heliostat drives offers cost reduction potential (CAPEX and OPEX).
- A modular configuration that allows the development of large, cost-efficient plants, as well as smaller plants for electricity or heat production.
Author Contributions
Funding
Acknowledgments
Conflicts of Interest
References
- McPherson, M.; Mehos, M.; Denholm, P. Leveraging concentrating solar power plant dispatchability: A review of the impacts of global market structures and policy. Energy Policy 2020, 139, 111335. [Google Scholar] [CrossRef]
- Crespo, D. STE Can Replace Coal, Nuclear and Early Gas as demonstrated in an Hourly Simulation over 4 Years in the Spanish Electricity Mix. AIP Conf. Proc. 2019, 2126, 130003. [Google Scholar] [CrossRef]
- Rashid, K.; Safdarnejad, S.M.; Ellingwood, K.; Powell, M. Techno-economic evaluation of different hybridization schemes for a solar thermal/gas power plant. Energy 2019, 181, 91–106. [Google Scholar] [CrossRef]
- Rashid, K.; Mohammadi, K.; Powell, K. Dynamic simulation and techno-economic analysis of a concentrated solar power (CSP) plant hybridized with both thermal energy storage and natural gas. J. Clean. Prod. 2020, 248, 119193. [Google Scholar] [CrossRef]
- Rovense, F.; Reyes-Belmonte, M.A.; Gonzalez-Aguilar, J.; Amelio, M.; Bova, S.; Romero, M. Application of un-fired closed Brayton cycle with mass flow regulation and particles based thermal energy storage systems for CSP. AIP Conf. Proc. 2019, 2126, 030047. [Google Scholar] [CrossRef]
- Bhargava, K.R.; Grossb, F.; Schramek, P. Life Cycle cost optimized heliostat size for power towers. Energy Proc. 2014, 49, 40–49. [Google Scholar] [CrossRef]
- Villasante, C.; Pagola, I.; Pena, A.; Sanchez, M.; Olarra, A.; Gomez-Acedo, E.; Herrero, S. MOSAIC, a new CSP plant concept for the highest concentration ratios at the lowest cost. AIP Conf. Proc. 2019, 2126, 060008. [Google Scholar] [CrossRef]
- Steward, W.G.; Kreith, F. Stationary concentrating reflector/tracking absorber solar energy collector: Optical design characteristics. Appl. Opt. 1975, 14, 1509–1512. [Google Scholar] [CrossRef] [PubMed]
- Dirks, J.A.; Williams, T.A.; Brown, D.R. Performance and Cost Implications of the Fixed Mirror, Distributed Focus (FMDF) Collector. J. Sol. Energy Eng. 1992, 114, 254–259. [Google Scholar] [CrossRef]
- Goodman, J.H. Solar Concentrating Architectonics; Solar Bowl Architectonics and Interior Heliostats Architectonics; c/o HANDance Designs: Walton: Spring Green, WI, USA, 1993. [Google Scholar]
- Adams, W. Solar Heat-A Substitute for Fuel in Tropical Countries for Heating Steam Boilers and Other Purposes; NYC Public Library; N.U.C. #NA 0065154; Education Society’s Press: Byculla, Bombay, India, 1878; p. 112. [Google Scholar]
- Cohen, S.; Grossman, G. Development of a solar collector with a stationary spherical reflector/tracking absorber for industrial process heat. Sol. Energy 2016, 128, 31–40. [Google Scholar] [CrossRef]
- Berland, J.J.G. Machine Solaire à Air Atmosphérique. French Patent No. FR635283 (A), 3 Decembar 1928. [Google Scholar]
- Kreider, J.F. Thermal performance analysis of the stationary reflector/tracking absorber (SRTA) solar concentrator. ASME J. Heat Transf. 1975, 97, 451–456. [Google Scholar] [CrossRef]
- Guigan, G.; Harper, J. Auroville Solar Bowl Concentrator for Community Scale Steam Cooking. Report of the Project Funded by the Government of India, May 2008. Available online: https://research.auroville.org/system/papers/attachments/000/000/623/original/Auroville_Solar_Bowl_Concentrator_for_the_Communit..Cooking_Auroshilpam_2008.pdf (accessed on 30 January 2020).
- O’Hair, E.A.; Simpson, T.L.; Green, B. Results from Operation of the Crosbyton Solar Bowl. In Proceedings of the 8th ASME Solar Energy Division Conference, Anaheim, CA, USA; Ferber, R.R., Ed.; American Society of Mechanical Engineers: New York, NY, USA, 1986; pp. 205–209. [Google Scholar]
- Authier, B. Capteur D’energie Solaire a Miroir Spherique Fixe. French Patent No. FR2365085 (A1), 14 April 1978. [Google Scholar]
- Grossman, G.; Fruchter, E.; Kreith, F. An experimental investigation of a stationary reflector/tracking absorber solar collector at intermediate temperatures. J. Sol. Energy Eng. 1982, 104, 340–344. [Google Scholar]
- Experimental Set-up for a SRTA at Technion-Israel Institute of Technology. Available online: https://www.youtube.com/watch?v=WBb7hDGUSng&t=182s (accessed on 1 April 2020).
- Harper, J. Construction of a Stationary Spherical Reflector for Rural Use; Final report of the project sponsored by Tata Energy Research Institute; Tata Energy Research Institute: Auroville, Tamil Nadu, India, 1982. [Google Scholar]
- Kenna, J. Construction and Testing of a Pilot Solar thermal power station using an innovative mirror concept. Report for JOR3CT960046 project (1996–1999) funded under FP4-NNE-JOULE C Program. Available online: http://cordis.europa.eu/publication/rcn/1452_en.html (accessed on 30 January 2020).
- Larbi, A.B. A new design of a (3D) Fresnel collector with fixed mirrors and tracking absorber. J. Sol. Energy Eng. 2000, 122, 63–68. [Google Scholar] [CrossRef]
- Sanchez, M. Potential of Optimized Non-Tracking Mirror Concentrators for Distributed Solar Applications. In Proceedings of the SolarPACES Conferences, Oaxaca, Mexico, October 2004. [Google Scholar]
- Hariharan, S. Simulation of the receiver in a fixed-mirror distributed focus solar power system. Ph.D. Thesis, Texas Tech University, Lubbock, TX, USA, August 1981. [Google Scholar]
- Kortaberria, G.; Gomez-Acedo, E.; Molina, J.; Tellaeche, A.; Minguez, R. Theoretical accuracy assessment of model-based photogrammetric approach for pose estimation of cylindrical elements. Meas. Sci. Technol. 2019, 30, 1–17. [Google Scholar] [CrossRef]
- Steward, W.G. Receiver for solar energy. US Patent No. U.S.4173968 (A), 13 November 1979. [Google Scholar]
- Zanino, R.; Cagnoli, M.; Falsig, J.J.; Pagola, I.; Peña, A.; Savoldi, L.; Villasante, C. Design and Analysis of the Helical Receiver for the MOSAIC Prototype Solar Bowl System. J. Sol. Energy. under review.













| Site | Crosbyton, TX, USA | Marseilles, France Recife, Brazil | Haifa, Israel | Auroville, India | Crete, Greece |
|---|---|---|---|---|---|
| Photo | ![]() | ![]() | ![]() | ![]() | ![]() |
| Date | 1970s | 1970s | 1970s | 1990s | 1990s |
| Size | 19.7 m aperture diameter | 10 m aperture diameter | 10 m aperture diameter | 15 m aperture diameter | 30 m curvature |
| HTF/ temp | Steam at 538 °C | Gilotherm TH oil at 330 °C | Steam at 300 °C | Low pressure Steam | Air at 850 °C |
| Status | Decommissioned | Decommissioned | Decommissioned | Still in operation | Decommissioned |
| ‘Actual Sphere’ | ‘Flat Fresnel’ | ‘Semi-Fresnel’ | |
|---|---|---|---|
| Configuration | ![]() | ![]() | ![]() |
| Annual contribution | ![]() | ![]() | ![]() |
© 2020 by the authors. Licensee MDPI, Basel, Switzerland. This article is an open access article distributed under the terms and conditions of the Creative Commons Attribution (CC BY) license (http://creativecommons.org/licenses/by/4.0/).
Share and Cite
Villasante, C.; Herrero, S.; Sánchez, M.; Pagola, I.; Peña, A.; Olasolo, D.; Bernardos, A. Low-Cost Solar Electricity Using Stationary Solar Fields; Technology Potential and Practical Implementation Challenges to Be Overcome. Outcomes from H2020 MOSAIC Project. Energies 2020, 13, 1816. https://doi.org/10.3390/en13071816
Villasante C, Herrero S, Sánchez M, Pagola I, Peña A, Olasolo D, Bernardos A. Low-Cost Solar Electricity Using Stationary Solar Fields; Technology Potential and Practical Implementation Challenges to Be Overcome. Outcomes from H2020 MOSAIC Project. Energies. 2020; 13(7):1816. https://doi.org/10.3390/en13071816
Chicago/Turabian StyleVillasante, Cristóbal, Saioa Herrero, Marcelino Sánchez, Iñigo Pagola, Adrian Peña, David Olasolo, and Ana Bernardos. 2020. "Low-Cost Solar Electricity Using Stationary Solar Fields; Technology Potential and Practical Implementation Challenges to Be Overcome. Outcomes from H2020 MOSAIC Project" Energies 13, no. 7: 1816. https://doi.org/10.3390/en13071816
APA StyleVillasante, C., Herrero, S., Sánchez, M., Pagola, I., Peña, A., Olasolo, D., & Bernardos, A. (2020). Low-Cost Solar Electricity Using Stationary Solar Fields; Technology Potential and Practical Implementation Challenges to Be Overcome. Outcomes from H2020 MOSAIC Project. Energies, 13(7), 1816. https://doi.org/10.3390/en13071816











