Next Article in Journal
Noise Immunity Analysis and Improvement of dq Frame Based Open-Loop Phase Detection Scheme
Next Article in Special Issue
A New Approach for Fault Detection, Location and Diagnosis by Ultrasonic Testing
Previous Article in Journal
Non-Contact Measurement and Analysis of Trapped Charge Decay Rates for Cable Line Switching Transients
Previous Article in Special Issue
Evaluation of Anomaly Detection of an Autoencoder Based on Maintenace Information and Scada-Data
error_outline You can access the new MDPI.com website here. Explore and share your feedback with us.
 
 
Font Type:
Arial Georgia Verdana
Font Size:
Aa Aa Aa
Line Spacing:
Column Width:
Background:
Article

Reducing Operational Costs of Offshore HVDC Energy Export Systems Through Optimized Maintenance

1
Department of Sustainable Systems Engineering, University of Freiburg, Emmy-Noether-Strasse 2, 79110 Freiburg, Germany
2
Overspeed GmbH & CO. KG, Im Technologiepark 4, 26129 Oldenburg, Germany
3
University of Applied Science Emden/Leer, Constantiaplatz 4, 26723 Emden, Germany
*
Author to whom correspondence should be addressed.
Energies 2020, 13(5), 1146; https://doi.org/10.3390/en13051146
Submission received: 12 December 2019 / Revised: 26 February 2020 / Accepted: 27 February 2020 / Published: 3 March 2020
(This article belongs to the Special Issue Maintenance Management of Wind Turbines)

Abstract

For the grid connection of offshore wind farms today, in many cases a high-voltage direct current (HVDC) connection to the shore is implemented. The scheduled maintenance of the offshore and onshore HVDC stations makes up a significant part of the operational costs of the connected wind farms. The main factor for the maintenance cost is the lost income from the missing energy yield (indirect maintenance costs). In this study, we show an in-depth analysis of the used components, maintenance cycles, maintenance work for the on- and offshore station, and the risks assigned in prolonging the maintenance cycle of the modular multilevel converter (MMC). In addition, we investigate the potential to shift the start date of the maintenance work, based on a forecast of the energy generation. Our findings indicate that an optimized maintenance design with respect to the maintenance behavior of an HVDC energy export system can decrease the maintenance-related energy losses (indirect maintenance costs) for an offshore wind farm to almost one half. It was also shown that direct maintenance costs for the MMC (staff costs) have small effect on the total maintenance costs. This can be explained by the fact that the additional costs for maintenance staff are two orders of magnitude lower than the revenue losses during maintenance.

Graphical Abstract

1. Introduction

The generation of electricity by offshore wind power has been expanded in recent years, because of their strong reduction in electricity generation costs [1]. At the end of 2018, 18.50 GW of offshore wind power generation capacity was installed in Europe [2]. Compared to the previous year, this represents an increase of 17.2% [3]. In the next few years, a further increase of offshore wind power capacity in Europe is expected [3]. The European Union (EU) has the ambition to reach 65 to 85 GW offshore wind power generation capacity by 2030 [4]. This would represent an increase of 350% to 450% within next decade.
Due to the long distance of offshore wind farms to the coast, high-voltage direct current (HVDC) technology is in many cases used for the connection to the onshore grid. This is because it is a low-loss transmission technology compared to the classical alternating current (AC) technology [5].
Today, a commonly used HVDC technology is the voltage source converter (VSC) technology [6]. In the offshore field, the VSC is mostly applied as a modular multilevel converter (MMC), because of the reduced space required [7]. To guarantee the reliability of the HVDC system, it is taken out of service and maintained at regular intervals. Usually, the HVDC system is shut down for up to one week every year due to maintenance [8]. No wind energy can be exported to the onshore grid during these maintenance operations. For a 1 GW wind farm, this can lead to a missing energy yield of around 50 GWh per year on average. In addition, the maintenance date is often planned a couple of months ahead, while wind power generation cannot be precisely forecasted over such long periods. The main driver for the maintenance costs is the loss of income due to the missing energy export. For the mentioned 1 GW wind farm grid connection, this income loss ranges from 3 to 8 Mio. EUR per year. However, the magnitude highly depends upon the wind occurrence during the maintenance period [9,10,11]. In literature, the loss of income is often referred to as the indirect costs of maintenance, in contrast to the direct costs for staff, transportation and spare parts [12]. While indirect costs are usually lower than direct costs for wind turbines [13], the relation is typically inversed for energy export systems, which have higher indirect than direct costs [14].
To the best knowledge of the authors, the duration of the required maintenance outage of an HVDC energy export system has not yet been analyzed in the scientific literature. In existing approaches, maintenance of the energy export system is only accounted for by a simple non-availability value [11,12]. Given the lack of accurate wind forecasts for the outage period, it is difficult to determine the expected losses due to maintenance work in the planning process of HVDC energy export systems for offshore wind farms.
In order to improve the planning process, this study gives a detailed technical explanation of an HVDC energy export system for an offshore wind farm. In this, the different technical design aspects of the HVDC offshore and onshore stations are discussed. We quantify the MMC reliability under different maintenance strategies, and present the relationship between the maintenance period and MMC redundancy.
Based on a literature review, we show the various maintenance tasks for the HVAC and the HVDC components for the HVDC energy export system. Until today, there is no maintenance description for MMCs published. Therefore, the possible maintenance tasks for MMCs are discussed.
To analyze the influence of different design parameters and maintenance strategies on the maintenance-related losses of an HVDC energy export system, a maintenance model was built. The model is based on the previously described maintenance tasks and technical design aspects. In order to perform simulations, an energy time series is needed. Since no long-term energy data from offshore wind farms is available, a fictitious offshore wind farm and the Modern-Era Retrospective analysis for Research and Application (MERRA) dataset were both used to generate the required data [15].
In order to demonstrate the model application, a case study was performed, in which different parameters, such as maintenance period, the number of maintenance staff, and the possibility to shift the maintenance starting time, were varied. Results of different simulation runs are shown and discussed.
The paper is organized as follows: in Section 2, we described a reference HVDC energy export system. The different maintenance tasks for the HVDC energy export system are described in Section 3. The developed model is presented in Section 4. Following in Section 5, the offshore wind farm used in the case study is described. In Section 6, the case study is discussed, and finally, in Section 7, a conclusion of the findings and an outlook for further research are given.

2. Reference HVDC Energy Export System

The HVDC energy export system in this study is designed for a transmission capacity of 1 GW, which is supposed to be a typical size for an offshore wind farm in the near future [2]. Figure 1 shows the typical schematic configuration of an offshore wind farm connected to the grid by means of an HVDC energy export system [5].
The collector system includes the offshore wind farm and the inter-array grid for the wind farm. The HVDC energy export system includes the offshore and the onshore converter, as well as the DC transmission cables. The onshore system only consists of the grounding for the HVDC energy export system and the onshore grid connection point. The offshore and the onshore converters are the main parts of the HVDC energy export system. Figure 2 shows the detailed single line diagram (SLD) of the HVDC energy export system [16].
In Figure 2, the part to the left of the direct current (DC) cable represents the offshore station, and the part to the right represents the onshore station. On the offshore station, the AC yard 1 includes a 66 kV gas-isolated switchgear (GIS) (16 import feeders and two export feeders), that connects the wind farm to the two transformers. The two transformers (T1, T2) are located in the transformer yard, they transform the inter-array wind farm voltage from 66 kV to the transmission voltage of 320 kV. In the AC yard 2, a 320 kV GIS (Q14–Q26) connects the two transformers with the converter. In the converter yard, the MMC (V1, V2) converts the voltage from AC to DC. The DC yard includes the converter-reactors (L11, L21) and the direct current compact switchgear (DCCS) (Q1, Z1, Q2, Z2), which connects the converter to the DC cables.
Two DC subsea cables connect the offshore station and the onshore station. Today’s DC subsea cables require nearly no scheduled maintenance in their planned operating time [17,18,19]. Therefore, the maintenance of the DC subsea cables is not further discussed in the following.
The structure of the onshore station is almost the same as the offshore station. The major difference between the two stations is that in the onshore converter yard, a chopper (V3) is installed. Using a chopper when connecting offshore wind farms with an HVDC energy export system is the most common method to avoid transferring onshore AC faults to the offshore wind farm grid [20,21,22]. Due to the limited available space on the offshore station, the chopper is always installed in the onshore station [16]. The advantage of using a chopper is that the wind farm can continue operating without any interruption in case a fault occurred in the onshore grid [22,23]. Today’s AC grids usually have a high quality of supply. For example, Tennet’s Annual Report states an AC grid availability of 99.9988%, and 17 number of interruptions for the year 2018 [24]. By using the number of interruptions as an indicator to get a sense of how often the chopper is used, we can expect that the onshore grid is in normal operation most of the time; i.e., there is no failure, such as AC three-phase short circuits, in the grid. We therefore conclude that the DC chopper is only used for a small number of times a year, compared to the rest of the HVDC energy export system. On this basis, we assume that the wear and the maintenance work on the chopper are low compared to the MMC maintenance. Therefore, the chopper maintenance is not included in this study, and the following described maintenance tasks for the onshore and offshore stations are the same.

2.1. Converter (VSC Modular Multilevel Converter)

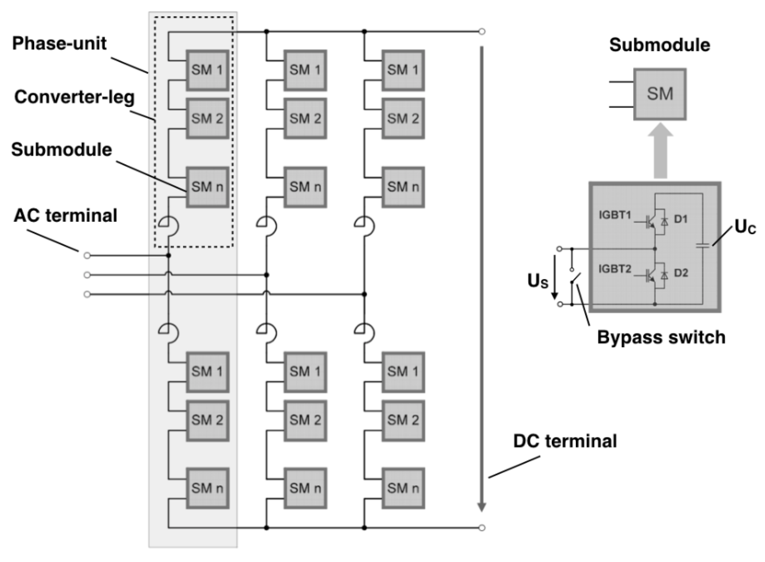
The MMC design consists of three phase-units between the positive and the negative DC terminal. Each phase-unit consists of a positive and a negative converter-leg. Each converter-leg consist of series-connected half bridge submodules (SMs) and a single series connected converter reactor. Each phase-unit is connected to one phase of the AC terminal. Figure 3 shows the MMC structure and the detailed design of the half bridge SM [7,25].
The modular design of the MMC allows the individual adaptation of the converter to the technical requirements, e.g., transmission capacity, DC voltage and maintenance design [7]. The maintenance design is mainly influenced by the number of redundant SMs. To ensure the functionality of the converter over a long period of time (maintenance period), redundant SMs are placed into each converter-leg. Two different operation schemes for SM redundancy are common: passive and active SM redundancy. In the passive operation scheme, the redundant SMs are on standby mode until a failure occurs in a normal SM. Then the faulty SM is bypassed through a bypass switch, and one of the redundant SMs becomes active.
In the active operation scheme, all SMs (redundant SMs and normal SMs) are actively operating in parallel. If a failure occurs, the failed SM will be bypassed automatically [26].
In this study, the active SM redundancy is the scheme used today. It is assumed that the active SM redundancy is the today used scheme, because the control mechanism is simpler, and therefore, it is the more reliable method compared to the passive SM redundancy scheme [27].
In order to calculate the number of redundant SMs, the minimum number of SMs n m i n is required. The minimum number of SMs in one converter-leg results from the SM operation voltage U S M , the DC voltage U d and the AC peak voltage U ^ A C as described in [28]:
n m i n = U d 2 + U ^ A C U S M
The total number of SMs in the converter n C o n results from the sum of the minimum number and the redundant number of SMs n r e d in six converter-legs:
n C o n = 6 ( n m i n + n r e d )
The redundant number of SMs depends on the maintenance period and on the reliability target for the converter. The relationship will be described in detail in Section 2.2. Table 1 shows the technical parameters of the energy export system, as seen in literature (cf. [29,30,31]).

2.2. Converter Reliability

The converter reliability calculation in this study follows the general equation used in the literature (cf. [32]). The equation describes the relative proportion of functioning components to be expected after a given time. Derived from this, the reliability function for one submodule, R S M , is given by (3).
R S M ( t ) = e λ S M t
where t represents the time in hours and λ S M represents the SM hazard rate.
The hazard rate is considered constant over the whole lifetime, thus assuming constant random failures over the lifetime of the converter (cf. [19]). The hazard rate of electrical components is often specified by the failures in time (FIT) value. FIT is the number of failures in one billion hours of operation:
λ S M = F I T S M 10 9
The reliability of the converter can be described with the binomial distribution and k out of n majority redundancy. The k out of n majority redundancy describes the reliability of a system that consists of n components, and that is working only if at least k components in the system are able to operate. The general reliability function of the system is given by (5).
F ( k , t ) = i = 0 k ( n i ) p ( t ) i ( 1 p ( t ) ) n i
where n represents the number of all components in the system, k represents the number of components that is at least needed for operating the system, p ( t ) represents the reliability function of one component, and t represents the time.
The resulting reliability function for one converter leg is given by (6).
R C L ( t ) = i = k n ( n i ) ( R S M ( t ) ) i ( 1 R S M ( t ) ) n i
Here, n represents the total number of all SMs in one leg ( n m i n + n r e d ) , and k represents the redundant SMs per leg ( n r e d ) .
The MMC can only operate if the positive and the negative legs are able to operate. That is represented by a serial configuration, and results in the reliability function for one converter phase, as given in (7).
R C P ( t ) = R p o s _ C L ( t ) R n e g _ C L ( t )
Due to the fact that the converter consists of three phases and operates only when all phases are working, the converter reliability, R C , corresponds to the third power of the reliability of one converter phase, as given by (8).
R C ( t ) = ( R C P ( t ) ) 3
With the parameters from Table 1, the reliability of the converter can be calculated as a function of the number of redundant SMs and the maintenance period. Figure 4 and Figure 5 show this relationship for maintenance periods of one to four years with the resulting number of redundant SM per converter-leg at a reliability target of 99%.
The right ordinate shows the reliability function of the converter depending on the number of redundant SMs. The left ordinate shows the probability of SM failures per converter leg. In addition, a horizontal line represents the reliability barrier/target at 99%.
The dashed vertical line illustrates the resulting number of redundant SMs per converter leg that is needed to ensure the reliability target.
Table 2 summarizes the findings from Figure 4 and Figure 5. It displays the minimum required numbers of SMs for the operation, the required redundant SMs, and the sum of two, for the different maintenance periods. It can be concluded that the number of SMs for longer maintenance periods does not rise linearly. For a maintenance period of one year, 60 redundant SMs are needed. For two years, 96 SMs are needed. That results in an increase of 2.42% in the overall number of SMs. For an extension of the maintenance period to three years, 132 redundant SMs are needed (an increase of 2.36% in comparison to two years’ maintenance). For the four years’ maintenance period, 162 SMs are needed (an increase of 1.92% in comparison to three years’ maintenance).
It turns out that four-year maintenance periods do not require four times more redundancy than do one-year maintenance periods. This means that there must be an optimum number of redundant SMs, when comparing the total costs (capital costs) associated with additional SMs with the total maintenance costs (operational costs).

3. Maintenance

In order to ensure the reliable operation of electrical components, they must be maintained in specified periods [32,33,34]. In this work, the transmission system is divided into different maintenance areas. Figure 2 indicates the different electrical components, and the different maintenance areas of the stations marked with a dash-dotted lines. If one of the components has to be maintained, the component must be taken out of service. This implies that during this time, no energy can be transferred.
In relation to the HVDC energy transmission system, this means that if one component needs to be maintained, and there is no redundant component (cp. transformer yard), the whole transmission system has to be taken out of service for the maintenance time. Table 3 gives an overview of the available transmission capacity in case of a maintenance in the different maintenance areas.
In order to analyze the influence of the individual maintenance tasks on the overall system, all relevant maintenance tasks were evaluated. Table 4 shows an overview of all maintenance tasks, intervals, duration, and the assumed number of maintenance staff for the different maintenance works in the different maintenance areas.

3.1. MMC Maintenance

For maintenance work on MMCs, there are no reliable sources available. For this reason, assumptions must be made in this study for maintenance work in the converter yard.
The converter yard contains six converter legs, as shown in Figure 3. During operation, the converter hall cannot be entered. Therefore, a certain preparation and follow-up time must be scheduled for the maintenance of the converter. The SMs are installed in towers, as described in [16]. The primary maintenance task at the converter is assumed to be the replacement of defective SMs. The exchange of defective SMs is carried out by maintenance teams consisting of two persons. For the replacement of the SM, a working time of three hours is assumed for a maintenance team. Table 5 shows the used maintenance parameters for the converter yard.
To calculate the maintenance duration for the converter yard, it is necessary to know the number of defective SMs at the maintenance time. This can be determined via the general probability function, used in the literature for electrical components (cf. [32]), that a component (SM) has become faulty up to a certain time:
E S M ( t ) = p ( t )   n C o n = ( 1 e λ S M t )   n C o n
where the expected value of exchanged SMs E S M (i.e., defective) is calculated with t the maintenance period, n C o n the total number of SMs in the converter, and λ S M represents the SM hazard rate as FIT value given in Table 1.
Table 6 shows the resulting numbers of defective SMs (rounded up) by performing the probability function (9), using values as defined in Table 1 for the various maintenance periods.
It can be noticed that the relation between the expected number of defective SMs and the maintenance period is almost linear, although equation (9) contains a nonlinear part. After a two-year maintenance period, there are nearly two times more defective SMs than with one-year maintenance periods.
For calculating the maintenance time, the working time per day and the number of maintenance staff must be taken into account. Table 4 shows the chosen maintenance staff for different maintenance areas.
For the calculation, a 12 h working time per day is assumed, and no shift work is scheduled. This means that within one day (24 h), up to 12 h of maintenance work can be performed. Figure 6 indicates the maintenance time for different maintenance areas over different maintenance periods, and different numbers of maintenance staff in the converter yard. In Figure 6a, the x-axis represents the different maintenance periods for the HVDC energy export system, and the y-axis shows the maintenance time in a logarithmic scale. In Figure 6b, the maintenance time is plotted over different numbers of maintenance staff in the converter yard at a maintenance period of two years. The x-axis represents the number of maintenance staff in the converter yard, and the y-axis shows the maintenance time in logarithmic scale.
In Figure 6a, it can be seen that the maintenance time for the converter yard grows by 93% if the maintenance period is increased from one year to two years. The maintenance time for the converter yard is reduced by 53% if the number of maintenance staff is increased from two to four for a two-years maintenance period, as shown in Figure 6b. It should be noted that the maintenance areas have different maintenance periods. For example, the AC yard only has to be maintained once every 25 years. This means that this area has less impact on maintenance-related losses in comparison to the transformer yard, which has a maintenance period of one year.
In conclusion, there should be an optimum for the number of maintenance staff in the different maintenance areas and the maintenance period, compared to the direct maintenance costs and the indirect maintenance costs.

3.2. Maintenance Date and Time Point

As shown in Figure 6 and explained in Section 3.1. (MMC Maintenance), the maintenance of an HVDC energy export system is associated with high personnel expenditure. Therefore, the maintenance date must be planned long-term in advance. For the planning of the maintenance date, it is essential to choose a time at which a low energy yield of the wind farm is expected. This date results from the distribution of wind speeds over the year.
At the wind measurement station FINO 1 in the north sea, the mean wind speed in June and July is 1.5 m/s below the mean annual wind speed of 10.0 m/s [44]. From this it can be deduced that a lower feed-in power can be expected in summer than in winter. For this reason, maintenance of the HVDC energy export system always takes place in the summer months of June and July [8].

3.3. Maintenance Assumtion and Model Simplifications

Some simplifications and assumptions are considered in this study, including station accessibility, individual maintenance costs and maintenance tasks on MMCs.
For offshore energy export systems, the accessibility of the two stations (onshore and offshore) is different, since the accessibility of the offshore station depends on weather conditions, such as wave height, visibility range, weather window and the availability of different ships or helicopters [12]. In our study we focused on the dependency of MMC design aspects on the maintenance-related losses. Therefore, we excluded the exact analysis of the accessibility aspect.
It is important to precisely quantify the different cost positions (staff, material or transportation costs) when analyzing maintenance for offshore wind farms. Usually, it is very challenging to quantify the costs of individual positions; hence, it is difficult to investigate their influence on each other. For example, the exact value for staff salaries or transportation costs are not available in the literature [12]. Therefore, we decided to focus on the missing energy yield. This represents only one specific maintenance cost factor, but it allows us to have a sense of how the missing energy export could behave regarding different design variations. To better understand the relation between the direct and indirect costs, a maintenance cost example was introduced in the end of Section 6.
As mentioned in Section 3.1. (MMC Maintenance), no reliable sources for maintenance tasks on MMC are available. For this reason, assumptions must be made for the maintenance tasks and durations.
Due to these assumptions and simplifications, the results of the study are considered optimistic in terms of the maintenance-related losses.

4. Model Description

The developed model, which can be seen in Figure 7, is separated into three main sections: First the data input, second the model itself, and third the data output.
The data input is represented by the specific technical parameters for the HVDC energy export system (see Table 1, Table 2 and Table 3) and a time series of energy yield data E y i e l d ( i ) for an offshore wind farm. The time series has a one-day resolution, where i represents a specific day in the total operating time. Instead of one representative year, we use yield data over the total expected operating time. For the case study described in Section 6 for example, we apply past weather data from 1980 until 2010 to represent a 30 year long operating period of the energy export system.
The implemented model consists out of three sub models; the energy yield forecast model, the maintenance model, and the energy transmission model. The energy forecast model provides energy yield forecasts for different time horizons (up to ten days). It is assumed that a perfect energy yield forecast exists without any forecast error, which entails the highest savings potential for an optimized maintenance time.
The duration and periods of maintenance for the different maintenance areas are calculated within the maintenance model. All maintenance intervals of the different maintenance areas (see Table 4) are matched to the chosen maintenance period of the HVDC energy export system. Therefore, the maintenance model uses the system specific input parameters and the maintenance properties. In combination with the energy yield forecast, it optimizes the starting time of the maintenance in order to minimize the losses per maintenance. Figure 8 shows one example of how the optimized maintenance is performed based on the energy yield forecast.
The maintenance model then creates a Boolean matrix β ( i ) , indicating whether any maintenance is required, or not, for each single day in the lifetime of the HVDC energy export system. This matrix is then imported by the energy transmission model.
The energy transmission model calculates, based on the original energy yield time series E y i e l d ( i ) , for every day, the losses that are caused by maintenance. The resulting maintenance-related losses for the life time of the HVDC energy export system E t o t a l   l o s s e s   is given by (10).
E t o t a l   l o s s e s   = i = 1 10950 E y i e l d ( i ) β ( i )
The model developed here can map maintenance work up to a resolution of a quarter of a day. For analyzing and optimizing, the following three input parameters can be varied in order to reduce the maintenance-related losses: Maintenance period of the HVDC energy export system, number of maintenance staff and maintenance start day in combination with the energy yield forecast.
The model was implemented by using the software environment MATLAB 2016b from MathWorks [45]. The code and data for the model is freely available online [46].

5. Offshore Wind Farm

In the case study, a fictious offshore wind farm is assumed. The offshore wind farm, with a total capacity of 1 GW, consists of 125 wind turbines, and is located in the Eastern part of the North Sea. The center of the wind farm is at N 54° 56′ 22.4736 E 6° 56′ 44.3724 in the UTM (Universal Transverse Mercator) system.
The basis for the assumed wind conditions at the wind farm site are the Modern Era Retrospective-analysis for Research and Application (MERRA) data of the National Aeronautics and Space Administration (NASA). Various publications, such as [47] and [48], show that the MERRA data is a good basis for generating energy yield forecasts for offshore and onshore wind farm projects. In order to be able to capture the annual yield variations of the offshore wind farm, wind speed data from the period 1980 to 2016 is used as an operation period in this study. In the assumed operation period, the mean wind speed at the site is 8.5 m/s from April to September and from October to March is 11.3 m/s at a height of 103 m. The main wind direction at the wind farm site is West to Southwest.
The assumed wind turbine “W8000” has a rated power of 8 MW. The technical data of the system is listed in Table 7. The wind turbines are set up in a cluster with a distance of 1000 m to the North and 1000 m to the East. By application of Pythagoras’ Theorem, this results in a distance of 1414.21 m between two wind turbines in the Southwest direction (main wind direction). That corresponds to nine times the rotor diameter, and is a common distance between offshore wind turbines in a park layout [49].
The energy yield time series for the wind farm is created with the Wind Atlas Analysis and Application Program (WAsP) [50]. Daily energy yield values were generated in the reference period from 1980 to 2016. The internal wake effects were considered with the FLaP wake model, and were taken into account when calculating energy yield [51]. The wake effects of any of the surrounding wind farms were not considered.
The availability of a wind farm as described in [52] depends on many factors, such as the maintenance concept or the location. It describes the period during which a wind turbine or an entire wind farm is ready for operation. Nowadays, the usual availability for offshore wind farms ranges between 75% and 95% [52].
Based on the greater experience of operators, we expect the availability of offshore wind farms to further increase in the upcoming years. Therefore the assumed availability of the offshore wind farm in this study is 93%.
The potential gross energy yield of the wind farm calculated with the yield forecast described here, is transferred to the overall model described in Section 4. Since wind farms are usually built and commissioned in the summer months, the operating period, and thus the yield period, is selected as 01.06.1980 to 31.05.2010. Figure 9 indicates the mean energy yield produced by the wind farm under consideration of the availability of the wind farm in the period of 1980 to 2010.

6. Case Study Discussion

The model described in Section 4 and the described wind farm in Section 5 is used to analyze the possibilities of reducing the maintenance-related losses of an HVDC energy export system. The resulting energy yield forecast dataset described in Section 5 is used as the energy yield input parameter. This dataset is used, because so far, no energy yield time series for an offshore wind farm over longer periods is available.
Three different parameter variations were tested to reduce the maintenance-related losses. Table 8 gives an overview of the case study parameters and the parameters to be changed in the different variations.

6.1. Maintenance Period

In the first scenario, the maintenance period of the HVDC energy export system is varied from the one year maintenance period up to the four year maintenance period. The number of maintenance staff members in the converter yard is set to two persons. The possible maintenance shift is set to 0 days. Therefore, the shift of the maintenance is not possible/allowed.
Figure 10 represents the results of the model calculation. It can be seen that the variation of the maintenance period from one year to four years influences the maintenance-related losses.
The x-axis shows the different maintenance periods, and the y-axis represents the maintenance-related losses. The blue bars show the maintenance-related losses over the total operation time. The result does not show a clear reduction in maintenance-related losses by only increasing the maintenance period from one year up to four years. One reason for this is that an extension of the maintenance period does not lead to a significant reduction of the maintenance time (see Figure 6a). Since maintenance always takes place in the same days of the year, it can also happen that maintenance takes place in days when the wind farm would otherwise have a high energy yield. Therefore, the maintenance-related losses can also be higher for the two year maintenance period case than for the one year maintenance period case.

6.2. Maintenace Staff

In the second scenario, the maintenance staff in the converter yard is varied from 2 to 10 persons. The maintenance period of the HVDC energy export system is set to a two-year maintenance period. Maintenance shift is set to 0 days. (i.e., no maintenance shift is not possible/allowed). The scenario with two staff members was considered the baseline case for all following calculations.
Figure 11 shows the result of the model calculation. It can be seen that the variation of the maintenance staff is reducing the maintenance-related losses.
The x-axis shows the different number of maintenance staff in the converter yard, and the y-axis represents the maintenance-related losses over the total operation time. It is noticeable that with the first doubling of the maintenance staff, maintenance-related losses can be reduced by 44.5 % (about 600 GWh maintenance-related losses were avoided). Further adding of maintenance staff only leads to a slight reduction 32% of losses (e.g., about 200 GWh could be saved by increasing staff from 4 to 6). The magnitude of the maintenance-related losses indicates that it might be profitable to carry out the maintenance with four or more people.

6.3. Maintenance Start Day

In the third scenario, the possibility to shift the maintenance start day is added. The model can now postpone the maintenance start day from 1 day up to 10 days to reduce the maintenance-related losses. Figure 12 shows the results of the second and third scenario in relation to each other.
The x-axis shows different possibilities to shift the maintenance start day, and the y-axis represents the maintenance-related losses over the total operation time. The five differently colored lines represent the different numbers of maintenance staff in the converter yard.
It can be seen that the maintenance-related losses can be reduced significantly only if there is a shift margin of three days or more (up to around 50 GWh for the case of two maintenance technicians). It can also be seen that with the increasing margin to postpone the maintenance, the losses decrease. This can be explained by the fact that the model shifts the maintenance to a period in which the energy yield of the wind farm is low. The calculated maintenance-related losses should not be understood as an ultimate value, but it allows wind farm developers to get an idea of how the possibility to shift the maintenance could be profitable with respect to the losses.
The range of avoided losses indicates that it could be profitable to hire the maintenance staff for a longer period of time (multiple days). Within this period the choice of maintenance start day is optimized to minimize the maintenance-related losses.
With regard to the increase in maintenance staff, it can be seen that the curve flattens out with increasing maintenance staff. This means that postponing maintenance with increasing maintenance staff will have less effect upon maintenance-related losses.

6.4. Maintenance Costs Calculation

Based on the modeled maintenance-related losses, we calculated the maintenance-related cost change for the two parameters: the maintenance start day and the number of maintenance staff. The maintenance staff costs for the converter yard were calculated based on the modeled maintenance time for the converter yard and the maintenance staff cost parameter in Table 8, which can be seen in Figure 13a. The maintenance-related cost change was calculated by combining the direct maintenance costs (staff costs) and the indirect maintenance costs (lost remuneration), as seen in Figure 13b.
In Figure 13a,b the x-axis shows different possibilities to shift the maintenance start day. The y-axis in Figure 13a represents the maintenance staff costs for the converter yard over the total operation time. In Figure 13b the y-axis represents the maintenance-related cost change over the total operation time. The five differently-colored lines represents the different number of maintenance staff in the converter yard.
With the first doubling of the maintenance staff, the maintenance related cost can be reduced by around 44%. Additionally, it can be seen that the maintenance-related costs can be reduced by around 10%, only if there is a shift margin of six days (for the case of two maintenance technicians). It can be also seen that with an increasing margin to postpone the maintenance, the savings can be increased up to 19% (for the case of two maintenance technicians). This can be explained by the fact that the additional costs for maintenance staff are two orders of magnitude lower than the revenue losses. The range of maintenance-related cost change shows that it will be profitable to hire the maintenance staff for a longer period of time (multiple days). Within this period the choice of maintenance start day can be then optimized to minimize the maintenance-related losses, which further confirms what was concluded from Figure 12.

7. Conclusions

In this paper, we applied a bottom-up approach to analyze the maintenance-related losses for an HVDC energy export system. A maintenance model was introduced for identifying the most significant factors affecting the maintenance-related losses.
In a case study, the model was used to analyze the potential to reduce maintenance-related losses for a 1 GW offshore wind farm. Three main factors were analyzed that influence the maintenance-related losses: duration of the maintenance period, the number of maintenance staff and the shift of the maintenance. In addition, we performed a maintenance cost example to better understand the relation between the direct and indirect maintenance costs of an HVDC energy export system.
It was found that changing the length of the maintenance period has less impact on the losses than the other two factors.
Regarding the number of maintenance staff, it is noticeable that with the first doubling of the maintenance staff with respect to the baseline case, maintenance-related losses and maintenance-related cost changes can be almost halved. Further adding of maintenance staff only leads to a slight reduction of losses.
With regard to the possibility to shift the maintenance date into times with a lower energy yield from the wind farm, it was shown that the maintenance-related losses can be reduced only if the shift margin is at least three days. With increasing the margin to postpone the maintenance up to 10 days, the maintenance-related cost change decreases down to 19%. By combining the increase of maintenance staff with the shift of maintenance time, it was shown that the curve of maintenance-related losses flattens out with increasing maintenance staff. This means that postponing maintenance with increasing maintenance staff will have less effect on maintenance-related losses and costs. It was also noticed that the staff costs for the converter yard had a small effect on the maintenance-related cost change compared to the maintenance-related losses, due to the difference in the order of magnitude between the direct and indirect costs of maintenance in the converter yard.
We have shown that optimizing the maintenance of an HVDC energy export system can decrease the maintenance-related losses for an offshore wind farm to almost one half with respect to the baseline case.
It was also shown that there is an optimum number of redundant SMs in relation to the maintenance period when comparing the total costs associated with additional SMs (increasing maintenance period) with the total maintenance costs.
In future work, industry data could lead to a more accurate model result. In addition, a detailed analysis of maintenance costs, such as traveling costs and costs for maintenance staff, could also be carried out.

Author Contributions

All authors contributed to the design of the research. J.U. performed the simulations and took the lead in the analysis of the results and in writing the manuscript. All authors have read and agreed to the published version of the manuscript.

Funding

The article processing charge was funded by the German Research Foundation (DFG) and the University of Freiburg in the funding program Open Access Publishing.

Acknowledgments

We thank Mirko Schäfer and Ramiz Qussous for fruitful discussions as well as the team of Overspeed GmbH and CO. KG for supporting the work.

Conflicts of Interest

The authors declare no conflict of interest.

Nomenclature

ParameterDescription
n m i n Minimum number of SMs per converter-leg
n r e d Redundant number of SMs per converter-leg
n C o n Total number of SMs in the converter
U S M SM operation voltage
U d DC voltage
U ^ A C AC peak voltage
R S M Reliability for one submodule
R C L Reliability for one converter-leg
R p o s _ C L Reliability for positive converter-leg
R n e g _ C L Reliability for negative converter-leg
R C P Reliability for one converter phase
R C Reliability for the converter
t Time in hours
λ S M SM hazard rate
F I T S M SM failures in time
F ( k , t ) Reliability function
n Number of all component in a system
k Number of components that is needed for operating a system
E S M Expected number of defective SMs
i Time in days
β ( i ) Maintenance matrix
P T r a n s f . Transformer power rating
P H V D C   S y s t e m Power rating
E y i e l d ( i ) Energy yield from wind farm
E t o t a l   l o s s e s   Maintenance-related losses

References

  1. McAuliffe, F.D.; Murphy, J.; Lynch, K.; Desmond, C.; Norbeck, J.A.; Nonås, L.M.; Attari, Y.; Doherty, P.; Sorensen, J.D.; Giebhardt, J.; et al. Driving cost reductions in offshore wind--the LEANWIND project final publication. LEANWIND Proj. 2017, 72. [Google Scholar]
  2. Wind Europe. Offshore Wind in Europe-Key Trends and Statistics 2018; Wind Europe: Brussels, Belgium, 2019. [Google Scholar]
  3. Wind Europe. Offshore Wind in Europe-Key Trends and Statistics 2017; Wind Europe: Brussels, Belgium, 2018. [Google Scholar]
  4. International Energy Agency (IEA). Offshore Wind Outlook 2019: World Energy Outlook Special Report; International Energy Agency: Paris, France, 2019. [Google Scholar]
  5. Fichtner, GGSC. Beschleunigungs- und Kostensenkungspotenziale bei HGÜ-Offshore-Netzanbindungsprojekten – Langfassung; Fichtner, GGSC: Stuttgart, Germany, 2016. [Google Scholar]
  6. Ackermann, T. Wind Power in Power Systems, 2nd ed.; John Wiley & Sons, Ltd.: Hoboken, NJ, USA, 2012; ISBN 9780470974162. [Google Scholar]
  7. Friedrich, K. Modern HVDC PLUS application of VSC in Modular Multilevel Converter topology. In Proceedings of the IEEE International Symposium on Industrial Electronics, Bari, Italy, 4–7 July 2010; pp. 3807–3810. [Google Scholar]
  8. TenneT. Marktrelevante Informationen-Offshore. Available online: https://www.tennet.eu/de/strommarkt/transparenz/transparenz-deutschland/berichte-marktrelevante-informationen/marktrelevante-informationen/marktrelevante-informationen-offshore/ (accessed on 7 December 2019).
  9. Dinwoodie, I.A.; McMillan, D. Operational strategies for offshore wind turbines to mitigate failure rate uncertainty on operational costs and revenue. IET Renew. Power Gener. 2014, 8, 359–366. [Google Scholar] [CrossRef]
  10. Lakshmanan, P.; Liang, J.; Jenkins, N. Assessment of collection systems for HVDC connected offshore wind farms. Electr. Power Syst. Res. 2015, 129, 75–82. [Google Scholar] [CrossRef]
  11. Martin, R.; Lazakis, I.; Barbouchi, S.; Johanning, L. Sensitivity analysis of offshore wind farm operation and maintenance cost and availability. Renew. Energy 2016, 85, 1226–1236. [Google Scholar] [CrossRef]
  12. Seyr, H.; Muskulus, M. Decision Support Models for Operations and Maintenance for Offshore Wind Farms: A Review. Appl. Sci. 2019, 9, 278. [Google Scholar] [CrossRef]
  13. Dalgic, Y.; Lazakis, I.; Dinwoodie, I.; McMillan, D.; Revie, M. Advanced logistics planning for offshore wind farm operation and maintenance activities. Ocean Eng. 2015, 101, 211–226. [Google Scholar] [CrossRef]
  14. Gul, M.; Tai, N.; Huang, W.; Nadeem, M.H.; Ahmad, M.; Yu, M. Technical and economic assessment of VSC-HVDC transmission model: A case study of South-Western region in Pakistan. Electron. 2019, 8, 1305. [Google Scholar] [CrossRef]
  15. Rienecker, M.M.; Suarez, M.J.; Gelaro, R.; Todling, R.; Bacmeister, J.; Liu, E.; Bosilovich, M.G.; Schubert, S.D.; Takacs, L.; Kim, G.K.; et al. MERRA: NASA’s modern-era retrospective analysis for research and applications. J. Clim. 2011, 24, 3624–3648. [Google Scholar] [CrossRef]
  16. Hussennether, V.; Rittiger, J.; Barth, A.; Worthington, D.; Dell’Anna, G.; Rapetti, M.; Hhnerbein, B.; Siebert, M. Projects BorWin2 and HelWin1–large scale multilevel voltage-sourced converter technology for bundling of offshore windpower. Proc. CIGRE Sess. Paris Fr. 2012, 4, 306. [Google Scholar]
  17. Nexan. Submarine Power Cables; Nexan: Hannover, Germany, 2013. [Google Scholar]
  18. Colla, L.; Lombardo, L.V.; Kuljaka, N.; Zaccone, E. Submarine projects in the Mediterranean Sea. Technology developments and future challenges. In Proceedings of the 1st South East European Regional CIGRÉ Conference, Portoroz, Slovenia, 7–8 June 2016; pp. 1–12. [Google Scholar]
  19. Europacable. An Introduction to High Voltage Direct Current (HVDC) Subsea Cables Systems; Europacable: Brussels, Belgium, 2011. [Google Scholar]
  20. Van der Meer, A.A.; Hendriks, R.L.; Kling, W.L. A survey of fast power reduction methods for VSC connected wind power plants consisting of different turbine types. In EPE Wind Energy chapter 2nd seminar; Stockholm, Sweden, 2009; pp. 23–24. [Google Scholar]
  21. Chaudhary, S.K.; Teodorescu, R.; Rodriguez, P.; Kjær, P.C. Chopper Controlled Resistors in VSC-HVDC Transmission for WPP with Full-scale Converters. In Proceedings of the 2009 IEEE PES/IAS Conference on Sustainable Alternative Energy (SAE), Valencia, Spain, 28–30 September 2009; pp. 1–8. [Google Scholar]
  22. Nentwig, C.; Haubrock, J.; Renner, R.H.; Van Hertem, D. Application of DC choppers in HVDC grids. In Proceedings of the 2016 IEEE International Energy Conference (ENERGYCON), Leuven, Belgium, 4–8 April 2016. [Google Scholar]
  23. Feltes, C.; Wrede, H.; Koch, F.W.; Erlich, I. Enhanced fault ride-through method for wind farms connected to the grid through VSC-based HVDC transmission. IEEE Trans. Power Syst. 2009, 24, 1537–1546. [Google Scholar] [CrossRef]
  24. TenneT. Integrated Annual Report 2018; Tennet Holding B.V; TenneT: Arnhem, The Netherlands, 2019. [Google Scholar]
  25. Lesnicar, A.; Marquardt, R. A new modular voltage source inverter topology. In Proceedings of the 10th European Conference on Power Electronics and Applications; IEEE: Toulouse, France, 2003; pp. 1–10. [Google Scholar]
  26. Konstantinou, G.; Pou, J.; Member, S.; Ceballos, S.; Agelidis, V.G.; Member, S. Active Redundant Submodule Configuration in Modular Multilevel Converters. IEEE Trans. Power Deliv. 2013, 28, 2333–2341. [Google Scholar] [CrossRef]
  27. Wylie, J.; Merlin, M.C.; Green, T.C. Analysis of the effects from constant random and wear-out failures of sub-modules within a modular multi-level converter with varying maintenance periods. In Proceedings of the 2017 19th European Conference on Power Electronics and Applications (EPE’17 ECCE Europe), Warsaw, Poland, 11–14 September 2017. [Google Scholar]
  28. Guo, J.; Liang, J.; Zhang, X.; Judge, P.; Wang, X.; Green, T. Reliability Analysis of MMCs Considering Sub-module Designs with Individual or Series Operated IGBTs. IEEE Trans. Power Deliv. 2016, 32, 666–677. [Google Scholar] [CrossRef]
  29. Peralta, J.; Saad, H.; Dennetière, S.; Mahseredjian, J.; Nguefeu, S. Detailed and averaged models for a 401-level MMC–HVDC system. IEEE Trans. Power Deliv. 2012, 27, 1501–1508. [Google Scholar] [CrossRef]
  30. Bauer, J.G.; Wissen, M.; Gutt, T.; Biermann, J.; Schäffer, C.; Schmidt, G.; Pfirsch, F. New 4.5 kV IGBT and Diode Chip Set for HVDC Transmission Applications. PCIM Eur. 2014, 20–22. [Google Scholar]
  31. Siemens. Fact Sheet SylWin1 HVDC Platform 2015. Available online: https://assets.new.siemens.com/siemens/assets/api/uuid:0065b6c7-7e4c-47e7-8c19-7cb754aa395c/factsheet-sylwin1-e.pdf (accessed on 7 December 2019).
  32. Eberlin, S.; Hock, B. Zuverlässigkeit Und Verfügbarkeit Technischer Systeme: Eine Einführung in Die Praxis; Springer: Wiesbaden, Deutschland, 2014; ISBN 3658035730. [Google Scholar]
  33. DIN 31051 DIN 31051: September 2012, Grundlagen der Instandhaltung 2012.
  34. Ryll, F.; Freund, C. Grundlagen der Instandhaltung. In Instandhaltung Technischer Systeme; Springer: Berlin, Heidelberg, 2010. [Google Scholar]
  35. Siemens. Maintenance of Siemens GIS 8D 1st to 4th generation; Siemens A.G.: Nuremberg, Germany, 2016. [Google Scholar]
  36. Coccioni, R. Instandhaltung von Mittelspannungs-schaltanlagen gestern und heute. e&i Elektrotechnik und Informationstechnik 1998, 115, 559–565. [Google Scholar]
  37. Shen, B.; Jiang, S.; Li, Z.; Li, G. Analysis and Treatment of Typical Problems of GIS Circuit Breaker Switching Station Installation and. Am. J. Water Sci. Eng. 2018, 4, 97–100. [Google Scholar]
  38. Rajotte, C. Guide for Transformer Maintenance; CIGRE: Paris, France, 2011; ISBN 978-2-85873-134-3. [Google Scholar]
  39. Jirutitijaroen, P.; Singh, C. The effect of transformer maintenance parameters on reliability and cost: A probabilistic model. Electr. Power Syst. Res. 2004, 72, 213–224. [Google Scholar] [CrossRef]
  40. Liang, Z.; Parlikad, A. A Markovian model for power transformer maintenance. Int. J. Electr. Power Energy Syst. 2018, 99, 175–182. [Google Scholar] [CrossRef]
  41. TRENCH. Coil Products; Trench Group: Scarborough, ON, Canada, 2016. [Google Scholar]
  42. Tenzer, M.; Koch, H.; Imamovic, D. Compact Systems for High Voltage Direct Current Transmission. In International ETG Congress; VDE: Bonn, Germany, 2015; pp. 1–6. [Google Scholar]
  43. HSP. HVDC Wall Bushing Mounting-Operating-and Maintenance-Instructions; HSP Hochspannungsgeräte GmbH: Troisdorf, Germany, 2015. [Google Scholar]
  44. Kühn, B.; Callies, F.; Füller, A.L.; Lyding, R. Windenergie Report Deutschland 2010; Fraunhofer IWES: Kassel, Germany, 2010. [Google Scholar]
  45. The MathWorks Inc. MATLAB Version 9.1 (R2016b); The MathWorks Inc.: Natick, MA, USA, 2016. [Google Scholar]
  46. Unnewehr, J.F. Data for “Reducing operational costs of offshore HVDC energy export systems through optimized maintenance.”. Zenodo 2019. [Google Scholar] [CrossRef]
  47. Olauson, J.; Bergkvist, M. Modelling the Swedish wind power production using MERRA reanalysis data. Renew. Energy 2015, 76, 717–725. [Google Scholar] [CrossRef]
  48. Carvalho, D.; Rocha, A.; Gómez-Gesteira, M.; Santos, C.S. WRF wind simulation and wind energy production estimates forced by different reanalyses: Comparison with observed data for Portugal. Appl. Energy 2014, 117, 116–126. [Google Scholar] [CrossRef]
  49. Manwell, J.F.; McGowan, J.G.; Rogers, A.L. Wind Energy Explained: Theory, Design and Application; Wiley: Hoboke, NJ, USA, 2009; ISBN 9780470015001. [Google Scholar]
  50. Mortensen, N.G.; Heathfield, D.N.; Rathmann, O.; Nielsen, M. Wind Atlas Analysis and Application Program: WAsP 10 Help Facility; Roskilde: DTU Wind Energy, 2011. [Google Scholar]
  51. Lange, B.; Waldl, H.; Guerrero, A.G.; Heinemann, D.; Barthelmie, R.J. Modelling of offshore wind turbine wakes with the wind farm program FLaP. Wind Energy 2003, 6, 87–104. [Google Scholar] [CrossRef]
  52. Janssen, K.; Faulstich, S.; Hahn, B.; Hirsch, J.; Neuschäfer, M.; Pfaffel, S.; Rohrig, K.; Sack, A.; Schuldt, L.; Stark, E. Windenergie Report Deutschland 2014; Fraunhofer IWES: Kassel, Germany, 2015. [Google Scholar]
  53. Chrischilles, E. EEG 2017: Eine Kostenabschätzung, Mögliche Entwicklungen der Förderkosten bis 2020 und 2025; Institut der Deutschen Wirtschaft Köln: Köln, Germany, 2017. [Google Scholar]
  54. Maples, B.; Saur, G.; Hand, M.; van de Pietermen, R.; Obdam, T. Installation, Operation, and Maintenance Strategies to Reduce the Cost of Offshore Wind Energy; National Renewable Energy Lab.: Golden, CO, USA, 2013. [Google Scholar]
Figure 1. Schematic configuration of the offshore wind farm and the high-voltage direct current (HVDC) energy export system.
Figure 1. Schematic configuration of the offshore wind farm and the high-voltage direct current (HVDC) energy export system.
Energies 13 01146 g001
Figure 2. Single line diagram (SLD) of the HVDC energy export system and maintenance areas for the onshore and offshore station.
Figure 2. Single line diagram (SLD) of the HVDC energy export system and maintenance areas for the onshore and offshore station.
Energies 13 01146 g002
Figure 3. Schematic configuration of the three phase modular multilevel converter (MMC) and structure of the half bridge submodule (SM).
Figure 3. Schematic configuration of the three phase modular multilevel converter (MMC) and structure of the half bridge submodule (SM).
Energies 13 01146 g003
Figure 4. Converter reliability and probability of SM failure over the number of redundant SM after one and two year maintenance period.
Figure 4. Converter reliability and probability of SM failure over the number of redundant SM after one and two year maintenance period.
Energies 13 01146 g004
Figure 5. Converter reliability and probability of SM failure over the number of redundant SMs after the three and four year maintenance period.
Figure 5. Converter reliability and probability of SM failure over the number of redundant SMs after the three and four year maintenance period.
Energies 13 01146 g005
Figure 6. Maintenance time (a) for the different maintenance areas of the HVDC system over different maintenance periods and (b) for a two-year maintenance period over different number of maintenance staff in the converter yard.
Figure 6. Maintenance time (a) for the different maintenance areas of the HVDC system over different maintenance periods and (b) for a two-year maintenance period over different number of maintenance staff in the converter yard.
Energies 13 01146 g006
Figure 7. The overall model.
Figure 7. The overall model.
Energies 13 01146 g007
Figure 8. Possible maintenance shift from 0 to 4 days.
Figure 8. Possible maintenance shift from 0 to 4 days.
Energies 13 01146 g008
Figure 9. Monthly energy yields of the offshore wind farm as average value over the years 1980 to 2010.
Figure 9. Monthly energy yields of the offshore wind farm as average value over the years 1980 to 2010.
Energies 13 01146 g009
Figure 10. Maintenance-related losses for the total operation time of the HVDC system over different maintenance periods.
Figure 10. Maintenance-related losses for the total operation time of the HVDC system over different maintenance periods.
Energies 13 01146 g010
Figure 11. Maintenance-related losses for the total operation time of the HVDC system over different number of maintenance staff in the converter yard.
Figure 11. Maintenance-related losses for the total operation time of the HVDC system over different number of maintenance staff in the converter yard.
Energies 13 01146 g011
Figure 12. Maintenance-related losses for the total operation time of the HVDC system over possible maintenance shift for different number of maintenance staff in the converter-yard.
Figure 12. Maintenance-related losses for the total operation time of the HVDC system over possible maintenance shift for different number of maintenance staff in the converter-yard.
Energies 13 01146 g012
Figure 13. Maintenance staff costs (a) and maintenance-related costs change (b) for the total operation time of the HVDC system over possible maintenance shift for different number of maintenance staff in the converter-yard.
Figure 13. Maintenance staff costs (a) and maintenance-related costs change (b) for the total operation time of the HVDC system over possible maintenance shift for different number of maintenance staff in the converter-yard.
Energies 13 01146 g013
Table 1. Energy export system technical parameters.
Table 1. Energy export system technical parameters.
ParameterValue
Power rating ( P H V D C   S y s t e m )1000 MW
DC voltage ( U d )± 320 kV
AC peak voltage ( U ^ A C )320 kV
SM operation voltage ( U S M )2.7 kV
Submodule FIT ( F I T S M )1700
Minimum number of SM per converter-leg ( n m i n )238
Number of transformers2
Transformer power rating ( P T r a n s f . )600 MW
Table 2. Number of redundant SMs for different maintenance periods.
Table 2. Number of redundant SMs for different maintenance periods.
ParameterMaintenance Periods [a]
1234
Minimum SM1428142814281428
Redundant SM6096132162
Increase of redundant SM-60%37.5%22.73%
All SM1488152415601590
Increase of all SM-2.42%2.36%1.92%
Table 3. Transmission capacity during maintenance for different maintenance areas.
Table 3. Transmission capacity during maintenance for different maintenance areas.
Maintenance AreaTransmission Capacity
AC yard 10 MW
Transformer yard600 MW
AC yard 20 MW
Converter yard0 MW
DC yard0 MW
Table 4. Maintenance work and duration for different maintenance areas.
Table 4. Maintenance work and duration for different maintenance areas.
ParameterMaintenance Area
AC Yard 1Transf. YardAC Yard 2DC Yard
Interval [a]251255
Maintenance workcheck insulating parts, cleaning electrical contactsoil test, cooling system check, isolation testcheck insulating parts, cleaning electrical contactscheck insulating parts, cleaning electrical contacts
Man-hour maintenance duration [h]14448167
Number of maintenance staff2221
Sources[35,36,37][38,39,40][35,36,37][41,42,43]
Table 5. Maintenance parameters for the converter yard.
Table 5. Maintenance parameters for the converter yard.
ParameterValue
Preparation time4 h
Follow-up time4 h
Replacement time for the SM3 h
Persons per team2
Table 6. Expected number of defective SMs using the probability function for different maintenance periods.
Table 6. Expected number of defective SMs using the probability function for different maintenance periods.
ParameterMaintenance Period [a]
1234
Expected defective SM22456992
Table 7. Technical data wind turbine W8000.
Table 7. Technical data wind turbine W8000.
ParameterValue
Rated power8 MW
Rotor diameter154 m
Hub height103 m
Cut in wind speed4 m/s
Cut-out wind speed25 m/s
Table 8. Case study parameters.
Table 8. Case study parameters.
ParameterValue
Fixed Parameters
Operating time30 a
Commissioning date01.06.1980 dd.mm.yy
Maintenance dateevery 01.06 dd.mm
Working time per day12 h/d
Number of maintenance staff (AC yard 1)2
Number of maintenance staff (AC yard 2)2
Number of maintenance staff (DC yard)1
Number of maintenance staff (transformer yard)2
Modified Parameters
Maintenance periodFrom 1 a to 4 a
Number of maintenance staff in den converter yardFrom 2 to 10
Possible maintenance shiftFrom 0 d to 10 d
Cost Parameters
Remuneration (based on [53])100 €/MWh
Offshore staff costs per person (based on [54])1500 €/d
Onshore staff costs per person (based on [54])960 €/d

Share and Cite

MDPI and ACS Style

Unnewehr, J.F.; Waldl, H.-P.; Pahlke, T.; Herráez, I.; Weidlich, A. Reducing Operational Costs of Offshore HVDC Energy Export Systems Through Optimized Maintenance. Energies 2020, 13, 1146. https://doi.org/10.3390/en13051146

AMA Style

Unnewehr JF, Waldl H-P, Pahlke T, Herráez I, Weidlich A. Reducing Operational Costs of Offshore HVDC Energy Export Systems Through Optimized Maintenance. Energies. 2020; 13(5):1146. https://doi.org/10.3390/en13051146

Chicago/Turabian Style

Unnewehr, Jan Frederick, Hans-Peter Waldl, Thomas Pahlke, Iván Herráez, and Anke Weidlich. 2020. "Reducing Operational Costs of Offshore HVDC Energy Export Systems Through Optimized Maintenance" Energies 13, no. 5: 1146. https://doi.org/10.3390/en13051146

APA Style

Unnewehr, J. F., Waldl, H.-P., Pahlke, T., Herráez, I., & Weidlich, A. (2020). Reducing Operational Costs of Offshore HVDC Energy Export Systems Through Optimized Maintenance. Energies, 13(5), 1146. https://doi.org/10.3390/en13051146

Note that from the first issue of 2016, this journal uses article numbers instead of page numbers. See further details here.

Article Metrics

Back to TopTop