Link Quality Estimation from Burstiness Distribution Metric in Industrial Wireless Sensor Networks
Abstract
1. Introduction
2. System Model
2.1. System and Network Model
2.2. Link Burstiness Research Overview
3. Link Quality Measurement and the Metric for Evaluating
3.1. Measure Link Quality Principle
3.2. Burstiness Distribution Metric
3.2.1. Calculate Burstiness Distribution List
| Algorithm 1: Calculate burstiness distribution list |
| Input : Incoming probe P |
| Output : BDL |
| 1 : Initialize nbrlist is empty, BDL is empty |
| 2 : When node y send probe packet: |
| 3 : P = (y, seqno(y)); |
| 4 : When node x received probe packet from node y: |
| 5 : If (y not belong to x’s nbrlist) |
| 6 : nbrlist ← y, y’s seqno; |
| 7 : Else |
| 8 : burstiness_value(y) = seqno(y) − nbrlist[y].seqno(y) − 1; |
| 9 : If(burstiness_value(y) not in y’s BDL) |
| 10 : burstiness_time_count(y) = 1; |
| 11 : (burstiness_value(y), burstiness_time_count(y)) → y’s BDL; |
| 12 : Else |
| 13 : BDL[burstiness_value(y)].burstiness_time_count(y)++; |
| 14 : Endif |
| 15 : nbrlist[y].seqno(y) ← seqno(y); |
| 16 : Endif |
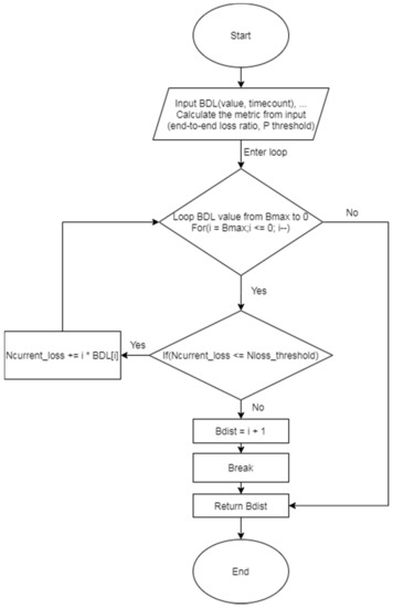
3.2.2. Calculate Burstiness Distribution Metric
| Algorithm 2: Calculate Burstiness Distribution Metric |
| Input : Ascending sorted burstiness distribution list (BDL), |
| number of probes (Nprobes), target PRR (PRRtarget), hop count (h) |
| Output : Burstiness distribution metric (Bdist) |
| 1 : Calculate end-to-end loss ratio by using Equation (1) |
| 2 : Calculate Nloss_threshold by using Equation (2) |
| 3 : Initialize the Ncurrent_loss = Bmax*BDL[Bmax] |
| 4 : For loop in BDL from i = Bmax to 0 |
| 5 : If(Ncurrent_loss ≤ Nloss_threshold) |
| 6 : Ncurrent_loss += i * BDL[i]; |
| 7 : Else |
| 8 : Bdist = i + 1; |
| 9 : Break; |
| 10 : End if |
| 11 : End for |
| 12 : Return Bdist |
4. Evaluation
4.1. Relationship between the Number of Retransmissions and Network Performance
4.2. Effect of the Hop Count on Network Performance
4.3. Evaluating the Network with other Estimation Schemes
4.4. Evaluating Networks of Several Types
5. Conclusions
Author Contributions
Funding
Conflicts of Interest
References
- Shah, R.C.; Roy, S.; Jain, S.; Brunette, W. Data MULEs: Modeling and analysis of a three-tier architecture for sparse sensor networks. Ad Hoc Netw. 2003, 1, 215–233. [Google Scholar] [CrossRef]
- He, X.; Fu, X.; Yang, Y. Energy-Efficient Trajectory Planning Algorithm Based on Multi-Objective PSO for the Mobile Sink in Wireless Sensor Networks. IEEE Access 2019, 7, 176204–176217. [Google Scholar] [CrossRef]
- Fu, X.; Yao, H.; Yang, Y. Cascading failures in wireless sensor networks with load redistribution of links and nodes. Ad Hoc Netw. 2019, 93, 101900. [Google Scholar] [CrossRef]
- Fu, X.; Yang, Y.; Postolache, O. Invulnerability of Clustering Wireless Sensor Networks Against Cascading Failures. IEEE Syst. J. 2019, 13, 1431–1442. [Google Scholar] [CrossRef]
- Mittal, M.; Iwendi, C.; Khan, S.; Rehman Javed, A. Analysis of security and energy efficiency for shortest route discovery in low-energy adaptive clustering hierarchy protocol using Levenberg-Marquardt neural network and gated recurrent unit for intrusion detection system. Trans. Emerg. Telecommun. Technol. 2020, e3997. [Google Scholar] [CrossRef]
- Nguyen, T.T.; Oh, H. A Receiver for Resource-Constrained Wireless Sensor Devices to Remove the Effect of Multipath Fading. IEEE Trans. Ind. Electron. 2018, 65, 6009–6016. [Google Scholar] [CrossRef]
- Nguyen, T.T.; Oh, H. SCSMA: A Smart CSMA/CA Using Blind Learning for Wireless Sensor Networks. IEEE Trans. Ind. Electron. 2019, 67, 10981–10988. [Google Scholar] [CrossRef]
- Winter, T.; Thubert, P.; Brandt, A.; Hui, J.W.; Kelsey, R.; Levis, P.; Pister, K.; Struik, R.; Vasseur, J.-P.; Alexander, R.K. RPL: IPv6 Routing Protocol for Low-Power and Lossy Networks. RFC 2012, 6550, 1–157. [Google Scholar]
- Mittal, M.; Iwendi, C. A survey on energy-aware wireless sensor routing protocols. EAI Endorsed Trans. Energy Web 2019, 6. [Google Scholar] [CrossRef]
- Clausen, T.; Yi, J.; Herberg, U. Lightweight on-demand ad hoc distance-vector routing-next generation (LOADng): Protocol, extension, and applicability. Comput. Netw. 2017, 126, 125–140. [Google Scholar] [CrossRef]
- Nguyen, T.T.; Oh, H. Constructing an optimally balanced tree to maximize data throughput with multiple channels. Wirel. Netw. 2018, 24, 993–1005. [Google Scholar] [CrossRef]
- Noda, C.; Prabh, S.; Alves, M.; Boano, C.A.; Voigt, T. Quantifying the channel quality for interference-aware wireless sensor networks. ACM SIGBED Rev. 2011, 8, 43–48. [Google Scholar] [CrossRef]
- Audéoud, H.-J.; Heusse, M. Quick and efficient link quality estimation in wireless sensors networks. In Proceedings of the 2018 14th Annual Conference on Wireless On-demand Network Systems and Services (WONS), Isola, France, 6–8 February 2018; pp. 87–90. [Google Scholar]
- Eskola, M.; Heikkilä, T. Classification of radio channel disturbances for industrial wireless sensor networks. Ad Hoc Netw. 2016, 42, 19–33. [Google Scholar] [CrossRef]
- Gomes, R.D.; Queiroz, D.V.; Lima Filho, A.C.; Fonseca, I.E.; Alencar, M.S. Real-time link quality estimation for industrial wireless sensor networks using dedicated nodes. Ad Hoc Netw. 2017, 59, 116–133. [Google Scholar]
- Kirubasri, G.; Maheswari, N.U. A study on hardware and software link quality metrics for wireless multimedia sensor networks. Int. J. Adv. Netw. Appl. 2016, 8, 3103. [Google Scholar]
- Woo, A.; Culler, D.E. Evaluation of Efficient Link Reliability Estimators for Low-Power Wireless Networks; Computer Science Division, University of California: Oakland, CA, USA, 2003. [Google Scholar]
- De Couto, D.S.J.; Aguayo, D.; Bicket, J.; Morris, R. A high-throughput path metric for multi-hop wireless routing. In Proceedings of the 9th Annual International Conference on Mobile Computing and Networking, San Diego, CA, USA, 14–19 September 2003; pp. 134–146. [Google Scholar]
- Koksal, C.E.; Balakrishnan, H. Quality-aware routing metrics for time-varying wireless mesh networks. IEEE J. Sel. Areas Commun. 2006, 24, 1984–1994. [Google Scholar]
- Fonseca, R.; Gnawali, O.; Jamieson, K.; Levis, P. Four-bit wireless link estimation. In Proceedings of the HotNets, Atlanta, GA, USA, 14–15 November 2007. [Google Scholar]
- Gungor, V.C.; Korkmaz, M.K. Wireless link-quality estimation in smart grid environments. Int. J. Distrib. Sens. Netw. 2012, 8, 214068. [Google Scholar] [CrossRef]
- Kaneko, H.; Funatsu, K. Application of online support vector regression for soft sensors. AIChE J. 2014, 60, 600–612. [Google Scholar] [CrossRef]
- Fortuna, L.; Giannone, P.; Graziani, S.; Xibilia, M.G. Virtual Instruments Based on Stacked Neural Networks to Improve Product Quality Monitoring in a Refinery. IEEE Trans. Instrum. Meas. 2007, 56, 95–101. [Google Scholar] [CrossRef]
- Srinivasan, K.; Kazandjieva, M.A.; Agarwal, S.; Levis, P. The β-factor: Measuring wireless link burstiness. In Proceedings of the 6th ACM Conference on Embedded Network Sensor Systems, Raleigh, NC, USA, 5–7 November 2008; pp. 29–42. [Google Scholar]
- Munir, S.; Lin, S.; Hoque, E.; Nirjon, S.M.S.; Stankovic, J.A.; Whitehouse, K. Addressing burstiness for reliable communication and latency bound generation in wireless sensor networks. In Proceedings of the 9th ACM/IEEE International Conference on Information Processing in Sensor Networks, Stockholm, Sweden, 12–16 April 2010; pp. 303–314. [Google Scholar]
- Darbandi, A.; Kim, M.K. Path collision-aware real-time link scheduling for TSCH wireless networks. KSII Trans. Internet Inf. Syst. 2019, 13, 4429–4445. [Google Scholar]








| Burstiness Value | 0 | 1 | 2 | 3 | 4 |
|---|---|---|---|---|---|
| Burstiness Time Count | 634 | 129 | 31 | 2 | 1 |
| Number of nodes | 10 |
| Number of probes | 1000 |
| Target PRR | 99% |
| Link quality of the channel (set) | 70–90% |
| Number of the data packets | 1000 |
| Network area | 100 m × 100 m |
| Payload size | 26 bytes |
| Simulation time for each scenario | About 55 min |
Publisher’s Note: MDPI stays neutral with regard to jurisdictional claims in published maps and institutional affiliations. |
© 2020 by the authors. Licensee MDPI, Basel, Switzerland. This article is an open access article distributed under the terms and conditions of the Creative Commons Attribution (CC BY) license (http://creativecommons.org/licenses/by/4.0/).
Share and Cite
Nguyen, N.H.; Kim, M.K. Link Quality Estimation from Burstiness Distribution Metric in Industrial Wireless Sensor Networks. Energies 2020, 13, 6430. https://doi.org/10.3390/en13236430
Nguyen NH, Kim MK. Link Quality Estimation from Burstiness Distribution Metric in Industrial Wireless Sensor Networks. Energies. 2020; 13(23):6430. https://doi.org/10.3390/en13236430
Chicago/Turabian StyleNguyen, Ngoc Huy, and Myung Kyun Kim. 2020. "Link Quality Estimation from Burstiness Distribution Metric in Industrial Wireless Sensor Networks" Energies 13, no. 23: 6430. https://doi.org/10.3390/en13236430
APA StyleNguyen, N. H., & Kim, M. K. (2020). Link Quality Estimation from Burstiness Distribution Metric in Industrial Wireless Sensor Networks. Energies, 13(23), 6430. https://doi.org/10.3390/en13236430

