A Tandem Axial-Piston Unit Based Strategy for the Reduction of Noise Sources in Hydraulic Systems
Abstract
1. Introduction
2. Proposed Solution Analysis
3. Simulation
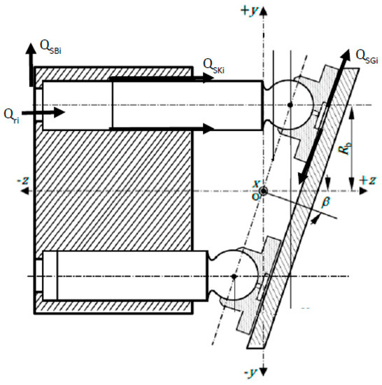
3.1. Axial Piston Unit Model
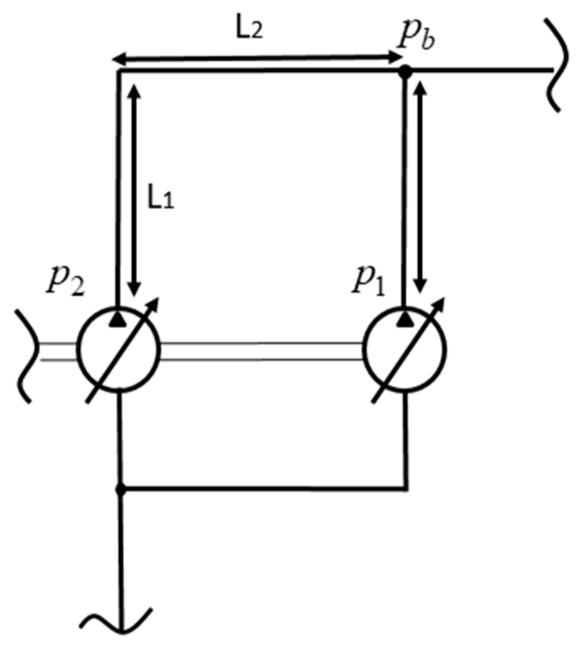
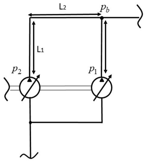
3.2. Line Model
4. Experimental Setup
5. Results
5.1. Simulation Results
5.2. Experimental Results
6. Discussion
7. Conclusions
Author Contributions
Funding
Conflicts of Interest
Nomenclature
| Symbols | Description | Unit |
| AL | Area of the duct | [m2] |
| ArHPi | Valve plate area open to discharge port | [m2] |
| ArLPi | Valve plate area open to suction port | [m2] |
| B | Constant | [-] |
| BL | Isothermal wave speed | [kg/m4·s] |
| C | Characteristic equation (used in MOC line model) | [Pa] |
| c | Speed of sound | [m/s] |
| D | Line diameter | [m] |
| F | Force | [N][kg·m/s2] |
| Frki | Displacement chamber to piston force | [N][kg·m/s2] |
| fDW | Darcy–Weisbach friction coefficient | [m/s] |
| f | Frequency | [Hz] |
| I | Rotation kit index angle | [°] |
| i | Displacement Chamber number | [-] |
| j | Node | [-] |
| K | Fluid bulk modulus | [Pa][kg/m·s2] |
| k | Spatial frequency (wave number) | [-] |
| L | Line length | [m] |
| M | Torque | [N·m] |
| Mx | Swash plate moment about X axis | [Nm] |
| My | Swash plate moment about Y axis | [Nm] |
| Mz | Swash plate moment about Z axis | [Nm] |
| m | Unit’s piston number | [-] |
| Nh | Multiple of unit’s fundamental frequency | [-] |
| n | Rotational speed | [rpm] |
| O | Total number of branch segments | [-] |
| o | Total number of branch segments | [-] |
| p | Pressure | [Pa][kg/m·s2] |
| pi | ith displacement chamber pressure | [Pa][kg/m·s2] |
| pj | jth node pressure | [Pa][kg/m·s2] |
| pHP | High pressure port pressure | [bar] [Pa][kg/m·s2] |
| pLP | Low pressure port pressure | [bar] [Pa][kg/m·s2] |
| Q | Flow rate | [m3/s] |
| Qs | Volumetric loss flow rate | [m3/s] |
| QSBi | Gap flow through VP and CB | [m3/s] |
| QSGi | Gap flow through slipper and swash plate | [m3/s] |
| QSKBGi | Total flow from the gaps | [m3/s] |
| QSKi | Gap flow through piston and cylinder block | [m3/s] |
| QrHPi | Flow from HP port to DC | [m3/s] |
| QrLPi | Flow from LP port to DC | [m3/s] |
| Rb | Cylinder block pitch radius | [m] |
| S | Power Spectral Density | [bar/Hz] |
| T | temperature | [C°] |
| t | time | [s] |
| Vi | Derived displacement chamber volume | [m3] |
| z | Position | [m] |
| v | Fluid velocity | [m/s] |
| αD | Orifice coefficient of discharge | [-] |
| β | Unit displacement | [°] |
| λ | Wave length | [m] |
| Δp | Pressure ripple | [bar] [Pa][kg/m·s2] |
| τ | Shear Stress | [Pa][kg/m·s2] |
| ρ | Density | [kg/m3] |
| ω | Angular velocity | [rad/s] |
| ψ | fixed phase shift | [rad] |
| φi | Piston angular position | [rad] |
References
- Franchek, M.A.; Ryan, M.W.; Bernhard, R.J. Adaptive passive vibration control. J. Sound Vib. 1994, 189, 565–585. [Google Scholar] [CrossRef]
- Pingchao, O.; Zongxia, J.; Hongmei, L.; Shuli, L.; Yunhua, L. Active Control on Fluid Borne Pulsation Using Piezoelectric Valve as Absorber. In Proceedings of the IEEE Conference on Robotics, Automation and Mechatronics, Bangkok, Thailand, 1–3 June 2006; pp. 1–5. [Google Scholar] [CrossRef]
- Kartha, S.C. Active, Passive and Active/Passive Control Techniques for Reduction of Vibrational Power Flow in Fluid Filled Pipes. Master’s Thesis, Virginia Polytechnic Institute and State University, Blacksburg, VA, USA, 2000. [Google Scholar]
- Johnston, D.N.; Edge, K.A. Simulation of the pressure ripple characteristics of hydraulic circuits. Proc. Inst. Mech. Eng. 1989, 203, 275–282. [Google Scholar] [CrossRef]
- De Bedout, J.M.; Franchek, M.A.; Bernhardt, R.J.; Mongeau, L. Adaptive-passive noise control with self-tuning Helmholtz resonators. J. Sound Vib. 1997, 202, 109–123. [Google Scholar] [CrossRef]
- Makaryant, G.; Rodionov, L.; Radin, D.; Rekadze, P. Experimental investigation on adaptive Helmholtz resonator for hydraulic system. In Proceedings of the InterNoise 2019, Madrid, Spain, 16–19 June 2019; pp. 3891–3897. [Google Scholar]
- Dodson, J.M.; Dowling, D.R.; Grosh, K. Experimental investigation of quarter wavelength silencers in large scale hydraulic systems. Noise Control Eng. J. 1998, 46, 15–22. [Google Scholar] [CrossRef]
- Ichiyanagi, T.; Kuribayashi, T.; Nishiumi, T. Design criteria of a Helmholtz silencer with multiple degrees of freedom for hydraulic systems. J. Fluid Sci. Technol. 2013, 8, 277–293. [Google Scholar] [CrossRef][Green Version]
- Earnhart, N.E.; Cunefare, K.A. Compact Helmholtz resonators for hydraulic systems. Int. J. Fluid Power 2012, 13, 41–50. [Google Scholar] [CrossRef]
- Lechuga-Aranda, J.J.; Bader, S.; Oelmann, B. A space-coiling resonator for improved energy harvesting in fluid power systems. Sens. Actuators A Phys. 2019, 291, 58–67. [Google Scholar] [CrossRef]
- Li, L.; Lee, K.M.; Ouyang, X.; Yang, H. Attenuating characteristics of a multi-element buffer bottle an aircraft piston pump. Proc. Inst. Mech. Eng. Part C J. Mech. Eng. Sci. 2017, 231, 1791–1803. [Google Scholar] [CrossRef]
- Mikota, G.; Haas, R.; Lukachev, E. Compensation of a hydraulic pipeline resonance by fluid–structure interaction. Int. J. Fluid Power 2018, 19, 14–26. [Google Scholar] [CrossRef]
- Pan, M.; Ding, B.; Yuan, C.; Zou, J.; Yang, H. Novel Integrated Control of Fluid-Borne Noise in Hydraulic Systems. In Proceedings of the BATH/ASME 2018 Symposium on Fluid Power and Motion Control FPMC2018, Bath, UK, 12–14 September 2018. [Google Scholar]
- Pulsco Aerospace Liquid Pulsation Dampener. Available online: https://www.pulsco.com/840 (accessed on 8 August 2020).
- Flexicraft Pulsation Dampener. Available online: http://www.flexicraft.com/Hydropad_Accumulator/Pulsation_Dampener (accessed on 8 August 2020).
- Blacoh. Introducing the AODDampener: All-New Dampner Designed Specifically Fot AAODD Pumps. Available online: https://www.blacoh.com/literature.aspx?l (accessed on 8 August 2020).
- Helgestad, B.O.; Foster, K.; Bannister, F.K. Pressure transients in an axial piston hydraulic pump. Proc. Inst. Mech. Eng. 1974, 188, 189–199. [Google Scholar] [CrossRef]
- Pettersson, M.; Weddfelt, K.; Palmberg, J.O. Methods of reducing flow ripple from fluid power piston pumps—A theoretical approach. In Proceedings of the SAE International Off-Highway and Powerplant Congress, Milwaukee, WI, USA, 1 September 1991. [Google Scholar]
- Frosina, E.; Marinaro, G.; Senatore, A.; Pavanetto, M. Effects of PCFV and Pre-Compression Groove on the Flow Ripple Reduction in Axial Piston Pumps. In Proceedings of the Global Fluid Power Society PhD Symposium (GFPS), Samara, Russia, 18–20 July 2018; pp. 1–7. [Google Scholar] [CrossRef]
- Palmberg, J.O. Modelling of flow ripple from fluid power piston pumps. In 2nd Bath International Power Workshop; University of Bath: Bath, UK, 1989. [Google Scholar]
- Manring, N.D. Valve-Plate Design for an Axial Piston Pump Operating at Low Displacements ASME. J. Mech. Des. March 2003, 125, 200–205. [Google Scholar] [CrossRef]
- Kalbfleisch, P. Computational Valve Plate Design. Master’s Thesis, Purdue University, West Lafayette, IN, USA, 2015. [Google Scholar]
- Ye, S.; Zhang, J.; Xu, B. Noise Reduction of an Axial Piston Pump by Valve Plate Optimization. Chin. J. Mech. Eng. 2018, 31, 57. [Google Scholar] [CrossRef]
- Johansson, A. Design Principles for Noise Reduction in Hydraulic Piston Pumps—Simulation, Optimization and Experimental Verification. Ph.D. Thesis, Linkoping University, Linkoping, Sweden, 2005. [Google Scholar]
- Johansson, A.; Andersson, J.; Palmberg, J.O. Optimal Design of the Cross-Angle for Pulsation Reduction in Variable Displacement Pumps. In Proceedings of the Bath Workshop on Power Transmission and Motion Control, Bath, UK, 11–13 September 2002; pp. 11–13. [Google Scholar]
- Achten, P.; Schellekens, M.; Murrenhoff, H.; Deeken, M. Efficiency and Low Speed Behavior of the Floating Cup Pump. J. Commer. Veh. SAE Trans. 2004, 113, 366–376. [Google Scholar]
- Achten, P.; Eggenkamp, S. Barrel tipping in axial piston pumps and motors. In Proceedings of the 15th Scandinavian International Conference, SICFP2017, Linköping, Sweden, 7–9 June 2017. [Google Scholar]
- Platzer, T.; Van Malsen, R.A.H.; Achten, P.A.J. Floating Cup—Ein neues Konstruktionsprinzip für hydrostatische Maschinen. Ölhydraulik Pneum. 2004, 48, 375–378. [Google Scholar]
- Ohuchi, H.; Masuda, K.; Osada, T. Noise reduction of a variable displacement axial piston pump by compensating the exciting force. In Proceedings of the JFPS International Symposium on Fluid Power, Nara, Japan, 12–15 November 2002; Volume 33, pp. 76–81. [Google Scholar]
- Kim, T.; Ivantysynova, M. Active Vibration/Noise Control of Axial Piston Machine Using Swash Plate Control. In Proceedings of the ASME/BATH 2017 Symposium on Fluid Power and Motion Control, Sarasota, FL, USA, 16–19 October 2017. [Google Scholar]
- Casoli, P.; Pastori, M.; Scolari, F.; Rundo, M. Active Pressure Ripple Control in Axial Piston Pumps through High-Frequency Swash Plate Oscillations—A Theoretical Analisys. Energies 2019, 12, 1377. [Google Scholar] [CrossRef]
- Masuda, K.; Ohuchi, H. Noise reduction of a variable piston pump with even number of cylinders. In Proceedings of the JFPS International Symposium on Fluid Power, Atlanta, GA, USA, 17–22 November 1996; pp. 91–96. [Google Scholar]
- Zanetti-Rocha, L.; Gerges, S.N.Y.; Johnston, D.N.; Arenas, J.P. Rotating Group; Design for Vane Pump Flow Ripple Reduction. Int. J. Acoust. Vib. 2013, 18, 192–200. [Google Scholar] [CrossRef]
- Yudin, E.M. Gear Pumps Principal Parameters and Their Calculation; Translation of Russian book by Harris, E.; National Lending Library for Science and Technology: Yorkshire, UK, 1961. [Google Scholar]
- Lipscombe, B.R. The Reduction of Gear Pump Pressure Ripple by Source Flow Modification. Ph.D. Thesis, University of Bath, Bath, UK, 1987. [Google Scholar]
- Kinsler, L.E.; Frey, A.R.; Coppens, A.B.; Sanders, J.V. Fundamentals of Acoustics; John Wiley & Sons: Hoboken, NJ, USA, 1982. [Google Scholar]
- Edge, K.A.; Johnston, D.N. The ‘Secondary Source’ Method for the Measurement of Pump Pressure Ripple Characteristics Part 1: Description of Method. Proc. Inst. Mech. Eng. Part A J. Power Energy 1990, 204, 33–40. [Google Scholar] [CrossRef]
- Kojima, E. A new method for the experimental determination of pump fluid borne noise characteristics. In Proceedings of the 5th Bath International Power Workshop, Bath, UK, 16–18 September 1992; pp. 111–137. [Google Scholar]
- Danes, L.; Vacca, A. The influence of line and fluid parameters on pressure ripple in hydraulic transmissions. SN Appl. Sci. 2020, 2, 1281. [Google Scholar] [CrossRef]
- Wieczorek, U.; Ivantysynova, M. Computer aided optimization of bearing and sealing gaps in hydrostatic machines—The simulation tool CASPAR. Int. J. Fluid Power 2002, 3, 7–20. [Google Scholar] [CrossRef]
- Borghi, M.; Milani, M.; Paltrinieri, F.; Zardin, B. Pressure transients in external gear pumps and motors meshing volumes, Rosemont, IL: T. Tech. Pap. SAE Int. 2005, SP-1989. [Google Scholar] [CrossRef]
- Klop, R.; Vacca, A.; Ivantysynova, M. A Method of Characteristics Based Coupled Pump/Line Model to Predict Noise Sources of Hydrostatic Transmissions. In Proceedings of the Bath ASME Symposium on Fluid Power and Motion Control, Hollywood, CA, USA, 12–14 October 2009. [Google Scholar]
- Wilhelm, S. Modeling, Analysis and Experimental Investigation of a Variable Displacement Linkage Pump. Ph.D. Thesis, University of Minnesota, Minneapolis, MN, USA, 2015. [Google Scholar]
- Ivantysyn, J.; Ivantysynova, M. Hydrostatic Pumps and Motors: Principles, Designs, Performance, Modelling, Analysis, Control and Testing; Tech Books International: New Delhi, India, 2003; ISBN 81-88305-08-1. [Google Scholar]
- Wylie, E.; Streeter, V. Fluid Transients; McGraw-Hill Inc.: New York, NY, USA, 1978; ISBN 0-07-072187-4. [Google Scholar]
- Vardy, A.E.; Hwang, K.L. A characteristics model of transient friction in pipes. J. Hydraul. Res. 1991, 29, 669–684. [Google Scholar] [CrossRef]
- Carlsson, J. Water Hammer Phenomenon Analysis using the Method of Characteristics and Direct Measurements Using a ”stripped” Electromagnetic Flow Meter. Master’s Thesis, Royal Institute of Technology, Stockholm, Sweden, 2016. [Google Scholar]
- Klop, R.J. Investigation of Hydraulic Transmission Noise Sources. Ph.D. Thesis, Purdue University, West Lafayette, IN, USA, 2010. [Google Scholar]
- Wang, L. Active Control of Fluid-Borne Noise. Ph.D. Thesis, University of Bath, Bath, UK, 2008. [Google Scholar]
- Fahy, F.J. Applied Acoustics, International Standards for the Determination of Sound Power Levels of Sources Using Sound Intensity Measurement: An Exposition. Appl. Acoust. 1997, 50, 97–109. [Google Scholar] [CrossRef]














| Tag | Name | Sensor | Range |
|---|---|---|---|
| ps | Pressure Source | Hydac | 60 bar |
| pau | Pressure A (HP) | Wika | 550 bar |
| pd | Pressure Drain | Keller | 30 bar |
| pad | Pressure A (LP) | Wika | 25 bar |
| pb | Pressure B | Wika | 100 bar |
| Qa | Flow HP | VSE | 250 L/Min |
| Qs | Source Drain | VSE | 40 L/Min |
| M | Torque | Staiger-Mohilo | 0–500 N m |
| n | Speed | Staiger-Mohilo | 0–12,000 rpm |
| ß1 | Displacement U1 | In-Built | 4–20 mA |
| ß2 | Displacement U2 | In-Built | 4–20 mA |
| Tau | Temp. A (HP) | Omega | K-type Thermocouple |
| Ts | Temp. Source | Omega | K-type Thermocouple |
| Td | Temp. Drain | Omega | K-type Thermocouple |
| Tad | Temp. A (LP) | Omega | K-type Thermocouple |
| Tamb | Temp. Ambient | Omega | K-type Thermocouple |
| p1 | Pressure Ripple 1 | Kistler | −30–30 bar variation |
| p2 | Pressure Ripple 2 | Kistler | −30–30 bar variation |
| p3 | Pressure Ripple 3 | Kistler | −30–30 bar variation |
| m1 | Microphone | G.R.A.S 40AO | 5 Hz to 12.5 kHz |
| A1 | Accelerometer 1 | PCB 356A16 | ±50 g |
| A2 | Accelerometer 2 | PCB 356A16 | ±50 g |
| A3 | Accelerometer 3 | PCB 356A16 | ±50 g |
| A4 | Accelerometer 4 | PCB 356A16 | ±50 g |
| U1 Speed (rpm) | High Pressure (bar) | Displacement (%) | |
|---|---|---|---|
| 1 | 1200 | 100 | 100 |
| 2 | 1200 | 175 | 100 |
| 3 | 1200 | 250 | 100 |
| 4 | 1660 | 100 | 100 |
| 5 | 1660 | 175 | 100 |
| 6 | 1660 | 250 | 100 |
| 7 | 1200 | 100 | 50 |
| 8 | 1660 | 100 | 50 |
| Speed (rpm) | 1200 | 1660 | ||||||
|---|---|---|---|---|---|---|---|---|
| Pressure (bar) | 100 | 100 | 170 | 250 | 100 | 100 | 170 | 250 |
| Disp. (%) | 50 | 100 | 100 | 100 | 50 | 100 | 100 | 100 |
| 0° Index | 83.9 dB | 86.7 dB | 92.0 dB | 94.0 dB | 85.4 dB | 84.8 dB | 89.1 dB | 91.8 dB |
| 20° Index | 82.9 dB | 84.3 dB | 89.4 dB | 92.7 dB | 85.1 dB | 85.9 dB | 90.3 dB | 93.6 dB |
Publisher’s Note: MDPI stays neutral with regard to jurisdictional claims in published maps and institutional affiliations. |
© 2020 by the authors. Licensee MDPI, Basel, Switzerland. This article is an open access article distributed under the terms and conditions of the Creative Commons Attribution (CC BY) license (http://creativecommons.org/licenses/by/4.0/).
Share and Cite
Danes, L.; Vacca, A. A Tandem Axial-Piston Unit Based Strategy for the Reduction of Noise Sources in Hydraulic Systems. Energies 2020, 13, 5377. https://doi.org/10.3390/en13205377
Danes L, Vacca A. A Tandem Axial-Piston Unit Based Strategy for the Reduction of Noise Sources in Hydraulic Systems. Energies. 2020; 13(20):5377. https://doi.org/10.3390/en13205377
Chicago/Turabian StyleDanes, Leandro, and Andrea Vacca. 2020. "A Tandem Axial-Piston Unit Based Strategy for the Reduction of Noise Sources in Hydraulic Systems" Energies 13, no. 20: 5377. https://doi.org/10.3390/en13205377
APA StyleDanes, L., & Vacca, A. (2020). A Tandem Axial-Piston Unit Based Strategy for the Reduction of Noise Sources in Hydraulic Systems. Energies, 13(20), 5377. https://doi.org/10.3390/en13205377

