Flow Inside the Sidewall Gaps of Hydraulic Machines: A Review
Abstract
1. Introduction
2. Flow Inside the Sidewall Gaps
2.1. Sidewall Gaps of Hydraulic Machines
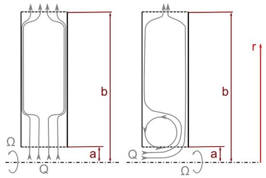
2.2. Flow Regimes and Patterns in Rotor-Stator Cavity
- regime I (laminar flow, merged boundary layers);
- regime II (laminar flow, separate boundary layers);
- regime III (turbulent flow, merged boundary layers);
- regime VI (turbulent flow, separate boundary layers).
3. Phenomena Connected with Flow in Turbomachines Sidewall Gaps
3.1. Disk Friction Losses
3.2. Axial Thrust
3.3. Rotordynamics
4. Improvement Measures to Mitigate Undesirable Phenomena Connected with Sidewall Gap Flows
4.1. Disk Friction
4.2. Axial Thrust
- double suction impeller;
- balancing piston (drum);
- balancing disc;
- balance holes and wear rings;
- back vanes; and,
- grooves on casing wall.
4.3. Rotordynamics
5. Conclusions
- The flow inside the sidewall gaps is very complex, various regimes and structures can emerge.
- The state of the flow in the sidewall gaps influences the flow in the whole machine, the performance, efficiency, and reliability.
- Three main phenomena arise from the presence of the flow in the sidewall gaps of hydraulic machines: disk friction losses, axial thrust, and rotordynamic issues.
- Disk friction losses are generated in the sidewall gaps regions and, therefore, it is directly governed by the type of the flow here.
- Many empirical relationships for the determination of disk friction losses exists; however, their applicability in practice is questionable. Use of CFD is an option, nonetheless, there are also difficulties.
- Axial thrust is determined by the pressure distribution in the sidewall gaps that are governed by the character of the flow in those regions.
- The determination of the axial thrust is crucial in the design phase, but there are similar problems with calculation while using empirical or numerical approaches as in the case of disk friction losses.
- A huge influence of the flow inside the sidewall gaps on the rotorynamics has been proved; however, complete insight into its role has not yet been obtained.
- The problems that are related to the flow in the sidewall gaps can be, to some extent, overcome by the implementation of improvement measures.
- Understanding the principles of various phenomena that are related to the flow in sidewall gaps can help to avoid failures and increase the efficiency of hydraulic machines.
Author Contributions
Funding
Acknowledgments
Conflicts of Interest
Abbreviations
| a | inner radius of cavity, () |
| b | outer radius of cavity, () |
| relative surface roughness, (−) | |
| axial thrust reduction coefficient, (−) | |
| throughflow coefficient, (−) | |
| local friction coefficient, (−) | |
| friction coefficient of casing wall, (−) | |
| friction coefficient of impeller wall, (−) | |
| moment coefficient, (−) | |
| moment coefficient related to particular flow regime, (−) | |
| moment coefficient without throughflow, (−) | |
| meridional velocity at the inlet, () | |
| meridional velocity at the outlet, () | |
| non-dimensional characteristic of the leakage flow, (−) | |
| throughflow Reynolds number, flow rate coefficient, (−) | |
| diameter of the shaft seal, () | |
| diameter of the impeller front ring, () | |
| axial thrust, () | |
| force on the hub, () | |
| force related to change of the flow direction, () | |
| leakage influence on disk friction, (−) | |
| roughness influence on disk friction, (−) | |
| force on the shroud, () | |
| force due to rotor weight, () | |
| G | aspect ratio of cavity, (−) |
| h | gap width, () |
| H | head, () |
| k | rotation of fluid in impeller sidewall gap, (−) |
| K | core rotation factor, (−) |
| rotation factor of the flow with zero leakage, (−) | |
| disk friction coefficient, (−) | |
| L | typical length scale, outer radius in case of disk cavity () |
| M | friction torque, () |
| m | mass flow rate, () |
| n | speed, () |
| specific speed, () | |
| pressure on the shroud, () | |
| pressure on the hub, () | |
| atmospheric pressure, () | |
| disk friction power, () | |
| Q | flow rate, () |
| nominal flow rate () | |
| optimal flow rate, () | |
| reference flow rate, () | |
| leakage flow through impeller front sidewall gap, () | |
| r | radial coordinate, () |
| impeller outer radius, () | |
| rotational Reynolds number, (−) | |
| axial Reynolds number, (−) | |
| circumferential Reynolds number, (−) | |
| radius of the impeller front ring, () | |
| volute inlet radius, () | |
| s | axial gap between rotating and stationary disk, (−) |
| axial distance between impeller shroud and casing, () | |
| ratio of axial gap to impeller outer radius, (−) | |
| axial casing part in impeller sidewall gap, () | |
| circumferential component of velocity () | |
| z | axial coordinate, () |
| angle between shroud and casing, () | |
| equivalent sand roughness, () | |
| angle between mean streamline at the impeller outlet and rotor axis, () | |
| efficiency, (−) | |
| throughflow parameter, (−) | |
| dynamic viscosity, () | |
| kinematic viscosity, () | |
| density, () | |
| shear stress, () | |
| leakage coefficient considering direction of leakage flow, (−) | |
| flow coefficient, (−) | |
| angular velocity () | |
| BEP | best efficiency point |
| BL | boundary layer |
| CFD | computational fluid dynamics |
| HL | high-load |
| LES | large eddy simulation |
| PAT | pump-as-turbine |
| PL | part-load |
| RSI | rotor-stator interaction |
References
- Ekman, V. On the Influence of the Earth’s Rotation on Ocean-Currents. Ark. Mat. Astron. Fys. 1905, 2, 1–52. [Google Scholar]
- Kármán, T.V. Über laminare und turbulente Reibung. ZAMM-J. Appl. Math. Mech. 1921, 1, 233–252. [Google Scholar] [CrossRef]
- Bödewadt, U.T. Die Drehströmung über festem Grunde. ZAMM-J. Appl. Math. Mech. 1940, 20, 241–253. [Google Scholar] [CrossRef]
- Batchelor, G.K. Note on a class of solutions of the Navier-Stokes equations representing steady rotationally-symmetric flow. Q. J. Mech. Appl. Math. 1951, 4, 29–41. [Google Scholar] [CrossRef]
- Stewartson, K. On the flow between two rotating coaxial disks. Math. Proc. Camb. Philos. Soc. 1953, 49, 333–341. [Google Scholar] [CrossRef]
- Cochran, W.G. The flow due to a rotating disc. Math. Proc. Camb. Philos. Soc. 1934, 30, 365–375. [Google Scholar] [CrossRef]
- Sparrow, E.M.; Gregg, J. Mass transfer, flow, and heat transfer about a rotating disk. J. Heat Transf. 1960, 82, 294–302. [Google Scholar] [CrossRef]
- Gülich, J. Centrifugal Pumps; Springer: Berlin/Heidelberg, Germany, 2014. [Google Scholar]
- Trivedi, C.; Dahlhaug, O. Interaction between trailing edge wake and vortex rings in a Francis turbine at runaway condition: Compressible large eddy simulation. Phys. Fluids 2018, 30, 075101. [Google Scholar] [CrossRef]
- Li, W. Model of Flow in the Side Chambers of an Industrial Centrifugal Pump for Delivering Viscous Oil. J. Fluids Eng. 2013, 135, 051201. [Google Scholar] [CrossRef]
- Nechleba, M.; Evans, A.G.; Mayer, C. Hydraulic Turbines: Their Design and Equipment; Artia: Prague, Czech Republic, 1957. [Google Scholar]
- Abou El-Azm Aly, A.; Hassan, A.; Abdalla, H. Study of the Effect of Impeller Side Clearance on the Centrifugal Pump Performance Using CFD. In Proceedings of the 15th ASME International Mechanical Engineering Congress & Exposition, Pittsburgh, PA, USA, 9–15 November 2015. [Google Scholar] [CrossRef]
- Abou El-Azm Aly, A.; Hassan, A.; Abdallah, H. Effect of semi-open impeller side clearance on the centrifugal pump performance using CFD. Aerosp. Sci. Technol. 2015, 47, 247–255. [Google Scholar] [CrossRef]
- Yan, J.; Zuo, Z.; Guo, W.; Hou, H.; Xin, Z.; Chen, H. Influences of wear-ring clearance leakage on performance of a small-scale pump-turbine. J. Power Energy 2019. [Google Scholar] [CrossRef]
- Trivedi, C. A review on fluid structure interaction in hydraulic turbines: A focus on hydrodynamic damping. Eng. Fail. Anal. 2017, 77. [Google Scholar] [CrossRef]
- Daily, J.W.; Nece, R.E. Chamber Dimension Effects on Induced Flow and Frictional Resistance of Enclosed Rotating Disks. J. Basic Eng. 1960, 82, 217–230. [Google Scholar] [CrossRef]
- Hu, B.; Brillert, D.; Dohmen, H.J.; Benra, F.K. Investigation on the flow in a rotor-stator cavity with centripetal through-flow. Int. J. Turbomach. Propuls. Power 2017, 2, 18. [Google Scholar] [CrossRef]
- Sultanian, B. Gas Turbines. In Gas Turbines: Internal Flow Systems Modeling; Cambridge Aerospace Series; Cambridge University Press: Cambridge, UK, 2018; pp. 182–236. [Google Scholar] [CrossRef]
- Smith, N.H. Technical Note—National Advisory Committee for Aeronautics; National Advisory Committee for Aeronautics: Washington, DC, USA, 1947.
- Kohama, Y. Study on boundary layer transition of a rotating disk. Acta Mech. 1984, 50, 193–199. [Google Scholar] [CrossRef]
- Faller, A.J.; Kaylor, R.E. Investigations of stability and transition in rotating boundary layers. J. Atmos. Sci. 1966, 22, 176–184. [Google Scholar] [CrossRef]
- Savas, O. Circular waves on a stationary disk in rotating flow. Phys. Fluids 1983, 26, 3445–3448. [Google Scholar] [CrossRef]
- Brady, J.F.; Durlofsky, L. On rotating disk flow. J. Fluid Mech. 1987, 175, 363–394. [Google Scholar] [CrossRef]
- Faller, A.J. Instability and transition of disturbed flow over a rotating disk. J. Fluid Mech. 1991, 230, 245–269. [Google Scholar] [CrossRef]
- Hwang, Y.K.; Lee, Y.Y. Theoretical flow instability of the Kármán boundary layer. KSME Int. J. 2000, 14, 358–368. [Google Scholar] [CrossRef]
- Lingwood, R.J. Absolute instability of the Ekman layer and related rotating flows. J. Fluid Mech. 1997, 331, 405–428. [Google Scholar] [CrossRef]
- Lilly, D.K. On the Instability of Ekman Boundary Flow. J. Atmos. Sci. 1966, 23, 481–494. [Google Scholar] [CrossRef]
- Cros, A.; Le Gal, P. Spatiotemporal intermittency in the torsional Couette flow between a rotating and a stationary disk. Phys. Fluids 2002, 14, 3755–3765. [Google Scholar] [CrossRef]
- Sankov, P.I.; Smirnov, E.M. Bifurcation and transition to turbulence in a gap between rotating and stationary parallel disks. Fluid Dyn. 1984, 20, 28–36. [Google Scholar] [CrossRef]
- Schouveiler, L.; Le Gal, P.; Chauve, M.P. Instabilities of the flow between a rotating and a stationary disk. J. Fluid Mech. 2001, 443, 329–350. [Google Scholar] [CrossRef]
- Arons, A.B.; Ingersoll, A.P.; Green, T.I. Experimentally observed instability of a laminar EKMAN flow in a rotating basin. Tellus 1961, 13, 31. [Google Scholar] [CrossRef]
- Schouveiler, L.; Le Gal, P.; Chauve, M.P.; Takeda, Y. Spiral and circular waves in the flow between a rotating and a stationary disk. Exp. Fluids 1999, 26, 179–187. [Google Scholar] [CrossRef]
- Gauthier, G.; Gondret, P.; Rabaud, M. Axisymmetric propagating vortices in the flow between a stationary and a rotating disk enclosed by a cylinder. J. Fluid Mech. 1999, 386, 105–126. [Google Scholar] [CrossRef]
- Gauthier, G.; Gondret, P.; Moisy, F.; Rabaud, M. Instabilities in the flow between co- and counter-rotating disks. J. Fluid Mech. 2002, 473. [Google Scholar] [CrossRef]
- Munekata, M.; Jobi, N.; Kubo, K.; Yoshikawa, H. Characteristics of transient vortices in the boundary layer on a rotating disk under orbital motion. J. Therm. Sci. 2013, 22, 600–605. [Google Scholar] [CrossRef]
- Moisy, F.; Pasutto, T.; Rabaud, M. Instability patterns between counter-rotating disks. Nonlinear Process. Geophys. 2003, 10. [Google Scholar] [CrossRef][Green Version]
- Soong, C.Y.; Wu, C.C.; Liu, T.P.; Liu, T.P. Flow structure between two co-axial disks rotating independently. Exp. Therm. Fluid Sci. 2003, 27, 295–311. [Google Scholar] [CrossRef]
- Garrett, S.J.; Cooper, A.J.; Harris, J.H.; Özkan, M.; Segalini, A.; Thomas, P.J. On the stability of von Kármán rotating-disk boundary layers with radial anisotropic surface roughness. Phys. Fluids 2016, 28, 014104. [Google Scholar] [CrossRef]
- Alveroglu, B.; Segalini, A.; Garrett, S. An energy analysis of convective instabilities of the Bödewadt and Ekman boundary layers over rough surfaces. Eur. J. Mech. 2017, 61, 310–315. [Google Scholar] [CrossRef]
- Goldstein, R.; Gordeev, Y.; Chizhov, Y. Von Kármán problem for a rotating permeable disk. Fluid Dyn. 2012, 47. [Google Scholar] [CrossRef]
- Khan, J.; Mustafa, M.; Hayat, T.; Alzahrani, F. Numerical study for Bödewadt flow of water based nanofluid over a deformable disk: Buongiorno model. Indian J. Phys. 2017, 91. [Google Scholar] [CrossRef]
- Turkyilmazoglu, M. Bödewadt flow and heat transfer over a stretching stationary disk. Int. J. Mech. Sci. 2015, 90, 246–250. [Google Scholar] [CrossRef]
- Ahmadpour, A.; Sadeghy, K. Swirling flow of Bingham fluids above a rotating disk: An exact solution. J. Non-Newton. Fluid Mech. 2013, 197, 41–47. [Google Scholar] [CrossRef]
- Sahoo, B.; Abbasbandy, S.; Poncet, S. A brief note on the computation of the Bödewadt flow with Navier slip boundary conditions. Comput. Fluids 2014, 90. [Google Scholar] [CrossRef]
- Sahoo, B.; Poncet, S. Effects of slip on steady Bödewadt flow of a non-Newtonian fluid. Commun. Nonlinear Sci. Numer. Simul. 2012, 17, 4181–4191. [Google Scholar] [CrossRef]
- Prieling, D.; Steiner, H. Unsteady thin film flow on spinning disks at large Ekman numbers using an integral boundary layer method. Int. J. Heat Mass Transf. 2013, 65, 10–22. [Google Scholar] [CrossRef]
- Rahman, M.; Andersson, H. On heat transfer in Bödewadt flow. Int. J. Heat Mass Transf. 2017, 112, 1057–1061. [Google Scholar] [CrossRef]
- Reddy, S.; Sreedevi, P.; Chamkha, A. MHD boundary layer flow, heat and mass transfer analysis over a rotating disk through porous medium saturated by Cu-water and Ag-water nanofluid with chemical reaction. Powder Technol. 2016, 307. [Google Scholar] [CrossRef]
- Davidson, P.; Pothérat, A. A Note on Bödewadt-Hartmann Layers. Eur. J. Mech. B-Fluids 2002, 21, 545–559. [Google Scholar] [CrossRef]
- Mushtaq, A.; Mustafa, M. Computations for nanofluid flow near a stretchable rotating disk with axial magnetic field and convective conditions. Results Phys. 2017, 7. [Google Scholar] [CrossRef]
- Thomas, C.; Davies, C. Global stability of the rotating-disc boundary layer with an axial magnetic field. J. Fluid Mech. 2013, 724, 510–526. [Google Scholar] [CrossRef]
- Hide, R. On source-sink flows in a rotating fluid. J. Fluid Mech. 1968, 32, 737–764. [Google Scholar] [CrossRef]
- Owen, J.; Pincombe, J. Velocity measurements inside a rotating cavity with a radial outflow of fluid. J. Fluid Mech. 1980, 99, 111–127. [Google Scholar] [CrossRef]
- Crespo del Arco, E.; Maubert, P.; Randriamampianina, A.; Bontoux, P. Spatio—Temporal behaviour in a rotating annulus with a source—Sink flow. J. Fluid Mech. 1996, 328, 271–296. [Google Scholar] [CrossRef]
- Serre, E.; Hugues, S.; Crespo del Arco, E.; Randriamampianina, A.; Bontoux, P. Axisymmetric and three-dimensional instabilities in an Ekman boundary layer flow. Int. J. Heat Fluid Flow 2001, 22, 82–93. [Google Scholar] [CrossRef]
- Will, B.C.; Benra, F.K.; Dohmen, H.J. Investigation of the Flow in the Impeller Side Clearances of a Centrifugal Pump with Volute Casing. J. Therm. Sci. 2012, 21. [Google Scholar] [CrossRef]
- Zemanová, L.; Rudolf, P.; Naumov, A.V.; Volkov, A.V. Simulation of the Flow in Rotor-Stator Gaps and Disk Friction of Radial Centrifugal Pump. In Proceedings of the Hydraulic Machines, Hydraulic Drivers and Hydropneumo Automation, Moscow, Russia, 4 December 2019; pp. 9–26. [Google Scholar]
- Su, X.; Huang, S.; Zhang, X.; Yang, S. Numerical research on unsteady flow rate characteristics of pump as turbine. Renew. Energy 2016, 94, 488–495. [Google Scholar] [CrossRef]
- Wu, Y.; Chen, X.; Dou, H.S.; Zheng, L.; Zhu, Z.; Cui, B.; Khoo, B. Numerical simulation and analysis of flow characteristics in the front chamber of a centrifugal pump. J. Mech. Sci. Technol. 2017, 31, 5131–5140. [Google Scholar] [CrossRef]
- Sun, Z.; Tan, C.; Zhang, D. Flow Field Structures of the Impeller Backside Cavity and Its Influences on the Centrifugal Compressor. Power Land Sea Air 2009. [Google Scholar] [CrossRef]
- Schiffer, J.; Benigni, H.; Jaberg, H.; Schneidhofer, T.; Ehrengruber, M. Numerical simulation of the flow in a Francis turbine including the runner seals on crown and band side. In Advancing Policy and Practice; Aqua Media International Ltd.: Surrey, UK, 2015. [Google Scholar]
- Zhou, D.; Chen, H.; Zhang, J.; Jiang, S.; Gui, J.; Yang, C.; Yu, A. Numerical Study on Flow Characteristics in a Francis Turbine during Load Rejection. Energies 2019, 12, 716. [Google Scholar] [CrossRef]
- Čelič, D.; Ondráčka, H. The influence of disc friction losses and labyrinth losses on efficiency of high head Francis turbine. J. Phys. Conf. Ser. 2015, 579. [Google Scholar] [CrossRef]
- Jošt, D.; Škerlavaj, A.; Morgut, M.; Mežnar, P.; Nobile, E. Numerical simulation of flow in a high head Francis turbine with prediction of efficiency, rotor stator interaction and vortex structures in the draft tube. J. Phys. Conf. Ser. 2015, 579, 012006. [Google Scholar] [CrossRef]
- Mössinger, P.; Roland, J.-Z.; Jung, A. Investigation of different simulation approaches on a high-head Francis turbine and comparison with model test data: Francis-99. J. Phys. Conf. Ser. 2015, 579. [Google Scholar] [CrossRef]
- Feng, J.; Luo, X.; Zhu, G.; Wu, G. Investigation on disk friction loss and leakage effect on performance in a Francis model turbine. Adv. Mech. Eng. 2017, 9. [Google Scholar] [CrossRef]
- Casartelli, E.; Cimmino, D.; Staubli, T.; Gentner, C. Interaction of leakage flow with the main runner-outflow in a Francis turbine. In Proceedings of the HYDRO 2005, Villach, Austria, 17–20 October 2005. [Google Scholar]
- Casartelli, E.; Staubli, T.; Lucerne, H.; Daniele, S.; Pumps, C.; Sallaberger, M. Impact of Rotor Side Space Flow on Draft Tube Performance; HydroVision: Spokane, WA, USA, 2006. [Google Scholar]
- Gautam, S.; Neopane, H.; Acharya, N.; Chitrakar, S.; Thapa, B.; Zhu, B. Sediment erosion in low specific speed francis turbines: A case study on effects and causes. Wear 2019, 203152. [Google Scholar] [CrossRef]
- Rhode, D.L.; Demko, J.A.; Traegner, U.K.; Morrison, G.L.; Sobolik, S.R. Prediction of Incompressible Flow in Labyrinth Seals. J. Fluids Eng. 1986, 108, 19–25. [Google Scholar] [CrossRef]
- Rhode, D.L.; Johnson, J.W.; Broussard, D.H. Flow Visualization and Leakage Measurements of Stepped Labyrinth Seals: Part 1—Annular Groove. J. Turbomach. 1997, 119, 839–843. [Google Scholar] [CrossRef]
- Wang, W.; Liu, Y.; Jiang, P.N.; Chen, H. Numerical analysis of leakage flow through two labyrinth seal. J. Hydrodyn. 2007, 19, 107–112. [Google Scholar] [CrossRef]
- Younger, J. Flow Visualization and Leakage Measurements of Stepped Labyrinth Seals: Part 2—Sloping Surfaces. J. Turbomach. 2008, 119, 844. [Google Scholar] [CrossRef]
- Bouderlique, R.; Guibault, F.; Garon, A.; Vu, T. A Computational Model for Hydraulic Labyrinth Seals. In Proceedings of the ASME 2010 3rd Joint US-European Fluids Engineering Summer Meeting Collocated with 8th International Conference on Nanochannels, Microchannels, and Minichannels, Montreal, QC, Canada, 1–5 August 2010. [Google Scholar] [CrossRef]
- Wang, W.; Su, S.; Yan, Y. Study on Comb Labyrinth Seals of Francis Turbine at Different Reynolds Number. Appl. Mech. Mater. 2013, 423–426. [Google Scholar] [CrossRef]
- Li, X.; Yang, J.; Xu, W. Research and comparison on the leakage and fluid force between the axial and the radial labyrinth seal. J. Mech. Sci. Technol. 2015, 29, 4611–4620. [Google Scholar] [CrossRef]
- Guelich, J. Disk Friction Losses of closed Turbomachine Impellers. Forsch. Im Ing. 2003, 68. [Google Scholar] [CrossRef]
- Trivedi, C.; Cervantes, M.; Dahlhaug, O. Experimental and Numerical Studies of a High-Head Francis Turbine: A Review of the Francis-99 Test Case. Energies 2016, 9, 74. [Google Scholar] [CrossRef]
- Thapa, B.; Thapa, B.; Dahlhaug, O. Empirical modelling of sediment erosion in Francis turbines. Energy 2012, 41, 386–391. [Google Scholar] [CrossRef]
- Schultz-Grunow, F. Der Reibungswiderstand rotierender Scheiben in Gehäusen. ZAMM-J. Appl. Math. Mech. 1935, 15, 191–204. [Google Scholar] [CrossRef]
- Ippen, A.T. The influence of viscosity on centrifugal pump performance. Trans. ASME 1946, 68, 823–848. [Google Scholar]
- Nece, R.E.; Daily, J.W. Roughness Effects on Frictional Resistance of Enclosed Rotating Disks. J. Basic Eng. 1960, 82, 553–560. [Google Scholar] [CrossRef]
- Poullikkas, A. Surface Roughness Effects on Induced Flow and Frictional Resistance of Enclosed Rotating Disks. J. Fluids Eng. 1995, 117. [Google Scholar] [CrossRef]
- Daily, J.; Asbedian, V.; Ernst, W. Enclosed Rotating Disks with Superposed Throughflow: Mean Steady and Periodic Unsteady Characteristics of the Induced Flow; Massachusetts Institute of Technology: Cambridge, MA, USA, 1964. [Google Scholar]
- Chew, J.W.; Vaughan, C.M. Numerical Predictions for the Flow Induced by an Enclosed Rotating Disc; American Society of Mechanical Engineers: New York, NY, USA, 1988. [Google Scholar] [CrossRef]
- Gärtner, W. A Prediction Method for the Frictional Torque of a Rotating Disk in a Stationary Housing with Superimposed Radial Outflow; ASME: New York, NY, USA, 1997. [Google Scholar] [CrossRef]
- Owen, J.M. An Approximate Solution for the Flow Between a Rotating and a Stationary Disk. J. Turbomach. 1989, 111, 323–332. [Google Scholar] [CrossRef]
- Hu, B.; Brillert, D.; Dohmen, H.; Benra, F.K. Investigation on Thrust and Moment Coefficients of a Centrifugal Turbomachine. Int. J. Turbomach. Propuls. Power 2018, 3, 9. [Google Scholar] [CrossRef]
- Coren, D.; Childs, P.; Long, C. Windage sources in smooth-walled rotating disc systems. J. Mech. Eng. Sci. 2009, 223, 873–888. [Google Scholar] [CrossRef]
- Daqiqshirazi, M.; Torabi, R.; Riasi, A.; Nourbakhsh, A. Impeller Gap Width Effect on losses in a Water Pump Numerical Study. In Proceedings of the 23rd Annual International Conference on Mechanical Engineering-ISME2015, Tehran, Iran, 12–14 May 2015. [Google Scholar]
- Nemdili, A. Development of an Empirical Equation to Predict the Disc Friction Losses of a Centrifugal Pump. In Proceedings of the 6th International Conference on Hydraulic Machinery and Hydrodynamics, Timisoara, Romania, 21–22 October 2004. [Google Scholar]
- Mikhail, S.; Khalafallah, M.G.; El-Nady, M. Disk Friction Loss in Centrifugal and Mixed Flow Pumps. In Proceedings of the ICFDP7: Seventh International Congress on Fluid Dynamics and Propulsion, Cairo, Egypt, 18–20 December 2001. [Google Scholar]
- Cho, L.; Lee, S.; Cho, J. Use of CFD Analyses to Predict Disk Friction Loss of Centrifugal Compressor Impellers. Jpn. Soc. Aeronaut. Space Sci. Trans. 2012, 55, 150–156. [Google Scholar] [CrossRef][Green Version]
- Tamm, A.; Stoffel, B. The Influences of Gap Clearance and Surface Roughness on Leakage Loss and Disc Friction of Centrifugal Pumps; American Society of Mechanical Engineers: New York, NY, USA, 2002; Volume 257. [Google Scholar] [CrossRef]
- Fukuda, H. The Effects of Runner Surface Roughness on the Performance of a Francis Turbine. Trans. Jpn. Soc. Mech. Eng. 1963, 29, 1284–1293. [Google Scholar] [CrossRef][Green Version]
- Gülich, J.F. Effect of Reynolds Number and Surface Roughness on the Efficiency of Centrifugal Pumps. J. Fluids Eng. 2003, 125, 670–679. [Google Scholar] [CrossRef]
- Brodersen, S. Reduzierung der Scheibenreibung bei Strömungsmaschinen. Forsch. Im Ing. 1993, 59, 184–186. [Google Scholar] [CrossRef]
- Kurokawa, J.; Toyokura, T. Axial Thrust, Disk Friction Torque and Leakage Loss of Radial Flow Turbomachinery. In Proceedings of the International Conference on Design and Operation of Pumps and Turbines, Glasgow, UK, 1–3 September 1976. [Google Scholar]
- Maruzewski, P.; Hasmatuchi, V.; Mombelli, H.; Burggraeve, D.; Iosfin, J.; Finnegan, P.; Avellan, F. Surface Roughness Impact on Francis Turbine Performances and Prediction of Efficiency Step Up. Int. J. Fluid Mach. Syst. 2009, 2. [Google Scholar] [CrossRef]
- Daqiqshirazi, M.; Riasi, A.; Nourbakhsh, A. Numerical Study Of Flow In Side Chambers Of A Centrifugal Pump And Its Effect On Disk Friction Loss. In Proceedings of the IRF International Conference, New Delhi, India, 12 April 2014. [Google Scholar] [CrossRef]
- Schaefer, S.; Olson, E. Experimental evaluation of axial thrust in pumps. World Pumps 1999, 1999, 34–37. [Google Scholar]
- Kurokawa, J.; Toyokura, T. Study on the Axial Thrust of the Radial Flow Turbomachinery: 1st Report, Effects of the Main Parameters. Trans. Jpn. Soc. Mech. Eng. 1975, 41, 1753–1762. [Google Scholar] [CrossRef]
- Evgen’ev, S.; Petrosyan, G.; Futin, V. Calculation of axial gasodynamic forces, disk friction losses and overflow in semiopen impellers of centrifugal compressors. Russ. Aeronaut. 2009, 52, 319–326. [Google Scholar] [CrossRef]
- Zhao, X.; Zhu, L. Study on Improving the Empirical Formula of Calculating Francis Turbine’s Axial Hydro-Thrust. Appl. Mech. Mater. 2015, 733, 619–622. [Google Scholar] [CrossRef]
- Ji, X.Y.; Li, X.B.; Su, W.T.; Lai, X.; Zhao, T.X. On the hydraulic axial thrust of Francis hydro-turbine. J. Mech. Sci. Technol. 2016, 30, 2029–2035. [Google Scholar] [CrossRef]
- Xia, B.; Kong, F.; Zhang, H.; Yang, L.; Qian, W. Investigation of axial thrust deviation between the theory and experiment for high-speed mine submersible pump. Adv. Mech. Eng. 2018, 10. [Google Scholar] [CrossRef]
- Guelich, J.; Jud, W.; Hughes, S.F. Review of Parameters Influencing Hydraulic Forces on Centrifugal Impellers. Proc. Inst. Mech. Eng. Part A Power Process Eng. 1987, 201, 163–174. [Google Scholar] [CrossRef]
- Shi, W.D.; Wang, H.L.; Ling, Z.; Chuan, W. The Estimation and Experiment of Axial Force in Deep Well Pump Basing on Numerical Simulation. Int. J. Mod. Educ. Comput. Sci. 2010, 2. [Google Scholar] [CrossRef]
- Iino, T.; Sato, H.; Miyashiro, H. Hydraulic Axial Thrust in Multistage Centrifugal Pumps. J. Fluids Eng. 1980, 102, 64–69. [Google Scholar] [CrossRef]
- Yamashita, T.; Watanabe, S.; Hara, Y.; Watanabe, H.; Miyagawa, K. Measurements of Axial and Radial Thrust Forces Working on a Three-Stages Centrifugal Pump Rotor. In Proceedings of the ASME/JSME/KSME 2015 Joint Fluids Engineering Conference, Seoul, Korea, 26–31 July 2015. [Google Scholar] [CrossRef]
- Pehlivan, H.; Parlak, Z. Investigation of Parameters Affecting Axial Load in an End Suction Centrifugal Pump by Numerical Analysis. J. Appl. Fluid Mech. 2019, 12, 1615–1627. [Google Scholar] [CrossRef]
- Gantar, M.; Florjancic, D.; Sirok, B. Hydraulic Axial Thrust in Multistage Pumps—Origins and Solutions. J. Fluids Eng.-Trans. 2002, 124. [Google Scholar] [CrossRef]
- Della, G.S.; Salvadori, S.; Adami, P.; Bertolazzi, L. CFD Study for Assessment of Axial Thrust Balance in Centrifugal Multistage Pumps. In Proceedings of the 13th International Conference on Fluid Flow Technologies, Budapest, Hungary, 6–9 September 2006. [Google Scholar]
- Ji, X.; Xu, L.; Liu, X. Calculation of Axial Hydraulic Thrust of Francis Turbine. In Fluids Engineering Division Summer Meeting; American Society of Mechanical Engineers: New York, NY, USA, 2012. [Google Scholar] [CrossRef]
- Kurokawa, J.; Inagaki, M.; Imamura, H.; Taguchi, T.; Niikura, K. Transient Axial Thrust of High-Head Pump-Turbine at Load Rejection. JSME Annu. Meet. 2002. [Google Scholar] [CrossRef]
- Li, J.; Zhang, Y.; Liu, K.H.; Xian, H.Z.; Yu, J.X. Numerical simulation of hydraulic force on the impeller of reversible pump turbines in generating mode. J. Hydrodyn. Ser. B 2017, 29, 603–609. [Google Scholar] [CrossRef]
- Capurso, T.; Bergamini, L.; Torresi, M. Design and CFD performance analysis of a novel impeller for double suction centrifugal pumps. Nucl. Eng. Des. 2019, 341, 155–166. [Google Scholar] [CrossRef]
- Kalinichenko, P.; Suprun, A. Effective Modes of Axial Balancing of Centrifugal Pump Rotor. Procedia Eng. 2012, 39, 111–118. [Google Scholar] [CrossRef]
- Liu, Z.; Xu, L.; Jia, X.; Wu, J.; Wang, D. Analysis of liquid flow and axial force calculation in axial clearance for floating impeller of centrifugal pump. Trans. Chin. Soc. Agric. Eng. 2013, 29, 79–85. [Google Scholar] [CrossRef]
- Kurokawa, J. A New Device to Control Axial Thrust of Radial Flow Turbomachinery. Bull. JSME 1976, 19, 110–117. [Google Scholar] [CrossRef]
- Matsui, J.; Mugiyama, T. Effect of J-Groove on the Axial Thrust in Centrifugal Pump. AIP Conf. 2010, 1225. [Google Scholar] [CrossRef]
- Shimura, T.; Kawasaki, S.; Uchiumi, M.; Kimura, T.; Matsui, J. Internal Flow and Axial Thrust Balancing of a Rocket Pump. J. Fluids Eng. 2012, 134. [Google Scholar] [CrossRef]
- Lefor, D.; Kowalski, J.; Herbers, T.; Mailach, R. Investigation of the potential for optimization of hydraulic axial thrust balancing methods in a centrifugal pump. In Proceedings of the 11th European Conference on Turbomachinery Fluid Dynamics and Thermodynamics, ETC 2015, Jyvaskyla, Finland, 25–27 May 2015. [Google Scholar]
- Celebioglu, K.; Okyay, G.; Yildiz, M. Design of a Francis Turbine for a Small Hydro Power Project in Turkey. In Proceedings of the ASME 2010 10th Biennial Conference on Engineering Systems Design and Analysis, Istanbul, Turkey, 12–14 July 2010. [Google Scholar] [CrossRef]
- Ibrahim, A.A. Balancing Axial Thrust in the Single–Suction one stage Centrifugal Pump by Hydraulic Balance Holes. J. Univ. Babylon 2016, 24, 1017–1022. [Google Scholar]
- Cao, W.D.; Dai, X.; Hu, Q.X. Effect of impeller reflux balance holes on pressure and axial force of centrifugal pump. J. Cent. South Univ. 2015, 22, 1695–1706. [Google Scholar] [CrossRef]
- Godbole, V.; Patil, R.; Gavade, S.S. Axial Thrust in Centrifugal Pumps-Experimental Analysis. In Proceedings of the 15th International Conference on Experimental Mechanics, Porto, Portugal, 22–27 July 2012. [Google Scholar]
- Mortazavi, F.; Riasi, A.; Nourbakhsh, S. Numerical Investigation of Back Vane Design and Its Impact on Pump Performance. J. Fluids Eng. 2017, 139. [Google Scholar] [CrossRef]
- Hong, F.; Yuan, J.; Heng, Y.; Fu, Y.; Zhou, B.; Zong, W. Numerical Optimal Design of Impeller Back Pump-Out Vanes on Axial Thrust in Centrifugal Pumps. In Fluids Engineering Division Summer Meeting; American Society of Mechanical Engineers: New York, NY, USA, 2013. [Google Scholar] [CrossRef]
- Guinzburg, A.; Brennen, C.; Acosta, A.; Caughey, T. Experimental Results for the Rotordynamic Characteristics of Leakage Flows in Centrifugal Pumps. J. Fluids Eng. 1994, 116. [Google Scholar] [CrossRef]
- Storteig, E. Dynamic Characteristics and Leakage Performance of Liquid Annular Seals in Centrifugal Pumps. Ph.D. Thesis, Norwegian University of Science and Technology, Trondheim, Norway, 2000. [Google Scholar]
- Childs, D.W. Finite-Length Solutions for Rotordynamic Coefficients of Turbulent Annular Seals. J. Lubr. Technol. 1983, 105, 437–444. [Google Scholar] [CrossRef]
- Childs, D.W. Fluid-Structure Interaction Forces at Pump-Impeller-Shroud Surfaces for Rotordynamic Calculations. J. Vib. Acoust. Stress. Reliab. Des. 1989, 111, 216–225. [Google Scholar] [CrossRef]
- Childs, D.W. Centrifugal-Acceleration Modes for Incompressible Fluid in the Leakage Annulus Between a Shrouded Pump Impeller and Its Housing. J. Vib. Acoust. 1991, 113, 209–218. [Google Scholar] [CrossRef]
- Childs, D.W. Fluid-Structure Interaction Forces at Pump-Impeller-Shroud Surfaces for Axial Vibration Analysis. J. Vib. Acoust. 1991, 113, 108–115. [Google Scholar] [CrossRef]
- Guinzburg, A.; Brennen, C.; Acosta, A.; Caughey, T. The Effect of Inlet Swirl on the Rotordynamic Shroud Forces in a Centrifugal Pump. J. Eng. Gas Turbines Power 1993, 115. [Google Scholar] [CrossRef]
- Jery, B.B.; Christopher, E.; Caughey, T.K.; Acosta, A. Forces on Centrifugal Pump Impellers. In Proceedings of the 2nd International Pump Symposium, College Station, TX, USA, 23 April 1985. [Google Scholar]
- Adkins, D.R. Analyses of Hydrodynamic Forces on Centrifugal Pump Impellers. Ph.D. Thesis, California Institute of Technology, Pasadena, CA, USA, 1986. [Google Scholar]
- Adkins, D.; Brennen, C. Analyses of Hydrodynamic Radial Forces on Centrifugal Pump Impellers. ASME J. Fluids Eng. 1988, 110. [Google Scholar] [CrossRef]
- Guinzburg, A.; Brennen, C.; Acosta, A.; Caughey, T. Rotordynamic Forces Generated by Discharge-to-Suction Leakage Flows in Centrifugal Pumps. In Proceedings of the 1990 Conference on Advanced Earth-to-Orbit Propulsion Technology, Austin, TX, USA, 3–4 April 1990. [Google Scholar] [CrossRef]
- Uy, R.; Brennen, C. Experimental Measurements of Rotordynamic Forces Caused by Front Shroud Pump Leakage. J. Fluids Eng. 1999, 121. [Google Scholar] [CrossRef]
- Baskharone, E.A.; Daniel, A.S.; Hensel, S.J. Rotordynamic Effects of the Shroud-to-Housing Leakage Flow in Centrifugal Pumps. J. Fluids Eng. 1994, 116, 558–563. [Google Scholar] [CrossRef]
- Uy, R.; Bircumshaw, B.; Brennen, C. Rotordynamic Forces from Discharge-to-Suction Leakage Flows in Centrifugal Pumps: Effects of Geometry. JSME Int. J. Ser. B 1998, 41. [Google Scholar] [CrossRef]
- Sivo, J.M.; Acosta, A.J.; Brennen, C.E.; Caughey, T.K. The Influence of Swirl Brakes on the Rotordynamic Forces Generated by Discharge-to-Suction Leakage Flows in Centrifugal Pumps. J. Fluids Eng. 1995, 117, 104–108. [Google Scholar] [CrossRef]
- Hsu, Y.; Brennen, C. Effect of Swirl on Rotordynamic Forces Caused by Front Shroud Pump Leakage. J. Fluids Eng. 2002, 124. [Google Scholar] [CrossRef]
- Gagnon, M.; Nicolle, J. On variations in turbine runner dynamic behaviours observed within a given facility. In Proceedings of the IOP Conference Series: Earth and Environmental Science, Ho Chi Minh City, Vietnam, 25–28 February 2019. [Google Scholar] [CrossRef]
- Ohashi, H. Case Study of Pump Failure Due to Rotor-Stator Interaction. Int. J. Rotating Mach. 1994, 1. [Google Scholar] [CrossRef]
- Coutu, A.; Roy, M.D.; Nennemann, B. Experience with Rotor-Stator interactions in high head Francis runner. In Proceedings of the IAHR 24th Symposium on Hydraulic Machinery and Systems, Foz Do Iguassu, Brazil, 27–31 October 2008. [Google Scholar]
- Egusquiza, E.; Valero, C.; Huang, X.; Jou, E.; Guardo-Zabaleta, A.; Rodriguez, C. Failure investigation of a large pump-turbine runner. Eng. Fail. Anal. 2012, 19, 27–34. [Google Scholar] [CrossRef]
- Brekke, H. A Review on Work on Oscillatory Problems in Francis Turbines. In New Trends in Technologies; IntechOpen: London, UK, 2010. [Google Scholar] [CrossRef]
- Egusquiza, E.; Valero, C.; Liang, Q.; Coussirat, M.; Seidel, U. Fluid Added Mass Effect in the Modal Response of a Pump-Turbine Impeller. In Proceedings of the International Design Engineering Technical Conferences and Computers and Information in Engineering Conference, San Diego, CA, USA, 30 August–2 September 2009. [Google Scholar] [CrossRef]
- He, L.Y.; He, Y.; Luo, Y.Y.; Wang, Z.W. Investigation on fluid added mass effect in the modal response of a pump-turbine runner. IOP Conf. Ser. Mater. Sci. Eng. 2013, 52, 022038. [Google Scholar] [CrossRef]
- Rodriguez, C.; Egusquiza, E.; Escaler, X.; Liang, Q.; Avellan, F. Experimental investigation of added mass effects on a Francis turbine runner in still water. J. Fluids Struct. 2006, 22, 699–712. [Google Scholar] [CrossRef]
- Liang, Q.; Rodriguez, C.; Egusquiza, E.; Escaler, X.; Farhat, M.; Avellan, F. Numerical simulation of fluid added mass effect on a francis turbine runner. Comput. Fluids 2007, 36, 1106–1118. [Google Scholar] [CrossRef]
- di Mare, M.; Imregun, J.S.; Green, A.I.; Sayma, L. A Numerical Study of Labyrinth Seal Flutter. J. Tribol. 2010, 132, 022201. [Google Scholar] [CrossRef]
- Rodriguez, C.; Flores, P.; Pierart, F.; Contzen, L.; Egusquiza, E. Capability of structural–acoustical FSI numerical model to predict natural frequencies of submerged structures with nearby rigid surfaces. Comput. Fluids 2012, 64, 117–126. [Google Scholar] [CrossRef]
- Agnalt, E. Rotor-Stator Interaction in Low-Specific Speed Francis Turbines. Ph.D. Thesis, Norwegian University of Science and Technology, Trondheim, Norway, 2019. [Google Scholar]
- Tanaka, H. Vibration Behavior and Dynamic Stress of Runners of Very High Head Reversible Pump-turbines. Int. J. Fluid Mach. Syst. 2011, 4, 289–306. [Google Scholar] [CrossRef]
- Valentin, D.; Presas, A.; Egusquiza, E.; Valero, C. Influence of the added mass effect and boundary conditions on the dynamic response of submerged and confined structures. In Proceedings of the IOP Conference Series: Earth and Environmental Science, Jakarta, Indonesia, 23–24 January 2014. [Google Scholar] [CrossRef]
- Valentín, D.; Ramos, D.; Bossio, M.; Presas, A.; Egusquiza, E.; Valero, C. Influence of the boundary conditions on the natural frequencies of a Francis turbine. In Proceedings of the IOP Conference Series: Earth and Environmental Science, Beijing, China, 7–8 July 2016. [Google Scholar] [CrossRef]
- Trivedi, C.; Cervantes, M. Fluid-structure interactions in Francis turbines: A perspective review. Renew. Sustain. Energy Rev. 2017, 68, 87–101. [Google Scholar] [CrossRef]
- Kaji, S.; Okazaki, T. Generation of sound by rotor-stator interaction. J. Sound Vib. 1970, 13, 281–307. [Google Scholar] [CrossRef]
- Dring, R.P.; Joslyn, H.D.; Hardin, L.W.; Wagner, J.H. Turbine Rotor-Stator Interaction. J. Eng. Power 1982, 104, 729–742. [Google Scholar] [CrossRef]
- Rodriguez, C.G.; Egusquiza, E.; Santos, I.F. Frequencies in the Vibration Induced by the Rotor Stator Interaction in a Centrifugal Pump Turbine. J. Fluids Eng. 2007, 129, 1428–1435. [Google Scholar] [CrossRef]
- Yan, J.; Koutnik, J.; Seidel, U.; Hübner, B. Compressible Simulation of Rotor-Stator Interaction in Pump-Turbines. Int. J. Fluid Mach. Syst. 2010, 3, 315–323. [Google Scholar] [CrossRef][Green Version]
- Anup, K.C.; Thapa, B.; Lee, Y.H. Transient numerical analysis of rotor–stator interaction in a Francis turbine. Renew. Energy 2014, 65, 227–235. [Google Scholar] [CrossRef]
- Agnalt, E.; Iliev, I.; Solemslie, B.; Dahlhaug, O. On the Rotor Stator Interaction Effects of Low Specific Speed Francis Turbines. Int. J. Rotating Mach. 2019, 2019, 11. [Google Scholar] [CrossRef]
- KSB Pumps Ltd. Centrifugal Pump Lexicon; KSB: Frankenthal, Germany, 1975. [Google Scholar]






















| Reference | Included Effects | |
|---|---|---|
| Schultz-Grunow [80] | regime of the flow | , |
| Ippen [81] | regime of the flow | , |
| Necce and Daily [82] | regime of the flow | , , , |
| Necce and Daily [82] | roughness | |
| Poullikkas [83] | regime of the flow, roughness | |
| Daily et al. [84] | regime of the flow, throughflow | |
| Gärtner [86] | regime of the flow, throughflow | |
| Owen [87] | regime of the flow, direction of throughflow | , where |
| Hu et al. [17] | regime of the flow, direction of throughflow | , |
| Hu et al. [88] | regime of the flow, direction of throughflow | , |
| Coren et al. [89] | regime of the flow, throughflow |
Publisher’s Note: MDPI stays neutral with regard to jurisdictional claims in published maps and institutional affiliations. |
© 2020 by the authors. Licensee MDPI, Basel, Switzerland. This article is an open access article distributed under the terms and conditions of the Creative Commons Attribution (CC BY) license (http://creativecommons.org/licenses/by/4.0/).
Share and Cite
Zemanová, L.; Rudolf, P. Flow Inside the Sidewall Gaps of Hydraulic Machines: A Review. Energies 2020, 13, 6617. https://doi.org/10.3390/en13246617
Zemanová L, Rudolf P. Flow Inside the Sidewall Gaps of Hydraulic Machines: A Review. Energies. 2020; 13(24):6617. https://doi.org/10.3390/en13246617
Chicago/Turabian StyleZemanová, Lucie, and Pavel Rudolf. 2020. "Flow Inside the Sidewall Gaps of Hydraulic Machines: A Review" Energies 13, no. 24: 6617. https://doi.org/10.3390/en13246617
APA StyleZemanová, L., & Rudolf, P. (2020). Flow Inside the Sidewall Gaps of Hydraulic Machines: A Review. Energies, 13(24), 6617. https://doi.org/10.3390/en13246617

