A Probabilistic Statistical Method for the Determination of Void Morphology with CFD-DEM Approach
Abstract
1. Introduction
2. Materials and Methods
2.1. Modeling
2.1.1. Particle Movements Described in DEM
2.1.2. Governing Equations for Gas Phase in CFD
2.1.3. The Coupling of Particle and Gas
2.1.4. Simulation Conditions and Procedure
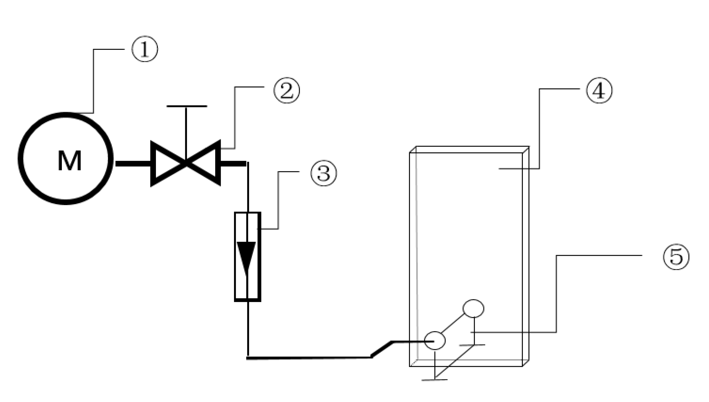
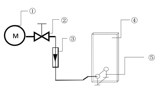
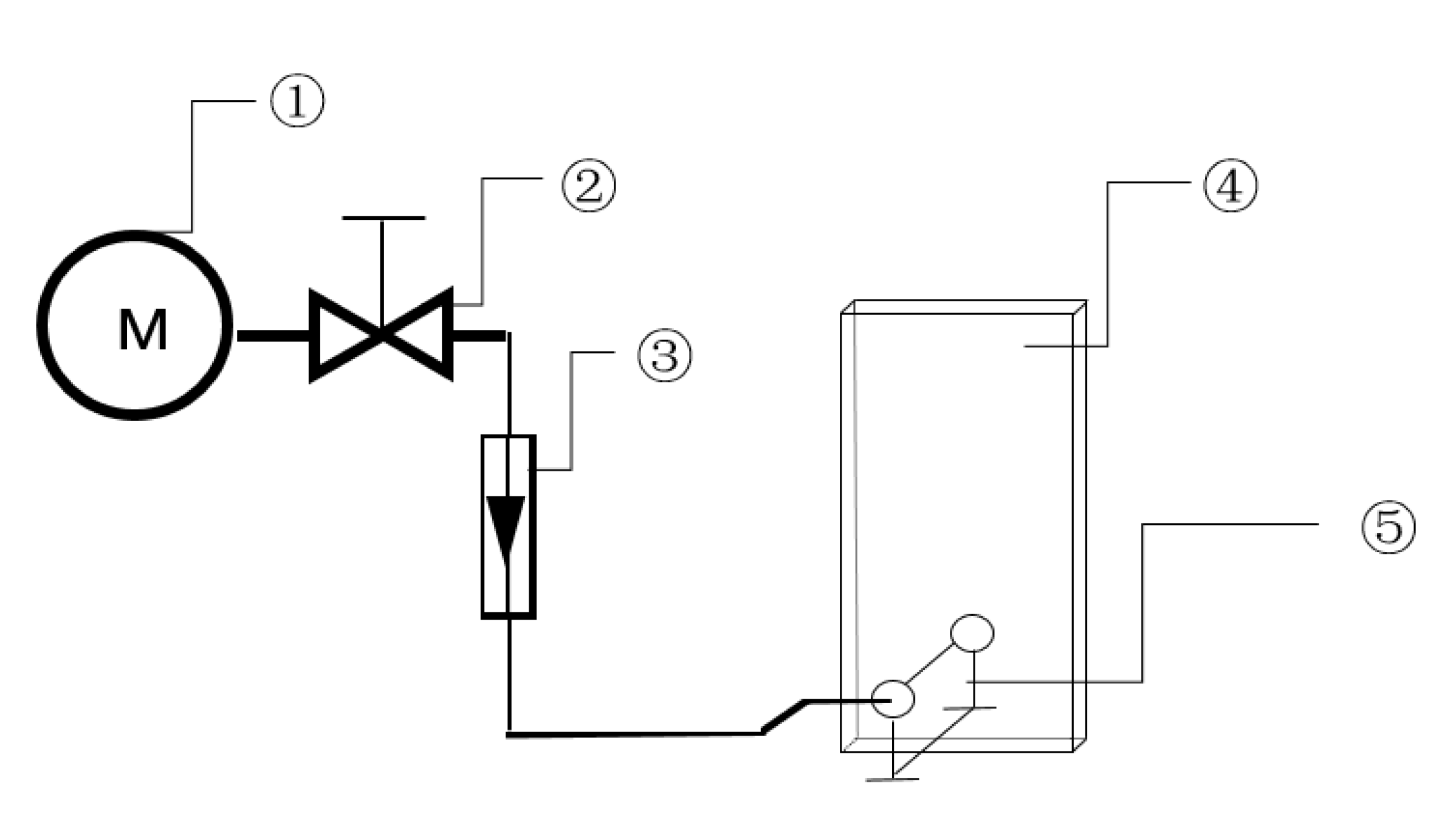
2.2. Experiment to Verify Mathematical Modeling
2.3. Probabilistic Method to Determine Void Morphology
3. Results
3.1. Verification of the Modeling
3.2. Dynamic Stability Characteristics of Void
3.3. Determination of Dynamically Steady Void Morphology
3.4. Void Morphology Formed under a Series of Gas Velocities
4. Conclusions
Author Contributions
Funding
Conflicts of Interest
Appendix A. Mode Detailed Equations of Drag Force Calculation
| Forces or Torque | Symbols | Equation |
|---|---|---|
| Normal contact force | Fcn,ij | |
| Normal damping force | Fcd,ij | |
| Tangential contact force | Fct,ij | |
| Tangential damping force | Fdt,ij | |
| Coulomb friction force | Ft,ij | |
| Torque by tangential forces | Mt,ij | |
| Rolling friction torque | Mn,ij |
Appendix B. Experiment

- Connect the experimental equipment;
- Open air compressor and close after checking for air leakage;
- Pour particles into the model for a certain height, and make the surface horizontal;
- Open the air compressor and increase the flow rate to the experimental condition;
- Take photos after the void is stabilized;
- Using software to calculate the void size.
| Properties | Value | Properties | Value |
|---|---|---|---|
| Length (mm) | 260 | Gas density (kg/m3) | 1.23 |
| Height (mm) | 600 | Gas viscosity (kg/(m·s)) | 1.78 × 10−5 |
| Thickness (mm) | 17.7 | Gas flow rate (m3/h) | 16 |
| Tuyere diameter (mm) | 10 | Particle materials | PMMA |
| Tuyere depth (mm) | 30 | Particle diameter (mm) | 3–4 |
| Tuyere center height (mm) | 50 | Particle bulk density (kg/m3) | 1000 |
| Packed bed height (mm) | 350 | Particle angle of repose (°) | 35–45 |

Appendix C. Probabilistic Statistical Method

References
- Xu, J.; Yu, S.; Wang, N.; Chen, M.; Shen, Y. Characterization of high-turbulence zone in slowly moving bed slagging coal gasifier by a 3D mathematical model. Powder Technol. 2017, 314, 524–531. [Google Scholar] [CrossRef]
- Wei, G.; Zhang, H.; An, X.; Xiong, B.; Jiang, S. CFD-DEM study on heat transfer characteristics and microstructure of the blast furnace raceway with ellipsoidal particles. Powder Technol. 2019, 346, 350–362. [Google Scholar] [CrossRef]
- Sun, J.; Luo, Z.; Zou, Z. Numerical simulation of raceway phenomena in a COREX melter-gasifier. Powder Technol. 2015, 281, 159–166. [Google Scholar] [CrossRef]
- Flint, P.J.; Burgess, J.M. A fundamental study of raceway size in two dimensions. Metall. Trans. B 1992, 23, 267–283. [Google Scholar] [CrossRef]
- Macdonald, J.F.; Bridgwater, J. Void formation in stationary and moving beds. Chem. Eng. Sci. 1997, 52, 677–691. [Google Scholar] [CrossRef]
- Gupta, G.S.; Litster, J.D.; Rudolph, V.; White, E.T.; Domanti, A. Model Studies of Liquid Flow in the Blast Furnace Lower Zone. ISIJ Int. 1996, 36, 32–39. [Google Scholar] [CrossRef]
- Wagstaff, J.B.; Holman, W.H. Comparison of blast furnace penetration with model studies. Jom 1957, 9, 370–376. [Google Scholar] [CrossRef]
- Szekely, J.; Poveromo, J.J. A mathematical and physical representation of the raceway region in the iron blast furnace. Metall. Mater. Trans. B 1975, 6, 119–130. [Google Scholar] [CrossRef]
- Sarkar, S.; Gupta, G.S.; Kitamura, S.-Y. Prediction of Raceway Shape and Size. ISIJ Int. 2007, 47, 1738–1744. [Google Scholar] [CrossRef][Green Version]
- Rajneesh, S.; Gupta, G.S. Importance of frictional forces on the formation of cavity in a packed bed under cross flow of gas. Powder Technol. 2003, 134, 72–85. [Google Scholar] [CrossRef]
- Gupta, G.S.; Rajneesh, S.; Singh, V.; Sarkar, S.; Rudolph, V.; Litster, J.D. Mechanics of raceway hysteresis in a packed bed. Metall. Mater. Trans. B 2005, 36, 755–764. [Google Scholar] [CrossRef]
- Nogami, H.; Kawai, H.; Yagi, J.-I. Measurement of Three-Dimensional Raceway Structure in Small Scale Cold Model by X-ray Computed Tomography. Tetsu-to-Hagane 2014, 100, 256–261. [Google Scholar] [CrossRef]
- Luo, Z.G.; Sun, Y.; Liu, H.H.; Zou, Z.S. Determination of raceway boundary with particle velocity contour. Chin. J. Process. Eng. 2009, 9, 228–232. [Google Scholar]
- Di, Z.; Luo, Z.; Han, Y.; Zou, Z.; Li, L. Fractal Study on Raceway Boundary. J. Iron Steel Res. Int. 2011, 18, 16–19. [Google Scholar] [CrossRef]
- Lu, Y.; Jiang, Z.; Zhang, X.; Liu, S.; Wang, J.; Zhang, X. Determination of void boundary in a packed bed by laser attenuation measurement. Particuology 2020, 51, 72–79. [Google Scholar] [CrossRef]
- Rangarajan, D.; Shiozawa, T.; Shen, Y.; Curtis, J.S.; Yu, A. Influence of Operating Parameters on Raceway Properties in a Model Blast Furnace Using a Two-Fluid Model. Ind. Eng. Chem. Res. 2014, 53, 4983–4990. [Google Scholar] [CrossRef]
- Kawaguchi, T.; Tanaka, T.; Tsuji, Y. Numerical simulation of two-dimensional fluidized beds using the discrete element method (comparison between the two- and three-dimensional models). Powder Technol. 1998, 96, 129–138. [Google Scholar] [CrossRef]
- Tsuji, Y.; Kawaguchi, T.; Tanaka, T. Discrete particle simulation of two-dimensional fluidized bed. Powder Technol. 1993, 77, 79–87. [Google Scholar] [CrossRef]
- Tsuji, Y.; Tanaka, T.; Ishida, T. Lagrangian numerical simulation of plug flow of cohesionless particles in a horizontal pipe. Powder Technol. 1992, 71, 239–250. [Google Scholar] [CrossRef]
- Xu, B.H.; Yu, A.B.; Chew, S.J.; Zulli, P. Numerical simulation of the gas-solid flow in a bed with lateral gas blasting. Powder Technol. 2000, 109, 13–26. [Google Scholar] [CrossRef]
- Miao, Z.; Zhou, Z.; Yu, A.; Shen, Y.J.P.T. CFD-DEM simulation of raceway formation in an ironmaking blast furnace. Powder Technol. 2017, 314, 542–549. [Google Scholar] [CrossRef]
- Guo, J.; Cheng, S.; Zhao, H.; Pan, H.; Du, P.; Teng, Z. A Mechanism Model for Raceway Formation and Variation in a Blast Furnace. Metall. Mater. Trans. Part B. 2013, 44, 487–494. [Google Scholar] [CrossRef]
- Umekage, T.; Yuu, S.; Kadowaki, M.J.I.I. Numerical Simulation of Blast Furnace Raceway Depth and Height, and Effect of Wall Cohesive Matter on Gas and Coke Particle Flows. ISIJ Int. 2005, 45, 1416–1425. [Google Scholar] [CrossRef]
- Santana, E.R.; Pozzetti, G.; Peters, B. Application of a dual-grid multiscale CFD-DEM coupling method to model the raceway dynamics in packed bed reactors. Chem. Eng. Sci. 2019, 205, 46–57. [Google Scholar] [CrossRef]
- Cundall, P.A.; Strack, O.D.L. Discussion: A discrete numerical model for granular assemblies. Geotechnique 1980, 30, 331–336. [Google Scholar] [CrossRef]
- Mindlin, R.D.; Deresiewicz, H. Elastic Spheres in Contact under Varying Oblique Forces. J. Appl. Mech-T ASME 1953, 20, 327–344. [Google Scholar]
- Dong, Z.; Wang, J.; Liu, J.; She, X.; Xue, Q.; Lin, L. Gas-Solid Flow and Injected Gas Distribution in OBF Analyzed by DEM-CFD. In CFD Modeling and Simulation in Materials Processing 2016; Springer LLC: Synergy Flavors, OH, USA, 2016; pp. 229–237. [Google Scholar]
- Ergun, S. Fluid Flow through Packed Column. Chem. Eng. Prog. 1952, 48, 89–94. [Google Scholar]
- Wen, C.Y.; Yu, Y.H. Mechanics of Fluidization. Chem. Eng. Prog. Symp. Ser. 1966, 62, 100–111. [Google Scholar]
- Zhou, Z.; Zhu, H.; Wright, B.; Yu, A.; Zulli, P. Gas–solid flow in an ironmaking blast furnace-II: Discrete particle simulation. Powder Technol. 2011, 208, 72–85. [Google Scholar] [CrossRef]
- Otsu, N. A Threshold Selection Method from Gray-Level Histograms. IEEE Trans. Syst. Man Cybern. 1979, 9, 62–66. [Google Scholar] [CrossRef]
- Pashchenko, D. Flow dynamic in a packed bed filled with Ni-Al2O3 porous catalyst: Experimental and numerical approach. AIChE 2019, 65, e16558. [Google Scholar] [CrossRef]
- Pashchenko, D.; Karpilov, I.; Mustafin, R. Numerical calculation with experimental validation of pressure drop in a fixed-bed reactor filled with the porous elements. AIChE 2020, 66, e16937. [Google Scholar] [CrossRef]
- Hilton, J.E.; Cleary, P.W. Raceway formation in laterally gas-driven particle beds. Chem. Eng. Sci. 2012, 80, 306–316. [Google Scholar] [CrossRef]
- Cui, J.; Hou, Q.; Shen, Y. CFD-DEM study of coke combustion in the raceway cavity of an ironmaking blast furnace. Powder Technol. 2020, 362, 539–549. [Google Scholar] [CrossRef]






| Symbol | Parameter | Value |
|---|---|---|
| e | Restitution coefficient | 0.1 |
| μs,p-p | Particle–particle static friction coefficient | 0.63 |
| μs,p-w | Particle–wall static friction coefficient | 0.56 (particle–wall) 0 (particle–stressless wall) |
| μr | Rolling friction coefficient | 0.32 |
© 2020 by the authors. Licensee MDPI, Basel, Switzerland. This article is an open access article distributed under the terms and conditions of the Creative Commons Attribution (CC BY) license (http://creativecommons.org/licenses/by/4.0/).
Share and Cite
Lu, Y.; Liu, S.; Zhang, X.; Jiang, Z.; E, D. A Probabilistic Statistical Method for the Determination of Void Morphology with CFD-DEM Approach. Energies 2020, 13, 4041. https://doi.org/10.3390/en13164041
Lu Y, Liu S, Zhang X, Jiang Z, E D. A Probabilistic Statistical Method for the Determination of Void Morphology with CFD-DEM Approach. Energies. 2020; 13(16):4041. https://doi.org/10.3390/en13164041
Chicago/Turabian StyleLu, Yuanxiang, Sihan Liu, Xinru Zhang, Zeyi Jiang, and Dianyu E. 2020. "A Probabilistic Statistical Method for the Determination of Void Morphology with CFD-DEM Approach" Energies 13, no. 16: 4041. https://doi.org/10.3390/en13164041
APA StyleLu, Y., Liu, S., Zhang, X., Jiang, Z., & E, D. (2020). A Probabilistic Statistical Method for the Determination of Void Morphology with CFD-DEM Approach. Energies, 13(16), 4041. https://doi.org/10.3390/en13164041

