Next Article in Journal
Study on Daylighting Optimization in the Exhibition Halls of Museums for Chinese Calligraphy and Painting Works
Next Article in Special Issue
Model-Independent Derivative Control Delay Compensation Methods for Power Systems
Previous Article in Journal
Public Perceptions of Energy Scarcity and Support for New Energy Technologies: A Western U.S. Case Study
Previous Article in Special Issue
Research on Transformer Partial Discharge UHF Pattern Recognition Based on Cnn-lstm
 
 
Font Type:
Arial Georgia Verdana
Font Size:
Aa Aa Aa
Line Spacing:
Column Width:
Background:
Case Report

Modelling Selected Parameters of Power Grid Network in the South-Eastern Part of Poland: The Case Study

1
Department of Power Electronics and Power Engineering, Rzeszów University of Technology, Al. Powstańców Warszawy 12, 35-959 Rzeszów, Poland
2
Department of Complex Systems, Rzeszów University of Technology, Al. Powstańców Warszawy 12, 35-959 Rzeszów, Poland
*
Author to whom correspondence should be addressed.
Energies 2020, 13(1), 239; https://doi.org/10.3390/en13010239
Submission received: 23 November 2019 / Revised: 24 December 2019 / Accepted: 31 December 2019 / Published: 3 January 2020

Abstract

In this paper, a case study is conducted based on the real data obtained from the local Distribution System Operator (DSO) of electrical energy. The analyzed network represents connections and high-voltage switchgears of 110 kV. Selected graph parameters—vertex degree distribution, the average vertex degree, the graph density, network efficiency, the clustering coefficient, the average path length, and the graph diameter were examined, taking into account that in the analysis, some nodes were removed due to the different failures. For each failure, the possible effects on network parameters were tested. As a final result, it was shown that in the analyzed case, the removal of only five nodes could cause a significant (almost four times) fall of graph efficiency. In turn, this means that the whole analyzed network cannot be considered as a fault-tolerant.

1. Introduction

The theory of complex systems and its applications to modeling network behavior and parameters has brought new methodology and interesting concepts in many areas of science [1]. There are many examples of possible applications [2,3,4,5,6]. Power systems are exposed to a wide range of security threats, including cyber-attacks, failures of its different devices and nodes, weather extreme conditions, terrorist attacks, etc. Many countries try to face these threats by applying smart grid technologies. The research made in the last years gave significant results in reducing the risk of potential blackouts [7]. Nevertheless, serious failures resulting in large-scale blackouts still occur from time to time [8]. Such extreme events have serious consequences not only for the broadly understood economy, power system integrity, national security, etc. but also should be the basis of a deeper look on the possible conclusions. We believe that the theory of complex systems with its conceptual apparatus is the answer. This is very important, taking into account the possible future plans related to the energetic security and energy independence of different countries of the EU (European Union), for example, the electrical power connection (bridge) between Poland and Lithuania.
In 2004, Poland and Lithuania, as members of the EU started a new program devoted to cooperation in the field of development of energy, energetic security, and safety of region, an increase of competitiveness, and protection of the natural environment. Among these activities, we have the actions of Polish refinery Orlen and also plans of direct connection of the Baltic energy markets (BEMIP). In the field of electrical energy, the most important is a construction of power connection between Poland and Lithuania as a counterweight to the existing electrical connections of Lithuania, Latvia, and Estonia with Russia via IPS/UPS (the wide area synchronous transmission grid of some post-Soviet republics) system. A Polish–Lithuanian company, LitPol Link, was established to carry out preliminary work in the construction of the energy bridge project. The company’s shares were divided between Polish Electrical Networks (pl. Polskie Sieci Energetyczne, PSE) and Litgrid AB. This step is toward the guarantee of Central Europe’s electrical energy independence [9].
The quality of the energy supplied is one of the key aspects of a functioning energy system. It is very important not only to deliver power with the best possible quality parameters, such as fluctuations in RMS (root mean square) voltage value, high harmonic content, or frequency fluctuations [10], but also the continuity and reliability of supply is crucial. SAIDI (System Average Interruption Duration Index) and SAIFI (System Average Interruption Frequency Index) parameters [11] allow to easily measure the stability of the supplied energy, indicating the average time of interruptions in the network operation and the frequency of their occurrence, allowing to assess the quality of the topological structure of connections indirectly.
Breakdowns can be caused not only by atmospheric events but can also be caused intentionally, endangering the safety of the industry. In the long run, the reduced stability of the energy sector leads to a decrease in the attractiveness of the economy for investors [12].
Properly designed topology of node connections in power networks allows increasing the resistance of the net to damages caused by intentional and random events [13]. The power grid is an ordered pair of sets S = {D, C}, where D is a set of devices and C a set of mutual relations between these devices, in other words, a set of configurations. The configuration is an unambiguously defined state of the system structure containing current switches off and on. The current configuration can also be represented as a graph G = {V, E} containing nodes V and edges E. The typical approach to determining the state of the network is defined by the KDM and EPC (the formats for recording short-circuit data in power networks, commonly used in Poland) standards for writing power flow data [14].
PSE, the Polish National System Operator, is responsible for the reliability of connections on the highest-voltage lines and on some high-voltage lines, while individual Distribution System Operators (DSO) are responsible for the remaining high-, medium-, and low-voltage lines, whose task is to supply electricity to final customers within the power region. The basis of the policy of electricity supply security is to react as quickly as possible to changes in the system parameters in order to maintain energy quality [15]. Having in mind that the power grid can be modeled as a graph G, in this paper, we focus on possible applications of complex systems and networks theory in modeling power network vulnerability. We will focus only on high-voltage lines and nodes related to DSO Rzeszów in the south-eastern part of Poland.
In this paper, the representation of a real electrical (110 kV) network as a graph of nodes and edges is shown. The topological parameters of the network are analyzed. We assume that this real net has some of the features that are omnipresent in complex networks. Usually, such networks consist of many more nodes and are mostly related to social and media relations, but remembering that power network ensures constant electrical energy transport (flow), the importance of such networks is at least at the same level as others. There aren’t many case studies where the parameters of power networks are shown in terms of complex systems, but having in mind that nowadays the distinction between the energy producer and the energy consumer is very difficult (we have a presumption) the features of real power grid can be (and should be) represented in terms of complex networks features and some calculated parameters will allow to describe not only topological parameters of this network but also have a real physical meaning and can be used for analysis of network stability, consistency, and support protection of network safety. We calculated several topological parameters that describe a real electrical network and show that this network can be seen in terms of complex networks. Our analysis is based on the removal of some network nodes (for instance, this can be understood as their failure), and the significant changes appeared in the whole network topology. They lead to a drop in network efficiency and, in turn, to the increase of the energy transmission cost.
The rest of the paper is organized as follows: the short introduction to complex systems apparatus and the concept of complex networks is given in Section 2. The analysis of case study and source data based on Network Workbench (made by Katy Börner, Alessandro Vespignani, Albert-László Barabási, Indiana University, Bloomington, IN, USA), NetworkX (Aric Hagberg and others, Los Alamos National Laboratory), and Gephi software (initially written by students of University of Technology of Compiègne, The Gephi consortium) packages is given in Section 3. Section 4 shows conclusions and the paper summary.

2. Complex Network Model and Power Grid

The concept of complex systems has its roots dated back to the ‘80s of the 20th century. This concept is based on the general systems theory (GST) proposed in the ‘30s of the 20th century by von Bertalanffy [16,17] and lately developed by Klir [18]. Usually [19] the term system S is understood as a being B consisting of n elements E = {e1, e2, …, en}, each element poses m attributes A = {a1, a2, …, am} and between elements there are k possible different long- or short-range relations R = {r1, r2, …, rk}, S = B(E, A, R). Typically, the definition of complex systems is based on Aristotle’s rule: the whole is more than the sum of its parts, but there are some taxonomies that precise this general definition and explain some important details [20].
Complex systems pose many interesting features that can be described in spatial and temporal domains [21]. In the spatial domain, one of the possible pieces of evidence of complexity in the system are the complex networks. Modelling such networks is usually based on an abstracted graph G = {V, E} containing n nodes (vertices V = {v1, v2, …, vn}) connected by m edges E = {e1, e2, …, em}. The graph topology can be described as an n × n adjacency matrix A = {aij}, where every aij element is 1 (if nodes i and j are connected by the edge) or 0 (if vertices i and j are not connected). Graph G can be seen as weighted (between each node i and j, there is a number ij) or unweighted. In the second case, we are only interested in the fact that there is or no connection, whereas the first case stands for additional information about graph edges: weights ij can represent, e.g., physical distances, cost of transport, communication time, the velocity of the chemical reaction, edge throughput. The second case is a special first-case having ij = 1, ∀ i ≠ j. For every two nodes in the graph, one can calculate the shortest path length dij as the smallest sum of the ij between all the possible paths in the graph between i and j, dij ≥ ℓij, ∀ i ≠ j. We can also define the efficiency εij = 1 / dij, ∀ i ≠ j. If dij = , then εij = 0.
The short paths between i and j nodes mean high efficiency, and over the whole graph, it can be defined as [22]:
E ( G ) = 1 N ( N 1 ) i j G 1 / d i j .
Given the Equation (1), where dij is the shortest path between nodes i and j, it is easy to calculate the average efficiency of the whole network. There are two types of network efficiency: global and local. Global one (defined by Equation (1)) refers to the entire network, but for each vertex i there is a possibility to define the local efficiency Eloc(Gi), which is the average efficiency of the local subgraphs and shows the fault tolerance of the system; it also indicates the efficient communication between the first neighbors of node i when i is removed [22]. It can also be reflected in the cost of the entire network, as well as, the cost of energy transmission. If the efficiency falls, then the cost rises (for example: in transporting information).
The existence of connections between the nearest neighbors of a vertex i can be described by the clustering coefficient C. Suppose that a vertex in the network has ki edges that connect this vertex to other ki nodes. All of these nodes are node i neighbors [14]
( k i 2 ) = k i ( k i 1 ) 2 .
The clustering coefficient Ci of node i is then defined as the ratio between the number Ei of edges that exist among these ki nodes and the total possible number of node connections [14]
C i = 2 E i k ( k i 1 ) .
Going further, the clustering coefficient of a vertex can be defined as the ratio of 3-cliques in which this vertex participates. The clustering coefficient value for the whole network is the average of Ci over all i [14].
The distance between two vertices in a network is the number of edges between them in the shortest path. The maximum of all shortest path lengths is the network diameter. The average path length can be used to measure the scattering of the network [23].
= i j = ( 1 N ( N 1 ) ) i j V i j .
Many complex networks seem to be characterized by the so-called small-world property. Even with a large network size, there is often quite a short path between any two vertices. In complex networks, the average shortest paths between two vertices scales as the logarithm of the number of vertices [23].
For a totally random network, the distribution of node degrees (having direct connection with k vertices) is described by the Poisson’s distribution [24]; however, many studies [24,25,26] in recent years indicate that in some random networks, this is moving away from the classic Poisson’s distribution in favor of the power law distributions, which can be described as:
p ( k ) k r .
Networks described with power-law distributions are called scale-free networks because they can’t be described in any characteristic scale [8]; however, this phenomenon is visible only for networks having a sufficient number of nodes. It is stated in [21] that removing some nodes from the graph will cause cascading consequences, because of the network weakening, but after some time, the system will evolve to a stable state. In the worst-case scenario, the failure of real nodes in the power grid can trigger the whole network cascading outages [21,27]. The wide-area blackouts occur frequently, more than one would expect, and these failures are random and independent. According to United States government reports, the number of blackout accidents has not decreased significantly since 1965, despite the fact that many improvements have been made to the electrical power network [14]. Looking at the problem from the side of complex networks gives a new opportunity to study the possible behavior of the network [13,28].

3. Case Study

In this Section, the power grid (110 kV) data obtained from the DSO for Rzeszów and its surroundings (Figure 1) have been entered into the Gephi software package in the form of a graph. Each network node in Figure 1 represents a separate vertex of the graph (Figure 2). The connections between nodes have been redrawn in the form of graph edges, which means that the network of graph connections is the same as the real layout of the transmission network. The created graph (Figure 2) has 102 vertices and 117 edges. The average vertex degree of the original graph is 2.27, and the average efficiency of the graph is E(G) = 0.18. The average value of the path length in the graph is = 7.66, and its diameter is 20. The vertices degree was calculated basing on the number of edges that are incident to each node. We assume that edges haven’t got the direction (are undirected) because energy flow can be bidirectional.
For security reasons, it is not possible to show all details concerning, e.g., location and exact parameters of the network nodes (note again: these are the physical parts of the system located in different parts of the south-eastern part of Poland). The aim of the below-presented simulations of the network behavior is to examine the network’s susceptibility to failures (mostly measured by the average efficiency E(G)) and check its (graph) parameters in emergency situations.
The graph can be analyzed in many ways, for example, in Figure 2, some rings of a large diameter network can be distinguished, which corresponds to the actual connections in the electricity grid. The rings and related bypasses are a typical solution that increases the electrical network reliability; even if one node with a low degree is not working, there is a possibility to ensure the transport of electrical energy.
Figure 3 shows the graphical analysis of the network (from Figure 2) degree centrality. This parameter is the simplest vertices centrality measure; it requires the count of how many connections nodes have—here those numbers are converted into a 0–\–1 scale (the node STW has 1; other node’s centrality is a fraction of its degree). Let’s note that in the case of electrical network node degree shows, taking into account Kirchoff’s law, the number of possible current flows. The bluer the node color, the more important is the node, but there are also more possible current flows ensuring energy supply. The most important nodes are STW, BGC, CHM, RZE, PEL—the names are related to their physical (geographical) localization in the system. These nodes pose the highest degree (the node distribution of the original network is given in Figure 4) and will be the basis of our carried analysis.
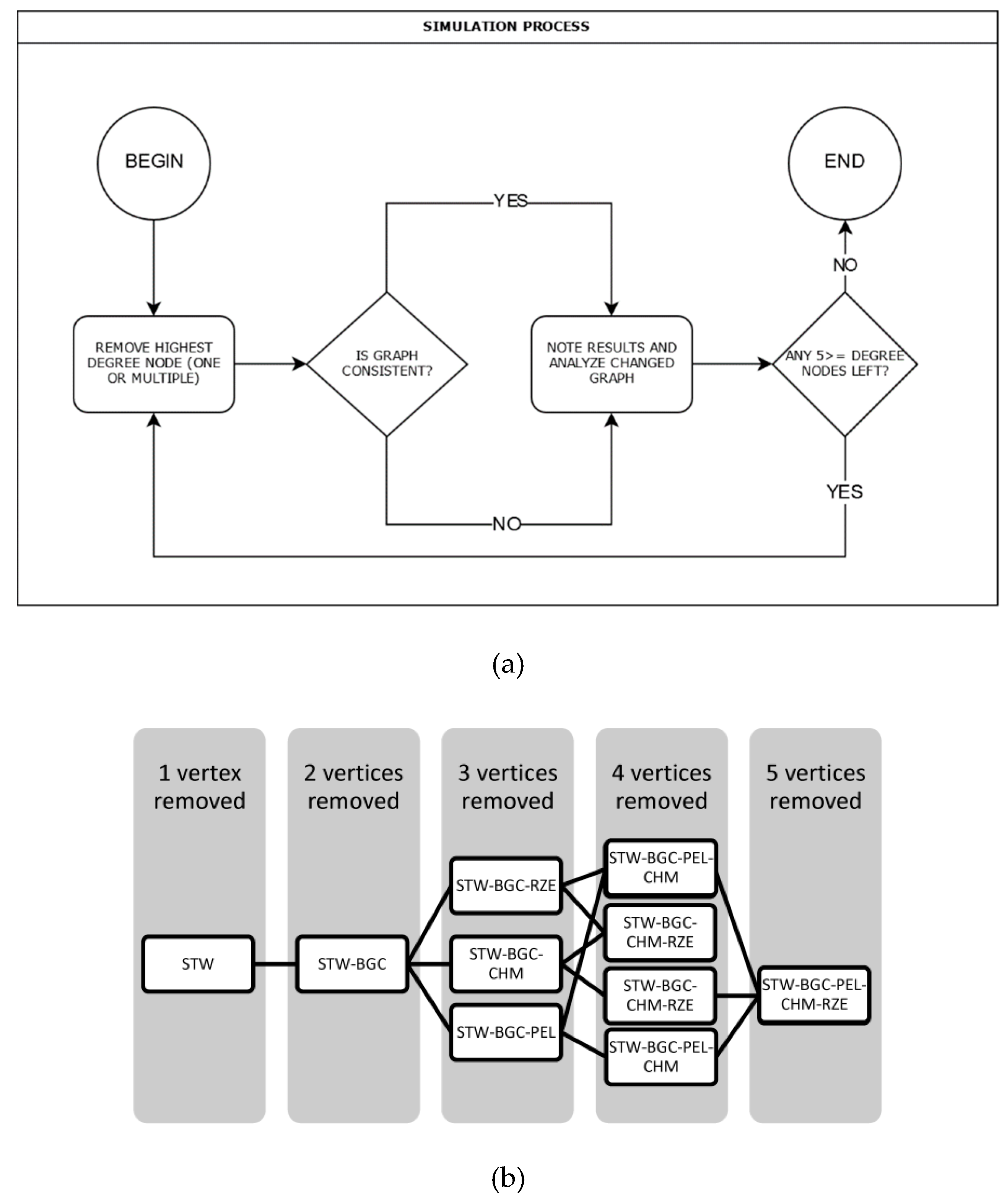
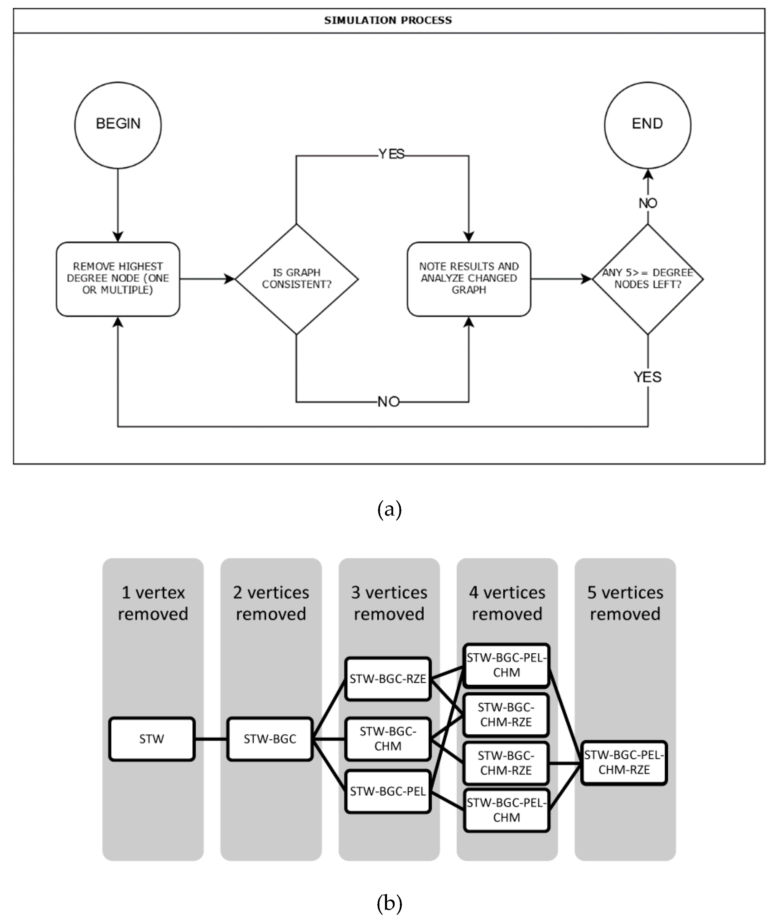
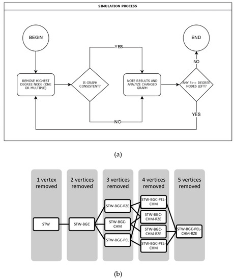
Below we will examine some of the network parameters introducing accidents (nodes failures). The process is carried out basing on the following approach: successive vertices of the graph are removed, starting from the nodes with the highest degrees; after a node removal, when the next one fails, the previous one is not returned to the network. However, because from Figure 4 it can be seen that there is one node with k = 9, one node with k = 6, and three nodes with k = 5, we decided to create a special scenario for failures appearance (in Figure 5b a scheme illustrates how to eliminate vertices through the fifth degree through all subsequent stages).
After each removal of the vertex graph properties will be examined. Among them, there are vertex degree distribution, the average vertex degree, the graph density, network efficiency, the clustering coefficient, the average path length, and the graph diameter.
According to the scenario, the first removed vertex will be STW (k = 9), then BGC (k = 6), next we have three possibilities: RZE, CHM, and PEL (all with k = 5). Assuming that nothing distinguishes any vertex with the same degree k in the network, for three removed vertices (with k = 5) there are three possible scenarios, for four removed vertices (one node with k = 5 has been already removed) there are four possible scenarios, and the last one is when there are five removed vertices (Figure 5).
We assumed that if the node has a high degree it is very important for the whole network (and the system). In the emergency case or during the terrorist attack it can be supposed that such nodes will also be the most exposed. In successive steps, the failures will be related to the nodes colored in red in the diagrams.
Step 1. The first vertex to be removed is the STW (Figure 6, the red one), which has k = 9 and this means that its counterpart in the real network has a connection to nine other nodes.
It should be expected that when a high degree node is removed from the network, significant changes can appear in the graph structure. Figure 7 shows the node degree distribution.
There is a particularly significant decrease (from 50 to 42 nodes) in the number of vertices with degree k = 2 and an increase (from 25 to 30 nodes) in the number of vertices with degree k = 1. This situation is caused by the breaks of the rings in the graph.
The graph lost its consistency, some of its vertices and groups of vertices were separated from its main part (see Figure 8); however, it can be seen that the majority of the nodes still have any connection to the network; the transport of energy can be ensured. There is still one vertex of the sixth degree and three vertices of the fifth degree. The number of vertices that are not connected to the rest of the network is 11.
Step 2. BGC node is the second most important node in the network, which has connections with six other nodes (see Figure 8). The nodes degree distribution (Figure 9) shows a further increase in the number of k = 1 nodes (now it is 35); the number of nodes with k = 2, and k = 3 is almost unchanged. If this node BGC is removed, almost all rings in the graph are separated (Figure 10a). From Figure 10b, it can be seen that after this step, the graph was divided into two large subgraphs and several short chains. The number of nodes that are not connected to the majority of the vertices is equal to 49—this is almost half of the number of all network nodes (this is 102). So, after the removal of two nodes, network was divided into two comparable in node numbers subsets. The DSO Centre can apply this information in order to know when the whole network will lose its consistency. It seems to be obvious that the nodes with the highest degree are the most important ones (they ensure the electrical energy transport to many other nodes) in the whole network and the breakdown of any of them can cause serious consequences, but in fact, we were able to show that the breakdown of the only one (STW node—see Figure 6) can cause graph inconsistency (see Figure 8 (bottom left part), more than two subgraphs)—this is equivalent to the situation that there is no flow of electrical energy. Even if it is assumed that the STW node is always fully protected and will never breakdown, the breakdown of another node (BGC node—see Figure 8) will again cause graph inconsistency (see Figure 10b). The same can be said about the nodes with degree 5 (namely PEL, CHM, RZE). This is the immanent feature of a real net of 110 kV that exists and is managed by one Polish DSO.
Step 3. The analyzed graph (Figure 2 or Figure 10a) has 3 vertices of degree 5. In order to obtain reliable results in the form of graph parameters after the elimination of each successive vertex, it was necessary to assume three possible variants (Figure 5b) of the failure progressing with nodes of k = 5 degree to conduct several parallel simulations and averaging the obtained results. The elimination of subsequent nodes from the highest through lower degrees requires consideration of more and more cases of failure development. The possible directions of the failure process, as well as the possibility of predicting the damage of a specific nodes are hard to be predicted. In order to make the obtained results credible, simulations were performed in all possible failure paths, and then the obtained results were averaged. For example, when three nodes were removed (Figure 5b), three paths were possible (one for the node (STW) of the ninth degree, one for node (BGC) of the sixth degree, and three for nodes (RZE, PEL, and CHM) of the fifth degree). The breakdown of the fourth node doubled the number of possible paths of failure/attack on nodes, while the addition of the fifth node is the common end of the development path of failure for the fifth-degree nodes. In total, the number of possible pathways was 6 (1 × 1 × 3 × 2 × 1). The 5th degree vertices are RZE, CHM, and PEL. Figure 10a shows the location of these vertices in the graph.
Figure 11 shows the graph after the removal of all three vertices with k = 5 degrees (in total five nodes were removed). These nodes have been eliminated, taking into account all possible combinations (see Figure 5b, the last step) in order to maintain the reliability of the results. The graph is divided into several unconnected large subnetworks and a few smaller ones. However, if in the next step only the node PEL is removed, the number of nodes connected to the majority of the graph equals the number of disconnected nodes.
It is not difficult to conclude that the further removal of nodes with degree k = 4 could only be considered theoretically since the actual network (Figure 11) would be almost completely incapable of any operation.
The scheme and order of the elimination of nodes are illustrated in Figure 5a,b, while the averaged values from the last stage, along with the rest of the data, are illustrated in the following charts (Figure 12, Figure 13 and Figure 14).
With the removal of subsequent nodes, the distribution of degrees of vertices has changed—at the beginning the dominant group was the vertices of degree 2 (many chains as a part of rings), and after the last stage of the removal, the dominant group are the vertices of degree 1. This means that they are connected by only one edge with another vertex.
The distribution of degrees (Figure 14) of vertices in the graph after the last stage of the simulation (when the nodes STW, BGC, RZE, CHM, PEL were removed) has changed significantly compared to the original state of the network (Figure 4).
The maximum degree of the vertex is 4, which is a significant difference compared to the original value of 9.
The changes of graph parameters (average vertex degree, graph density, network efficiency, clustering coefficient, average path length, graph diameter) calculated during the analysis are presented in Figure 15, Figure 16, Figure 17, Figure 18, Figure 19, Figure 20.
The average degree of the vertex of the graph decreased after the removal of five nodes with the highest degree. This was a linear decrease (Figure 15). Very similar observations were recorded at the graph density coefficient (Figure 16).
The value of the network efficiency parameter (Figure 17—it is given in log-lin scale) decreased very rapidly when the first nodes were removed. The graph has become less concentrated, which is also confirmed by the decrease in the clustering coefficient value (Figure 18).
The observed changes (Figure 17) are represented by a semi-power law. We have focused only on the core of the network (lines of high voltages, 110 kV); therefore, it is not possible to indicate the existence of the (expected) power law, but let’s note that removing only five nodes caused the decrease of the network efficiency from 0.182 to 0.048 (almost four times, see Table 1).
Remembering that at the beginning the average value of the path length in the graph was = 7.66 it can be seen that after removal of node STW, it increased to 9.14 and finally fell to 5.643 (see Table 1, Figure 20). The network diameter at the beginning was 20, then it increased to 25 (removal of STW node) and established a value 17 (Figure 21). The clustering coefficient of the graph (Figure 19) decreased the most after removing the first vertex and after removing each vertex of the fifth degree.
In the analyzed case both values decreased in relation to the initial value (primary form of the network) except for the state after the removal of the first (and most important) node with the most connections.
The meaning of the parameters calculated in Table 1 is as follows:
The number of nodes and edges in the graph corresponds to the physical number of objects in the transmission network (here, the nodes understood as transformers, power distribution stations, and the edges understood as transmission lines).
The average vertex degree is the average number of connections (edges, 110 kV power lines) per node—does not have to be high for network security, as opposed to graph density and clustering coefficient.
The graph density shows the ratio between the number of existing edges and the number of all possible edges in the graph. In dense graphs, this ratio is close to 1 and corresponds to a high number of redundant backup connections (bypasses). These connections are costly for DSO, but they protect against the loss of connections and separation of nodes from the main part of the network.
The average clustering coefficient parameter for node i was defined by Equations (2) and (3) and for the whole graph is calculated as an average of the overall graph node. As with graph density, the clustering coefficient also translates to certain extent into the number of network redundancies.
The local (per node) and average efficiency parameters describe the physical efficiency of the system as it was written in Section 2 and can be calculated by Equation (2).
The average path length and graph diameter describe the physical properties of the system. The first one is defined by Equation (4), whereas the second one represents the highest of the shortest path between each pair of vertices in the graph. The higher the values of these parameters, the more geographically extensive is the system; simulations of the most important node failures reduce these values because it divides the network into smaller and independent parts, however, they cannot be able to ensure energy transport (they are disconnected from the main graph).

4. Summary

In this paper, it was shown an analysis of selected network parameters when a simple scenario of different node failures is applied. This scenario assumed that only nodes with high degrees are removed. The paper is based on real data obtained from local DSO and the changes of considered parameters were presented. After the removal of only five nodes, a significant change in the graph efficiency was indicated. If we refer this parameter to the fault tolerance of the system (as it is suggested for example in [22]), it is clear that we have a significant fall (from 0.182 to 0.048) and the analyzed network cannot be considered as fault tolerant.
For electrical energy transmission systems, there are some reliability indicators that are defined and, for example in Poland, used basing on the regulation given by government authorities. For instance, these are [11,29] System Average Interruption Duration Index (SAIDI), System Average Interruption Frequency Index (SAIFI), and Momentary Average Interruption Frequency Index (MAIFI). SAIDI shows the average time of a long supply interruptions expressed in minutes per recipient. SAIFI describes the average number of outages for a single customer in a year whereas MAIFI takes into account the number of short outages. All of these indicators are related to the appearance of short- and long-term interruptions. For a potential customer, they contain very relevant information and help to choose an electrical energy provider. There aren’t any common indicators that are related to topological parameters of the supply network. Our paper is also a case study that shows and analyzes selected complex networks parameters in relation to physical topology taking into account not only the temporal conditions but also the spatial ones. Let’s note that some topological parameters can influence the above-mentioned reliability indicators but there aren’t many research studies combining together spatial and temporal. Among the calculated parameters, one of the most important is the network global efficiency—for analyzed network it is enough to remove only five nodes to have a significant drop in this parameter (around four times). This parameter can also be related to the cost of energy transport; therefore, it is easy to note that its changes influence the global energy costs for end users.

Author Contributions

Conceptualization—D.S.; methodology—D.S.; software—P.H.; validation—D.S.; formal analysis—D.S.; investigation—D.S. and P.H.; resources—P.H.; data curation—P.H.; writing—original draft preparation—D.S. and P.H.; writing—review and editing—D.S.; visualization—P.H.; supervision—D.S.; project administration—D.S.; funding acquisition—D.S. All authors have read and agreed to the published version of the manuscript.

Funding

This research received no external funding.

Conflicts of Interest

The authors declare no conflict of interest. The funders had no role in the design of the study; in the collection, analyses, or interpretation of data; in the writing of the manuscript, or in the decision to publish the results.

References

  1. Newman, M. Networks: An Introduction; Oxford University Press, Inc.: New York, NY, USA, 2010. [Google Scholar]
  2. Wei, Y.; Liang, X.; YongHui, Z.; YinDi, H. Analysis of Nanjing public transport network based on complex network. In Proceedings of the 2010 International Conference on Mechanic Automation and Control Engineering, Wuhan, China, 26–28 June 2010. [Google Scholar]
  3. Guan, W.; Wen, X.; Wang, L.; Lu, Z.; Shen, Y. A Service-Oriented Deployment Policy of End-to-End Network Slicing Based on Complex Network Theory. IEEE Access 2018, 6, 19691–19701. [Google Scholar] [CrossRef]
  4. De Bona, A.; Rosa, M.; Fonseca, K.; Lüders, R.; Kozievitch, N. Congestion Potential—A New Way to Analyze Public Transportation based on Complex Networks. In Proceedings of the 2018 IEEE International Smart Cities Conference (ISC2), Kansas City, MO, USA, 16–19 September 2018. [Google Scholar]
  5. Hrishiah, M.; Safar, M.; Mahdi, K. Modeling Twitter as weighted complex networks using retweets. In Proceedings of the 2016 IEEE/ACM International Conference on Advances in Social Networks Analysis and Mining (ASONAM), San Francisco, CA, USA, 18–21 August 2016. [Google Scholar]
  6. Zou, Q.; Guan, J.; Bai, J.; Sun, W. Key Point Detection in Images Based on Triangle Distribution of Directed Complex Network. In Proceedings of the 2017 International Conference on Computer Network, Electronic and Automation (ICCNEA), Xi’an, China, 23–25 September 2017. [Google Scholar]
  7. Wu, L.; Anderson, R.N.; Boulanger, A.; Rudin, C.; Kaiser, G.E. Failure Analysis of the New York City Power Grid; CU CS Technical Report CUCS-025-14; Department of Computer Science, Columbia University: Columbia, NY, USA, 2014. [Google Scholar]
  8. Chen, G.; Zhao, J.; Dong, Z.Y.; Weller, S.R. Complex Network Theory based Power Grid Vulnerability Assessment from Past to Future. In Proceedings of the 9th IET International Conference on Advances in Power System Control, Operation and Management (APSCOM 2012), Hong Kong, China, 18–21 November 2012; pp. 1–6. [Google Scholar]
  9. Łoboda, M.; Lenarczyk, K. Preliminary study of lightning exposure of double-circuit 400 kV transmission line with special design of towers in Poland/Lithuania. In Proceedings of the 2016 33rd International Conference on Lightning Protection (ICLP), Estoril, Portugal, 25 September 2016. [Google Scholar]
  10. Łatka, M.; Nowak, M. Analysis of Electrical Power Quality Parameters at the High Voltage Level. In Proceedings of the 2018 Conference on Progress in Applied Electrical Engineering (PAEE), Koscielisko, Poland, 18–22 June 2018. [Google Scholar]
  11. Markovskii, P.; Merkushev, A. Investigation into high voltage network reliability predictive calculation. In Proceedings of the 2018 19th International Scientific Conference on Electric Power Engineering (EPE), Brno, Czech Republic, 16–18 May 2018. [Google Scholar]
  12. Polish Ministry of Energy, Polityka Energetyczna Polski do 2040 Roku (PEP2040). ver. 1.2 2018. Available online: https://www.gov.pl/web/energia/polityka-energetyczna-polski-do-2040-r-zapraszamy-do-konsultacji1 (accessed on 27 November 2019).
  13. Jia, Y.; Xu, Z.; Ho, S.; Feng, Z.X.; Lai, L.L. Security analysis of smart grids—A complex network perspective. In Proceedings of the 9th IET International Conference on Advances in Power System Control, Operation and Management (APSCOM 2012), Hong Kong, China, 18–21 November 2012. [Google Scholar]
  14. Jawad, M.; Gou, B. Applications of Complex Network Theory on Power Grids. In Proceedings of the 2013 IEEE International Conference on Electro/Information Technology (EIT), Rapid City, SD, USA, 9–11 May 2013. [Google Scholar]
  15. Paska, J. Niezawodność Systemów Elektroenergetycznych; Publishing Office of the Warsaw University of Technology (OWPW): Warszawa, Poland, 2005. [Google Scholar]
  16. von Bertalanffy, L. General System Theory: Foundations, Development; George Braziller: New York, NY, USA, 1968. [Google Scholar]
  17. Dudley, P. Back to basics? Tektology and General System Theory (GST). Syst. Prac. 1996, 9, 273. [Google Scholar] [CrossRef]
  18. Klir, G.J. Trends in General Systems Theory; Wiley Interscience: New York, NY, USA, 1972. [Google Scholar]
  19. Antoniou, P.; Pitsillides, A. Understanding Complex Systems: A Communication Networks Perspective; Technical Report TR-07-01; Department of Computer Science, University of Cyprus: Nicosia, Cyprus, 2007. [Google Scholar]
  20. Upton, J.; Janeka, I.; Ferraro, N. The whole is more than the sum of its parts: Aristotle, metaphysical. J. Craniofacial Surg. 2014, 25, 59–63. [Google Scholar] [CrossRef] [PubMed]
  21. Newman, M.E.J. The structure and function of complex networks. SIAM Rev. 2003, 45, 167–256. [Google Scholar] [CrossRef]
  22. Latora, V.; Marchiori, M. Efficient behavior of small-world networks. Phys. Rev. Lett. 2001, 87, 198701. [Google Scholar] [CrossRef] [PubMed]
  23. Holmgren, Å.J. Using Graph Models to Analyze the Vulnerability of Electric Power Networks. Risk Anal. Int. J. 2006, 26, 955–969. [Google Scholar] [CrossRef] [PubMed]
  24. Wang, X.F. Complex Networks: Topology, Dynamics and Synchronization. Int. J. Bifurc. Chaos 2002, 12, 885–916. [Google Scholar] [CrossRef]
  25. Wang, X.F.; Chen, G.R. Complex networks: Small-world, scale-free and beyond. IEEE Circuits Syst. Mag. 2003, 3, 6–20. [Google Scholar] [CrossRef]
  26. Magnien, C.; Latapy, M.; Guillaume, J.L. Impact of Random Failures and Attacks on Poisson and Power-Law Random Networks. ACM Comput. Surv. 2011, 43, 13. [Google Scholar] [CrossRef]
  27. Tan, J.C.; Crossley, P.A. Application of a Wide Area Backup Protection Expert System to Prevent Cascading Outages. IEEE Trans. Power Deliv. 2002, 17, 375–380. [Google Scholar] [CrossRef]
  28. Bonacina, F.; Corsini, A.; Cardillo, L.; Lucchetta, F. Complex Network Analysis of Photovoltaic Plant Operations and Failure Modes. Energies 2019, 12, 1995. [Google Scholar] [CrossRef]
  29. Latka, M.; Hadaj, P. Technical and statistical analysis of the failure of overhead lines and its impact on evaluating the quality of the power supply. In Proceedings of the 2016 Progress in Applied Electrical Engineering (PAEE), Koscielisko-Zakopane, Poland, 27 June–1 July 2016; pp. 1–5. [Google Scholar]
Figure 1. Sample part of the source data-network diagram obtained from DSO (Distribution System Operator).
Figure 1. Sample part of the source data-network diagram obtained from DSO (Distribution System Operator).
Energies 13 00239 g001
Figure 2. The actual power grid shown as a graph with several visible loops (the Gephi software).
Figure 2. The actual power grid shown as a graph with several visible loops (the Gephi software).
Energies 13 00239 g002
Figure 3. Analysis of graph centrality for the original form of the examined network. The density of blue color and the size of node refers to the node degree. The numbers refer to the fraction of the node STW degree.
Figure 3. Analysis of graph centrality for the original form of the examined network. The density of blue color and the size of node refers to the node degree. The numbers refer to the fraction of the node STW degree.
Energies 13 00239 g003
Figure 4. Graph vertices degree distribution. The value of k = 2 indicates that many vertices belong to different chains (sometimes rings). When some of them are removed, as a consequence some parts of the network (that do not belong to any ring) can be easily separated.
Figure 4. Graph vertices degree distribution. The value of k = 2 indicates that many vertices belong to different chains (sometimes rings). When some of them are removed, as a consequence some parts of the network (that do not belong to any ring) can be easily separated.
Energies 13 00239 g004
Figure 5. A flow chart of the proposed simulation procedure (a) and a schematic of the order in which vertices were eliminated during the analysis (b).
Figure 5. A flow chart of the proposed simulation procedure (a) and a schematic of the order in which vertices were eliminated during the analysis (b).
Energies 13 00239 g005
Figure 6. Location of the STW node in the graph that was first deleted.
Figure 6. Location of the STW node in the graph that was first deleted.
Energies 13 00239 g006
Figure 7. The vertex degree distribution after the STW has been removed.
Figure 7. The vertex degree distribution after the STW has been removed.
Energies 13 00239 g007
Figure 8. The state of the graph after removing the vertex of the ninth degree with the selected next-removed vertex of BGC, which has k = 6.
Figure 8. The state of the graph after removing the vertex of the ninth degree with the selected next-removed vertex of BGC, which has k = 6.
Energies 13 00239 g008
Figure 9. Vertex degree distribution after removing STW and BGC nodes.
Figure 9. Vertex degree distribution after removing STW and BGC nodes.
Energies 13 00239 g009
Figure 10. (a) The state of the graph after removing the vertices of the ninth degree and the sixth degree with the marked vertices of the fifth degree (in order from the left PEL, CHM, RZE); (b) after the removal of node BGC the graph is divided into two separated subgraphs.
Figure 10. (a) The state of the graph after removing the vertices of the ninth degree and the sixth degree with the marked vertices of the fifth degree (in order from the left PEL, CHM, RZE); (b) after the removal of node BGC the graph is divided into two separated subgraphs.
Energies 13 00239 g010
Figure 11. The state of the graph after the removal of all vertices up to and including the fifth degree with the all the marked vertices of the fourth degree.
Figure 11. The state of the graph after the removal of all vertices up to and including the fifth degree with the all the marked vertices of the fourth degree.
Energies 13 00239 g011
Figure 12. The distribution of vertices degrees after removing STW and BGC nodes and one from three of fifth degree nodes (averaged data).
Figure 12. The distribution of vertices degrees after removing STW and BGC nodes and one from three of fifth degree nodes (averaged data).
Energies 13 00239 g012
Figure 13. The vertex degree distribution after removing STW and BGC nodes and two of the fifth degree nodes (averaged data).
Figure 13. The vertex degree distribution after removing STW and BGC nodes and two of the fifth degree nodes (averaged data).
Energies 13 00239 g013
Figure 14. Vertex degree distribution after removing five vertices (STW, BGC, RZE, CHM, PEL).
Figure 14. Vertex degree distribution after removing five vertices (STW, BGC, RZE, CHM, PEL).
Energies 13 00239 g014
Figure 15. Changes of the average vertex degree in successive steps.
Figure 15. Changes of the average vertex degree in successive steps.
Energies 13 00239 g015
Figure 16. Changes of graph density.
Figure 16. Changes of graph density.
Energies 13 00239 g016
Figure 17. The change of the network efficiency during analysis.
Figure 17. The change of the network efficiency during analysis.
Energies 13 00239 g017
Figure 18. The change of the local network efficiency during analysis.
Figure 18. The change of the local network efficiency during analysis.
Energies 13 00239 g018
Figure 19. The change of the clustering coefficient.
Figure 19. The change of the clustering coefficient.
Energies 13 00239 g019
Figure 20. The change of the average path length in the graph.
Figure 20. The change of the average path length in the graph.
Energies 13 00239 g020
Figure 21. The change of the graph diameter.
Figure 21. The change of the graph diameter.
Energies 13 00239 g021
Table 1. Averaged data from the analysis of the modified graphs.
Table 1. Averaged data from the analysis of the modified graphs.
Number of Removed Nodes012345
Nodes in graph102101100999897
Edges in graph116107101969186
Average vertex degree2.2752.1192.0201.9391.8571.773
Graph density0.0230.0210.0200.0200.0190.018
Local efficiency0.0810.0700.0710.0650.0580.052
Average efficiency0.1820.1350.0880.0700.0590.050
Average clustering coefficient0.0990.0950.1040.1000.0940.119
Average path length7.6619.1406.6195.8945.6125.643
Graph diameter20.00025.00018.00017.33317.00017.000

Share and Cite

MDPI and ACS Style

Hadaj, P.; Strzałka, D. Modelling Selected Parameters of Power Grid Network in the South-Eastern Part of Poland: The Case Study. Energies 2020, 13, 239. https://doi.org/10.3390/en13010239

AMA Style

Hadaj P, Strzałka D. Modelling Selected Parameters of Power Grid Network in the South-Eastern Part of Poland: The Case Study. Energies. 2020; 13(1):239. https://doi.org/10.3390/en13010239

Chicago/Turabian Style

Hadaj, Piotr, and Dominik Strzałka. 2020. "Modelling Selected Parameters of Power Grid Network in the South-Eastern Part of Poland: The Case Study" Energies 13, no. 1: 239. https://doi.org/10.3390/en13010239

APA Style

Hadaj, P., & Strzałka, D. (2020). Modelling Selected Parameters of Power Grid Network in the South-Eastern Part of Poland: The Case Study. Energies, 13(1), 239. https://doi.org/10.3390/en13010239

Note that from the first issue of 2016, this journal uses article numbers instead of page numbers. See further details here.

Article Metrics

Back to TopTop