Influence of the Particle Size of Sandy Sediments on Heat and Mass Transfer Characteristics during Methane Hydrate Dissociation by Thermal Stimulation
Abstract
1. Introduction
2. Experimental Section
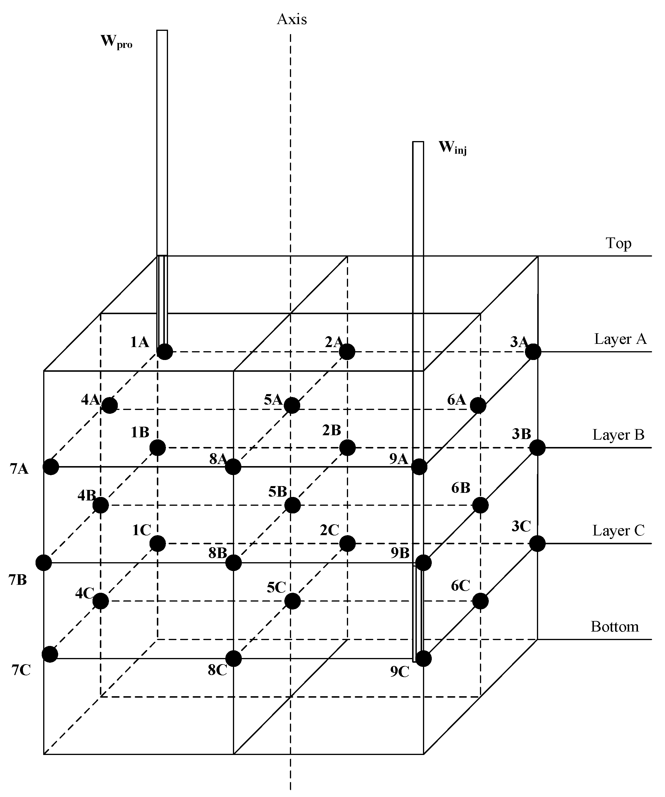
2.1. Experimental Apparatus
2.2. Sediments
2.3. Experimental Procedure
3. Results and Discussion
3.1. Production Behaviors
3.2. Temperature Characteristics
3.3. Hydrate Decomposition Characteristics
3.4. Energy Efficiency
3.5. Sediment Deformation
4. Conclusions
- (1)
- The rate of hydrate decomposition was in proportion to the particle size of the sediment. This was because the larger particle size led to the higher permeability. When the hot water flowed from injection well to the production well, the higher permeability might lead to the larger sweep area of the fluid flow, which was beneficial for the supply of heat for hydrate dissociation.
- (2)
- The heat transfer rate and the energy efficiency decreased with the decrease of the particle size of the sediment.
- (3)
- Sand production was found during hydrate dissociation by heat stimulation. Because the sediment became loose after hydrate dissociation, small particle migration due to the hydrodynamics of the water injection could happen during the experiments. However, the sand production in the sediment with the larger particle size was more difficult, because the larger particles were harder to move due to the hydrodynamics, and the larger particles were harder to move across the holes on the production well with a diameter of 1 mm.
- (4)
- The sand sediment expanded under the drive force from the water injection and the hydrate dissociation. In addition, the smaller permeability led to a larger pressure difference, leading to a larger sediment deformation. Therefore, the sediment deformation during hydrate dissociation by heat stimulation should not be ignored.
Author Contributions
Funding
Acknowledgments
Conflicts of Interest
References
- Seol, J.; Lee, H. Natural gas hydrate as a potential energy resource: From occurrence to production. Korean J. Chem. Eng. 2013, 30, 771–786. [Google Scholar] [CrossRef]
- Milkov, A.V. Global estimates of hydrate-bound gas in marine sediments: How much is really out there? Earth Sci. Rev. 2004, 66, 183–197. [Google Scholar] [CrossRef]
- Maddox, T.M.; Ross, C.; Ho, P.M.; Magid, D.; Rumsfeld, J.S. Impaired heart rate recovery is associated with new-onset atrial fibrillation: A prospective cohort study. BMC Cardiovasc. Disord. 2009, 9, 11. [Google Scholar] [CrossRef] [PubMed]
- Chong, Z.R.; Yang, S.H.B.; Babu, P.; Linga, P.; Li, X.-S. Review of natural gas hydrates as an energy resource: Prospects and challenges. Appl. Energy 2016, 162, 1633–1652. [Google Scholar] [CrossRef]
- Sloan, E.D., Jr.; Koh, C.A. A. Clathrate Hydrates of Natural Gases; CRC Press: Boca Raton, FL, USA, 2008. [Google Scholar]
- Moridis, G.J.; Collett, T.S.; Boswell, R.; Kurihara, M.; Reagan, M.T.; Koh, C.; Sloan, E.D. Toward Production from Gas Hydrates: Current Status, Assessment of Resources, and Simulation-Based Evaluation of Technology and Potential. SPE Reserv. Eval. Eng. 2009, 12, 745–771. [Google Scholar] [CrossRef]
- Boswell, R. Is Gas Hydrate Energy Within Reach? Science 2009, 325, 957–958. [Google Scholar] [CrossRef]
- Mahajan, D.; Taylor, C.E.; Mansoori, G.A. An introduction to natural gas hydrate/clathrate: The major organic carbon reserve of the Earth. J. Pet. Sci. Eng. 2007, 56, 1–8. [Google Scholar] [CrossRef]
- Sloan, E.D. Fundamental principles and applications of natural gas hydrates. Nature 2003, 426, 353–359. [Google Scholar] [CrossRef]
- Haligva, C.; Linga, P.; Ripmeester, J.A.; Englezos, P. Recovery of Methane from a Variable-Volume Bed of Silica Sand/Hydrate by Depressurization. Energy Fuels 2010, 24, 2947–2955. [Google Scholar] [CrossRef]
- Konno, Y.; Masuda, Y.; Hariguchi, Y.; Kurihara, M.; Ouchi, H. Key Factors for Depressurization-Induced Gas Production from Oceanic Methane Hydrates. Energy Fuels 2010, 24, 1736–1744. [Google Scholar] [CrossRef]
- Yang, M.; Fu, Z.; Jiang, L.; Song, Y. Gas recovery from depressurized methane hydrate deposits with different water saturations. Appl. Energy 2017, 187, 180–188. [Google Scholar] [CrossRef]
- Chong, Z.R.; Yin, Z.; Linga, P. Production Behavior from Hydrate Bearing Marine Sediments using Depressurization Approach. Energy Procedia 2017, 105, 4963–4969. [Google Scholar] [CrossRef]
- Wang, Y.; Li, X.-S.; Li, G.; Huang, N.-S.; Feng, J.-C. Experimental study on the hydrate dissociation in porous media by five-spot thermal huff and puff method. Fuel 2014, 117, 688–696. [Google Scholar] [CrossRef]
- Fitzgerald, G.C.; Castaldi, M.J.; Zhou, Y. Large scale reactor details and results for the formation and decomposition of methane hydrates via thermal stimulation dissociation. J. Pet. Sci. Eng. 2012, 94, 19–27. [Google Scholar] [CrossRef]
- Feng, J.-C.; Wang, Y.; Li, X.-S. Hydrate dissociation induced by depressurization in conjunction with warm brine stimulation in cubic hydrate simulator with silica sand. Appl. Energy 2016, 174, 181–191. [Google Scholar] [CrossRef]
- Schicks, J.M.; Spangenberg, E.; Giese, R.; Steinhauer, B.; Klump, J.; Luzi, M. New Approaches for the Production of Hydrocarbons from Hydrate Bearing Sediments. Energies 2011, 4, 151–172. [Google Scholar] [CrossRef]
- Feng, J.-C.; Wang, Y.; Li, X.-S.; Li, G.; Chen, Z.-Y. Production behaviors and heat transfer characteristics of methane hydrate dissociation by depressurization in conjunction with warm water stimulation with dual horizontal wells. Energy 2015, 79, 315–324. [Google Scholar] [CrossRef]
- Zhang, L.; Yang, L.; Wang, J.; Zhao, J.; Dong, H.; Yang, M.; Liu, Y.; Song, Y. Enhanced CH4 recovery and CO2 storage via thermal stimulation in the CH4/CO2 replacement of methane hydrate. Chem. Eng. J. 2017, 308, 40–49. [Google Scholar] [CrossRef]
- Wang, Y.; Feng, J.-C.; Li, X.-S.; Zhang, Y. Experimental and modeling analyses of scaling criteria for methane hydrate dissociation in sediment by depressurization. Appl. Energy 2016, 181, 299–309. [Google Scholar] [CrossRef]
- Wang, Y.; Feng, J.-C.; Li, X.-S.; Zhang, Y.; Li, G. Analytic modeling and large-scale experimental study of mass and heat transfer during hydrate dissociation in sediment with different dissociation methods. Energy 2015, 90, 1931–1948. [Google Scholar] [CrossRef]
- Makogon, Y.F. Natural gas hydrates—A promising source of energy. J. Nat. Gas Sci. Eng. 2010, 2, 49–59. [Google Scholar] [CrossRef]
- Schoderbek, D.; Farrell, H.; Hester, K.; Raterman, K. ConocoPhillips Gas Hydrate Production Test; Final Technical Report; United States Department of Energy: Watson, DC, USA, 2013.
- Hunter, R.B.; Collett, T.S.; Boswell, R.; Anderson, B.J.; Digert, S.A.; Pospisil, G.; Baker, R.; Weeks, M. Mount Elbert Gas Hydrate Stratigraphic Test Well, Alaska North Slope: Overview of scientific and technical program. Mar. Pet. Geol. 2011, 28, 295–310. [Google Scholar] [CrossRef]
- Tomaru, H.; Fehn, U.; Lu, Z.; Matsumoto, R. Halogen systematics in the Mallik 5L-38 gas hydrate production research well, Northwest Territories, Canada: Implications for the origin of gas hydrates under terrestrial permafrost conditions. Appl. Geochem. 2007, 22, 656–675. [Google Scholar] [CrossRef]
- Henninges, J.; Huenges, E.; Burkhardt, H. In situ thermal conductivity of gas-hydrate-bearing sediments of the Mallik 5L-38 well. J. Geophys. Res. Space Phys. 2005, 110. [Google Scholar] [CrossRef]
- Konno, Y.; Fujii, T.; Sato, A.; Akamine, K.; Naiki, M.; Masuda, Y.; Yamamoto, K.; Nagao, J. Key Findings of the World’s First Offshore Methane Hydrate Production Test off the Coast of Japan: Toward Future Commercial Production. Energy Fuels 2017, 31, 2607–2616. [Google Scholar] [CrossRef]
- Wu, X.S.; Huang, W.B.; Liu, W.C.; Xue, F.; Wang, M.H.; Lv, P. World-wide progress of resource potential assessment, exploration and production test of natural gas hydrate. Mar. Geol. Front. 2017, 33, 63–78. [Google Scholar]
- Liu, C.L.; Li, Y.L.; Sun, J.Y.; Wu, N.Y. Gas hydrate production test: From experimental simulation to field practice. Mar. Geol. Quat. Geol. 2017, 37, 12–26. [Google Scholar] [CrossRef]
- Zhao, J.; Song, Y.; Lim, X.-L.; Lam, W.-H. Opportunities and challenges of gas hydrate policies with consideration of environmental impacts. Renew. Sustain. Energy Rev. 2017, 70, 875–885. [Google Scholar] [CrossRef]
- Li, X.-S.; Xu, C.-G.; Zhang, Y.; Ruan, X.-K.; Li, G.; Wang, Y. Investigation into gas production from natural gas hydrate: A review. Appl. Energy 2016, 172, 286–322. [Google Scholar] [CrossRef]
- Yang, M.; Chong, Z.R.; Zheng, J.; Song, Y.; Linga, P. Advances in nuclear magnetic resonance (NMR) techniques for the investigation of clathrate hydrates. Renew. Sustain. Energy Rev. 2017, 74, 1346–1360. [Google Scholar] [CrossRef]
- Linga, P.; Clarke, M.A. A Review of Reactor Designs and Materials Employed for Increasing the Rate of Gas Hydrate Formation. Energ Fuel 2017, 31, 1–13. [Google Scholar] [CrossRef]
- Shinjou, K.; Konno, Y.; Jin, Y.; Nagao, J. Experimental evaluation of the gas recovery factor of methane hydrate in sandy sediment. RSC Adv. 2014, 4, 51666–51675. [Google Scholar]
- Linga, P.; Haligva, C.; Nam, S.C.; Ripmeester, J.A.; Englezos, P. Recovery of Methane from Hydrate Formed in a Variable Volume Bed of Silica Sand Particles. Energy Fuels 2009, 23, 5508–5516. [Google Scholar] [CrossRef]
- Heeschen, K.U.; Abendroth, S.; Priegnitz, M.; Spangenberg, E.; Thaler, J.; Schicks, J.M. Gas Production from Methane Hydrate: A Laboratory Simulation of the Multistage Depressurization Test in Mallik, Northwest Territories, Canada. Energy Fuels 2016, 30, 6210–6219. [Google Scholar] [CrossRef]
- Spangenberg, E.; Priegnitz, M.; Heeschen, K.; Schicks, J.M. Are Laboratory-Formed Hydrate-Bearing Systems Analogous to Those in Nature? J. Chem. Eng. Data 2015, 60, 258–268. [Google Scholar] [CrossRef]
- Mahabadi, N.; Jang, J. The impact of fluid flow on force chains in granular media. Appl. Phys. Lett. 2017, 110, 041907. [Google Scholar] [CrossRef]
- Kwon, T.-H.; Oh, T.-M.; Choo, Y.W.; Lee, C.; Lee, K.-R.; Cho, G.-C. Geomechanical and Thermal Responses of Hydrate-Bearing Sediments Subjected to Thermal Stimulation: Physical Modeling Using a Geotechnical Centrifuge. Energy Fuels 2013, 27, 4507–4522. [Google Scholar] [CrossRef]
- Zhan, L.; Wang, Y.; Li, X.-S. Experimental study on characteristics of methane hydrate formation and dissociation in porous medium with different particle sizes using depressurization. Fuel 2018, 230, 37–44. [Google Scholar] [CrossRef]
- Wang, Y.; Feng, J.-C.; Li, X.-S.; Zhang, Y.; Li, G. Evaluation of Gas Production from Marine Hydrate Deposits at the GMGS2-Site 8, Pearl River Mouth Basin, South China Sea. Energies 2016, 9, 222. [Google Scholar] [CrossRef]
- Li, X.-S.; Zhang, Y.; Li, G.; Chen, Z.-Y.; Yan, K.-F.; Li, Q.-P. Gas hydrate equilibrium dissociation conditions in porous media using two thermodynamic approaches. J. Chem. Thermodyn. 2008, 40, 1464–1474. [Google Scholar] [CrossRef]
- Han, H.; Wang, Y.; Li, X.-S.; Yu, J.-X.; Feng, J.-C.; Zhang, Y. Experimental study on sediment deformation during methane hydrate decomposition in sandy and silty clay sediments with a novel experimental apparatus. Fuel 2016, 182, 446–453. [Google Scholar] [CrossRef]











| Experiments | Run 1 | Run 2 | Run 3 |
|---|---|---|---|
| Sediment | silica sand | silica sand | silica sand |
| Particle size (μm) | 240–350 | 125–180 | 37–45 |
| Water bath temperature (K) | 281.15 | 281.15 | 281.15 |
| Initial pressure (MPa) | 13.67 | 13.57 | 13.61 |
| Initial water volume for hydrate formation (mL) | 130 | 130 | 130 |
| Production pressure | 6.0 (±0.05) | 6.0 (±0.05) | 6.0 (±0.05) |
| Sediment mass (g) | 1000 | 1000 | 1000 |
| Hydrate saturation | 36.94% | 36.92% | 36.97% |
| Porosity | 52.18% | 52.12% | 52.23% |
| Temperature of water injection (K) | 353.15 | 353.15 | 353.15 |
| Water injection rate (mL/min) | 20 | 20 | 20 |
© 2019 by the authors. Licensee MDPI, Basel, Switzerland. This article is an open access article distributed under the terms and conditions of the Creative Commons Attribution (CC BY) license (http://creativecommons.org/licenses/by/4.0/).
Share and Cite
Wang, Y.; Zhan, L.; Feng, J.-C.; Li, X.-S. Influence of the Particle Size of Sandy Sediments on Heat and Mass Transfer Characteristics during Methane Hydrate Dissociation by Thermal Stimulation. Energies 2019, 12, 4227. https://doi.org/10.3390/en12224227
Wang Y, Zhan L, Feng J-C, Li X-S. Influence of the Particle Size of Sandy Sediments on Heat and Mass Transfer Characteristics during Methane Hydrate Dissociation by Thermal Stimulation. Energies. 2019; 12(22):4227. https://doi.org/10.3390/en12224227
Chicago/Turabian StyleWang, Yi, Lei Zhan, Jing-Chun Feng, and Xiao-Sen Li. 2019. "Influence of the Particle Size of Sandy Sediments on Heat and Mass Transfer Characteristics during Methane Hydrate Dissociation by Thermal Stimulation" Energies 12, no. 22: 4227. https://doi.org/10.3390/en12224227
APA StyleWang, Y., Zhan, L., Feng, J.-C., & Li, X.-S. (2019). Influence of the Particle Size of Sandy Sediments on Heat and Mass Transfer Characteristics during Methane Hydrate Dissociation by Thermal Stimulation. Energies, 12(22), 4227. https://doi.org/10.3390/en12224227

