A General Intelligent Optimization Algorithm Combination Framework with Application in Economic Load Dispatch Problems
Abstract
1. Introduction
2. A Unified Multi-Behavior Combination Model for Intelligent Optimization Algorithm
2.1. Multi-Behavior Combination
- (1)
- Individual level: the combination of multiple behaviors at individual level refers to that individuals of a population may have different behaviors. Each individual selects a specific behavior according to certain rules. Individual level combination is a combination of ways to bring richer behaviors in a population and can make the entire population more diverse.
- (2)
- Iteration level: the combination of multiple behaviors at iteration level means that different evolutionary generations may use different behaviors during evolutionary process. The multiple behaviors can be related to different stages according to their evolutionary state, or be executed alternately.
- (3)
- Population level: the combination of multiple behaviors at the population level means that each sub-population may have its own behavior. In this combination, each sub-population is independent, and a sub-population communication mechanism is needed.
2.2. Behavior
- (1)
- Individual (population) evolution operator: individual (population) evolution operator is the core operator of various algorithms. Most algorithms are based on individual evolution, and a small number of algorithms are the overall population evolution, such as CMA-ES [49]. The operator directly operates on the individuals or population to generate the offspring.
- (2)
- Parent individual selection operator: the parent individual is the individual which applies in individual evolution operation; therefore, it is an auxiliary operator for an individual evolution operator, such as random selection, selection based on individual topology, selection based on fitness, selection based on distance, etc.
- (3)
- Population selection operator: the operator selects the individuals entering the next generation between the parent population and the offspring population. A variety of population selection strategies have been adopted in the algorithms. The PSO algorithm directly uses the offspring population as the next generation population, the DE algorithm adopts the binary selection, the GA adopts the fitness-based selection, and some studies improve the population selection with considering the diversity.
- (4)
- Parameter control operator: the parameter control operator is used to set the parameter values of the algorithm. The parameter control operator also acts as a behavior because different parameter values can cause different search trajectory. The current research has proposed a variety of parameter control strategies. Some algorithms use fixed parameters, and some use only simple strategies, such as random values, descending linearly by evolution generation. Some studies proposed adaptive parameter control strategies. Some of these strategies are general and can be extracted as operators.
- (5)
- Population size control operator: population size is also a parameter of the algorithm, but it has great difference from the operation related parameters. It can also affect the population behavior. Thus, population size control strategy can also be extracted as an operator.
- (6)
- Constraint processing operator: the population-based intelligent optimization algorithm is suitable for solving single-object unconstrained (boundary constraint) optimization problems. Additional mechanisms are needed for constraint processing when solving constrained optimization problems. The most straightforward approach is to discard the infeasible solution, but this approach may lose performance, because infeasible solutions also carry valid information, and when the search space is not continuous, the intelligent optimization algorithm may fall into local extrema. Therefore, some studies explore constraint processing techniques. Generally, constraint processing occurs at the population selection step, therefore, it can be embedded into the population selection operator to construct the constraint-based population selection operator.
2.3. Combination Strategy
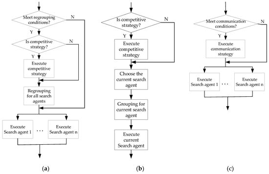
2.3.1. Collaborative Strategy
2.3.2. Competitive Strategy
2.4. Evaluation Model
2.4.1. Fitness Based Evaluation
2.4.2. Evaluation Based on Other Information
3. Agent-based General Algorithm Combination Framework
3.1. Operator Component Library
3.2. Search Agent
- AlInfo is a data structure for algorithm information. The algorithm information describes its corresponding operator combination. The individual evolution operator is the core operator. According to the core operator, the auxiliary operators (parent individual selection operator, the population selection operator) are selected if needed, then the parameters of the algorithm can be determined, and the parameter control operator can be selected.
- GroupInfo is a data structure for individual group information. It means the population of an algorithm, including the group size, individual set, individual type.
- RuntimeInfo is a data structure for runtime information. Runtime information comes from the algorithm running process, because some information should be retained during the iteration. Various operator components may require their specific information; thus, the related runtime information structure is constructed when the operator component is executed for the first time.
- OffspringInfo is the result of search behavior, and it represents the set of offspring individuals.
- ModelInfo is the evaluation data of the behavior. It is a vector including one or more selected evaluation models from {SR, SFIM, Entropy}.
| Algorithm 1. Single-step behavior of search agent. |
| Input: AlInfo, GroupInfo, RuntimeInfoOutput: OffspringInfo, ModelInfo foreach parameter strategy in AlInfo Execute the parameter strategy operator component to generate the parameter value set. end foreach Execute the evolution operation (including an operator list in AlInfo) and return the offspring set. Compute the objective of the offspring. foreach parameter strategy in AlInfo Execute the parameter strategy component to collect information and construct the parameter strategy model. end foreach Collect the algorithm information to generate ModelInfo. |
3.3. Combination Agent
3.4. Algorithm Reuse and Algorithm Customization under the Framework
| Algorithm 2. Algorithm of the framework. |
| Initialize the algorithm settings (population size, max evaluation number, boundary constraint). Construct the data structure of combination scheme. Construct the data structure of each search agent and generate search agent list. Initialize the population and evaluation by objective function. while (not satisfied the termination condition) execute combination agent acquire the combination mode according to combination scheme data structure. execute the corresponding combination mode component (Figure 3). end combination agent record the best result end while |
3.4.1. DE, jDE and SHADE
3.4.2. Teaching-Learning-Based Optimization (TLBO)
4. Economic Load Dispatch Model and Algorithm Customizing
4.1. The Model of Economic Load Dispatch Problem
4.1.1. Problem Definition
4.1.2. Generator Output Constraint
4.1.3. Power Balance Constraints
4.1.4. Ramp Rate Limit Constraints
4.1.5. Prohibited Operating Zones Constraints
4.2. Customizing Multi-Behavior Combination Algorithm
5. Experiment and Discussion
6. Conclusions
Author Contributions
Funding
Conflicts of Interest
References
- Chiang, C.-L. Genetic-based algorithm for power economic load dispatch. IET Gener. Transm. Distrib. 2007, 1, 261–269. [Google Scholar] [CrossRef]
- Gaing, Z.-L. Particle swarm optimization to solving the economic dispatch considering the generator constraints. IEEE Trans. Power Syst. 2003, 18, 1187–1195. [Google Scholar] [CrossRef]
- Gaing, Z.-L. Closure to Discussion of ‘Particle swarm optimization to solving the economic dispatch considering the generator constraints. IEEE Trans. Power Syst. 2004, 19, 2122–2123. [Google Scholar] [CrossRef]
- Sinha, N.; Chakrabarti, R.; Chattopadhyay, P.K. Chattopadhyay. Evolutionary Programming Techniques for Economic Load Dispatch. IEEE Trans. Evol. Comput. 2003, 7, 83–94. [Google Scholar] [CrossRef]
- Chiang, C.L. Improved genetic algorithm for power economic dispatch of units with valve-point effects and multiple fuels. IEEE Trans. Power Syst. 2005, 20, 1690–1699. [Google Scholar] [CrossRef]
- He, D.K.; Wang, F.L.; Mao, Z.Z. Hybrid genetic algorithm for economic dispatch with valve-point effect. Electr. Power Syst. Res. 2008, 78, 626–633. [Google Scholar] [CrossRef]
- Mahdi, F.P.; Vasant, P. Quantum particle swarm optimization for economic dispatch problem using cubic function considering power loss constraint. IEEE Trans. Power Syst. 2002, 17, 108–112. [Google Scholar]
- Selvakumar, A.I.; Thanushkodi, K. A new particle swarm optimization solution to nonconvex economic dispatch problems. IEEE Trans. Power Syst. 2007, 22, 42–51. [Google Scholar] [CrossRef]
- Khamsawang, S.; Jiriwibhakorn, S. DSPSO–TSA for economic dispatch problem with nonsmooth and noncontinuous cost functions. Energy Convers. Manag. 2010, 51, 365–375. [Google Scholar] [CrossRef]
- Pothiya, S.; Ngamroo, I.; Kongprawechnon, W. Ant colony optimization for economic dispatch problem with non-smooth cost functions. Int. J. Electr. Power Energy Syst. 2010, 32, 478–487. [Google Scholar] [CrossRef]
- Noman, N.; Iba, H. Differential evolution for economic load dispatch problems. Electr. Power Syst. Res. 2008, 78, 1322–1331. [Google Scholar] [CrossRef]
- Panigrahi, B.K.; Yadav, S.R.; Agrawal, S.; Tiwari, M.K. A clonal algorithm to solve economic load dispatch. Electr. Power Syst. Res. 2007, 77, 1381–1389. [Google Scholar] [CrossRef]
- Secui, D.C. A new modified artificial bee colony algorithm for the economic dispatch problem. Energy Convers. Manag. 2015, 89, 43–62. [Google Scholar] [CrossRef]
- Dos Santos Coelho, L.; Mariani, V.C. An improved harmony search algorithm for power economic load dispatch. Energy Convers. Manag. 2009, 50, 2522–2526. [Google Scholar] [CrossRef]
- Al-Betar, M.A.; Awadallah, M.A.; Khader, A.T.; Bolaji, A.L. Tournament-based harmony search algorithm for non-convex economic load dispatch problem. Appl. Soft Comput. 2016, 47, 449–459. [Google Scholar] [CrossRef]
- Bhattacharya, A.; Chattopadhyay, P.K. Biogeography-based optimization for different economic load dispatch problems. IEEE Trans. Power Syst. 2010, 25, 1064–1077. [Google Scholar] [CrossRef]
- He, X.Z.; Rao, Y.Q.; Huang, J.D. A novel algorithm for economic load dispatch of power systems. Neurocomputing 2016, 171, 1454–1461. [Google Scholar] [CrossRef]
- Pradhan, M.; Roy, P.K.; Pal, T. Grey wolf optimization applied to economic load dispatch problems. Int. J. Electr. Power Energy Syst. 2016, 83, 325–334. [Google Scholar] [CrossRef]
- Lu, H.; Sriyanyong, P.; Song, Y.H.; Dillon, T. Experimental study of a new hybrid PSO with mutation for economic dispatch with non smooth cost function. Int. J. Electr. Power Energy Syst. 2010, 32, 921–935. [Google Scholar] [CrossRef]
- Niknam, T.; Azizipanah-Abarghooee, R.; Aghaei, J. A new modified teaching learning algorithm for reserve constrained dynamic economic dispatch. IEEE Trans. Power Syst. 2013, 28, 749–763. [Google Scholar] [CrossRef]
- Niknam, T.; Mojarrad, H.D.; Meymand, H.Z. A novel hybrid particle swarm optimization for economic dispatch with valve-point loading effects. Energy Convers. Manag. 2011, 52, 1800–1809. [Google Scholar] [CrossRef]
- Wang, L.; Li, L.P. An effective differential harmony search algorithm for the solving non-convex economic load dispatch problems. Int. J. Electr. Power Energy Syst. 2013, 44, 832–843. [Google Scholar] [CrossRef]
- Bhattacharya, A.; Chattopadhyay, P.K. Hybrid differential evolution with biogeography-based optimization for solution of economic load dispatch. IEEE Trans. Power Syst. 2010, 25, 1955–1964. [Google Scholar] [CrossRef]
- Mirjalili, S.; Lewis, A. The Whale Optimization Algorithm. Adv. Eng. Softw. 2016, 95, 51–67. [Google Scholar] [CrossRef]
- Meng, X.B.; Gao, X.Z.; Lu, L.H.; Liu, Y. A new bio-inspired optimisation algorithm: Bird Swarm Algorithm. J. Exp. Theor. Artif. Intell. 2016, 28, 673–687. [Google Scholar] [CrossRef]
- Meng, X.; Liu, Y.; Gao, X.Z.; Zhang, H.Z. A New Bio-inspired Algorithm: Chicken Swarm Optimization. In International Conference in Swarm Intelligence (ICSI 2014); Springer: Cham, Switzerland, 2014; pp. 86–94. [Google Scholar]
- Chu, S.C.; Tsai, P.W.; Pan, J.S. Cat Swarm Optimization. In Proceedings of the 9th Pacific Rim International Conference on Artificial Intelligence (PRICAI 2006): Trends in Artificial Intelligence, Guilin, China, 7–11 August 2006. [Google Scholar]
- Mirjalili, S.; Mirjalili, S.M.; Hatamlou, A. Multi-Verse Optimizer: A nature-inspired algorithm for global optimization. Neural Comput. Appl. 2015, 27, 495–513. [Google Scholar] [CrossRef]
- Rao, R.V.; Savsani, V.J.; Vakharia, D.P. Teaching-learning-based optimization: A novel method for constrained mechanical design optimization problems. Comput. Aided Des. 2011, 43, 303–315. [Google Scholar] [CrossRef]
- Yang, X. Flower pollination algorithm for global optimization. In International Conference on Unconventional Computation and Natural Computation (UCNC2012); Springer: Berlin/Heidelberg, Germany, 2012; pp. 240–249. [Google Scholar]
- Guohua, W.; Rammohan, M.; Nagaratnam, S.P. Ensemble strategies for population-based optimization algorithms—A survey. Swarm Evol. Comput. 2018, 9, 1–17. [Google Scholar]
- Wang, Y.; Cai, Z.X.; Zhang, Q.F. Differential Evolution with Composite Trial Vector Generation Strategies and Control Parameters. IEEE Trans. Evol. Comput. 2011, 15, 55–66. [Google Scholar] [CrossRef]
- Qin, A.K.; Huang, V.L.; Suganthan, P.N. Differential Evolution Algorithm with Strategy Adaptation for Global Numerical Optimization. IEEE Trans. Evol. Comput. 2009, 13, 398–417. [Google Scholar] [CrossRef]
- Li, X.T.; Ma, S.J.; Hu, J.H. Multi-search differential evolution algorithm. Appl. Intell. 2017, 47, 231–256. [Google Scholar] [CrossRef]
- Wang, S.C. Differential evolution optimization with time-frame strategy adaptation. Soft Comput. 2017, 21, 2991–3012. [Google Scholar] [CrossRef]
- Yi, W.C.; Gao, L.; Li, X.Y.; Zhou, Y.Z. A new differential evolution algorithm with a hybrid mutation operator and self-adapting control parameters for global optimization problems. Appl. Intell. 2015, 42, 642–660. [Google Scholar] [CrossRef]
- Elsayed, S.M.; Sarker, R.A.; Essam, D.L. Training and testing a self-adaptive multi-operator evolutionary algorithm for constrained optimization. Appl. Soft Comput. 2015, 26, 515–522. [Google Scholar] [CrossRef]
- Fan, Q.Q.; Zhang, Y.L. Self-adaptive differential evolution algorithm with crossover strategies adaptation and its application in parameter estimation. Chemom. Intell. Lab. Syst. 2016, 151, 164–171. [Google Scholar] [CrossRef]
- Wang, C.; Liu, Y.C.; Chen, Y.; Wei, Y. Self-adapting hybrid strategy particle swarm optimization algorithm. Soft Comput. 2016, 20, 4933–4963. [Google Scholar] [CrossRef]
- Gou, J.; Guo, W.P.; Wang, C.; Luo, W. A multi-strategy improved particle swarm optimization algorithm and its application to identifying uncorrelated multi-source load in the frequency domain. Neural Comput. Appl. 2017, 28, 1635–1656. [Google Scholar] [CrossRef]
- Wang, H.; Wang, W.; Sun, H. Multi-strategy ensemble artificial bee colony algorithm for large-scale production scheduling problem. Int. J. Innov. Comput. Appl. 2015, 6, 128–136. [Google Scholar] [CrossRef]
- Xiong, G.J.; Shi, D.Y.; Duan, X.Z. Multi-strategy ensemble biogeography-based optimization for economic dispatch problems. Appl. Energy 2013, 111, 801–811. [Google Scholar] [CrossRef]
- Cai, Y.Q.; Sun, G.; Wang, T.; Tian, H.; Chen, Y.H.; Wang, J.H. Neighborhood-adaptive differential evolution for global numerical optimization. Appl. Soft Comput. 2017, 59, 659–706. [Google Scholar] [CrossRef]
- Zhang, A.Z.; Sun, G.Y.; Ren, J.C.; Li, X.D.; Wang, Z.J.; Jia, X.P. A dynamic neighborhood learning-based gravitational search algorithm. IEEE Trans. Cybern. 2018, 48, 436–447. [Google Scholar] [CrossRef] [PubMed]
- Wang, Y.; Cai, Z.X. A Dynamic Hybrid Framework for Constrained Evolutionary Optimization. IEEE Trans. Cybern. 2012, 42, 203–217. [Google Scholar] [CrossRef] [PubMed]
- Wu, G.H.; Shen, X.; Li, H.F.; Chen, H.K.; Lin, A.P.; Suganthan, P.N. Ensemble of differential evolution variants. Inf. Sci. 2018, 423, 172–186. [Google Scholar] [CrossRef]
- Zhou, J.J.; Yao, X.F. Multi-population parallel self-adaptive differential artificial bee colony algorithm with application in large-scale service composition for cloud manufacturing. Appl. Soft Comput. 2017, 56, 379–397. [Google Scholar] [CrossRef]
- Wolpert, D.H.; Macready, W.G. No free lunch theorems for optimization. IEEE Trans. Evol. Comput. 1997, 1, 67–82. [Google Scholar] [CrossRef]
- Hansen, N.; Ostermeier, A. Completely Derandomized Self-Adaptation in Evolution Strategies. Evol. Comput. 2001, 9, 159–195. [Google Scholar] [CrossRef] [PubMed]
- LaTorre, A. A Framework for Hybrid Dynamic Evolutionary Algorithms: Multiple Offspring Sampling (MOS). Ph.D. Thesis, Universidad Polite’cnica de Madrid, Madrid, Spain, 2009. [Google Scholar]
- Brest, J.; Greiner, S.; Boskovic, B.; Mernik, M.; Zumer, V. Self-adapting control parameters in differential evolution: A comparative study on numerical benchmark problems. IEEE Trans. Evol. Comput. 2006, 10, 646–657. [Google Scholar] [CrossRef]
- Tanabe, R.; Fukunaga, A. Success-history based parameter adaptation for differential evolution. In Proceedings of the IEEE Congress on Evolutionary Computation 2013, Cancún, México, 20–23 June 2013. [Google Scholar]
- Chaturvedi, K.T.; Pandit, M.; Srivastava, L. Self organizing hierarchical particle swarm optimization for nonconvex economic dispatch. IEEE Trans. Power Syst. 2008, 23, 1079–1087. [Google Scholar] [CrossRef]
- Hosseinnezhad, V.; Babaei, E. Economic load dispatch using θ-PSO. Int. J. Electr. Power Energy Syst. 2013, 49, 160–169. [Google Scholar] [CrossRef]
- Yu, J.T.; Kim, C.H.; Wadood, A.; Khurshiad, T.; Rhee, S.B. A Novel Multi-Population Based Chaotic JAYA Algorithm with Application in Solving Economic Load Dispatch Problems. Energies 2018, 11, 1946. [Google Scholar] [CrossRef]
- Safari, A.; Shayegui, H. Iteration particle swarm optimization procedure for economic load dispatch with generator constraints. Expert Syst. Appl. 2011, 38, 6043–6048. [Google Scholar] [CrossRef]
- Hosseinnezhad, V.; Rafiee, M.; Ahmadian, M.; Ameli, M.T. Species-based quantum particle swarm optimization for economic load dispatch. Int. J. Elect. Power Energy Syst. 2014, 63, 311–322. [Google Scholar] [CrossRef]
- Amjady, N.; Sharifzadeh, H. Solution of non-convex economic dispatch problem considering valve loading effect by a new modified Differential Evolution algorithm. Int. J. Elect. Power Energy Syst. 2010, 32, 893–903. [Google Scholar] [CrossRef]
- Park, J.B.; Jeong, Y.W.; Shin, J.R.; Lee, K.Y. An improved particle swarm optimization for nonconvex economic dispatch problems. IEEE Trans. Power Syst. 2010, 25, 156–166. [Google Scholar] [CrossRef]
- Reddya, A.S.; Vaisakh, K. Shuffled differential evolution for large scale economic dispatch. Electr. Power Syst. Res. 2013, 96, 237–245. [Google Scholar] [CrossRef]



| Algorithm Attributes | Attributes Value Range |
|---|---|
| combination method | {individual level, iteration level, population level} |
| combination strategy | {collaborative strategy, competition strategy} |
| behavior operator set | {six categories of operators} |
| evaluation model | {SR, SFIM, Entropy, Compound model, none} |
| Combination Mode | Individual Group | Iteration (Execution Manner) | ||
|---|---|---|---|---|
| Group Size | Grouping Method | Group Communication | ||
| individual level | fixed full-competition semi-competition | Split the population | Regrouping (Every few generations) | every generation |
| iteration level | fixed | share the population | none | fixed full-competition semi-competition |
| population level | fixed | Split the population | migration of individuals (Every few generations) | every generation |
| Behavior | Operator Components | Design |
|---|---|---|
| 1 | Individual evolution operator: | DE/rand/1 mutation strategy, Binomial crossover strategy (comes from DE algorithm). |
| Parent individual selection operator: | Random selection strategy. | |
| Population selection operator: | Binary selection (come from DE algorithm) with ε-constraints handling method (cp = 5, Tc = 0.7). | |
| parameter control operator: | F and CR: jDE algorithm strategy with parameter domain in [0,1]. | |
| other operators: | none | |
| 2 | Individual evolution operator: | The same as behavior 1 |
| Parent individual selection operator: | The same as behavior 1 | |
| Population selection operator: | The same as behavior 1 | |
| parameter control operator: | F and CR: SHADE algorithm strategy with parameter domain in [0,1]. | |
| other operators: | none | |
| 3 | Individual evolution operator: | DE/current-to-pBest/1 mutation strategy with archive, Binomial crossover strategy (come from SHADE algorithm) |
| Parent individual selection operator: | Best individual: random selection from %p top individual set with fitness sorting Other individuals: random selection from population and archive | |
| Population selection operator: | The same as behavior 1. | |
| parameter control operator: | p: linear decreasing strategy based on generation from 0.5 to 0F and CR: SHADE parameter control strategy with domain in [0,1] | |
| other operators: | none |
| Combination Settings | Design |
|---|---|
| combination mode | Iteration level combination. |
| group size | Fixed (NP: population size). |
| grouping method | Share (The entire population). |
| group communication | None. |
| iteration | Collaborative strategy: fixed (executed one by one) |
| Unit | 1 | 2 | 3 | 4 | 5 | 6 |
|---|---|---|---|---|---|---|
| Output power (MW) | 446.716 | 173.145 | 262.797 | 143.490 | 163.918 | 85.3562 |
| Total Power output (MW) | 1275.42190006 | |||||
| Transmission loss (MW) | 12.422 | |||||
| Fuel cost($/h) | 15,444.185 | |||||
| Algorithm | Cost ($/h) | std | ||
|---|---|---|---|---|
| best | mean | worst | ||
| Behavior1 | 15,444.185 | 15,451.853 | 15,489.857 | 1.4515660 × 10 |
| Behavior2 | 15,444.185 | 15,445.892 | 15,461.454 | 4.5020314 |
| Behavior3 | 15,444.185 | 15,444.185 | 15,444.185 | 1.3139774 × 10−6 |
| MBC-DE | 15,444.185 | 15,444.185 | 15,444.185 | 8.8040610 × 10−7 |
| Algorithm | Cost ($/h) | std | ||
|---|---|---|---|---|
| best | mean | worst | ||
| GA [6] | 15,459.00 | 15,469.00 | 15,469.00 | 41.58 |
| PSO [2] | 15,450.00 | 15,454.00 | 15,492.00 | 14.86 |
| NPSO-LRS [8] | 15,450.00 | 15,450.50 | 15,452.00 | NA |
| AIS [12] | 15,448.00 | 15,459.70 | 15,472.00 | NA |
| DE [11] | 15,449.77 | 15,449.78 | 15,449.87 | NA |
| DSPSO-TSA [9] | 15,441.57, | 15,443.84 | 15,446.22 | 1.07 |
| BBO [16] | 15,443.096 | 15,443.096 | 15,443.096 | NA |
| SOH-PSO [53] | 15,446.02 | 15,497.35 | 15,609.64 | NA |
| θ-PSO [54] | 15,443.1830 | 15,443.2117 | 15,443.3548 | 0.0291 |
| MABC [13] | 15,449.8995 | 15,449.8995 | 15,449.8995 | NA |
| MP-CJAYA [55] | 15,446.17 | 15,451.68 | 15,449.23 | NA |
| CTLBO [16] | 15,441.697 | 15,441.9753 | 15,441.7638 | 1.94 × 10−2 |
| MBC-DE | 15,444.185 | 15,444.185 | 15,444.185 | 8.8040610 × 10−7 |
| Unit | Output Power (MW) | Unit | Output Power (MW) | Unit | Output Power (MW) |
|---|---|---|---|---|---|
| 1 | 455.000 | 6 | 460.000 | 11 | 79.9997 |
| 2 | 380.000 | 7 | 430.000 | 12 | 79.9999 |
| 3 | 130.000 | 8 | 690.829 | 13 | 25.0001 |
| 4 | 130.000 | 9 | 605.011 | 14 | 15.0005 |
| 5 | 169.999 | 10 | 160.000 | 15 | 15.0003 |
| Total Power output (MW) | 2659.58290292 | ||||
| Transmission loss (MW) | 29.58300000 | ||||
| Fuel cost ($/h) | 32692.399 | ||||
| Algorithm | Cost ($/h) | std | ||
|---|---|---|---|---|
| best | mean | worst | ||
| behavior1 | 32,696.300 | 32,721.648 | 32,766.651 | 1.9540042 × 10 |
| behavior2 | 32,692.645 | 32,697.776 | 32,741.991 | 1.0539320× 10 |
| behavior3 | 32,692.399 | 32,694.789 | 32,740.250 | 1.0700474 × 10 |
| MBC-DE | 32,692.399 | 32,692.509 | 32,692.815 | 1.2095983 × 10−1 |
| Algorithm | Cost ($/h) | std | ||
|---|---|---|---|---|
| best | mean | worst | ||
| GA [8] | 33,113.00 | 33,228.00 | 33,337.00 | 49.31 |
| PSO [2] | 32,858.00 | 33,105.00 | 33,331.00 | 26.59 |
| SOH-PSO [53] | 32,751.39 | 32,878 | 32,945 | NA |
| DSPSO-TSA [9] | 32,715.06 | 32,724.63 | 32,730.39 | 8.4 |
| IPSO [56] | 32,709 | 32,784.5 | NA | NA |
| SQPSO [57] | 32,704.5710 | 32,707.0765 | 32,711.6179 | 1.077 |
| θ-PSO [54] | 32,706.6856 | 32,711.4955 | 32,744.0306 | 9.8874 |
| AIS [9] | 32,854.00 | 32,892.00 | 32,873.25 | NA |
| MDE [58] | 32,704.9 | 32,708.1 | 32,711.5 | NA |
| MP-CJAYA [55] | 32,706.5158 | 32,708.8736 | 32,706.7150 | NA |
| MBC-DE | 32,692.399 | 32,692.509 | 32,692.815 | 1.2095983 × 10−1 |
| Unit | Output Power (MW) | Unit | Output Power (MW) | Unit | Output Power (MW) |
|---|---|---|---|---|---|
| 1 | 110.800 | 15 | 394.279 | 29 | 10.000 |
| 2 | 110.800 | 16 | 394.279 | 30 | 87.800 |
| 3 | 97.400 | 17 | 489.279 | 31 | 190 |
| 4 | 179.733 | 18 | 489.279 | 32 | 190 |
| 5 | 87.800 | 19 | 511.279 | 33 | 190 |
| 6 | 140 | 20 | 511.279 | 34 | 164.800 |
| 7 | 259.600 | 21 | 523.279 | 35 | 194.398 |
| 8 | 284.600 | 22 | 523.279 | 36 | 200 |
| 9 | 284.600 | 23 | 523.279 | 37 | 110 |
| 10 | 130.000 | 24 | 523.279 | 38 | 110 |
| 11 | 94.000 | 25 | 523.279 | 39 | 110 |
| 12 | 94.000 | 26 | 523.279 | 40 | 511.279 |
| 13 | 214.760 | 27 | 10.000 | ||
| 14 | 394.279 | 28 | 10.000 | ||
| Total power output (MW) | 10,500 | ||||
| Fuel cost ($/h) | 121,412.5355 | ||||
| Algorithm | Cost ($/h) | std | ||
|---|---|---|---|---|
| best | mean | worst | ||
| Behavior1 | 121,420.90 | 121,453.58 | 121,506.89 | 3.0363190 × 10 |
| Behavior2 | 121,412.54 | 121,456.32 | 121,517.82 | 3.0129673 × 10 |
| Behavior3 | 121,424.15 | 121,498.80 | 121,695.91 | 6.6662083 × 10 |
| MBC-DE | 121,412.54 | 121,450.32 | 121,481.33 | 2.1658087 × 10 |
| Algorithm | Cost ($/h) | std | ||
|---|---|---|---|---|
| best | mean | worst | ||
| SOH-PSO [53] | 121,501.14 | 121,853.07 | 122,446.30 | NA |
| SQPSO [57] | 121,412.5702 | 121,455.7003 | 121,709.5582 | NA |
| BBO [16] | 121,426.953 | 121,508.0325 | 121,688.6634 | NA |
| DE/BBO [23] | 121,420.8948 | 121,420.8952 | 121,420.8963 | NA |
| MDE [58] | 121,414.79 | 121,418.44 | NA | NA |
| MP-CJAYA [55] | 121,480.10 | 121,861.08 | NA | NA |
| MBC-DE | 121,412.54 | 121,450.32 | 121,481.33 | 2.1658087 × 10 |
| Unit | Power Output (MW) | Unit | Power Output (MW) | Unit | Power Output (MW) | Unit | Power Output (MW) |
|---|---|---|---|---|---|---|---|
| 1 | 118.667 | 36 | 500.000 | 71 | 137.693 | 106 | 953.998 |
| 2 | 188.994 | 37 | 241.000 | 72 | 325.495 | 107 | 951.999 |
| 3 | 189.997 | 38 | 241.000 | 73 | 195.039 | 108 | 1006.00 |
| 4 | 189.997 | 39 | 773.999 | 74 | 175.038 | 109 | 1013.00 |
| 5 | 168.540 | 40 | 768.999 | 75 | 175.180 | 110 | 1021.00 |
| 6 | 189.790 | 41 | 301.105 | 76 | 175.627 | 111 | 1015.00 |
| 7 | 489.999 | 42 | 300.797 | 77 | 175.552 | 112 | 94.0000 |
| 8 | 489.997 | 43 | 245.412 | 78 | 330.048 | 113 | 94.0006 |
| 9 | 496.000 | 44 | 242.746 | 79 | 531.000 | 114 | 94.0003 |
| 10 | 495.996 | 45 | 246.348 | 80 | 530.990 | 115 | 244.009 |
| 11 | 496.000 | 46 | 249.979 | 81 | 400.966 | 116 | 244.003 |
| 12 | 495.999 | 47 | 244.958 | 82 | 560.012 | 117 | 244.274 |
| 13 | 506.000 | 48 | 249.639 | 83 | 115.000 | 118 | 95.0021 |
| 14 | 509.000 | 49 | 249.960 | 84 | 115.000 | 119 | 95.0003 |
| 15 | 506.000 | 50 | 249.282 | 85 | 115.000 | 120 | 116.000 |
| 16 | 505.000 | 51 | 165.348 | 86 | 207.007 | 121 | 175.000 |
| 17 | 506.000 | 52 | 165.000 | 87 | 207.000 | 122 | 2.00007 |
| 18 | 505.997 | 53 | 165.002 | 88 | 175.634 | 123 | 4.00695 |
| 19 | 505.000 | 54 | 165.281 | 89 | 175.017 | 124 | 15.0000 |
| 20 | 504.998 | 55 | 180.002 | 90 | 175.255 | 125 | 9.00339 |
| 21 | 505.000 | 56 | 180.000 | 91 | 175.048 | 126 | 12.0054 |
| 22 | 505.000 | 57 | 103.628 | 92 | 580.000 | 127 | 10.0026 |
| 23 | 504.999 | 58 | 198.001 | 93 | 645.000 | 128 | 112.030 |
| 24 | 505.000 | 59 | 311.997 | 94 | 983.997 | 129 | 4.00002 |
| 25 | 537.000 | 60 | 282.396 | 95 | 978.000 | 130 | 5.00497 |
| 26 | 536.999 | 61 | 163.000 | 96 | 682.000 | 131 | 5.00042 |
| 27 | 548.997 | 62 | 950.044 | 97 | 719.998 | 132 | 50.0405 |
| 28 | 549.000 | 63 | 160.040 | 98 | 717.999 | 133 | 5.00001 |
| 29 | 501.000 | 64 | 170.063 | 99 | 720.000 | 134 | 42.0004 |
| 30 | 501.000 | 65 | 489.868 | 100 | 964.000 | 135 | 42.0006 |
| 31 | 506.000 | 66 | 198.341 | 101 | 958.000 | 136 | 41.0030 |
| 32 | 505.999 | 67 | 474.705 | 102 | 1007.00 | 137 | 17.0039 |
| 33 | 505.994 | 68 | 489.234 | 103 | 1006.00 | 138 | 7.06653 |
| 34 | 506.000 | 69 | 130.002 | 104 | 1013.00 | 139 | 7.00002 |
| 35 | 500.000 | 70 | 234.746 | 105 | 1020.00 | 140 | 26.0098 |
| Total power output (MW) | 49342 | ||||||
| Fuel Cost ($/h) | 1559810.6 | ||||||
| Algorithm | Cost ($/h) | std | ||
|---|---|---|---|---|
| best | mean | worst | ||
| behavior1 | 1,560,264.0 | 1,561,026.0 | 1,562,979.2 | 6.1392827 × 102 |
| behavior2 | 1,560,336.3 | 1,561,104.0 | 1,562,181.8 | 5.6010767 × 102 |
| behavior3 | 1,560,080.0 | 1,562,559.7 | 1,565,170.9 | 1.4819202 × 103 |
| MBC-DE | 1,559,810.6 | 1,560,195.7 | 1,561,194.1 | 3.3572187 × 102 |
© 2019 by the authors. Licensee MDPI, Basel, Switzerland. This article is an open access article distributed under the terms and conditions of the Creative Commons Attribution (CC BY) license (http://creativecommons.org/licenses/by/4.0/).
Share and Cite
Zhang, J.; Dong, Z. A General Intelligent Optimization Algorithm Combination Framework with Application in Economic Load Dispatch Problems. Energies 2019, 12, 2175. https://doi.org/10.3390/en12112175
Zhang J, Dong Z. A General Intelligent Optimization Algorithm Combination Framework with Application in Economic Load Dispatch Problems. Energies. 2019; 12(11):2175. https://doi.org/10.3390/en12112175
Chicago/Turabian StyleZhang, Jinghua, and Ze Dong. 2019. "A General Intelligent Optimization Algorithm Combination Framework with Application in Economic Load Dispatch Problems" Energies 12, no. 11: 2175. https://doi.org/10.3390/en12112175
APA StyleZhang, J., & Dong, Z. (2019). A General Intelligent Optimization Algorithm Combination Framework with Application in Economic Load Dispatch Problems. Energies, 12(11), 2175. https://doi.org/10.3390/en12112175
