Prototyping a Software Defined Utility
Abstract
1. Introduction
- A definition of an SDU-based distributed storage architecture for the smart grid data.
- A state-of-the-art review of the security mechanisms to obtain high reliability in the smart grid.
- A proposal of an SDU that meets the cyber security requirements of data in a smart grid.
- A secure web of things based interface to manage the smart grid assets and data.
2. A Flexible and Context-Aware Smart Grid Infrastructure
- Hybrid cloud data management (HCDM) (Section 3). A flexible and scalable data management system for the smart grid. It is a distributed storage system based on a dynamic configuration of the nodes that collect and store data from the smart grid at distribution level. Additionally, it includes a data orchestrator for hybrid cloud storage in smart grid environments, which is a system that decides in which data storage system the resources and data collected by the smart grid should be placed [13].
- Context-aware security (Section 4). A system able to analyze the different security levels that each smart grid function might need, and apply different policies that translate into different services and different service compositions, providing a framework for flexible and on-demand deployment of security services.
- Web of energy (Section 5). A monitoring and management system that relies on an IoT-based infrastructure and enables machine-to-machine (M2M) interactions between small and resource-constrained devices on the smart grid domain based on HTTP protocol. It extends the IoT concept by providing a bidirectional human-to-machine interface inspired by the web of things (WoT), which results in a ubiquitous energy control and management system (i.e., uniform access to all devices of the smart grid) coined as web of energy (WoE) [17]. The main objective with the design and implementation of this block is to carry out a proof-of-concept of an open API that isolates the electricity grid domain from its utility functions, relying on the aforesaid distributed storage layer to support the massive amount of data generated by the smart grid.
3. The SDU Data Management
3.1. Hybrid Cloud Based Distributed Storage System
3.2. Deployment and Management Tools
3.3. Hybrid Cloud Allocation Reasoner
4. SDU Context-Aware Security
4.1. The Security Thread
- One of the most famous cases in this matter is Stuxnet [26], a very complex worm and Trojan discovered in June 2010 that attacked the Iranian nuclear enrichment program. Its code used seven different mechanisms to expand itself, mainly exploiting 0-day vulnerabilities. It achieved the destruction of about a thousand nuclear centrifuges by changing the behavior of the actuators while telling the sensors that everything was good.
- A year later, in September 2011, a new Trojan called DuQu was discovered presenting a very similar behavior to Stuxnet so it is believed that the two worms were related [27].
- In 2013, Iran hacked US Energy Companies (oil, gas and power) and was able to gain access to control-system software and was also accused of launching DDoS (distributed denial of service) to US banks [28].
- On 23 December 2015, hundreds of thousands of homes in the Ivano-Frankivsk region of Ukraine were left without electricity as a result of an attack [29]. Hackers were able to successfully compromise information systems of three energy distribution companies of the country and temporarily disrupt electricity supply to the end consumers.
4.2. Securing Smart Metering Through Service Composition
- To rely as much as possible on proven existing standards, only complementing them when strictly necessary. This comes from the evidence that the first versions of most standards contained serious vulnerabilities.
- To choose the most adequate option from these standards for the specific smart grid case (see Table 2).
- To place cyber security services as close as needed to the sensing and actuation points to improve latency and reliability of applications. In fact, these capabilities aligned to fog computing trend can be based on service composition paradigm by placing them in the cyber security server and repository contained in the IEDs.
- To use a common coordinated cyber security data repository for all the involved technologies.
- To distribute this repository, either as a whole or partially, in the cloud, although having also a central repository located elsewhere. The central cyber security repository is replicated so that, in case of disconnection, the system continues to work for some time even allowing the inclusion of new devices and functions.
- To define cyber security metrics to feed the context-aware system to enable improved system management.
- To use, whenever feasible, authentication based on certificates.
4.3. Atomic Services Definition
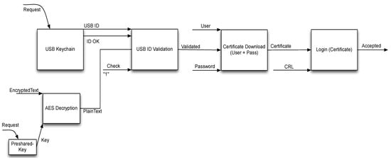
- USB keychain authentication: This service encapsulates the functionality of using an USB token dongle for authentication purposes. It contains a unique ID, which converts it to more than a common password since the USB device cannot be easily replicated.
- USB ID validation: In order to carry out the USB dongle verification and to assess whether it is valid or not, a module has been defined. It checks a list (AES (advanced encryption standard) encrypted) of revoked IDs to accept or deny the device.
- AES decryption: This atomic service performs the AES decryption (advanced encryption standard) needed for the ID validation module. Another different service will be in charge of generating and providing the required key.
- Key-distribution: This service provides the key needed to encrypt/decrypt using a symmetrical algorithm. Usually it uses either a pre-shared key or a public key infrastructure system. Although both modules can be used, for this example the pre-shared key system is selected.
- Certificate download with user + password: It allows downloading the asymmetrical certificates that will be used for the final enrollment of the smart meter to the smart grid system. This can be done in several ways but, in this case, a module that allows doing so by entering the username and password of the technician has been selected. If both are correct and the USB ID has been validated, the certificate will be downloaded.
- Login with certificate: This service is required to use the certificate previously downloaded and checking a certificate revocation list. Finally, the smart meter will be enrolled to the smart grid if everything is correct.
4.4. Workflow Example
4.5. Interfaces Definition
- Types: In this field, the variables are defined using a simple name and type nomenclature.
- Interface name: Contains the name of the interface.
- Fault_name: Name of the attribute generated when an error appears.
- Operation_name: Indicates the name of the operation. It must be unique per interface. It also contains the pattern that usually is “in-out” or “in-only” and defines how the data is exchanged and style (non-mandatory).
- In_msgLabel: Defines the name and format of inputs.
- Out_msgLabel: Defines the name and format of outputs.
- Out_fault: Associates the output error with the operation.
5. A Web of Energy
6. Impact on the Smart Grid Operation
- Remote electrical fault information (oscillography) recovery;
- Remote access from substation to central servers;
- NMS and management of communications network;
- AMI/AMM (advanced metering management) data access and management;
- DER monitoring and control;
- Secondary substations distributed SCADA;
- Decentralized FLISR (fault location, isolation and supply restoration) solution;
- Self-healing network functions: current, voltage and environmental asset conditions monitoring and alarm setting;
- Electrical vehicle supply equipment (EVSE) control;
- VoIP substation intercommunication;
- Substation surveillance (video storage and communication for physical security and surveillance equipment control); and
- Physical access security (i.e., including centralized identity management and ID card reader control).
7. Experimental Evaluation
7.1. On-Demand Logical Topology Reconfiguration of the Hybrid Cloud Data Management System
7.2. SDU Reconfiguration for AMI Operation
7.3. Smart Grid Functions Qualitative Benchmarking
8. Conclusions and Results
- To provide a scalable distributed storage solution that handles the large amount of data that could be generated in the distribution grid, and, indeed, be the basis of a SDU.
- To provide a management tool that can be easily adopted by DSO administrators. Graphical interfaces must offer simplicity and usability.
- To assure that the solution provides the level of security required for managing the communications and data of the critical infrastructure for what it is designed.
Acknowledgments
Author Contributions
Conflicts of Interest
Abbreviations
| API | Application Programming Interface |
| ACL | Access Control List |
| COSEM | Companion Specification for Energy Metering |
| DLMS | Device Language Message Specification |
| E2E | End to End |
| HTTP | Hypertext Transfer Protocol |
| IDS | Intrusion Detection System |
| IEC | International Electrotechnical Commission |
| IP | Internet Protocol |
| IPS | Intrusion Prevention System |
| MPLS | Multiprotocol Label Switching |
| NAC | Network Access Control |
| PKI | Public Key Infrastructure |
| RESTful | Representational State Transfer |
| SHA | Secure Hash Algorithm |
| SSH | Secure SHell |
| TCP | Transmission Control Protocol |
| TSO | Transmission System Operator |
| VLAN | Virtual Local Area Network |
| VRF | Virtual Routing and Forwarding |
| VoIP | Voice over Internet Protocol |
References
- Navarro, J.; Zaballos, A.; Sancho-Asensio, A.; Ravera, G.; Armendáriz-Iñigo, J.E. The information system of INTEGRIS: Intelligent electrical grid sensor communications. IEEE Trans. Ind. Inform. 2013, 9, 1548–1560. [Google Scholar] [CrossRef]
- Selga, J.M.; Corral, G.; Zaballos, A.; Martín de Pozuelo, R. Smart grid ICT research lines out of the European project INTEGRIS. Netw. Protoc. Algorithms 2014, 6, 93–122. [Google Scholar] [CrossRef]
- Zaballos, A.; Vallejo, A.; Selga, J.M. Heterogeneous communication architecture for the Smart Grid. IEEE Netw. 2011, 25, 30–37. [Google Scholar] [CrossRef]
- Martin de Pozuelo, R.; Ponce de Leon, M.; Howard, J.; Briones, A.; Horgan, J. Software defined utility: A step towards a flexible, reliable and low-cost smart grid. In Proceedings of the 5th International Conference on Smart Grid Systems, Barcelona, Spain, 7–9 September 2016. [Google Scholar]
- Nunes, B.A.A.; Mendonca, M.; Nguyen, X.N.; Obraczka, K.; Turletti, T. A survey of software-defined networking: Past, present, and future of programmable networks. IEEE Commun. Surv. Tutor. 2014, 16, 1617–1634. [Google Scholar] [CrossRef]
- Gonzalez, A.J.; Martin de Pozuelo, R.; German, M.; Alcober, J.; Pinyol, F. New framework and mechanisms of context-aware service composition in the future internet. ETRI J. 2013, 35, 7–17. [Google Scholar] [CrossRef]
- Khondoker, R.; Reuther, B.; Schwerdel, D.; Siddiqui, A.; Müller, P. Describing and selecting communication services in a service oriented network architecture. In Proceedings of the Kaleidoscope: Beyond the Internet?—Innovations for Future Networks and Services, Pune, India, 13–15 December 2010; pp. 1–8. [Google Scholar]
- FP7 FI-PPP FINESCE Project Website. Available online: http://www.finesce.eu/ (accessed on 2 February 2017).
- FP7 INTEGRIS Project Website. Available online: http://fp7integris.eu/ (accessed on 2 February 2017).
- Gungor, V.C.; Sahin, D.; Kocak, T.; Ergut, S.; Buccella, C.; Cecati, C.; Hancke, G.P. Smart grid and smart homes: Key players and pilot projects. IEEE Ind. Electron. Mag. 2012, 6, 18–34. [Google Scholar] [CrossRef]
- Rodríguez-Molina, J.; Martínez-Núñez, M.; Martínez, J.F.; Pérez-Aguiar, W. Business models in the smart grid: Challenges, opportunities and proposals for prosumer profitability. Energies 2014, 7, 6142–6171. [Google Scholar] [CrossRef]
- Giorgetti, A.; Cugini, F.; Paolucci, F.; Valcarenghi, L.; Pistone, A.; Castoldi, P. Performance analysis of media redundancy protocol (MRP). IEEE Trans. Ind. Inform. 2013, 9, 218–227. [Google Scholar] [CrossRef]
- Sancho-Asensio, A.; Navarro, J.; Arrieta-Salinas, I.; Armendáriz-Íñigo, J.E.; Jiménez-Ruano, V.; Zaballos, A.; Golobardes, E. Improving data partition schemes in smart grids via clustering data streams. Expert Syst. Appl. 2014, 41, 5832–5842. [Google Scholar] [CrossRef]
- Spanò, E.; Niccolini, L.; Di Pascoli, S.; Iannacconeluca, G. Last-meter smart grid embedded in an Internet-of-Things platform. IEEE Trans. Smart Grid 2015, 6, 468–476. [Google Scholar] [CrossRef]
- Selga, J.M.; Zaballos, A.; Navarro, J. Solutions to the computer networking challenges of the distribution smart grid. IEEE Commun. Lett. 2013, 17, 588–591. [Google Scholar] [CrossRef]
- Savoia, A. Make Sure You Are Building the Right it before You Build it Right. Available online: www.pretotyping.org (accessed on 6 March 2017).
- Vernet, D.; Zaballos, A.; Martin de Pozuelo, R.; Caballero, V. High performance web of things architecture for the smart grid domain. Int. J. Distrib. Sens. Netw. 2015, 2015, 1–13. [Google Scholar] [CrossRef]
- Arrieta-Salinas, I.; Armendáriz-Iñigo, J.E.; Navarro, J. Epidemia: Variable consistency for transactional cloud databases. J. Univ. Comput. Sci. 2014, 20, 1876–1902. [Google Scholar]
- Genez, T.A.; Bittencourt, L.F.; Madeira, E.R. On the performance-cost tradeoff for workflow scheduling in hybrid clouds. In Proceedings of the 2013 IEEE/ACM 6th International Conference on Utility and Cloud Computing, Dresden, Germany, 9–12 December 2013; pp. 411–416. [Google Scholar]
- Briones, A.; Martin de Pozuelo, R.; Navarro, J.; Zaballos, A. Resource allocation on a hybrid cloud for smart grids. Netw. Protoc. Algorithms 2015, 8, 7–25. [Google Scholar] [CrossRef][Green Version]
- Li, S.; Zhou, Y.; Jiao, L.; Yan, X.; Wang, X.; Lyu, M.R. Delay-aware cost optimization for dynamic resource provisioning in hybrid clouds. In Proceedings of the IEEE International Conference on Web Services (ICWS), Anchorage, AK, USA, 27 June–2 July 2014; pp. 169–176. [Google Scholar]
- Chu, H.Y.; Simmhan, Y. Resource allocation strategies on hybrid cloud for resilient jobs. Small 2013, 1005, 65. [Google Scholar]
- Shifrin, M.; Atar, R.; Cidon, I. Optimal scheduling in the hybrid-cloud. In Proceedings of the 2013 IFIP/IEEE International Symposium on Integrated Network Management (IM 2013), Ghent, Belgium, 27–31 May 2013; pp. 51–59. [Google Scholar]
- International Electrotechnical Commission IEC 62351. Power Systems Management and Associated Information Exchange—Data and Communications Security—Part 6: Security for IEC 61850. Available online: https://pdfs.semanticscholar.org/9936/dc232462ae78004040a857463abd7e202b83.pdf (accessed on 24 May 2017).
- Yan, Y.; Qian, Y.; Sharif, H.; Tipper, D. A survey on cyber security for smart grid communications. IEEE Commun. Surv. Tutor. 2012, 14, 998–1010. [Google Scholar] [CrossRef]
- Virvilis, N.; Gritzalis, D. The big four-what we did wrong in advanced persistent threat detection? In Proceedings of the 8th International Conference on Availability, Reliability and Security (ARES), Regensburg, Germany, 2–6 September 2013; pp. 248–254. [Google Scholar]
- He, D.; Chan, S.; Zhang, Y.; Guizani, M.; Chen, C.; Bu, J. An enhanced public key infrastructure to secure smart grid wireless communication networks. IEEE Netw. 2014, 28, 10–16. [Google Scholar] [CrossRef]
- The Associated Press. Iranian Hackers Infiltrated U.S. Power Grid, Dam Computers, Reports Say. Available online: http://www.cbc.ca/news/technology/hackers-infrastructure-1.3376342/ (accessed on 18 May 2017).
- Zetter, K. Inside the Cunning, Unprecedented Hack of Ukraine’s Power Grid. Available online: https://www.wired.com/2016/03/inside-cunning-unprecedented-hack-ukraines-power-grid/ (accessed on 6 March 2017).
- Parks, R.C.; Duggan, D.P. Principles of cyberwarfare. IEEE Secur. Priv. Mag. 2011, 9, 30–35. [Google Scholar] [CrossRef]
- Lee, A.; Brewer, T. Guidelines for Smart Grid Cyber security, Volume 1, Smart Grid Cybersecurity Strategy, Architecture, and High Level Requirements. Available online: http://nvlpubs.nist.gov/nistpubs/ir/2014/NIST.IR.7628r1.pdf (accessed on 24 May 2017).
- Dierks, T.; Allen, C. RFC 2246: The TLS protocol. Available online: https://www.ietf.org/rfc/rfc2246.txt (accessed on 24 May 2017).
- Ghafoor, I.; Jattala, I.; Durrani, S.; Tahir, C.M. Analysis of OpenSSL heartbleed vulnerability for embedded systems. In Proceedings of the IEEE 17th International Multi-Topic Conference (INMIC), Karachi, Pakistan, 8–10 December 2014; pp. 314–319. [Google Scholar]
- Sánchez, J.; Corral, G.; Martin de Pozuelo, R.; Zaballos, A. Security issues and threats that may affect the hybrid cloud of FINESCE. Netw. Protoc. Algorithms 2016, 8, 26–57. [Google Scholar] [CrossRef]
- Cleveland, F.M. Cyber security issues for advanced metering infrasttructure (AMI). In Proceedings of the 2008 IEEE Power and Energy Society General Meeting—Conversion and Delivery of Electrical Energy in the 21st Century, Pittsburgh, PA, USA, 20–24 July 2008; pp. 1–5. [Google Scholar]
- Goransson, P.; Black, C.; Culver, T. Software Defined Networks: A Comprehensive Approach; Morgan Kaufmann, Elsevier: Boston, MA, USA, 2014. [Google Scholar]
- Chinnici, R.; Moreau, J.J.; Ryman, A.; Weerawarana, S. Web Services Description Language (WSDL) Version 2.0 Part 1: Core Language. Available online: https://www.w3.org/TR/2006/CR-wsdl20-20060327/wsdl20-z.pdf (accessed on 24 May 2017).
- Gu, T.; Pung, H.K.; Zhang, D.Q. Toward an OSGi-based infrastructure for context-aware applications. IEEE Pervasive Comput. 2004, 3, 66–74. [Google Scholar]
- CISCO. Cisco Visual Networking Index: Global Mobile Data Traffic Forecast Update, 2016–2021 White Paper. Available online: http://www.cisco.com/c/en/us/solutions/collateral/service-provider/visual-networking-index-vni/mobile-white-paper-c11-520862.html (accessed on 3 May 2017).
- Guinard, D.; Trifa, V.; Mattern, F.; Wilde, E. From the internet of things to the web of things: Resource-oriented architecture and best practices. In Architecting the Internet of Things; Springer: Heidelberg, Germay, 2011; pp. 97–129. [Google Scholar]
- Bo, C.; Xin, C.; Zhongyi, Z.; Chengwen, Z.; Junliang, C. Web of things-based remote monitoring system for coal mine safety using wireless sensor network. Int. J. Distrib. Sens. Netw. 2014, 10, 1–14. [Google Scholar] [CrossRef]
- Aman, S.; Simmhan, Y.; Prasanna, V.K. Energy management systems: State of the art and emerging trends. IEEE Commun. Mag. 2013, 51, 114–119. [Google Scholar] [CrossRef]
- Navarro, J.; Sancho-Asensio, A.; Zaballos, A.; Jiménez-Ruano, V.; Vernet, D.; Armendáriz-Iñigo, J.E. The management system of INTEGRIS. In Proceedings of the 4th International Conference on Cloud Computing and Services Science, Barcelona, Spain, 3–5 April 2014; pp. 329–336. [Google Scholar]
- Armbrust, M.; Fox, A.; Griffith, R.; Joseph, A.D.; Katz, R.; Konwinski, A.; Lee, G.; Patterson, D.; Rabkin, A.; Stoica, I.; et al. A view of cloud computing. Commun. ACM 2010, 53, 50–58. [Google Scholar]
- NIST Big Data Public Working Group (NBD-PWG). NIST Big data interoperability framework: Volume 1, definitions. Natl. Inst. Stand. Technol. 2015, 23, 132. [Google Scholar]
- Werner, V. Eventually consistent. Commun. ACM 2009, 52, 40–44. [Google Scholar]







| Function | Latency | Reliability | Integrity | Confidentiality |
|---|---|---|---|---|
| Active protection functions | <20 ms | Very High (99.999%) | High | Low |
| Command and regulations | <2 s | High (99.99%) | High | Low |
| Monitoring and analysis | <2 s | High (99.99%) | High | Low |
| Advanced meter and supply | <5 min <10 s | Low (99%) | High | High |
| Demand response | <5 min <5 s | Medium (99.9%) | High | Low |
| Service Requirements | PKI | Encryption + Decryption (AES) | NAC | Checksum SHA | DoS Defense System | ACL (Different Layers) | IDS | IPS | NMS | Supervised Cognitive System | Unsupervised Cognitive System | Logging | Segmentation (VLAN) VRF, MPLS) | SSH | QoS | Format Check | Homomorphism |
|---|---|---|---|---|---|---|---|---|---|---|---|---|---|---|---|---|---|
| SG.SC-3 Security function isolation | 4 | 3 | 4 | 0 | 0 | 2 | 1 | 1 | 0 | 0 | 0 | 0 | 5 | 0 | 0 | 0 | 0 |
| SG.SC-4 Information remnants | 5 | 0 | 5 | 0 | 0 | 0 | 4 | 4 | 3 | 0 | 0 | 2 | 1 | 0 | 0 | 0 | 0 |
| SG.SC-5 DoS protection | 0 | 0 | 0 | 0 | 5 | 3 | 4 | 4 | 0 | 0 | 2 | 2 | 0 | 0 | 0 | 0 | 0 |
| SG.SC-6 Resource priority | 0 | 0 | 2 | 0 | 0 | 0 | 0 | 0 | 0 | 0 | 3 | 0 | 1 | 0 | 5 | 0 | 0 |
| SG.SC-7 Boundary protection | 5 | 1 | 4 | 0 | 0 | 4 | 3 | 3 | 1 | 0 | 0 | 1 | 5 | 0 | 0 | 0 | 0 |
| SG.SC-8 Communication integrity | 5 | 3 | 0 | 5 | 0 | 0 | 0 | 0 | 0 | 0 | 1 | 0 | 0 | 0 | 0 | 5 | 4 |
| SG.SC-9 Communication confidentiality | 5 | 5 | 2 | 0 | 0 | 2 | 2 | 2 | 0 | 0 | 0 | 0 | 0 | 1 | 0 | 0 | 5 |
| SG.SC-10 Trusted path | 5 | 0 | 0 | 0 | 0 | 1 | 1 | 1 | 4 | 1 | 3 | 0 | 0 | 0 | 0 | 0 | 1 |
| SG.SC-11 Crypto key establishment | 5 | 5 | 4 | 0 | 0 | 0 | 1 | 1 | 1 | 0 | 0 | 1 | 0 | 0 | 0 | 0 | 5 |
| SG.SC-12 Use of validated cryptography | 5 | 5 | 0 | 0 | 0 | 0 | 0 | 0 | 1 | 0 | 0 | 0 | 0 | 0 | 0 | 0 | 5 |
| SG.SC-15 PKI certificates | 5 | 0 | 0 | 0 | 0 | 0 | 0 | 0 | 0 | 0 | 0 | 0 | 0 | 0 | 0 | 0 | 0 |
| SG.SC-19 Security roles | 5 | 0 | 4 | 0 | 0 | 3 | 1 | 1 | 1 | 0 | 0 | 1 | 2 | 0 | 0 | 0 | 0 |
| SG.SC-20 Message authenticity | 5 | 4 | 1 | 4 | 0 | 0 | 0 | 0 | 0 | 0 | 0 | 0 | 0 | 1 | 0 | 5 | 3 |
| SG.SC-26 Confidentiality at rest | 0 | 5 | 0 | 3 | 0 | 0 | 0 | 0 | 0 | 0 | 0 | 0 | 0 | 0 | 0 | 0 | 4 |
| SG.SC-29 Application partitioning | 5 | 0 | 5 | 0 | 0 | 2 | 1 | 1 | 0 | 0 | 0 | 0 | 3 | 0 | 0 | 0 | 0 |
| SG.SI-2 Flaw remediation | 0 | 0 | 0 | 0 | 0 | 0 | 0 | 0 | 4 | 5 | 5 | 2 | 0 | 0 | 0 | 0 | 0 |
| SG.SI-3 Malicious code/spam protection | 0 | 2 | 0 | 0 | 0 | 5 | 5 | 5 | 5 | 0 | 0 | 0 | 0 | 0 | 0 | 0 | 5 |
| SG.SI-4 Information system monitoring | 0 | 0 | 0 | 0 | 0 | 0 | 4 | 4 | 5 | 2 | 3 | 4 | 0 | 0 | 0 | 0 | 0 |
| SG.SI-7 Software and info integrity | 5 | 0 | 0 | 5 | 0 | 0 | 0 | 0 | 0 | 0 | 0 | 0 | 0 | 0 | 0 | 0 | 5 |
| SG.SI-8 Information input validation | 5 | 0 | 0 | 0 | 0 | 0 | 0 | 0 | 0 | 0 | 0 | 0 | 0 | 0 | 0 | 5 | 0 |
| SG.AC-3 Account management | 5 | 0 | 5 | 0 | 0 | 0 | 0 | 0 | 0 | 0 | 0 | 0 | 0 | 0 | 0 | 0 | 0 |
| SG.AC-8 Unsuccessful login attempts | 5 | 0 | 5 | 0 | 0 | 0 | 3 | 3 | 4 | 2 | 4 | 4 | 0 | 0 | 0 | 0 | 0 |
| SG.AC-11 Concurrent session control | 0 | 0 | 5 | 0 | 0 | 0 | 1 | 1 | 5 | 2 | 4 | 3 | 0 | 0 | 0 | 0 | 0 |
| SG.AC-13 Remote session termination | 5 | 0 | 5 | 0 | 0 | 0 | 0 | 0 | 3 | 2 | 2 | 0 | 0 | 0 | 0 | 0 | 0 |
| SG.AC-16 Wireless access restrictions | 5 | 4 | 5 | 0 | 0 | 0 | 0 | 0 | 0 | 0 | 0 | 0 | 0 | 0 | 0 | 0 | 1 |
| SG.AC-17 Access control mobile devices | 5 | 0 | 5 | 0 | 0 | 0 | 1 | 1 | 1 | 0 | 0 | 2 | 0 | 0 | 0 | 0 | 0 |
| SG.AU-X Auditability | 2 | 0 | 0 | 0 | 0 | 0 | 0 | 5 | 0 | 0 | 5 | 5 | 0 | 3 | 2 | 0 | 0 |
| SG.AU-16 Non repudiation | 5 | 0 | 0 | 0 | 0 | 0 | 0 | 0 | 4 | 0 | 5 | 0 | 0 | 0 | 0 | 0 | 0 |
| SG.CM-x Configuration changes | 5 | 0 | 5 | 4 | 0 | 1 | 1 | 1 | 3 | 3 | 0 | 5 | 0 | 4 | 2 | 5 | 4 |
| SG.IA-5 Device identification and auth. | 5 | 0 | 5 | 0 | 0 | 0 | 3 | 3 | 2 | 0 | 0 | 2 | 0 | 0 | 0 | 0 | 0 |
| SG.MA-x Remote maintenance | 5 | 4 | 5 | 1 | 0 | 2 | 2 | 0 | 3 | 3 | 2 | 4 | 1 | 5 | 2 | 1 | 1 |
| Parameter | Consumption Increasing | Consumption Decreasing | Consumption Checking | Consumption Initializing | USB Authentication | User & Password Validation | User & Password Login | USB ID Login | Digital Certificate Login | Cypher key Obtaining | Digital Certificate | Data Encryption | Data Decryption |
|---|---|---|---|---|---|---|---|---|---|---|---|---|---|
| Granularity | Atomic | ||||||||||||
| Scope | Application | ||||||||||||
| Execution location | Isolated/Segment/E2E | Segment/E2E | Isolated | ||||||||||
| Execution time | Run | Deployment | Run | ||||||||||
| Purpose | Signaling external management | Signaling internal management | AAA | Delivery | Encryption/Decryption | ||||||||
| Security Level Workflow | Dongle | By Design | AAA | Best Effort |
|---|---|---|---|---|
| Scenario 1 | No | No | No | Yes |
| Scenario 2 | No | No | Yes | Yes |
| Scenario 3 | No | Yes | Yes | Yes |
| Scenario 4 | Yes | Yes | Yes | Yes |
| Initial Scenario | Final Scenario | Network Reconfig. | HCDM Reconfig. | Overall |
|---|---|---|---|---|
| Scenario 1 | Scenario 2 | Milliseconds | Milliseconds | 1 s |
| Scenario 1 | Scenario 3 | 1–2 s | 3 s | 4–5 s |
| Scenario 1 | Scenario 4 | 1–2 s | 4 s | 5–6 s |
| AMM | Protocol Architecture | Security Intrinsic Level | AMI-Compliant | Bumpless SDU Integration |
|---|---|---|---|---|
| DLMS/COSEM | TCP/IP | Medium | Yes | Totally |
| IEC 61334 | Access layer | Low | No | Partially |
| IEC 61850 | TCP/IP | Medium/High | Yes | Totally |
| PLC-based | TCP/IP | Medium | Yes | Totally |
| PLC-based | Access layer | Low | No | Partially |
| CEA 701.1B | TCP/IP | Low | No | Totally |
| IEC 60870-102 | Access layer | Low | No | No |
| IEC 60870-104 | TCP/IP | Low | No | Totally |
| New Smart Grids Function | Feasibility |
|---|---|
| Remote electrical fault information recovery | High |
| Remote access from substation to central servers | High |
| NMS and communications network management | High |
| AMI/AMM | High |
| VoIP substation intercommunication | High |
| DER monitoring and control | Medium |
| EVSE control | Medium |
| Secondary substations distributed SCADA | Medium |
| Substation surveillance and phisical access security | Medium |
| Decentralized FLISR solution | Medium |
| Self-healing network functions | Low |
© 2017 by the authors. Licensee MDPI, Basel, Switzerland. This article is an open access article distributed under the terms and conditions of the Creative Commons Attribution (CC BY) license (http://creativecommons.org/licenses/by/4.0/).
Share and Cite
Martín de Pozuelo, R.; Zaballos, A.; Navarro, J.; Corral, G. Prototyping a Software Defined Utility. Energies 2017, 10, 818. https://doi.org/10.3390/en10060818
Martín de Pozuelo R, Zaballos A, Navarro J, Corral G. Prototyping a Software Defined Utility. Energies. 2017; 10(6):818. https://doi.org/10.3390/en10060818
Chicago/Turabian StyleMartín de Pozuelo, Ramon, Agustín Zaballos, Joan Navarro, and Guiomar Corral. 2017. "Prototyping a Software Defined Utility" Energies 10, no. 6: 818. https://doi.org/10.3390/en10060818
APA StyleMartín de Pozuelo, R., Zaballos, A., Navarro, J., & Corral, G. (2017). Prototyping a Software Defined Utility. Energies, 10(6), 818. https://doi.org/10.3390/en10060818

