Report from the Western Canadian Gastrointestinal Cancer Consensus Conference Virtual Education Series—Transition from Local to System Therapy and Optimal Sequencing of Systemic Therapy for HCC
Abstract
:1. Terms of Reference
1.1. Purpose
1.2. Participants
1.3. Target Audience
1.4. Basis of Recommendations
2. Question 1
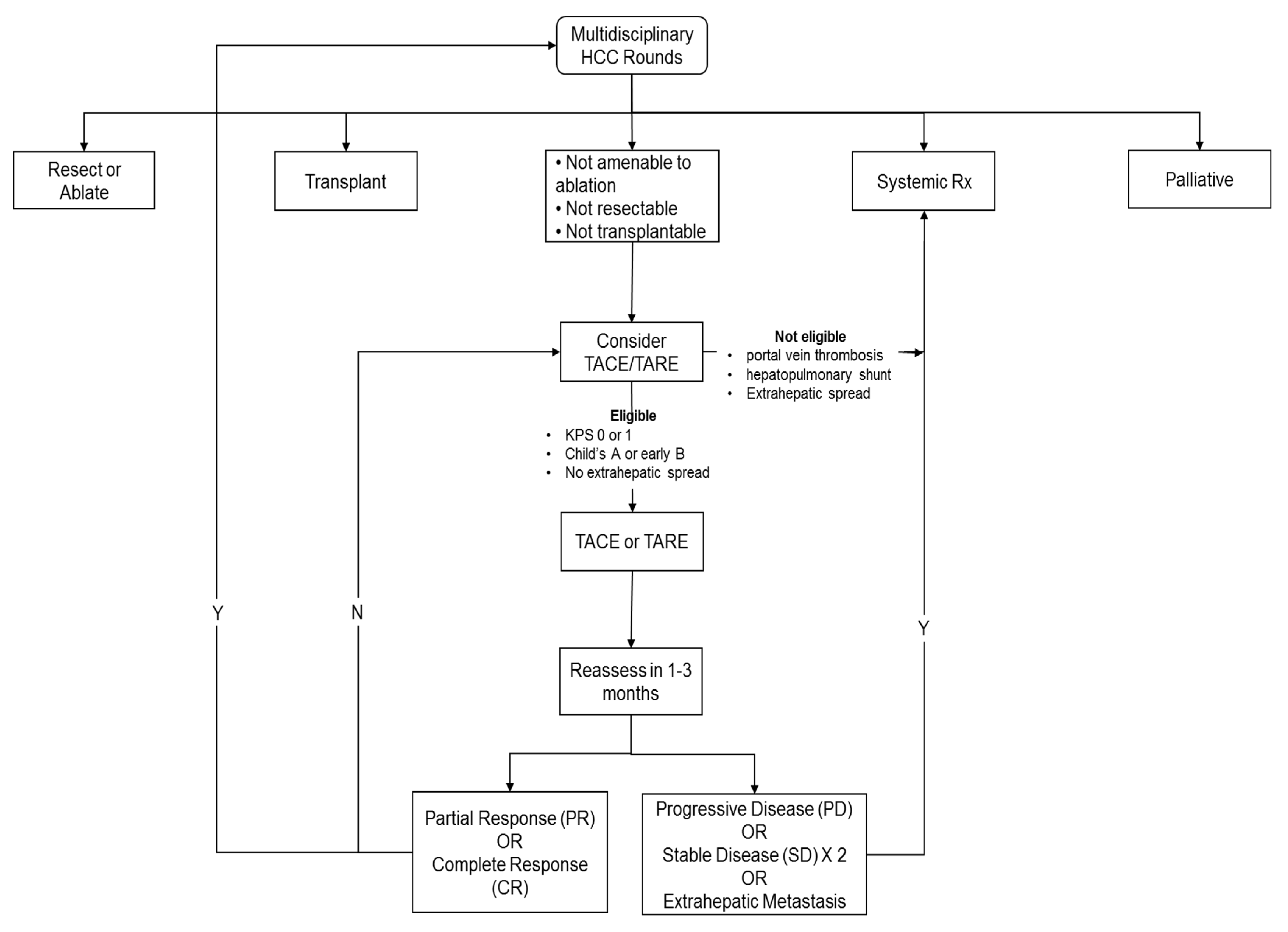
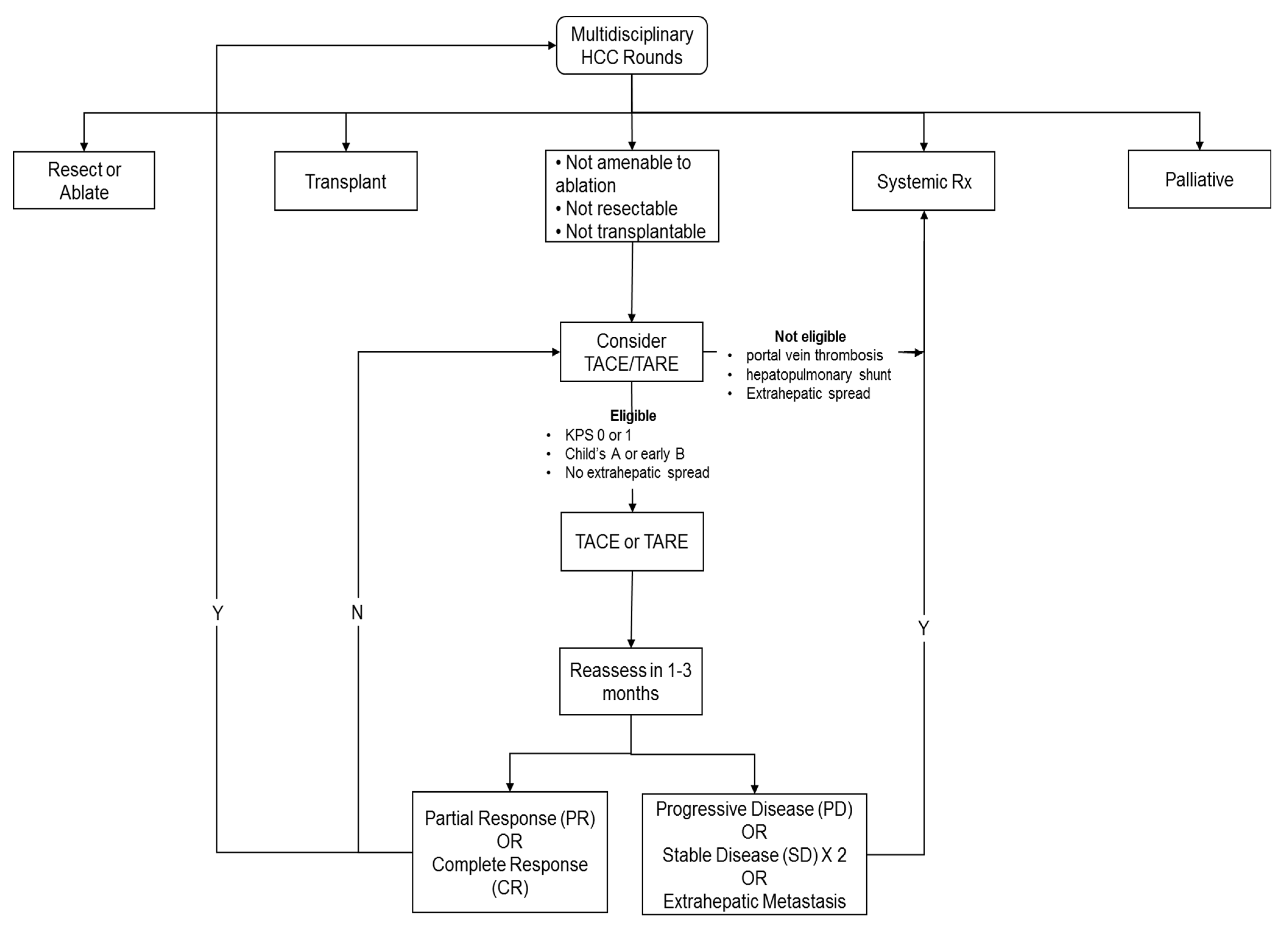
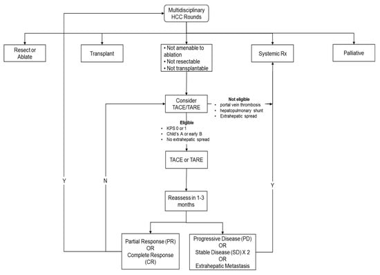
2.1. When Should We Transition from Local to Systemic Therapy for HCC?
- Recommendations
- Patients should be reviewed in a multidisciplinary fashion to determine the eligibility and sequencing of therapies;
- Liver status should be a Child–Pugh class A score to be considered for systemic therapy;
- Systemic therapy should be considered in patients with extrahepatic disease;
- In patients with localized disease, systemic therapy should be considered in patients where local regional therapy has failed, or patient is not eligible. The assessment of disease being considered refractory or ineligible should be made by a multidisciplinary consensus;
- In addition, systemic therapy should be considered early in cases where local therapy is unlikely to be beneficial and could be associated with an increased risk of deterioration of liver function from Child–Pugh class A to class B, such as in patients with bulky disease.
2.2. Summary of Evidence
2.2.1. Radiation-Based Treatments
2.2.2. TACE and TARE
2.2.3. Indications for TACE
2.2.4. Ineligibility for TACE
2.2.5. TACE Progression
2.2.6. TACE Refractoriness
3. Question 2
3.1. What Is the Optimal Sequencing of Systemic Therapy for HCC?
- The optimal sequence of systemic therapy in patients with advanced HCC is evolving, and it is determined by patient- and disease-related factors and access to novel compounds. Enrollment in clinical trials should be considered where possible;
- Atezolizumab and bevacizumab should be considered as standard first-line therapy in appropriate patients. For this group of patients, second line treatment could be lenvatinib or sorafenib and third-line therapy with cabozantinib or regorafenib. If regorafenib is given in the third line, fourth-line therapy can be with cabozantinib;
- In patients who are not appropriate for or who decline atezolizumab and bevacizumab, first-line therapy with lenvatinib or sorafenib is appropriate. Second-line therapy for this group can be with cabozantinib or regorafenib. If regorafenib is given in the second line, third-line therapy can be with cabozantinib;
- In patients that have not received immunotherapy or have poor tolerance of a tyrosine kinase inhibitor, single-agent immunotherapy has provided a modest survival benefit and could be considered.
3.2. Summary of Evidence
Author Contributions
Funding
Institutional Review Board Statement
Informed Consent Statement
Data Availability Statement
Acknowledgments
Conflicts of Interest
References
- Rahman, A.; Assifi, M.M.; Pedroso, F.E.; Maley, W.R.; Sola, J.; Lavu, H.; Winter, J.M.; Yeo, C.J.; Koniaris, L.G. Is Resection Equivalent to Transplantation for Early Cirrhotic Patients with Hepatocellular Carcinoma? A Meta-Analysis. J. Gastrointest. Surg. 2012, 16, 1897–1909. [Google Scholar] [CrossRef] [PubMed]
- Fong, Y.; Sun, R.L.; Jarnagin, W.; Blumgart, L.H. An Analysis of 412 Cases of Hepatocellular Carcinoma at a Western Center. Ann. Surg. 1999, 229, 790–799. [Google Scholar] [CrossRef] [PubMed]
- McWilliams, J.P.; Yamamoto, S.; Raman, S.S.; Loh, C.T.; Lee, E.; Liu, D.M.; Kee, S.T. Percutaneous Ablation of Hepatocellular Carcinoma: Current Status. J. Vasc. Interv. Radiol. 2010, 21, S204–S213. [Google Scholar] [CrossRef]
- Yeung, R.; Beaton, L.; Rackley, T.; Weber, B.; Hamm, J.; Lee, R.; Camborde, M.; Pearson, M.; Duzenli, C.; Loewen, S.; et al. Stereotactic Body Radiotherapy for Small Unresectable Hepatocellular Carcinomas. Clin. Oncol. 2019, 31, 365–373. [Google Scholar] [CrossRef]
- Beaton, L.; Dunne, E.; Yeung, R.; Rackley, T.; Weber, B.; Mar, C.; Yong-Hing, C.; Yoshida, E.; DeVries, K.; Lee, R.; et al. Stereotactic Body Radiotherapy for Large Unresectable Hepatocellular Carcinomas—A Single Institution Phase II Study. Clin. Oncol. 2020, 32, 423–432. [Google Scholar] [CrossRef]
- Lewandowski, R.J.; Donahue, L.; Chokechanachaisakul, A.; Kulik, L.; Mouli, S.; Caicedo, J.; Abecassis, M.; Fryer, J.; Salem, R.; Baker, T. 90Y radiation lobectomy: Outcomes following surgical resection in patients with hepatic tumors and small future liver remnant volumes. J. Surg. Oncol. 2016, 114, 99–105. [Google Scholar] [CrossRef]
- Jang, W.I.; Bae, S.H.; Kim, M.; Han, C.J.; Park, S.C.; Kim, S.B.; Cho, E.; Choi, C.W.; Kim, K.S.; Hwang, S.; et al. A phase 2 multicenter study of stereotactic body radiotherapy for hepatocellular carcinoma: Safety and efficacy. Cancer 2019, 126, 363–372. [Google Scholar] [CrossRef]
- Lee, J.; Shin, I.-S.; Yoon, W.S.; Koom, W.S.; Rim, C.H. Comparisons between radiofrequency ablation and stereotactic body radiotherapy for liver malignancies: Meta-analyses and a systematic review. Radiother. Oncol. 2020, 145, 63–70. [Google Scholar] [CrossRef]
- Rim, C.H.; Lee, H.Y.; Kim, J.S.; Kim, H. Radiofrequency ablation and stereotactic body radiotherapy for hepatocellular carcinoma: Should they clash or reconcile? Int. J. Radiat. Biol. 2021, 97, 111–119. [Google Scholar] [CrossRef]
- Llovet, J.M.; Bruix, J. Systematic review of randomized trials for unresectable hepatocellular carcinoma: Chemoembolization improves survival. Hepatology 2003, 37, 429–442. [Google Scholar] [CrossRef]
- Carr, B.I.; Kondragunta, V.; Buch, S.C.; Branch, R.A. Therapeutic equivalence and survival for hepatic arterial chemo embo-lization and Yttrium-90 microspehere treatments and unresectable hepatocellular carcinoma: A two cohort study. Cancer 2010, 116, 1305–1314. [Google Scholar] [CrossRef] [PubMed] [Green Version]
- Rognoni, C.; Ciani, O.; Sommariva, S.; Facciorusso, A.; Tarricone, R.; Bhoori, S.; Mazzaferro, V.M. Trans-arterial radioembolization in intermediate-advanced hepatocellular carcinoma: Systematic review and meta-analyses. Oncotarget 2016, 7, 72343–72355. [Google Scholar] [CrossRef]
- Salem, R.; Lewandowski, R.J.; Kulik, L.; Wang, E.; Riaz, A.; Ryu, R.K.; Sato, K.T.; Gupta, R.; Nikolaidis, P.; Miller, F.H.; et al. Radioembolization Results in Longer Time-to-Progression and Reduced Toxicity Compared with Chemoembolization in Patients with Hepatocellular Carcinoma. Gastroenterology 2011, 140, 497–507.e2. [Google Scholar] [CrossRef] [Green Version]
- Cammà, C.; Schepis, F.; Orlando, A.; Albanese, M.; Shahied, L.; Trevisani, F.; Andreone, P.; Craxi, A.; Cottone, M. Transarterial Chemoembolization for Unresectable Hepatocellular Carcinoma: Meta-Analysis of Randomized Controlled Trials. Radiology 2002, 224, 47–54. [Google Scholar] [CrossRef] [PubMed]
- Marelli, L.; Stigliano, R.; Triantos, C.; Senzolo, M.; Cholongitas, E.; Davies, N.; Tibballs, J.; Meyer, T.; Patch, D.W.; Burroughs, A.K. Transarterial Therapy for Hepatocellular Carcinoma: Which Technique Is More Effective? A Systematic Review of Cohort and Randomized Studies. Cardiovasc. Interv. Radiol. 2007, 30, 6–25. [Google Scholar] [CrossRef]
- Hiraoka, A.; Kumada, T.; Kudo, M.; Hirooka, M.; Koizumi, Y.; Hiasa, Y.; Tajiri, K.; Toyoda, H.; Tada, T.; Ochi, H.; et al. Hepatic function during repeated TACE proce-dures and prognosis after introducing sorafenib in patients with unresectable hepatocellular carcinoma: Multicenter analysis. Dig. Dis. 2017, 35, 602–610. [Google Scholar] [CrossRef]
- Yasui, Y.; Tsuchiya, K.; Kurosaki, M.; Takeguchi, T.; Takeguchi, Y.; Okada, M.; Wang, W.; Kubota, Y.; Goto, T.; Komiyama, Y.; et al. Up-to-seven criteria as a useful predictor for tumor downstaging to within Milan criteria and Child-Pugh grade deterioration after initial conventional transarterial chemoembolization. Hepatol. Res. 2018, 48, 442–450. [Google Scholar] [CrossRef] [PubMed]
- Peck-Radosavljevic, M.; Kudo, M.; Raoul, J.-L.; Lee, H.C.; Decaens, T.; Heo, J.; Lin, S.-M.; Shan, H.; Yang, Y.; Bayh, I.; et al. Outcomes of patients (pts) with hepatocellular carcinoma (HCC) treated with transarterial chemoembolization (TACE): Global OPTIMIS final analysis. J. Clin. Oncol. 2018, 36, 4018. [Google Scholar] [CrossRef]
- Serper, M.; Taddei, T.H.; Mehta, R.; D’Addeo, K.; Dai, F.; Aytaman, A.; Baytarian, M.; Fox, R.; Hunt, K.; Goldberg, D.S.; et al. Association of Provider Specialty and Multidisciplinary Care with Hepatocellular Carcinoma Treatment and Mortality. Gastroenterology 2017, 152, 1954–1964. [Google Scholar] [CrossRef] [PubMed] [Green Version]
- Sinn, D.H.; Choi, G.-S.; Park, H.C.; Kim, J.M.; Kim, H.; Song, K.D.; Kang, T.W.; Lee, M.W.; Rhim, H.; Hyun, D.; et al. Multidisciplinary approach is associated with improved survival of hepatocellular carcinoma patients. PLoS ONE 2019, 14, e0210730. [Google Scholar] [CrossRef] [Green Version]
- Yoon, S.M.; Ryoo, B.-Y.; Lee, S.J.; Kim, J.H.; Shin, J.H.; An, J.; Lee, H.C.; Lim, Y.-S. Efficacy and Safety of Transarterial Chemoembolization Plus External Beam Radiotherapy vs Sorafenib in Hepatocellular Carcinoma with Macroscopic Vascular Invasion: A Randomized Clinical Trial. JAMA Oncol. 2018, 4, 661–669. [Google Scholar] [CrossRef] [PubMed]
- Marelli, L.; Shusang, V.; Buscombe, J.R.; Cholongitas, E.; Stigliano, R.; Davies, N.; Tibballs, J.; Patch, D.; Meyer, T.; Burroughs, A.K. Transarterial Injection of 131I-Lipiodol, Compared with Chemoembolization, in the Treatment of Unresectable Hepatocellular Cancer. J. Nucl. Med. 2009, 50, 871–877. [Google Scholar] [CrossRef] [PubMed] [Green Version]
- Finn, R.S.; Zhu, A.X.; Farah, W.; Almasri, J.; Zaiem, F.; Prokop, L.J.; Murad, M.H.; Mohammed, K. Therapies for advanced stage hepatocellular carcinoma with macrovascular invasion or metastatic disease: A systematic review and meta-analysis. Hepatology 2018, 67, 422–435. [Google Scholar] [CrossRef] [PubMed] [Green Version]
- Lencioni, R.; Llovet, J.M. Modified RECIST (mRECIST) Assessment for Hepatocellular Carcinoma. Semin. Liver Dis. 2010, 30, 52–60. [Google Scholar] [CrossRef] [Green Version]
- Choi, J.; Lee, D.; Shim, J.H.; Kim, K.M.; Lim, Y.-S.; Lee, Y.S.; Lee, H.C. Evaluation of transarterial chemoembolization refractoriness in patients with hepatocellular carcinoma. PLoS ONE 2020, 15, e0229696. [Google Scholar] [CrossRef] [Green Version]
- Arizumi, T.; Ueshima, K.; Chishina, H.; Kono, M.; Takita, M.; Kitai, S.; Inoue, T.; Yada, N.; Hagiwara, S.; Minami, Y.; et al. Validation of the Criteria of Transcatheter Arterial Chemoembolization Failure or Refractoriness in Patients with Advanced Hepatocellular Carcinoma Proposed by the LCSGJ. Oncology 2014, 87, 32–36. [Google Scholar] [CrossRef]
- Nagahama, H.; Okada, S.; Okusaka, T.; Ishii, H.; Ikeda, M.; Nakasuka, H.; Yoshimori, M. Predictive Factors for Tumor Response to Systemic Chemotherapy in Patients with Hepatocellular Carcinoma. Jpn. J. Clin. Oncol. 1997, 27, 321–324. [Google Scholar] [CrossRef] [PubMed] [Green Version]
- Llovet, J.M.; Ricci, S.; Mazzaferro, V.; Hilgard, P.; Gane, E.; Blanc, J.F.; de Oliveira, A.C.; Santoro, A.; Raoul, J.L.; Forner, A.; et al. Sorafenib in advanced hepatocellular carcinoma. N. Engl. J. Med. 2008, 359, 378–390. [Google Scholar] [CrossRef]
- Kudo, M.; Finn, R.S.; Qin, S.; Han, K.-H.; Ikeda, K.; Piscaglia, F.; Baron, A.; Park, J.-W.; Han, G.; Jassem, J.; et al. Lenvatinib versus sorafenib in first-line treatment of patients with unresectable hepatocellular carcinoma: A randomised phase 3 non-inferiority trial. Lancet 2018, 391, 1163–1173. [Google Scholar] [CrossRef] [Green Version]
- Finn, R.S.; Qin, S.; Ikeda, M.; Galle, P.R.; Ducreux, M.; Kim, T.Y.; Kudo, M.; Breder, V.; Merle, P.; Kaseb, A.O.; et al. Atezolizumab plus Bevacizumab in Unresectable Hepatocellular Carcinoma. N. Engl. J. Med. 2020, 382, 1894–1905. [Google Scholar] [CrossRef]
- Finn, R.S.; Qin, S.; Ikeda, M.; Galle, P.R.; Ducreux, M.; Kim, T.-Y.; Lim, H.Y.; Kudo, M.; Breder, V.V.; Merle, P.; et al. IMbrave150: Updated overall survival (OS) data from a global, randomized, open-label phase III study of atezolizumab (atezo) + bevacizumab (bev) versus sorafenib (sor) in patients (pts) with unresectable hepatocellular carcinoma (HCC) (abstract). J. Clin. Oncol. 2021, 39, 267. [Google Scholar] [CrossRef]
- A Phase 3 Multicenter, Randomized, Double-blinded, Active-controlled, Clinical Study to Evaluate the Safety and Efficacy of Lenvatinib (E7080/MK-7902) in Combination with Pembrolizumab (MK-3475) Versus Lenvatinib in First-Line Therapy of Participants with Advanced Hepatocellular Carcinoma (LEAP-002). Available online: https://clinicaltrials.gov/ct2/show/NCT03713593 (accessed on 6 April 2021).
- Bruix, J.; Qin, S.; Merle, P.; Granito, A.; Huang, Y.H.; Bodoky, G.; Pracht, M.; Yokosuka, O.; Rosmorduc, O.; Breder, V.; et al. Regorafenib for patients with hepatocellular carcinoma who progressed on sorafenib treatment (RESORCE): A random-ised, double-blind, placebo-controlled, phase 3 trial. Lancet 2017, 389, 56–66. [Google Scholar] [CrossRef] [Green Version]
- Abou-Alfa, G.K.; Meyer, T.; Cheng, A.L.; El-Khoueiry, A.B.; Rimassa, L.; Ryoo, B.Y.; Cicin, I.; Merle, P.; Chen, Y.; Park, J.W.; et al. Cabozantinib in Patients with Advanced and Progressing Hepatocellular Carcinoma. N. Engl. J. Med. 2018, 379, 54–63. [Google Scholar] [CrossRef]
- Zhu, A.X.; Finn, R.S.; Edeline, J.; Cattan, S.; Ogasawara, S.; Palmer, D.; Verslype, C.; Zagonel, V.; Fartoux, L.; Vogel, A.; et al. Pembrolizumab in patients with advanced hepatocellular carcinoma previously treated with sorafenib (KEYNOTE-224): A non-randomised, open-label phase 2 trial. Lancet Oncol. 2018, 19, 940–952. [Google Scholar] [CrossRef]
- Finn, R.S.; Ryoo, B.Y.; Merle, P.; Kudo, M.; Bouattour, M.; Lim, H.Y.; Breder, V.; Edeline, J.; Chao, Y.; Ogasawara, S.; et al. Pembrolizumab As Second-Line Therapy in Patients with Advanced Hepatocellular Carcinoma in KEYNOTE-240: A Randomized, Double-Blind, Phase III Trial. J. Clin. Oncol. 2020, 38, 193–202. [Google Scholar] [CrossRef]
- El-Khoueiry, A.B.; Sangro, B.; Yau, T.; Crocenzi, T.S.; Kudo, M.; Hsu, C.; Kim, T.-Y.; Choo, S.-P.; Trojan, J.; Welling, T.H.; et al. Nivolumab in patients with advanced hepatocellular carcinoma (CheckMate 040): An open-label, non-comparative, phase 1/2 dose escalation and expansion trial. Lancet 2017, 389, 2492–2502. [Google Scholar] [CrossRef]


| Adnan Zaidi | Medical Oncologist | Saskatchewan Cancer Agency | SK |
| Adrian Bak | Gastroenterologist | Kelowna Gastroenterology | BC |
| Andrew McKay | Surgeon | U of MB | MB |
| Asif Shaikh | Medical Oncologist | BC Cancer | BC |
| Brady Anderson | Fellow | CancerCare Manitoba | MB |
| Christina Kim | Medical Oncologist | CancerCare Manitoba | MB |
| Corinne Doll | Radiation Oncologist | University of Calgary | AB |
| Debiprasad Papu Tripathy | Hepatologist | University of Saskatchewan | SK |
| Delia Sauciuc | Medical Oncologist | BC Cancer | BC |
| Dorie-Anna Dueck | Medical Oncologist | Saskatchewan Cancer Agency | SK |
| Duc Le | Radiation Oncologist | Saskatoon Cancer Centre | SK |
| Edward Hardy | Medical Oncologist | BC Cancer—Interior Health Authority | BC |
| Elvira Planincic | Clinic Nurse | Cancer Care Manitoba | MB |
| Gavin Beck | HPB Surgeon | University of Saskatchewan | SK |
| Hatim Karachiwala | Medical Oncologist | Cross Cancer Institute | AB |
| Hongwei Liu | Radiation Oncologist | Central Alberta Cancer Center | AB |
| Howard Lim | Medical Oncologist | BC Cancer | BC |
| Jacob Easaw | Medical Oncologist | Cross Cancer Institute | AB |
| Janine Davies | Medical Oncologist | BC Cancer | BC |
| Jennifer Spratlin | Medical Oncologist | Cross Cancer Institute | AB |
| Jiti Gill | Medical Oncologist | BC Cancer | BC |
| JP McGhie | Medical Oncologist | BC Cancer | BC |
| Junliang Liu | Radiation Oncologist | CancerCare Manitoba | MB |
| Karen King | Medical Oncologist | Cross Cancer Institute | AB |
| Karen Mulder | Medical Oncologist | Cross Cancer Institute | AB |
| Keith Tankel | Radiation Oncologist | Cross Cancer Institute | AB |
| Kelly Cheung | Pharmacist | CancerCare Manitoba | MB |
| Kim Paulson | Radiation Oncologist | Cross Cancer Institute | AB |
| Kimberly Hagel | Medical Oncologist | Sask Cancer Agency | SK |
| Kurian Joseph | Radiation Oncologist | Cross Cancer Institute | AB |
| Lyly Le | Medical Oncologist | BC Cancer | BC |
| Maged Nashed | Radiation Oncologist | CancerCare Manitoba | MB |
| Marianne Krahn | Medical oncologist | CancerCare Manitoba | MB |
| Marie Moreau | Oncologist? | Cancer Care? | AB |
| Mark Kristjanson | Community Oncology Program | CancerCare Manitoba | MB |
| Mike Moser | HBP Surgeon | University of Saskatchewan | SK |
| Muhammad Zulfiqar | Medical Oncologist | BC Cancer Agency | BC |
| Mussawar Iqbal | Medical Oncologist | Allan Blair Cancer Centre | SK |
| Omar Abdelsalam | Physician? | Cross Cancer Institute | AB |
| Osama Ahmed | Medical Oncologist | Saskatoon Cancer Centre | SK |
| Rebekah Rittberg | Resident | CancerCare Manitoba | MB |
| Sangjune Lee | Radiation Oncologist | Tom Baker Cancer Centre | AB |
| Shahid Ahmed | Medical Oncologist | Saskatchewan Cancer Agency | SK |
| Shahida Ahmed | Radiation Oncologist | CancerCare Manitoba | MB |
| Sharlene Gill | Medical Oncologist | BC Cancer Agency | BC |
| Sheryl Koski | Medical Oncologist | Cross Cancer Institute | AB |
| Shilo Lefresne | Radiation Oncologist | BC Cancer | BC |
| Stephanie Lelond | Clinical Nurse Specialist | CancerCare Manitoba | MB |
| Stephen Congly | Transplant Hepatologist | University of Calgary | AB |
| Tirath Nijjar | Internal Medicine | Cross Cancer Institute | AB |
| Vallerie Gordon | Medical Oncologist | CancerCare Manitoba | MB |
| Vincent Tam | Medical Oncologist | Tom Baker Cancer Centre | AB |
| Wei Xiong | Associate Professor | UBC | BC |
| Zoe Ignacio | Research Nurse | CancerCare Manitoba | MB |
| Dave Liu | Interventional Radiologist | Vancouver General Hospital | BC |
| Devin Schellenberg | Radiation Oncologist | BC Cancer—Surrey | BC |
| Ralph Wong | Medical Oncologist | CancerCare Manitoba | MB |
Publisher’s Note: MDPI stays neutral with regard to jurisdictional claims in published maps and institutional affiliations. |
© 2021 by the authors. Licensee MDPI, Basel, Switzerland. This article is an open access article distributed under the terms and conditions of the Creative Commons Attribution (CC BY) license (https://creativecommons.org/licenses/by/4.0/).
Share and Cite
Zaidi, A.; Ahmed, S.; Ahmed, S.; Brunet, B.; Davies, J.; Doll, C.; Dueck, D.-A.; Gordon, V.; Hebbard, P.; Kim, C.; et al. Report from the Western Canadian Gastrointestinal Cancer Consensus Conference Virtual Education Series—Transition from Local to System Therapy and Optimal Sequencing of Systemic Therapy for HCC. Curr. Oncol. 2021, 28, 4317-4327. https://doi.org/10.3390/curroncol28060367
Zaidi A, Ahmed S, Ahmed S, Brunet B, Davies J, Doll C, Dueck D-A, Gordon V, Hebbard P, Kim C, et al. Report from the Western Canadian Gastrointestinal Cancer Consensus Conference Virtual Education Series—Transition from Local to System Therapy and Optimal Sequencing of Systemic Therapy for HCC. Current Oncology. 2021; 28(6):4317-4327. https://doi.org/10.3390/curroncol28060367
Chicago/Turabian StyleZaidi, Adnan, Shahid Ahmed, Shahida Ahmed, Bryan Brunet, Janine Davies, Corinne Doll, Dorie-Anna Dueck, Vallerie Gordon, Pamela Hebbard, Christina Kim, and et al. 2021. "Report from the Western Canadian Gastrointestinal Cancer Consensus Conference Virtual Education Series—Transition from Local to System Therapy and Optimal Sequencing of Systemic Therapy for HCC" Current Oncology 28, no. 6: 4317-4327. https://doi.org/10.3390/curroncol28060367
APA StyleZaidi, A., Ahmed, S., Ahmed, S., Brunet, B., Davies, J., Doll, C., Dueck, D.-A., Gordon, V., Hebbard, P., Kim, C., Le, D., Lee-Ying, R., Lim, H., Liu, D., McGhie, J. P., Mulder, K., Park, J., Renouf, D., Schellenberg, D., ... Moser, M. (2021). Report from the Western Canadian Gastrointestinal Cancer Consensus Conference Virtual Education Series—Transition from Local to System Therapy and Optimal Sequencing of Systemic Therapy for HCC. Current Oncology, 28(6), 4317-4327. https://doi.org/10.3390/curroncol28060367

