Characteristics of Thoron (220Rn) and Its Progeny in the Indoor Environment
Abstract
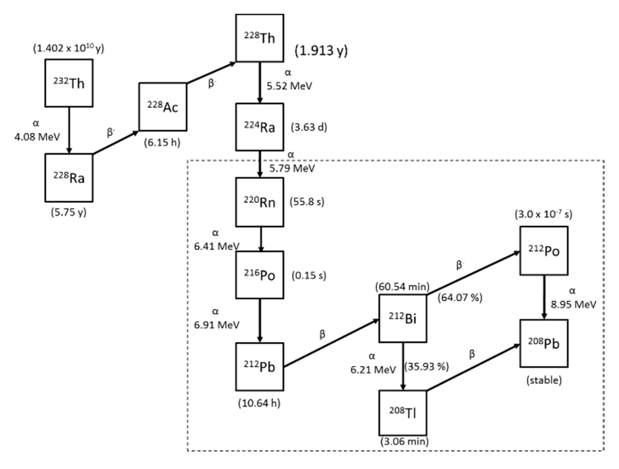
1. Introduction
2. Physical Property and Behavior
3. Measurement Techniques
3.1. Spot Measurement
3.1.1. Thoron
3.1.2. Thoron Progeny
- Air samples are taken over several hours with a membrane filter (Millipore AA) or glass microfiber filter (Whatman GF/F) installed in an open-faced filter holder and a DC powered air pump;
- The filter is left until radon progeny completely decay (more than 6 h);
- An aluminum foil (4.0 mg cm−2) as the energy absorber is directly placed on the filter so as to detect alpha energy emitted from thoron progeny, and then a CR-39 plate is attached for alpha track registration;
- The time is recorded when the CR-39 plate is removed. This is the end of the measurement process.
3.2. Continuous Measurement
3.2.1. Thoron
3.2.2. Thoron Progeny
3.3. Time-Integrated Measurement
3.3.1. Thoron
3.3.2. Thoron Progeny
4. Dosimetry
5. Radioactivity and Resulting Dose
6. Conclusions
Funding
Conflicts of Interest
References
- United Nations Scientific Committee on the Effects of Atomic Radiation. Volume I: Annex B Exposures from natural radiation sources. In UNSCEAR 2000 Report, Sources and Effects of Ionizing Radiation; UNSCEAR: New York, NY, USA, 2000. [Google Scholar]
- United Nations Scientific Committee on the Effects of Atomic Radiation. Volume I: Annex B Exposures of the Public and Workers from Various Sources of Radiation. In UNSCEAR 2008 Report, Sources and Effects of Ionizing Radiation; UNSCEAR: New York, NY, USA, 2010. [Google Scholar]
- World Health Organization. WHO Handbook on Indoor Radon: A Public Health Perspective; WHO: Geneva, Switzerland, 2009. [Google Scholar]
- International Commission on Radiological Protection. Lung Cancer Risk from radon and Progeny and Statement on Radon. In Annals of the ICRP; International Commission on Radiological Protection: New York, NY, USA, 2010. [Google Scholar]
- International Commission on Radiological Protection. Radiological Protection against Radon Exposure. In Annals of the ICRP; International Commission on Radiological Protection: New York, NY, USA, 2014. [Google Scholar]
- International Atomic Energy Agency. Radiation Protection and Safety of Radiation Sources: International Basic Safety Standards. General Safety Requirements Part 3; IAEA: Vienna, Austria, 2014. [Google Scholar]
- International Atomic Energy Agency. Protection of the Public against Exposure Indoors due to Radon and Other Natural Sources of Radiation: IAEA Safety Standards for Protecting People and the Environment; IAEA: Vienna, Austria, 2015. [Google Scholar]
- International Commission on Radiological Protection. Protection Against Radon-222 at Home and at Work. In Annals of the ICRP; International Commission on Radiological Protection: New York, NY, USA, 1993. [Google Scholar]
- Bureau International des Poids et Mesures, Monographie BIPM-5—Table of Radionuclides, Volune 4. Available online: https://www.bipm.org/utils/common/pdf/monographieRI/Monographie_BIPM-5_Tables_Vol4.pdf (accessed on 4 September 2020).
- Katase, A.; Matsumoto, Y.; Sakae, T.; Ishibashi, K. Indoor concentrations of 220Rn and its decay products. Health Phys. 1988, 54, 283–286. [Google Scholar] [CrossRef] [PubMed]
- Hosoda, M.; Kudo, H.; Iwaoka, K.; Yamada, R.; Suzukia, T.; Tamakuma, Y.; Tokonami, S. Characteristic of thoron (220Rn) in environment. Appl. Radiat. Isot. 2017, 120, 7–10. [Google Scholar] [CrossRef] [PubMed]
- Zhuo, W.; Tokonami, S. Convenient Methods for Evaluation of Indoor Thoron Progeny Concentrations. High Levels of Natural Radiation and Radon Areas: Radiation Dose and Health Effects; International Congress Series 1276; Elsevier: Amsterdam, The Netherlands, 2005; pp. 219–220. [Google Scholar]
- Stevanovic, N.; Markovic, V.M.; Nikezic, D. Depostion rates of unattached and attached radon progeny in room with turbulent airflow and ventilation. J. Environ. Radioact. 2009, 100, 585–589. [Google Scholar] [CrossRef] [PubMed]
- De With, G.; Smetsers, R.C.G.M.; Slaper, H.; de Jong, P. Thoron exposure in Dutch dwellings—An overview. J. Environ. Radioact. 2018, 183, 73–81. [Google Scholar] [CrossRef]
- Tokonami, S.; Yang, M.; Yonehara, H.; Yamada, Y. Simple, discriminative measurement technique for radon and thoron concentrations with a single scintillation cell. Rev. Sci. Instrum. 2002, 73, 69–72. [Google Scholar] [CrossRef]
- Zhang, L.; Zhuo, W.; Guo, Q.; Guo, L.; Shang, B. Measurement of thoron gas in the environment using a Lucas scintillation cell. J. Radiol. Prot. 2010, 30, 597–606. [Google Scholar] [CrossRef]
- Tokonami, S.; Sun, Q.; Yonehara, H.; Yamada, Y. A simple measurement technique of the equilibrium equivalent thoron concentration with a CR-39 detector. Jpn. J. Health Phys. 2002, 37, 59–63. [Google Scholar] [CrossRef]
- Falk, R.; More, H.; Nyblom, L. Measurements of 220Rn in air using a flow-through Lucas cell and multiple time analysis of recorded pulse events. Radiat. Prot. Dosim. 1992, 45, 111–113. [Google Scholar] [CrossRef]
- Bigu, J.; Elliot, J. An instrument for continuous measurement of 220Rn (and 222Rn) using delayed coincidences between 220Rn and 216Po. Nucl. Instrum. Methods Phys. Res. A 1994, 344, 415–425. [Google Scholar] [CrossRef]
- Takeuchi, Y.; Okumura, K.; Kajita, T.; Tasaka, S.; Hori, H.; Nemoto, M.; Okazawa, H. Development of high sensitivity radon detectors. Nucl. Instrum. Methods Phys. Res. A 1999, 421, 334–341. [Google Scholar] [CrossRef]
- Tokonami, S.; Ichiji, T.; Iimoto, T.; Kurosawa, R. Calculation procedure of potential alpha energy concentration with continuous air sampling. Health Phys. 1996, 71, 937–943. [Google Scholar] [CrossRef] [PubMed]
- Eappen, K.P.; Mayya, Y.S. Calibration factors for LR-115 (type-II) based radon thoron discriminating dosimeter. Radiat. Meas. 2004, 38, 5–17. [Google Scholar] [CrossRef]
- Sahoo, B.K.; Sapra, B.K.; Kanse, S.D.; Gaware, J.J.; Mayya, Y.S. A new pin-hole discriminated 222Rn/220Rn passive measurement device with single entry face. Radiat. Meas. 2013, 58, 52–60. [Google Scholar] [CrossRef]
- Doi, M.; Kobayashi, S. The passive radon-thoron discriminative dosimeter for practical use. Jpn. J. Health Phys. 1994, 29, 155–166. [Google Scholar] [CrossRef]
- Sciocchetti, G.; Sciocchetti, A.; Giovannoli, P.; DeFelice, P.; Cardellini, F.; Cotellessa, G.; Pagliari, M. A new passive radon-thoron discriminative measurement system. Radiat. Prot. Dosim. 2010, 141, 462–467. [Google Scholar] [CrossRef]
- Tokonami, S.; Takahashi, H.; Kobayashi, Y.; Zhuo, W. Up-to-date radon and thoron discriminative detector for a large-scale survey. Rev. Sci. Instrum. 2005, 76, 113505. [Google Scholar] [CrossRef]
- Omori, Y.; Prasad, G.; Sorimachi, A.; Sahoo, S.K.; Ishikawa, T.; Sagar, D.V.; Ramola, R.C.; Tokonami, S. Long-term measurements of residential radon, thoron, and thoron progeny concentrations around the Chhatrapur placer deposit, a high background radiation area in Odisha, India. J. Environ. Radioact. 2016, 162, 371–378. [Google Scholar] [CrossRef]
- Kleinschmidt, R.; Watson, D.; Janik, M.; Gillmore, G. The presence and dosimetry of radon and thoron in a historical, underground metalliferous mine. J. Sustain. Min. 2018, 17, 120–130. [Google Scholar] [CrossRef]
- Autsavapromporn, N.; Klunklin, P.; Threeratana, C.; Tuntiwechapikul, W.; Hosoda, M.; Tokonami, S. Short telomere length as a biomarker risk of lung cancer development induced by high radon levels: A pilot study. Int. J. Environ. Res. Public Health 2018, 15, 2152. [Google Scholar] [CrossRef]
- Adelikhah, M.; Shahrokhi, A.; Chalupnik, S.; Toth-Bordrogi, E.; Kovacs, T. High level of natural ionizing radiation at a thermal bath in Dehloran, Iran. Heliyon 2020, 6, e04297. [Google Scholar] [CrossRef]
- Pornnumpa, C.; Oyama, Y.; Iwaoka, K.; Hosoda, M.; Tokonami, S. Development of radon and thoron exposure systems at Hirosaki University. Radiat. Environ. Med. 2018, 7, 13–20. [Google Scholar]
- International Organization for Standardization. Measurement of Radioactivity in the Environment—Air—Radon 220: Integrated Measurement Methods for the Determination of the Average Activity Concentration Using Passive Solid-State Nuclear Track Detectors ISO16641; ISO: Geneva, Switzerland, 2014. [Google Scholar]
- International Organization for Standardization. Determination of the Characteristics Limits (Decision Threshold, Detection Limit and Limits of the Confidential Interval) for Measurements of Ionizing Radiation—Fundamentals and Application—Part 1: Elementary Applications ISO11929; ISO: Geneva, Switzerland, 2019. [Google Scholar]
- Ramola, R.C.; Prasad, M.; Rawat, M.; Dangwal, A.; Gusain, G.S.; Mishra, R.; Sahoo, S.K.; Tokonami, S. Comparative study of various techniques for environmental radon, thoron and progeny measurements. Radiat. Prot. Dosim. 2015, 167, 22–28. [Google Scholar] [CrossRef] [PubMed]
- Zhuo, W.; Iida, T. Estimation of thoron progeny concentrations in dwellings with their deposition rate measurements. Jpn. J. Health Phys. 2000, 35, 365–370. [Google Scholar] [CrossRef]
- Tokonami, S. Why is 220Rn (thoron) measurement important? Radiat. Prot. Dosim. 2010, 141, 335–339. [Google Scholar] [CrossRef] [PubMed]
- Mishra, R.; Mayya, Y.S. Study of a deposition-based direct thoron progeny sensor (DTPS) technique for estimating equilibrium equivalent thoron concentration (EETC) in indoor environment. Radiat. Meas. 2008, 43, 1408–1416. [Google Scholar] [CrossRef]
- Mishra, R.; Mayya, Y.S.; Kushwaha, H.S. Measurement of 220Rn/222Rn progeny deposition velocities on surfaces and their comparison with theoretical models. J. Aerosol Sci. 2009, 40, 1–15. [Google Scholar] [CrossRef]
- Gulan, L.; Milic, G.; Bossew, P.; Omori, Y.; Ishikawa, T.; Mishra, R.; Mayya, Y.S.; Stojanovska, Z.; Nikezic, D.; Vuckovic, B.; et al. Field experience on indoor radon, thoron, their progenies with solid-state detectors in a survey of Kosovo and Metohija (Balkan region). Radiat. Prot. Dosim. 2012, 152, 189–197. [Google Scholar] [CrossRef]
- Stojanovska, Z.; Zunic, Z.S.; Bossew, P.; Bochicchio, F.; Carpentieri, C.; Venso, G.; Mishra, R.; Rout, R.P.; Sapra, B.K.; Burghele, B.D.; et al. Results from time integrated measurements of indoor radon, thoron and their decay product concentrations in schools in the Republic of Macedonia. Radiat. Prot. Dosim. 2014, 162, 152–156. [Google Scholar] [CrossRef]
- Curguz, Z.; Stojanovska, Z.; Zunic, Z.S.; Kolaz, P.; Ishikawa, T.; Omori, Y.; Mishra, R.; Sapra, B.K.; Vaupotic, J.; Ujic, P.; et al. Lon-term measurements of radon, thoron and their airborne progeny in 25 schools in Republic of Srpska. J. Environ. Radioact. 2015, 148, 163–169. [Google Scholar] [CrossRef]
- Zunic, Z.S.; Stojanovska, Z.; Veselinovic, N.; Mishra, R.; Yarmoshenko, V.; Sapra, B.K.; Ishikawa, T.; Omori, Y.; Curguz, Z.; Bossew, P.; et al. Indoor radon, thoron and their progeny concentrations in high thoron rural Serbia environments. Radiat. Prot. Dosim. 2017, 177, 36–39. [Google Scholar] [CrossRef]
- Zunic, Z.S.; Mishra, R.; Celikovic, I.; Stojanovska, Z.; Yarmoshenko, I.V.; Malinovsky, G.; Milic, G.; Kovacs, T.; Sapra, B.K.; Kavasi, N.; et al. Effective doses estimated from the results of direct radon and thoron progeny sensors (DRPS/DTPS), exposed in selected regions of Balkans. Radiat. Prot. Dosim. 2019, 185, 387–390. [Google Scholar]
- Mayya, Y.S.; Mishra, R.; Prajith, R.; Sapra, B.K.; Kushwaha, H.S. Wire-mesh capped deposition sensors: Novel passive tool for coarse fraction flux estimation of radon thoron progeny in indoor environments. Sci. Total Environ. 2010, 409, 378–383. [Google Scholar] [CrossRef] [PubMed]
- Marsh, J.W.; Birchall, A. Letter to the editor—The thoron issue: Monitoring activities, measuring techniques and dose conversion factors. Radiat. Prot. Dosim. 1999, 81, 311–312. [Google Scholar] [CrossRef][Green Version]
- Marsh, J.W.; Birchall, A. Determination of lung-to-blood absorption rates for lead and bismuth which are appropriate for radon progeny. Radiat. Prot. Dosim. 1999, 83, 331–337. [Google Scholar] [CrossRef]
- Porstendoefer, J. Physical parameters and dose factors of the radon and thoron decay products. Radiat. Prot. Dosim. 2001, 94, 365–373. [Google Scholar] [CrossRef] [PubMed]
- Ishikawa, T.; Tokonami, S.; Nemeth, C. Calculation of dose conversion factors for thoron decay products. J. Radiol. Prot. 2007, 27, 447–456. [Google Scholar] [CrossRef] [PubMed]
- Kendall, G.M.; Phipps, A.W. Effective and organ doses from thoron decay products at different ages. J. Radiol. Prot. 2007, 27, 427–435. [Google Scholar] [CrossRef]
- Hofmann, W.; Winkler-Heil, R.; Truta, L.A.; Tschiersch, J. Application of a monte carlo lung dosimetry code to the inhalation of thoron progeny. Radiat. Prot. Dosim. 2014, 160, 96–99. [Google Scholar] [CrossRef]
- International Commission on Radiological Protection. Occupational Intakes of Radionuclides: Part 3. In Annals of the ICRP; International Commission on Radiological Protection: New York, NY, USA, 2017. [Google Scholar]
- Bineng, G.S.; Saïdou, S.T.; Hosoda, M.; Siaka, Y.F.; Issa, H.; Suzuki, T.; Kudo, H.; Bouba, O. The importance of direct progeny measurements for correct estimation of effective dose due to radon and thoron. Front. Public Health 2020, 8, 17. [Google Scholar] [CrossRef]
- Chen, J.; Moir, D.; Sorimachi, A.; Janik, M.; Tokonami, S. Determination of thoron equilibrium factor from simultaneous long-term thoron and its progeny measurements. Radiat. Prot. Dosim. 2012, 149, 155–158. [Google Scholar] [CrossRef]
- Chen, J.; Bergman, L.; Falcomer, R.; Whyte, J. Results of simultaneous radon and thoron measurements in 33 metropolitan areas of Canada. Radiat. Prot. Dosim. 2015, 163, 210–216. [Google Scholar] [CrossRef] [PubMed]
- Kudo, H.; Tokonami, S.; Omori, Y.; Ishikawa, T.; Iwaoka, K.; Sahoo, S.K.; Akata, N.; Hosoda, M.; Pornnumpa, C.; Sun, Q.; et al. Comparative dosimetry for radon and thoron in high background radiation areas in China. Radiat. Prot. Dosim. 2015, 167, 155–159. [Google Scholar] [CrossRef] [PubMed]
- Shang, B.; Tschiersch, J.; Cui, H.; Xia, Y. Radon survey in dwellings of Gansu, China: The influence of thoron and an attempt for correction. Radiat. Environ. Biophys. 2008, 47, 367–373. [Google Scholar] [CrossRef] [PubMed]
- Tokonami, S.; Sun, Q.; Akiba, S.; Zhuo, W.; Furukawa, M.; Ishikawa, T.; Hou, C.; Zhang, S.; Narazaki, Y.; Ohji, B.; et al. Radon and Thoron Exposures for cave residents in Shanxi and Shaanxi Provinces. Radiat. Res. 2004, 162, 390–396. [Google Scholar] [CrossRef]
- Kovacs, T. Thoron measurements in Hungary. Radiat. Prot. Dosim. 2010, 141, 328–334. [Google Scholar] [CrossRef]
- Omori, Y.; Tokonami, S.; Sahoo, S.K.; Ishikawa, T.; Sorimachi, A.; Hosoda, M.; Kudo, H.; Pornnumpa, C.; Nair, R.R.K.; Jayalekshmi, P.A.; et al. Radiation dose due to radon and thoron progeny inhalation in high-level natural radiation areas of Kerala, India. J. Radiol. Prot. 2017, 37, 111–126. [Google Scholar] [CrossRef]
- Mc Laughlin, J.P.; Murray, M.; Currivan, L.; Pollard, D.; Smith, V.; Tokonami, S.; Sorimachi, A.; Janik, M. Thoron and its airborne progeny in Irish dwellings. In Proceedings of the Third European IRPA Congress, Helsinki, Finland, 14–18 June 2010; pp. 2607–2612. [Google Scholar]
- Nyambura, C.; Tokonami, S.; Hashim, N.O.; Chege, M.W.; Suzuki, T.; Hosoda, M. Annual effective dose assessment due to radon and thoron progenies in dwellings of Kilimanbogo, Kenya. Radiat. Prot. Dosim. 2019, 184, 430–434. [Google Scholar] [CrossRef]
- Kim, C.K.; Kim, Y.J.; Lee, H.Y.; Chang, B.U.; Tokonami, S. 220Rn and its progeny in dwellings of Korea. Radiat. Meas. 2007, 42, 1409–1414. [Google Scholar] [CrossRef]
- Stojanovska, Z.; Bossew, P.; Tokonami, S.; Zunic, Z.; Bochicchio, F.; Boev, B.; Ristova, M.; Januseski, J. National survey of indoor thoron concentration in FYR of Macedonia (continental Europe – Balkan region). Radiat. Meas. 2013, 49, 57–66. [Google Scholar] [CrossRef]
- Martinez, T.; Navarrete, M.; Gonzalez, P.; Ramirez, A. Variation in indoor thoron levels in Mexico City dwellings. Radiat. Prot. Dosim. 2004, 111, 111–113. [Google Scholar] [CrossRef]
- Smetsers, R.C.G.M.; Blaauboer, R.O.; Dekkers, F.; Slaper, H. Radon and thoron progeny in Dutch dwellings. Radiat. Prot. Dosim. 2018, 181, 11–14. [Google Scholar] [CrossRef] [PubMed]
- Vaupotic, J.; Kavasi, N. Preliminary study of thoron and radon levels in various indoor environments in Slovenia. Radiat. Prot. Dosim. 2010, 141, 383–385. [Google Scholar] [CrossRef] [PubMed]
- Saputra, M.A.; Nugraha, E.D.; Purwanti, T.; Arifianto, R.; Laksmana, R.I.; Hutabarat, R.P.; Hosoda, M.; Tokonami, S. Exposures from radon, thoron, and thoron progeny in high background radiation area in Takandeang, Mamuju, Indonesia. Nukleonika 2020, 65, 89–94. [Google Scholar] [CrossRef]
- Wang, Z.; Lubin, J.; Wang, L.; Zhang, S.; Boice, J.; Cui, H.; Zhang, S.; Conrath, S.; Xia, Y.; Shang, B.; et al. Residential radon and lung cancer risk in a high-exposure area of Gansu Province, China. Am. J. Epidemiol. 2002, 155, 554–564. [Google Scholar] [CrossRef]
- Darby, S.; Hill, D.; Auvinen, A.; Barros-Dios, J.M.; Baysson, H.; Bochicchio, F.; Deo, H.; Falk, R.; Forastiere, F.; Hakama, M.; et al. Radon in homes and risk of lung cancer: Collaborative analysis of individual data from 13 European case-control studies. Br. Med. J. 2005, 330, 223. [Google Scholar] [CrossRef]
- Darby, S.; Hill, D.; Deo, H.; Auvinen, A.; Barros-Dios, J.M.; Baysson, H.; Bochicchio, F.; Falk, R.; Farchi, S.; Figueuras, A.; et al. Residential radon and lung cancer—detailed results of a collaborative analysis of individual data on 7148 persons with lung cancer and 14208 persons without lung cancer from 13 epidemiologic studies in Europe. Scand. J. Work Environ. Health 2006, 32, 1–84. [Google Scholar]
- Krewski, D.; Lubin, J.H.; Zielinski, J.M.; Alavanja, M.; Catalan, V.S.; Field, R.W.; Klotz, J.B.; Letourneau, E.G.; Lynch, C.F.; Lyon, J.I.; et al. Residential radon and risk of lung cancer: A combined analysis of 7 North American case-control studies. Epidemiology 2005, 16, 137–145. [Google Scholar] [CrossRef]
- Krewski, D.; Lubin, J.H.; Zielinski, J.M.; Alavanja, M.; Catalan, V.S.; Field, R.W.; Klotz, J.B.; Letourneau, E.G.; Lynch, C.F.; Lyon, J.I.; et al. A combined analysis of North American case-control studies of residential radon and lung cancer. J. Toxicol. Environ. Health A 2006, 69, 533–598. [Google Scholar] [CrossRef]
- Lubin, J.H.; Wang, Z.Y.; Boice, J.D., Jr.; Xu, Z.Y.; Blot, W.J.; Wang, L.D.; Kleinerman, R.A. Risk of lung cancer and residential radon in China: Pooled results of two studies. Int. J. Cancer 2004, 109, 132–137. [Google Scholar] [CrossRef]
- Tokonami, S.; Yang, M.; Sanada, T. Contribution from thoron on the response of passive radon detectors. Health Phys. 2001, 80, 612–615. [Google Scholar] [CrossRef]
- Yamada, Y.; Sun, Q.; Tokonami, S.; Akiba, S.; Zhuo, W.; Hou, C.; Zhang, S.; Ishikawa, T.; Furukawa, M.; Fukutsu, K.; et al. Radon-thoron discriminative measurements in Gansu Province, China, and their implication for dose estimates. J. Toxic. Environ. Health 2006, 69, 723–734. [Google Scholar] [CrossRef] [PubMed]
- Syaeful, H.; Sukadana, I.G.; Sumaryato, A. Radiometric mapping for naturally occurring radioactive materials (NORM) assessment in Mamuju, West Sulawesi. Atom Indones. 2014, 40, 33–39. [Google Scholar] [CrossRef][Green Version]









| Parameter 1 | Range | Typical |
|---|---|---|
| Decay constant of thoron [h−1] | - | 44.74 |
| Decay constant of Pb-212 [h−1] | - | 0.065 |
| Attachment rate of unattached thoron progeny onto ambient aerosols [h−1] | 3–110 | 50 |
| Ventilation rate of the room [h−1] | 0.1–1 | 0.5 |
| Deposition rate of attached thoron progeny [h−1] | 0.015–0.35 | 0.2 |
| Surface-to-Volume ratio [m−1] | - | 0.36 |
| References | Effective Dose Conversion Factors (mSv WLM−1) 1 |
|---|---|
| Marsh and Birchall [45,46] | 3.8 |
| UNSCEAR [1] | 1.9 |
| Porstendoerfer [47] | 2.4 |
| Ishikawa et al. [48] | 5.4 |
| Kendall and Phipps [49] | 5.7 |
| Hofmann et al. [50] | 4.6 |
| International Commission on Radiological Protection (ICRP) Publ. 137 [51] | 5.6 (Indoor workplace) 4.8 (Mine) |
| Country | Thoron (Bq m−3) | EETC (Bq m−3) | Remarks | Reference | |
|---|---|---|---|---|---|
| Cameroon | AM 1 | 173 (13) | 10.7 (0.9) | [52] | |
| GM 2 | 118 (6) | 7.4 (4.8) | |||
| Range | 23–724 | 0.4–37.6 | |||
| Canada | AM 1 | 114 (303) | 1.23 (1.51) | Halifax and Fredericton | [53] |
| GM 2 | 51 (2.93) | 0.75 (2.64) | |||
| Range | 6–1977 | 0.11–7.45 | |||
| Canada (33 metropolitans) | AM 1 | 9 (11) | - | [54] | |
| Range | ND–164 | - | |||
| China (Yangjiang) | AM 1 | 1247 (1189) | 7.8 (9.1) | [55] | |
| Median | 859 | 4.2 | |||
| Range | 65–3957 | 0.6–36.2 | |||
| China (Gansu) | AM 1 | 433 (210) | - | [56] | |
| GM 2 | 347 (2.29) | - | |||
| Range | 19–820 | - | |||
| China (Shanxi) | AM 1 | 160 | 1.4 | [57] | |
| GM 2 | 130 (2.0) | 1.2 (1.8) | |||
| China (Shaanxi) | AM 1 | 202 | 2.3 | [57] | |
| GM 2 | 181 (1.6) | 2.1 (1.6) | |||
| Hungary | GM 2 | 341 (2.59) | - | Bauxite mine | [58] |
| Range | 40–2514 | - | |||
| India (Kerala) | GM 2 | 41 | 1.81 (1.9) | [59] | |
| Range | 11–212 | 0.36–8.00 | |||
| India (Odisha) | AM 1 | 123 (105) | 3.19 (2.75) | [27] | |
| GM 2 | 95 (1.95) | 2.37 (2.15) | |||
| Range | 15–585 | 0.44–15.40 | |||
| Ireland | AM 1 | 22 | 0.47 | [60] | |
| Range | <1–174 | <0.05–3.8 | |||
| Kenya | AM 1 | 195 (36) | 11.5 (2.1) | [61] | |
| Range | BDL–973 | 0.8–29.1 | |||
| Korea | AM 1 | 40 (56) | 0.89 (0.70) | [62] | |
| GM 2 | 11 (2.9) | 0.6 (0.41–0.78) | |||
| Max | 731 | - | |||
| Macedonia | AM 1 | 37 (36) | - | [63] | |
| GM 2 | 28 (2.12) | - | |||
| Range | 3–272 | - | |||
| Mexico | AM 1 | 82 (75) | [64] | ||
| GM 2 | 55 | ||||
| Range | 8–234 | ||||
| Netherlands | AM 1 | - | 0.64 | [65] | |
| 95-Percentile | - | 1.37 | |||
| Max | - | 13.3 | |||
| Slovenia | AM 1 | 87 | - | Elementary School | [66] |
| Range | 21–368 | - | |||
| Srpska | AM 1 | 63 (40) | 0.52–0.34 | [41] | |
| GM 2 | 51 (2.07) | 0.40 (2.20) | |||
| Range | 7–198 | 0.09–1.16 | |||
| Kosovo | AM 1 | 136 | 2.06 | [39] | |
| GM 2 Range | 90 18–1313 | 1.90 0.87–4.38 | |||
| Serbia | AM 1 | 116 | 1.1 | [42] | |
| GM 2 | 89 | 0.86 | |||
| Range | 10–412 | 0.1–3.4 | |||
| Indonesia | AM 1 | 152 (indoor) | 13 (indoor) | West Sulawesi (HNBR) | [67] |
| 139 (outdoor) | 15 (outdoor) | ||||
| GM 2 | 141 (indoor) | 13 (indoor) | Number of dwellings | ||
| 121 (outdoor) | 15 (outdoor) | ||||
| Range | 20–618 (indoor) | 4–40 (indoor) | Indoor: 45 | ||
| 23–457 (outdoor) | 4–37 (outdoor) | Outdoor: 18 |
Publisher’s Note: MDPI stays neutral with regard to jurisdictional claims in published maps and institutional affiliations. |
© 2020 by the author. Licensee MDPI, Basel, Switzerland. This article is an open access article distributed under the terms and conditions of the Creative Commons Attribution (CC BY) license (http://creativecommons.org/licenses/by/4.0/).
Share and Cite
Tokonami, S. Characteristics of Thoron (220Rn) and Its Progeny in the Indoor Environment. Int. J. Environ. Res. Public Health 2020, 17, 8769. https://doi.org/10.3390/ijerph17238769
Tokonami S. Characteristics of Thoron (220Rn) and Its Progeny in the Indoor Environment. International Journal of Environmental Research and Public Health. 2020; 17(23):8769. https://doi.org/10.3390/ijerph17238769
Chicago/Turabian StyleTokonami, Shinji. 2020. "Characteristics of Thoron (220Rn) and Its Progeny in the Indoor Environment" International Journal of Environmental Research and Public Health 17, no. 23: 8769. https://doi.org/10.3390/ijerph17238769
APA StyleTokonami, S. (2020). Characteristics of Thoron (220Rn) and Its Progeny in the Indoor Environment. International Journal of Environmental Research and Public Health, 17(23), 8769. https://doi.org/10.3390/ijerph17238769
