A Deep Learning-Based Platform for Workers’ Stress Detection Using Minimally Intrusive Multisensory Devices
Abstract
1. Introduction
2. Data Acquisition
3. Software Framework
3.1. Preprocessing
3.2. Feature Extraction and Selection
3.3. Classification
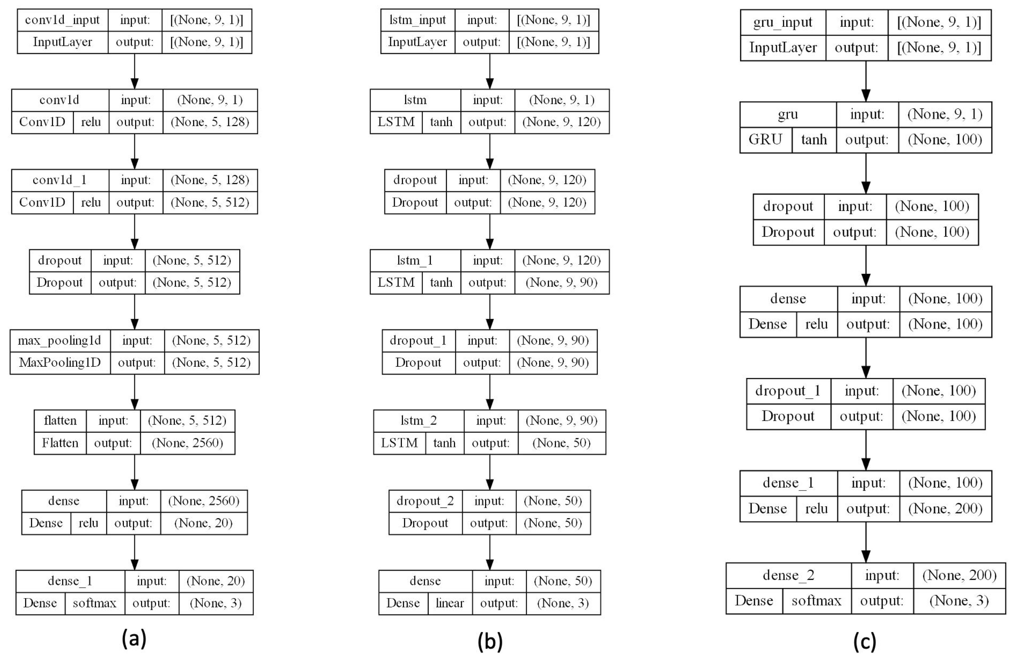
Deep Learning Architectures
- Input layer: each sample includes the values of the selected features. In addition, the input values were normalized by scaling between zero and one [40] using the following equation:where the minimum and maximum values relate to the X-value to be normalized.
- Two one-dimensional convolutional layers are used for analysis and feature extraction along the time axis of the inputs, employing the standard rectified linear activation function (i.e., ReLU). The first layer consists of 128 hidden layers while the second one contains 512 hidden layers.
- Dropout layer: aims to improve accuracy and to overcome overfitting.
- Max Pooling Level: its goal consists in learning the most relevant data from feature vectors.
- Flatten layer: the input matrix is reshaped to generate a feature vector to classify the stress from the output layer.
- Output layer: The outputs of this linear layer are three neurons allowing the stress level classification according to three labels: 0 (no stress), 1 (level 1 stress), and 2 (level 2 stress). Level 0 refers to a relaxed state, level 1 implies low stress, and level 2 indicates high stress. In terms of perceived stress, as reported by participants themselves, high stress is associated with scores of 3, 4, and 5.
- Input layer: as for 1D-CNN.
- Three LSTM layers: after the input layer, these three layers are added to improve the classification accuracy of our model.
- Three dropout layers: after every LSTM layer, a dropout layer has been added to enhance classification accuracy and to reduce overfitting.
- Output layer: as for 1D-CNN.
- Input layer: like the two above architectures.
- GRU layer: as described for the LSTM, this layer allows to increase the classification accuracy of stress level.
- Two dropout layers: inserted to improve classification values and to decrease overfitting.
- Output layer: like the two above architectures.

4. Results and Discussion
5. Conclusions
Author Contributions
Funding
Institutional Review Board Statement
Informed Consent Statement
Data Availability Statement
Conflicts of Interest
References
- Romero, D.; Stahre, J.; Wuest, T.; Noran, O.; Bernus, P.; Fast-Berglund, A.; Gorecky, D. Towards an operator 4.0 typology: A human-centric perspective on the fourth industrial revolution technologies. In Proceedings of the International Conference on Computers & Industrial Engineering, Tianjin, China, 29–31 October 2016. [Google Scholar]
- Hafeez, I.; Yingjun, Z.; Hafeez, S.; Mansoor, R.; Rehman, K.U. Impact of workplace environment on employee performance: Mediating role of employee health. Bus. Manag. Educ. 2019, 17, 173–193. [Google Scholar] [CrossRef]
- Nguyen, T.A.; Zeng, Y. Effects of stress and effort on self-rated reports in experimental study of design activities. J. Intell. Manuf. 2017, 28, 1609–1622. [Google Scholar] [CrossRef]
- Ciccarelli, M.; Papetti, A.; Germani, M. A review of work-related stress detection, assessment, and analysis on-field. Procedia CIRP 2023, 120, 1220–1225. [Google Scholar] [CrossRef]
- De Pascali, C.; Francioso, L.; Giampetruzzi, L.; Rescio, G.; Signore, M.A.; Leone, A.; Siciliano, P. Modeling, fabrication and integration of wearable smart sensors in a monitoring platform for diabetic patients. Sensors 2021, 21, 1847. [Google Scholar] [CrossRef]
- Lou, Z.; Wang, L.; Jiang, K.; Wei, Z.; Shen, G. Reviews of wearable health- care systems: Materials, devices and system integration. Mater. Sci. Eng. R Rep. 2020, 140, 100523. [Google Scholar] [CrossRef]
- Balters, S.; Steinert, M. Capturing emotion reactivity through physiology measurement as a foundation for affective engineering in engineering design science and engineering practices. J. Intell. Manuf. 2017, 28, 1585–1607. [Google Scholar] [CrossRef]
- Samson, C.; Koh, A. Stress monitoring and recent advancements in wearable biosensors. Front. Bioeng. Biotechnol. 2020, 8, 1037. [Google Scholar] [CrossRef]
- Mozgovoy, V. Stress pattern recognition through wearable biosensors in the workplace: Experimental longitudinal study on the role of motion intensity. In Proceedings of the 6th Swiss Conference on Data Science, Bern, Switzerland, 14 June 2019; pp. 37–45. [Google Scholar] [CrossRef]
- Rescio, G.; Manni, A.; Caroppo, A.; Ciccarelli, M.; Papetti, A.; Leone, A. Ambient and wearable system for workers’ stress evaluation. Comput. Ind. 2023, 148, 103905. [Google Scholar] [CrossRef]
- Baltaci, S.; Gokcay, D. Stress detection in human-computer interaction: Fusion of pupil dilation and facial temperature features. Int. J. Hum.-Comput. Interact. 2016, 32, 956–966. [Google Scholar] [CrossRef]
- Pedrotti, M.; Mirzaei, M.A.; Tedesco, A.; Chardonnet, J.R.; Merienne, F.; Benedetto, S.; Baccino, T. Automatic stress classification with pupil diameter analysis. Int. J. Hum.-Comput. Interact. 2014, 30, 220–236. [Google Scholar] [CrossRef]
- Giannakakis, G.; Pediaditis, M.; Manousos, D.; Kazantzaki, E.; Chiarugi, F.; Simos, P.G.; Marias, K.; Tsiknakis, M. Stress and anxiety detection using facial cues from videos. Biomed. Signal Process. Control. 2017, 31, 89–101. [Google Scholar] [CrossRef]
- Cho, Y.; Bianchi-Berthouze, N.; Julier, S.J. Deepbreath: Deep learning of breathing patterns for automatic stress recognition using low-cost thermal imaging in unconstrained settings. In Proceedings of the Seventh International Conference on Affective Computing and Intelligent Interaction, San Antonio, TX, USA, 23–26 October 2017; pp. 456–463. [Google Scholar] [CrossRef]
- Chen, T.; Yuen, P.; Richardson, M.; Liu, G.; She, Z. Detection of psychological stress using a hyperspectral imaging technique. IEEE Trans. Affect. Comput. 2014, 5, 391–405. [Google Scholar] [CrossRef]
- Zhang, J.; Wen, W.; Huang, F.; Liu, G. Recognition of realscene stress in examination with heart rate features. In Proceedings of the 9th International Conference on Intelligent Human-Machine Systems and Cybernetics, Hangzhou, China, 26–27 August 2017. [Google Scholar] [CrossRef]
- Sriramprakash, S.; Prasanna, V.D.; Murthy, O.V.R. Stress detection in working people. Procedia Comput. Sci. 2017, 115, 359–366. [Google Scholar] [CrossRef]
- Anusha, A.; Jose, J.; Preejith, S.P.; Jayaraj, J.; Mohanasankar, S. Physiological signal-based work stress detection using unobtrusive sensors. Biomed. Phys. Eng. Express 2018, 4, 065001. [Google Scholar] [CrossRef]
- Vila, G.; Godin, C.; Charbonnier, S.; Labyt, E.; Sakri, O.; Campagne, A. Pressure specific feature selection for acute stress detection from physiological recordings. In Proceedings of the 2018 IEEE International Conference on Systems, Man, and Cybernetics, Miyazaki, Japan, 7–10 October 2018; pp. 2341–2346. [Google Scholar] [CrossRef]
- Airij, A.G.; Sudirman, R.; Sheikh, U.U. Gsm and gps based real-time remote physiological signals monitoring and stress levels classification. In Proceedings of the 2nd International Conference on BioSignal Analysis, Processing and Systems, Kuching, Malaysia, 24–26 July 2018; pp. 130–135. [Google Scholar] [CrossRef]
- Zangroniz, R.; Martinez-Rodrigo, A.; Lopez, M.T.; Pastor, J.M.; Fernzndez- Caballero, A. Estimation of mental distress from photoplethysmography. Appl. Sci. 2018, 8, 69. [Google Scholar] [CrossRef]
- Chen, C.; Li, C.; Tsai, C.-W.; Deng, X. Evaluation of mental stress and heart rate variability derived from wrist-based photoplethysmography. In Proceedings of the IEEE Eurasia Conference on Biomedical Engineering, Healthcare and Sustainability, Okinawa, Japan, 31 May–3 June 2019; pp. 65–68. [Google Scholar] [CrossRef]
- Zubair, M.; Yoon, C. Multilevel mental stress detection using ultrashort pulse rate variability series. Biomed. Signal Process. Control 2020, 57, 101736. [Google Scholar] [CrossRef]
- Rodriguez-Arce, J.; Lara-Flores, L.; Portillo-Rodriguez, O.; Martinez-Mendez, R. Towards an anxiety and stress recognition system for academic environments based on physiological features. Comput. Methods Programs Biomed. 2020, 190, 105408. [Google Scholar] [CrossRef] [PubMed]
- Vildjiounaite, E.; Kallio, J.; Mantyjarvi, J.; Kyllonen, V.; Lindholm, M.; Gimel’farb, G. Unsupervised stress detection algorithm and experiments with real life data. Lect. Notes Comput. Sci. 2017, 10423, 95–107. [Google Scholar] [CrossRef]
- Huysmans, D.; Smets, E.; De Raedt, W.; Van Hoof, C.; Bogaerts, K.; Van Diest, I.; Helic, D. Unsupervised learning for mental stress detection-exploration of self-organizing maps. In Proceedings of the 11th International Joint Conference on Biomedical Engineering Systems and Technologies, Funchal, Portugal, 19–21 January 2018; pp. 26–35. [Google Scholar] [CrossRef]
- Oskooei, A.; Chau, S.M.; Weiss, J.; Sridhar, A.; Martinez, M.R.; Michel, B. Destress: Deep learning for unsupervised identification of mental stress in fire- fighters from heart-rate variability (hrv) data. Explain. Healthc. Med. Stud. Comput. Intell. 2021, 914, 93–105. [Google Scholar] [CrossRef]
- Fiorini, L.; Mancioppi, G.; Semeraro, F.; Fujita, H.; Cavallo, F. Unsupervised emotional state classification through physiological parameters for social robotics applications. Knowl.-Based Syst. 2020, 190, 105217. [Google Scholar] [CrossRef]
- Quendler, E.; Trieb, K.; Nimmerichter, A. Validation of automated detection of physical and mental stress during work in a Hühnermobil 225. Ann. Agric. Environ. Med. 2017, 24, 329–331. [Google Scholar] [CrossRef]
- Akmandor, A.O.; Jha, N.K. Keep the stress away with soda: Stress detection and alleviation system. IEEE Trans. Multi-Scale Comput. Syst. 2017, 3, 269–282. [Google Scholar] [CrossRef]
- Kirschbaum, C.; Pirke, K.-M.; Hellhammer, D.H. The trier social stress test-a tool for investigating psychobiological stress responses in a laboratory setting. Neuropsychobiology 1993, 28, 76–81. [Google Scholar] [CrossRef]
- Stroop, J.R. Studies of interference in serial verbal reactions. J. Exp. Psychol. 1935, 18, 643–662. [Google Scholar] [CrossRef]
- Dedovic, K.; Renwick, R.; Mahani, N.K.; Engert, V.; Lupien, S.J.; Pruessner, J.C. The montreal imaging stress task: Using functional imaging to investigate the effects of perceiving and processing psychosocial stress in the human brain. J. Psychiatry Neurosci. 2005, 30, 319. [Google Scholar]
- Kocielnik, R.; Sidorova, N.; Maggi, F.M.; Ouwerkerk, M.; Westerink, J.H.D.M. Smart technologies for long-term stress monitoring at work. In Proceedings of the 26th IEEE International Symposium on Computer-Based Medical Systems, Porto, Portugal, 20–22 June 2013; pp. 53–58. [Google Scholar] [CrossRef]
- Van Gent, P.; Farah, H.; Van Nes, N.; Van Arem, B. Heartpy: A novel heart rate algorithm for the analysis of noisy signals. Transp. Res. Part F Traffic Psychol. Behav. 2019, 66, 368–378. [Google Scholar] [CrossRef]
- Lugaresi, C.; Tang, J.; Nash, H.; McClanahan, C.; Uboweja, E.; Hays, M.; Zhang, F.; Chang, C.-L.; Yong, M.G.; Lee, J.; et al. Mediapipe: A framework for building perception pipelines. arXiv 2019, arXiv:1906.08172v1. [Google Scholar] [CrossRef]
- Kim, H.G.; Cheon, E.J.; Bai, D.S.; Lee, Y.H.; Koo, B.H. Stress and heart rate variability: A meta-analysis and review of the literature. Psychiatry Investig. 2018, 15, 235–245. [Google Scholar] [CrossRef] [PubMed]
- Muthukrishnan, R.; Rohini, R. Lasso: A feature selection technique in predictive modeling for machine learning. In Proceedings of the IEEE International Conference on Advances in Computer Applications, Tamilnadu, India, 24 October 2016; pp. 18–20. [Google Scholar] [CrossRef]
- Sarker, I.H. Deep learning: A comprehensive overview on techniques, taxonomy, applications and research directions. SN Comput. Sci. 2021, 2, 420. [Google Scholar] [CrossRef] [PubMed]
- Available online: https://scikit-learn.org/stable/modules/generated/sklearn.preprocessing.MinMaxScaler.html (accessed on 12 October 2023).
- Bergstra, J.; Bengio, Y. Random search for hyper-parameter optimization. J. Mach. Learn. Res. 2012, 13, 281–305. [Google Scholar]
- Hastie, T.; Tibshirani, R.; Friedman, J. The Elements of Statistical Learning: Data Mining, Inference, and Prediction; Springer: Berlin/Heidelberg, Germany, 2009. [Google Scholar]
- Donati, M.; Olivelli, M.; Giovannini, R.; Fanucci, L. ECG-Based Stress Detection and Productivity Factors Monitoring: The Real-Time Production Factory System. Sensors 2023, 23, 5502. [Google Scholar] [CrossRef] [PubMed]
- Simantiraki, O.; Giannakakis, G.; Pampouchidou, A.; Tsiknakis, M. Stress detection from speech using spectral slope measurements. In FABULOUS 2016, MindCare 2016, IIOT 2015: Pervasive Computing Paradigms for Mental Health; Lecture Notes of the Institute for Computer Sciences, Social Informatics and Telecommunications Engineering; Oliver, N., Serino, S., Matic, A., Cipresso, P., Filipovic, N., Gavrilovska, L., Eds.; Springer: Cham, Swizerland, 2016; Volume 207. [Google Scholar] [CrossRef]
- Tervonen, J.; Puttonen, S.; Sillanpää, M.J.; Hopsu, L.; Homorodi, Z.; Keränen, J.; Pajukanta, J.; Tolonen, A.; Lämsä, A.; Mäntyjärvi, J. Personalized mental stress detection with self-organizing map: From laboratory to the field. Comput. Biol. Med. 2020, 124, 103935. [Google Scholar] [CrossRef] [PubMed]
- Soto, M.; Satterfield, C.; Fritz, T.; Murphy, G.C.; Shepherd, D.C.; Kraft, N. Observing and predicting knowledge worker stress, focus and awakeness in the wild. Int. J. Hum.-Comput. Stud. 2021, 146, 102560. [Google Scholar] [CrossRef]
- Mauss, D.; Jarczok, M.N.; Fischer, J.E. The streamlined Allostatic Load Index: A replication of study results. Stress 2016, 19, 553–558. [Google Scholar] [CrossRef]
- Mauss, D.; Jarczok, M.N.; Fischer, J.E. A streamlined approach for assessing the Allostatic Load Index in industrial employees. Stress 2015, 18, 475–483. [Google Scholar] [CrossRef]





| Task | Procedure | Time |
|---|---|---|
| Baseline | 2 min | |
| 1 | Trier Social Stress Test | 5 min |
| Mental Arithmetic Stress Test | 5 min | |
| Rest | 2 min | |
| 2 | Stroop Color Word Inference Test | 1 min |
| Rest | 2 min | |
| 3 | Math Test | 1 min |
| Rest | 2 min | |
| 4 | Memory Test | 2 min |
| Rest | 2 min |
| Sensor | Feature | Description | Coefficient |
|---|---|---|---|
| PPG | RMSSD | Root Mean Square of the Successive Differences | 0.867 |
| PPG | SDNN | Standard Deviation of NN intervals | 0.532 |
| PPG | pNN50 | The proportion of interval differences of successive NN intervals greater than 50 ms | 0.479 |
| EDA | GSR peak amplitude sum | GSR value at Peak-GSR value at point of onset | 0.921 |
| EDA | GSR peak energy sum | 0.5 × peak amplitude × peak rise time | 0.231 |
| EDA | GSR rise rate average | Sum average of 1st derivative of points with 1st derivative >threshold (0.025) | 0.416 |
| RGB Camera | Blink number | Number of Blinks in the sliding window | 0.898 |
| RGB Camera | Ratio mean | Mean of Eye Aspect Ratio | 0.654 |
| RGB Camera | Ratio max | Maximum of Eye Aspect Ratio | 0.328 |
| Model | Parameters |
|---|---|
| 1D-CNN | optimizer = “adam”, loss_function = “sparse_categorical_crossentropy”, epochs = 500, batch_size = 64, hidden_layer_conv1d = 128, hidden_layer_conv1d_1 = 512, hidden_layer_dense = 20, dropout = 0.05 |
| LSTM | optimizer = “adam”, loss_function = “sparse_categorical_crossentropy”, epochs = 700, batch_size = 64, hidden_layer_lstm = 120, hidden_layer_lstm_1 = 90, hidden_layer_lstm_2 = 50, dropout = 0.1, dropout_1 = 0.5, dropout_2 = 0.1 |
| GRU | optimizer = “adam”, loss_function = “sparse_categorical_crossentropy”, epochs = 700, batch_size = 64, hidden_layer_gru = 100, hidden_layer_dense = 100, hidden_layer_dense_1 = 200 dropout = 0.05, dropout_1 = 0.05 |
| Model | Accuracy | Precision | Recall | F1-Score |
|---|---|---|---|---|
| 1D-CNN | 0.9538 | 0.9603 | 0.9496 | 0.9530 |
| LSTM | 0.9295 | 0.9320 | 0.9109 | 0.9279 |
| GRU | 0.9505 | 0.9518 | 0.9368 | 0.9491 |
| Model | Accuracy | Precision | Recall | F1-Score |
|---|---|---|---|---|
| 1D-CNN | 0.9688 | 0.9708 | 0.9615 | 0.9687 |
| LSTM | 0.9499 | 0.9582 | 0.9512 | 0.9566 |
| GRU | 0.9405 | 0.9410 | 0.9304 | 0.9404 |
| Model | Accuracy | Precision | Recall | F1-Score | ||||
|---|---|---|---|---|---|---|---|---|
| Wear. | Amb. | Wear. | Amb. | Wear. | Amb. | Wear. | Amb. | |
| 1D-CNN | 0.9574 | 0.9516 | 0.9598 | 0.9589 | 0.9486 | 0.9491 | 0.9526 | 0.9531 |
| LSTM | 0.9281 | 0.9273 | 0.9361 | 0.9319 | 0.9107 | 0.9105 | 0.9189 | 0.9233 |
| GRU | 0.9512 | 0.9498 | 0.9507 | 0.9492 | 0.9374 | 0.9359 | 0.9487 | 0.9479 |
| Work | Vital Signs | Sensor Placement | Stress Level | Accuracy |
|---|---|---|---|---|
| [17] | ECG, GSR | Hand, fingers, Chest | 1 | 0.9275 |
| [18] | EDA, ECG, SKT | Hand, fingers, Chest | 1 | 0.9586 |
| [19] | ECG, EDA | Hand, fingers, Chest | 1 | 0.875 |
| [20] | HR, EDA, SKT | Hand | 3 | 0.9619 |
| [21] | PPG | Wrist | 2 | 0.8235 |
| [23] | PPG | Hand, fingers | 4 | 0.9433 |
| [24] | HR, SpO2, ST | Hand, fingers, Nose | 1 | 0.9598 |
| [43] | ECG | Chest | 1 | 0.884 |
| [13] | Physical: Eye activity (pupil dilation) | RGB Camera | 1 | 0.9168 |
| [44] | Physical: Human Speech | RGB Camera | 1 | 0.9206 |
Disclaimer/Publisher’s Note: The statements, opinions and data contained in all publications are solely those of the individual author(s) and contributor(s) and not of MDPI and/or the editor(s). MDPI and/or the editor(s) disclaim responsibility for any injury to people or property resulting from any ideas, methods, instructions or products referred to in the content. |
© 2024 by the authors. Licensee MDPI, Basel, Switzerland. This article is an open access article distributed under the terms and conditions of the Creative Commons Attribution (CC BY) license (https://creativecommons.org/licenses/by/4.0/).
Share and Cite
Rescio, G.; Manni, A.; Ciccarelli, M.; Papetti, A.; Caroppo, A.; Leone, A. A Deep Learning-Based Platform for Workers’ Stress Detection Using Minimally Intrusive Multisensory Devices. Sensors 2024, 24, 947. https://doi.org/10.3390/s24030947
Rescio G, Manni A, Ciccarelli M, Papetti A, Caroppo A, Leone A. A Deep Learning-Based Platform for Workers’ Stress Detection Using Minimally Intrusive Multisensory Devices. Sensors. 2024; 24(3):947. https://doi.org/10.3390/s24030947
Chicago/Turabian StyleRescio, Gabriele, Andrea Manni, Marianna Ciccarelli, Alessandra Papetti, Andrea Caroppo, and Alessandro Leone. 2024. "A Deep Learning-Based Platform for Workers’ Stress Detection Using Minimally Intrusive Multisensory Devices" Sensors 24, no. 3: 947. https://doi.org/10.3390/s24030947
APA StyleRescio, G., Manni, A., Ciccarelli, M., Papetti, A., Caroppo, A., & Leone, A. (2024). A Deep Learning-Based Platform for Workers’ Stress Detection Using Minimally Intrusive Multisensory Devices. Sensors, 24(3), 947. https://doi.org/10.3390/s24030947

