Assessing the Post-Activation Performance Enhancement of Upper Limbs in Basketball Athletes: A Sensor-Based Study of Rapid Stretch Compound and Blood Flow Restriction Training
Abstract
1. Introduction
2. Research Objects and Methods
2.1. Objects of Study
2.2. Research Methodology
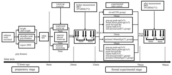
2.2.1. Experimental Design and Intervention Program
2.2.2. Experimental Tests
2.3. Statistical Methods
3. Findings
3.1. Multiple Comparison Analysis
3.2. Effects of Each Mode of Exercise Intervention on Changes in Upper Extremity Explosive Strength Indices at Different Time Points (Table 3)
| Group | Time | PV (m/s) | MV (m/s) | PP (W) | MP (W) | H (cm) |
|---|---|---|---|---|---|---|
| Pre-test | 4 min | 2.18 ± 0.142 | 1.25 ± 0.088 | 923.6 ± 146.48 | 433 ± 76.413 | 35.97 ± 8.149 |
| 8 min | 2.22 ± 0.138 | 1.26 ± 0.079 | 922.3 ± 133.34 | 436.75 ± 75.621 | 37.8 ± 8.356 | |
| 12 min | 2.23 ± 0.128 | 1.26 ± 0.057 | 956.7 ± 131.32 | 444.5 ± 68.129 | 38.71 ± 6.003 & | |
| STR group | 4 min | 2.24 ± 0.14 &# | 1.27 ± 0.082 & | 934.75 ± 141.37 & | 445.1 ± 70.508 & | 40.85 ± 6.723 * |
| 8 min | 2.27 ± 0.141 * | 1.33 ± 0.066 * | 970.7 ± 136.83 * | 465.2 ± 66.972 * | 44.67 ± 9.706 * | |
| 12 min | 2.25 ± 0.141 | 1.29 ± 0.08 | 961.25 ± 134.25 | 456.11 ± 63.576 | 42.15 ± 6.367 | |
| BFR group | 4 min | 2.39 ± 0.272 * | 1.31 ± 0.053 *& | 976.05 ± 146.45 * | 454.67 ± 68.579 *& | 44.14 ± 7.644 * |
| 8 min | 2.27 ± 0.138 | 1.28 ± 0.062 ∆& | 946 ± 148.92 | 446.95 ± 62.402 ∆ | 41.12 ± 6.108 & | |
| 12 min | 2.23 ± 0.135 § | 1.29 ± 0.067 | 940.39 ± 128.07 | 450.56 ± 59.615 | 40.18 ± 8.360 & | |
| COMB group | 4 min | 2.32 ± 0.077 * | 1.34 ± 0.031 * | 981.05 ± 138.03 * | 466.22 ± 55.941 * | 45.8 ± 6.786 * |
| 8 min | 2.27 ± 0.125 | 1.32 ± 0.039 * | 949.35 ± 128.81 | 458.66 ± 60.513 * | 44.82 ± 5.757 * | |
| 12 min | 2.30 ± 0.128 * | 1.31 ± 0.058 * | 969.63 ± 140.05 | 461.3 ± 61.932 | 45.53 ± 6.204 | |
| CON group | 4 min | 2.18 ± 0.119 & | 1.28 ± 0.07 & | 926.7 ± 131.43 #& | 436.88 ± 68.678 &# | 39.11 ± 7.937 *∆&# |
| 8 min | 2.23 ± 0.132 | 1.29 ± 0.067 ∆ | 935.07 ± 138.19 | 445.6 ± 73.417 ∆ | 38.98 ± 7.444 ∆& | |
| 12 min | 2.23 ± 0.139 & | 1.29 ± 0.054 | 935.13 ± 128.75 | 451.03 ± 60.34 | 40.3 ± 6.837 & |
4. Discussion and Analysis
4.1. Analysis of the Effect of Upper Extremity PAPE Induction after Rapid Stretching Compound Training Intervention
4.2. Analysis of the Effect of Upper Extremity PAPE Induction after Blood Flow
Restriction Training
4.3. Analysis of the Effect of Upper Extremity PAPE Induction after Rapid Stretching Compound Training Combined with Blood Flow Restriction Stimulation
4.4. Limitations
4.5. Significance and Value
4.6. Future Work
5. Conclusions
Author Contributions
Funding
Institutional Review Board Statement
Informed Consent Statement
Data Availability Statement
Acknowledgments
Conflicts of Interest
References
- Tillin, N.A.; Bishop, D. Factors modulating post-activation potentiation and its effect on performance of subsequent explosive activities. Sports Med. 2009, 39, 147–166. [Google Scholar] [CrossRef] [PubMed]
- Asadi, A.; Arazi, H.; Young, W.B.; Sáez de Villarreal, E. The Effects of Plyometric Training on Change-of-Direction Ability: A Meta-Analysis. Int. J. Sports Physiol. Perform. 2016, 11, 563–573. [Google Scholar] [CrossRef] [PubMed]
- Doma, K.; Leicht, A.S.; Boullosa, D.; Woods, C.T. Lunge exercises with blood-flow restriction induces post-activation potentiation and improves vertical jump performance. Eur. J. Appl. Physiol. 2020, 120, 687–695. [Google Scholar] [CrossRef] [PubMed]
- Köklü, Y.; Köklü, Ö.; Işıkdemir, E.; Alemdaroğlu, U. Effect of Varying Recovery Duration on Postactivation Potentiation of Explosive Jump and Short Sprint in Elite Young Soccer Players. J. Strength Cond. Res. 2022, 36, 534–539. [Google Scholar] [CrossRef] [PubMed]
- Fu, K.; Chen, L.; Poon, E.T.; Wang, R.; Li, Q.; Liu, H.; Ho, I.M.K. Post-activation performance enhancement of flywheel training on lower limb explosive power performance. Front. Physiol. 2023, 14, 1217045. [Google Scholar] [CrossRef]
- Seitz, L.B.; Haff, G.G. Factors Modulating Post-Activation Potentiation of Jump, Sprint, Throw, and Upper-Body Ballistic Performances: A Systematic Review with Meta-Analysis. Sports Med. 2016, 46, 231–240. [Google Scholar] [CrossRef] [PubMed]
- Boullosa, D.A.; Abreu, L.; Beltrame, L.G.; Behm, D.G. The acute effect of different half squat set configurations on jump potentiation. J. Strength Cond. Res. 2013, 27, 2059–2066. [Google Scholar] [CrossRef] [PubMed]
- He, K.; Sun, Y.; Xiao, S.; Zhang, X.; Du, Z.; Zhang, Y. Effects of High-Load Bench Press Training with Different Blood Flow Restriction Pressurization Strategies on the Degree of Muscle Activation in the Upper Limbs of Bodybuilders. Sensors 2024, 24, 605. [Google Scholar] [CrossRef] [PubMed]
- Wilk, M.; Krzysztofik, M.; Filip, A.; Szkudlarek, A.; Lockie, R.G.; Zajac, A. Does Post-Activation Performance Enhancement Occur during the Bench Press Exercise under Blood Flow Restriction? Int. J. Environ. Res. Public Health 2020, 17, 3752. [Google Scholar] [CrossRef] [PubMed]
- Larsen, S.; Gomo, O.; van den Tillaar, R. A Biomechanical Analysis of Wide, Medium, and Narrow Grip Width Effects on Kinematics, Horizontal Kinetics, and Muscle Activity on the Sticking Region in Recreationally Trained Males during 1-RM Bench Pressing. Front. Sports Act. Living 2021, 2, 637066. [Google Scholar] [CrossRef] [PubMed]
- Liossis, L.D.; Forsyth, J.; Liossis, C.; Tsolakis, C. The acute effect of upper-body complex training on power output of martial art athletes as measured by the bench press throw exercise. J. Human Kinetics 2013, 39, 167–175. [Google Scholar] [CrossRef] [PubMed]
- Li, Z.; Wei, W.; Zhao, Z.; Sun, K.; Gao, W.; Xiao, Z. Effects of different degrees of blood flow restriction on serum growth hormone and testosterone secretion in low-intensity resistance exercise. China Sports Sci. Technol. 2020, 56, 6. [Google Scholar]
- Sonkodi, B.; Kopa, Z.; Nyirády, P. Post Orgasmic Illness Syndrome (POIS) and Delayed Onset Muscle Soreness (DOMS): Do They Have Anything in Common? Cells 2021, 10, 1867. [Google Scholar] [CrossRef] [PubMed]
- Krzysztofik, M.; Wilk, M.; Stastny, P.; Golas, A. Post-activation Performance Enhancement in the Bench Press Throw: A Systematic Review and Meta-Analysis. Front. Physiol. 2021, 11, 598628. [Google Scholar] [CrossRef] [PubMed]
- Sands, W.A.; Wurth, J.J.; Hewit, J.K. Basics of Strength and Conditioning Manual. National Strength and Conditioning Association: Colorado Springs, CO, USA, 2012. [Google Scholar]
- Ferreira, S.L.; Panissa, V.L.; Miarka, B.; Franchini, E. Postactivation potentiation: Effect of various recovery intervals on bench press power performance. J. Strength Cond. Res. 2012, 26, 739–744. [Google Scholar] [CrossRef] [PubMed]
- West, D.J.; Cunningham, D.J.; Crewther, B.T.; Cook, C.J.; Kilduff, L.P. Influence of ballistic bench press on upper body power output in professional rugby players. J. Strength Cond. Res. 2013, 27, 2282–2287. [Google Scholar] [CrossRef] [PubMed]
- García-Ramos, A.; Haff, G.G.; Pestaña-Melero, F.L.; Pérez-Castilla, A.; Rojas, F.J.; Balsalobre-Fernández, C.; Jaric, S. Feasibility of the 2-point method for determining the 1-repetition maximum in the bench press exercise. Int. J. Sports Physiol. Perform. 2018, 13, 474–481. [Google Scholar] [CrossRef] [PubMed]
- Dragutinovic, B.; Jacobs, M.W.; Feuerbacher, J.F.; Goldmann, J.P.; Cheng, S.; Schumann, M. Evaluation of the Vmaxpro sensor for assessing movement velocity and load-velocity variables: Accuracy and implications for practical use. Biol. Sport 2024, 41, 41–51. [Google Scholar] [CrossRef] [PubMed]
- Fritschi, R.; Seiler, J.; Gross, M. Validity and Effects of Placement of Velocity-Based Training Devices. Sports 2021, 9, 123. [Google Scholar] [CrossRef] [PubMed]
- Finlay, M.J.; Bridge, C.A.; Greig, M.; Page, R.M. Upper-Body Post-activation Performance Enhancement for Athletic Performance: A Systematic Review with Meta-analysis and Recommendations for Future Research. Sports Med. 2022, 52, 847–871. [Google Scholar] [CrossRef] [PubMed]
- Ulrich, G.; Parstorfer, M. Effects of Plyometric Versus Concentric and Eccentric Conditioning Contractions on Upper-Body Postactivation Potentiation. Int. J. Sports Physiol. Perform. 2017, 12, 736–741. [Google Scholar] [CrossRef] [PubMed]
- Wei, H.; Xiang, J. Study on the post-activation enhancement effect of rapid stretching compound exercise with blood flow restriction. J. Henan Norm. Univ. Nat. Sci. Ed. 2022, 50, 6. [Google Scholar]
- Da Silva Novaes, J.; da Silva Telles, L.G.; Monteiro, E.R.; da Silva Araujo, G.; Vingren, J.L.; Silva Panza, P.; Reis, V.M.; Laterza, M.C.; Vianna, J.M. Ischemic Preconditioning Improves Resistance Training Session Performance. J. Strength Cond. Res. 2021, 35, 2993–2998. [Google Scholar] [CrossRef] [PubMed]
- Valenzuela, P.L.; Martín-Candilejo, R.; Sánchez-Martínez, G.; Bouzas Marins, J.C.; de la Villa, P.; Sillero-Quintana, M. Ischemic Preconditioning and Muscle Force Capabilities. J. Strength Cond. Res. 2021, 35, 2187–2192. [Google Scholar] [CrossRef] [PubMed]
- Batista, M.A.; Roschel, H.; Barroso, R.; Ugrinowitsch, C.; Tricoli, V. Influence of strength training background on postactivation potentiation response. J. Strength Cond. Res. 2011, 25, 2496–2502. [Google Scholar] [CrossRef] [PubMed]
- Blazevich, A.J.; Babault, N. Post-activation Potentiation Versus Post-activation Performance Enhancement in Humans: Historical Perspective, Underlying Mechanisms, and Current Issues. Front. Physiol. 2019, 10, 1359. [Google Scholar] [CrossRef] [PubMed]
- Matthews, M.; O’Conchuir, C.; Comfort, P. The acute effects of heavy and light resistances on the flight time of a basketball push-pass during upper body complex training. J. Strength Cond. Res. 2009, 23, 1988–1995. [Google Scholar] [CrossRef]
- Moritani, T.; Sherman, W.M.; Shibata, M.; Matsumoto, T.; Shinohara, M. Oxygen availability and motor unit activity in humans. Eur. J. Appl. Physiol. Occup. Physiol. 1992, 64, 552–556. [Google Scholar] [CrossRef] [PubMed]
- Loenneke, J.P.; Pujol, T.J. The use of occlusion training to produce muscle hypertrophy. Strength Cond. J. 2009, 31, 77–84. [Google Scholar] [CrossRef]
- Pan, Y.; Zhao, Y.; Tian, Y.; Ma, X.; Tan, C.; Yu, Y. Effects of eccentric exercise with different degrees of blood flow restriction on peripheral fatigue and cardiac autonomic nerve function. China Sports Sci. Technol. 2021, 57, 28–36. [Google Scholar]
- Lei, S.; Zhang, M.; Ma, C.; Gao, W.; Xia, X.; Dong, K. Muscle effect, dose-effect relationship and physiological mechanism of pressure resistance training. Chin. Tissue Eng. Res. 2023, 27, 4254. [Google Scholar]





| Age (y) | Height (cm) | Body Mass (kg) | Arm’s Length | Training Period | Bench Press 1RM (kg) |
|---|---|---|---|---|---|
| 23 ± 1.83 | 185.1 ± 5.49 | 81.7 ± 8.89 | 71.93 ± 2.57 | 3.27 ± 5.43 | 105.5 ± 11.65 |
| PV | MV | PP | MP | |||||
|---|---|---|---|---|---|---|---|---|
| F | p | F | p | F | p | F | p | |
| group | 6.366 | 0.004 ** | 9.573 | 0.000 ** | 3.277 | 0.014 * | 10.037 | 0.000 ** |
| time | 0.377 | 1.201 | 0.364 | 0.923 | 1.277 | 0.416 | 1.516 | 0.324 |
| group × time | 2.790 | 0.041 * | 2.148 | 0.059 | 1.612 | 0.130 | 1.705 | 0.150 |
Disclaimer/Publisher’s Note: The statements, opinions and data contained in all publications are solely those of the individual author(s) and contributor(s) and not of MDPI and/or the editor(s). MDPI and/or the editor(s) disclaim responsibility for any injury to people or property resulting from any ideas, methods, instructions or products referred to in the content. |
© 2024 by the authors. Licensee MDPI, Basel, Switzerland. This article is an open access article distributed under the terms and conditions of the Creative Commons Attribution (CC BY) license (https://creativecommons.org/licenses/by/4.0/).
Share and Cite
Cui, S.; Du, Z.; Wang, N.; Zhang, X.; Li, Z.; Zhang, Y.; Wang, L. Assessing the Post-Activation Performance Enhancement of Upper Limbs in Basketball Athletes: A Sensor-Based Study of Rapid Stretch Compound and Blood Flow Restriction Training. Sensors 2024, 24, 4439. https://doi.org/10.3390/s24144439
Cui S, Du Z, Wang N, Zhang X, Li Z, Zhang Y, Wang L. Assessing the Post-Activation Performance Enhancement of Upper Limbs in Basketball Athletes: A Sensor-Based Study of Rapid Stretch Compound and Blood Flow Restriction Training. Sensors. 2024; 24(14):4439. https://doi.org/10.3390/s24144439
Chicago/Turabian StyleCui, Shuang, Zhihao Du, Nannan Wang, Xiuli Zhang, Zongquan Li, Yanping Zhang, and Liang Wang. 2024. "Assessing the Post-Activation Performance Enhancement of Upper Limbs in Basketball Athletes: A Sensor-Based Study of Rapid Stretch Compound and Blood Flow Restriction Training" Sensors 24, no. 14: 4439. https://doi.org/10.3390/s24144439
APA StyleCui, S., Du, Z., Wang, N., Zhang, X., Li, Z., Zhang, Y., & Wang, L. (2024). Assessing the Post-Activation Performance Enhancement of Upper Limbs in Basketball Athletes: A Sensor-Based Study of Rapid Stretch Compound and Blood Flow Restriction Training. Sensors, 24(14), 4439. https://doi.org/10.3390/s24144439
