Research on Electro-Hydraulic Servo Resonance Technology
Abstract
1. Introduction
2. Structural Principle and Vibration Analysis
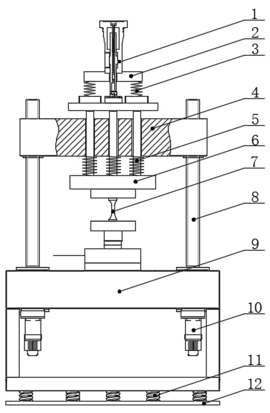
2.1. Structural Principle
2.2. Electro-Hydraulic Servo Excitation Equivalent Stiffness
2.3. Resonant Vibration
3. System Simulation Analysis
3.1. Simulation Model and Parameter Setting
3.2. Modal Analysis
3.3. Vibration Analysis
3.3.1. Enlargement Factor
3.3.2. Displacement and Phase Analysis
3.3.3. Bearing Capacity Analysis
3.4. Influencing Factor Analysis of Natural Frequency and Amplification Factor
3.4.1. Influence of Specimen Stiffness
3.4.2. Influence of Lead Screw Stiffness
3.4.3. Influence of II Spring Stiffness
3.4.4. Influence of the Quality of Class II Weights
3.4.5. Influence of Lower Beam Quality
3.4.6. Influence of the Upper Beam Quality
4. Conclusions
Author Contributions
Funding
Institutional Review Board Statement
Informed Consent Statement
Data Availability Statement
Acknowledgments
Conflicts of Interest
References
- Chen, J.X.; Zhang, J.H.; Zhao, H.W. Development and Experimental Verification of a High-Temperature and In-Plane Biaxial Testing Apparatus. Machines 2022, 10, 1054. [Google Scholar] [CrossRef]
- Liu, S.F.; Tang, W. On general uncertainty data and general uncertainty variable for reliability growth analysis of major aerospace equipment. Grey Syst. Theory Appl. 2023, 13, 261–276. [Google Scholar] [CrossRef]
- Cherolis, N.E.; Benac, D.J.; Shaffer, D.M.; Redman, J. The Value of Investigating and Trending Minor Failures to Prevent Major Incidents. J. Fail. Anal. Prev. Vol. 2018, 18, 1143–1153. [Google Scholar] [CrossRef]
- Lukas, P.; Kunz, L. Specific features of high-cycle and ultra-high-cycle fatigue. Fatigue Fract. Eng. Mater. Struct. 2002, 25, 747–753. [Google Scholar] [CrossRef]
- Xu, W.; Zhao, Y.G.; Chen, X.; Zhong, B.; Yu, H.C.; He, Y.H.; Tao, C.H. An Ultra-High Frequency Vibration-Based Fatigue Test and Its Comparative Study of a Titanium Alloy in the VHCF Regime. Metals 2020, 10, 1415. [Google Scholar] [CrossRef]
- Bathias, C. There in no infinite fatigue life in metallic materials. Fatigue Fract. Eng. Mater. Struct. 1999, 22, 559–565. [Google Scholar] [CrossRef]
- Sun, H.; Laird, C. Machine-induced strain oscillations during fatigue tests with closed-loop servohydraulic system. Mater. Sci. Eng. 1987, 89, 63–77. [Google Scholar]
- Ogawa, T.; Stanzl, T.; Stefanie, E.; Schönbauer, B.M. A fracture mechanics approach to interior fatigue crack growth in the very high cycle regime. Eng. Fract. Mech. 2014, 115, 241–254. [Google Scholar] [CrossRef]
- Komazaki, S.; Egami, K.; Kamaya, M.; Hisaka, C.; Nitta, A. Application of SBF Test to Fatigue Damage Assessment of Type 316 Steel. Mater. Perform. Charact. 2022, 11, 451–463. [Google Scholar] [CrossRef]
- Isailovic, I.; Wistuba, M.P. Sweep test protocol for fatigue evaluation of asphalt mixtures. Road Mater. Pavement Des. 2019, 20, 1131–1144. [Google Scholar] [CrossRef]
- Banaszek, A.; Petrovic, R.; Zylinski, B. Fem analysis of pipe material temperature changes influence on line expansion loops in hydraulic installations mounted on modern product and chemical tankers. Therm. Sci. 2010, 86. [Google Scholar]
- Goanta, V. Device for Torsional Fatigue Strength Assessment Adapted for Pulsating Testing Machines. Sensors 2022, 22, 2667. [Google Scholar] [CrossRef] [PubMed]
- Steinede, M.; Peyer, M.J.; Hofko, B.; Chaudhary, M.; Saboo, N.; Gupta, A. Comparing different fatigue test methods at asphalt mastic level. Mater. Struct. 2022, 55, 132. [Google Scholar] [CrossRef]
- Xia, Q.; Guo, C.X.; Li, Y.Q.; Liu, T.K.; Liu, J.J. Fatigue characteristics of ancient brick masonry under cyclic load. Constr. Build. Mater. 2023, 400, 132653. [Google Scholar] [CrossRef]
- Liu, H.X.; Jing, H.W.; Yin, Q.; Zhao, Z.L.; Meng, Y.Y.; Zhang, L. Study on Mechanical Properties and Fracture Behavior of Granite after Thermal Treatment under Brazilian Splitting Test. KSCE J. Civ. Eng. 2023, 27, 643–656. [Google Scholar] [CrossRef]
- Gao, W.X.; Wang, G.X.; Zhu, J.L.; Fan, Z.Y.; Li, X.B.; Wu, W.T. Structural Optimization Design and Strength Test Research of Connecting Rod Assembly of High-Power Low-Speed Diesel Engine. Machines 2022, 10, 815. [Google Scholar] [CrossRef]
- Yang, S.; Jung, S.Y.; Kim, K.; Liu, P.P.; Lee, S.; Kim, J.; Sohn, H. Development of a tunable low-frequency vibration energy harvester and its application to a self-contained wireless fatigue crack detection sensor. Struct. Health Monit.—Int. J. 2019, 18, 920–933. [Google Scholar] [CrossRef]
- Li, Y.; Tan, Q.L.; We, J.; Song, L.K.; Yang, F.L. Study of nonlinear vibration of resonant gyroscope based on uncertainty analysis method. Microelectron. Eng. 2022, 263, 111845. [Google Scholar] [CrossRef]

















| Serial | Name | Value | Number | Serial | Name | Value | Number |
|---|---|---|---|---|---|---|---|
| 1 | (kg) | 816 | 1 | 6 | k1′ (N/mm) | 3880 | 2 |
| 2 | (kg) | 1272 | 1 | 7 | k2 (N/mm) | 16,000 | 6 |
| 3 | (kg) | 1280 | 1 | 8 | k3 (N/mm) | 2,672,750 | 2 |
| 4 | (kg) | 5500 | 1 | 9 | k4 (N/mm) | 1,482,819 | 1 |
| 5 | kh (N/mm) | 11,292 | 1 | 10 | k5 (N/mm) | 1000 | 6 |
| Natural Frequency | Value Hz |
|---|---|
| ω1 | 4.69 |
| ω2 | 25.86 |
| ω3 | 198.62 |
| ω4 | 386.54 |
Disclaimer/Publisher’s Note: The statements, opinions and data contained in all publications are solely those of the individual author(s) and contributor(s) and not of MDPI and/or the editor(s). MDPI and/or the editor(s) disclaim responsibility for any injury to people or property resulting from any ideas, methods, instructions or products referred to in the content. |
© 2024 by the authors. Licensee MDPI, Basel, Switzerland. This article is an open access article distributed under the terms and conditions of the Creative Commons Attribution (CC BY) license (https://creativecommons.org/licenses/by/4.0/).
Share and Cite
Yang, X.; Liu, P.; Zhao, H. Research on Electro-Hydraulic Servo Resonance Technology. Sensors 2024, 24, 3992. https://doi.org/10.3390/s24123992
Yang X, Liu P, Zhao H. Research on Electro-Hydraulic Servo Resonance Technology. Sensors. 2024; 24(12):3992. https://doi.org/10.3390/s24123992
Chicago/Turabian StyleYang, Xiuguang, Peng Liu, and Hongwei Zhao. 2024. "Research on Electro-Hydraulic Servo Resonance Technology" Sensors 24, no. 12: 3992. https://doi.org/10.3390/s24123992
APA StyleYang, X., Liu, P., & Zhao, H. (2024). Research on Electro-Hydraulic Servo Resonance Technology. Sensors, 24(12), 3992. https://doi.org/10.3390/s24123992

