Dual-Modal Electrical Imaging of Two-Phase Flow—Experimental Evaluation of the State Estimation Approach
Abstract
1. Introduction
2. Methodology
2.1. State Estimation in Dual-Modal Imaging
2.1.1. Observation Model
Electromagnetic flow tomography (EMFT):
Electrical tomography (ET):
Observation model for dual-modal imaging:
2.1.2. Evolution Model
2.1.3. State Estimation
2.1.4. Reference Method: Stationary Reconstruction
2.1.5. Volumetric Flow Rate Estimates
2.2. Experiments
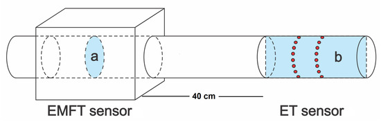
2.2.1. Flow Loop and Overview of Instrumentation
2.2.2. Electromagnetic Flow Tomography System
2.2.3. Electrical Tomography System
2.2.4. Test Cases
2.2.5. Computational Aspects and Parameter Choices
3. Results and Discussion
3.1. Cases 1–20: Imaging of Processes with Stationary Average Flow Speed
3.2. Case 21: Imaging of Process with Non-Stationary Average Flow Speed
3.3. Volumetric Flow Rate Estimates
4. Conclusions
Author Contributions
Funding
Institutional Review Board Statement
Informed Consent Statement
Data Availability Statement
Acknowledgments
Conflicts of Interest
References
- Yao, J.; Takei, M. Application of process tomography to multiphase flow measurement in industrial and biomedical fields: A review. IEEE Sens. J. 2017, 17, 8196–8205. [Google Scholar] [CrossRef]
- Corneliussen, S.; Couput, J.; Dahl, E.; Dykesteen, E.; Frøysa, K.; Malde, E.; Tunheim, H. Handbook of Multiphase Flow Metering, Revision 2; Norwegian Society for Oil and Gas Measurement (NFOGM) and The Norwegian Society of Chartered Technical and Scientific Professionals (Tekna): Oslo, Norway, 2005. [Google Scholar]
- Hansen, L.S.; Pedersen, S.; Durdevic, P. Multi-phase flow metering in offshore oil and gas transportation pipelines: Trends and perspectives. Sensors 2019, 19, 2184. [Google Scholar] [CrossRef]
- Jia, J.; Wang, H.; Millington, D. Electrical resistance tomography sensor for highly conductive oil–water two-phase flow measurement. IEEE Sens. J. 2017, 17, 8224–8233. [Google Scholar] [CrossRef]
- Tan, C.; Zhao, J.; Dong, F. Gas–water two-phase flow characterization with electrical resistance tomography and multivariate multiscale entropy analysis. ISA Trans. 2015, 55, 241–249. [Google Scholar] [CrossRef]
- Li, Y.; Yang, W.; Xie, C.g.; Huang, S.; Wu, Z.; Tsamakis, D.; Lenn, C. Gas/oil/water flow measurement by electrical capacitance tomography. Meas. Sci. Technol. 2013, 24, 074001. [Google Scholar] [CrossRef]
- Mohamad, E.; Rahim, R.; Rahiman, M.; Ameran, H.; Muji, S.; Marwah, O. Measurement and analysis of water/oil multiphase flow using Electrical Capacitance Tomography sensor. Flow Meas. Instrum. 2016, 47, 62–70. [Google Scholar] [CrossRef]
- Pellegrini, S.d.P.; Trigo, F.C.; Lima, R. Adaptive Kalman filter-based information fusion in electrical impedance tomography for a two-phase flow. Mech. Syst. Signal Process. 2021, 150, 107326. [Google Scholar] [CrossRef]
- Ma, L.; Soleimani, M. Magnetic induction tomography methods and applications: A review. Meas. Sci. Technol. 2017, 28, 072001. [Google Scholar] [CrossRef]
- Wu, Z.; McCann, H.; Davis, L.E.; Hu, J.; Fontes, A.; Xie, C. Microwave-tomographic system for oil-and gas-multiphase-flow imaging. Meas. Sci. Technol. 2009, 20, 104026. [Google Scholar] [CrossRef]
- Mallach, M.; Gebhardt, P.; Musch, T. 2D microwave tomography system for imaging of multiphase flows in metal pipes. Flow Meas. Instrum. 2017, 53, 80–88. [Google Scholar] [CrossRef]
- Cui, Z.; Wang, H.; Xu, Y.; Zhang, L.; Yan, Y. An integrated ECT/ERT dual modality sensor. In Proceedings of the 2009 IEEE Instrumentation and Measurement Technology Conference, Singapore, 5–7 May 2009; pp. 1434–1438. [Google Scholar]
- Meng, Y.; Lucas, G.P. Imaging water velocity and volume fraction distributions in water continuous multiphase flows using inductive flow tomography and electrical resistance tomography. Meas. Sci. Technol. 2017, 28, 055401. [Google Scholar] [CrossRef]
- Ma, L.; McCann, D.; Hunt, A. Combining magnetic induction tomography and electromagnetic velocity tomography for water continuous multiphase flows. IEEE Sens. J. 2017, 17, 8271–8281. [Google Scholar] [CrossRef]
- Stavland, S.H.; Arellano, Y.; Hunt, A.; Maad, R.; Hjertaker, B.T. Multimodal two-phase flow measurement using dual plane ECT and GRT. IEEE Trans. Instrum. Meas. 2020, 70, 1–12. [Google Scholar] [CrossRef]
- Vauhkonen, M.; Hänninen, A.; Jauhiainen, J.; Lehtikangas, O. Multimodal imaging of multiphase flows with electromagnetic flow tomography and electrical tomography. Meas. Sci. Technol. 2019, 30, 094001. [Google Scholar] [CrossRef]
- Hjertaker, B.; Maad, R.; Johansen, G. Dual-mode capacitance and gamma-ray tomography using the Landweber reconstruction algorithm. Meas. Sci. Technol. 2011, 22, 104002. [Google Scholar] [CrossRef]
- Zhang, R.; Wang, Q.; Wang, H.; Zhang, M.; Li, H. Data fusion in dual-mode tomography for imaging oil–gas two-phase flow. Flow Meas. Instrum. 2014, 37, 1–11. [Google Scholar] [CrossRef]
- Wang, Q.; Wang, M.; Wei, K.; Qiu, C. Visualization of gas–oil–water flow in horizontal pipeline using dual-modality electrical tomographic systems. IEEE Sens. J. 2017, 17, 8146–8156. [Google Scholar] [CrossRef]
- Arif, M.Z.; Lehtikangas, O.; Seppänen, A.; Kolehmainen, V.; Vauhkonen, M. Joint reconstruction of conductivity and velocity in two-phase flows using electromagnetic flow tomography and electrical tomography: A simulation study. IEEE Trans. Instrum. Meas. 2021, 70, 1–17. [Google Scholar] [CrossRef]
- Arif, M.Z.; Seppänen, A.; Vauhkonen, M. State estimation approach to dual-modal imaging of two-phase flow based on electromagnetic flow tomography and electrical tomography. Manuscript submitted for publication.
- Seppänen, A.; Heikkinen, L.; Savolainen, T.; Voutilainen, A.; Somersalo, E.; Kaipio, J.P. An experimental evaluation of state estimation with fluid dynamical models in process tomography. Chem. Eng. J. 2007, 127, 23–30. [Google Scholar] [CrossRef]
- Lipponen, A.; Seppänen, A.; Kaipio, J. Nonstationary approximation error approach to imaging of three-dimensional pipe flow: Experimental evaluation. Meas. Sci. Technol. 2011, 22, 104013. [Google Scholar] [CrossRef]
- Voutilainen, A.; Lehikoinen, A.; Vauhkonen, M.; Kaipio, J. Three-dimensional nonstationary electrical impedance tomography with a single electrode layer. Meas. Sci. Technol. 2010, 21, 035107. [Google Scholar] [CrossRef]
- Lehtikangas, O.; Karhunen, K.; Vauhkonen, M. Reconstruction of velocity fields in electromagnetic flow tomography. Philos. Trans. R. Soc. A Math. Phys. Eng. Sci. 2016, 374, 20150334. [Google Scholar] [CrossRef] [PubMed]
- Lehtikangas, O.; Vauhkonen, M. Correlated noise and prior models in electromagnetic flow tomography. Meas. Sci. Technol. 2017, 28, 054007. [Google Scholar] [CrossRef]
- Kim, B.S.; Khambampati, A.K.; Jang, Y.J.; Kim, K.Y.; Kim, S. Image reconstruction using voltage–current system in electrical impedance tomography. Nucl. Eng. Des. 2014, 278, 134–140. [Google Scholar] [CrossRef]
- Voss, A. Imaging Moisture Flows in Cement-Based Materials Using Electrical Capacitance Tomography. Ph.D. Thesis, University of Eastern Finland, Kuopio, Finland, 2020. [Google Scholar]
- Maxwell, J.C. A Treatise on Electricity and Magnetism; Clarendon Press: Oxford, UK, 1873; Volume 1. [Google Scholar]
- Seppänen, A.; Vauhkonen, M.; Vauhkonen, P.; Somersalo, E.; Kaipio, J. State estimation with fluid dynamical evolution models in process tomography-an application to impedance tomography. Inverse Probl. 2001, 17, 467. [Google Scholar] [CrossRef]
- Ozon, M.; Seppänen, A.; Kaipio, J.P.; Lehtinen, K.E. Retrieval of process rate parameters in the general dynamic equation for aerosols using Bayesian state estimation: BAYROSOL1.0. Geosci. Model Dev. 2021, 14, 3715–3739. [Google Scholar] [CrossRef]
- Seppänen, A.; Voutilainen, A.; Kaipio, J. State estimation in process tomography, reconstruction of velocity fields using EIT. Inverse Probl. 2009, 25, 085009. [Google Scholar] [CrossRef]
- Särkkä, S. Bayesian Filtering and Smoothing; Number 3; Cambridge University Press: Cambridge, UK, 2013. [Google Scholar]
- Vauhkonen, M.; Hänninen, A.; Lehtikangas, O. A measurement device for electromagnetic flow tomography. Meas. Sci. Technol. 2017, 29, 015401. [Google Scholar] [CrossRef]
- Voss, A.; Pour-Ghaz, M.; Vauhkonen, M.; Seppänen, A. Retrieval of the saturated hydraulic conductivity of cement-based materials using electrical capacitance tomography. Cem. Concr. Compos. 2020, 112, 103639. [Google Scholar] [CrossRef]
- Hosseini, M.; Kaasinen, A.; Aliyari Shoorehdeli, M.; Link, G.; Lähivaara, T.; Vauhkonen, M. System Identification of Conveyor Belt Microwave Drying Process of Polymer Foams Using Electrical Capacitance Tomography. Sensors 2021, 21, 7170. [Google Scholar] [CrossRef]
- Hosseini, M.; Kaasinen, A.; Link, G.; Lähivaara, T.; Vauhkonen, M. Electrical capacitance tomography to measure moisture distribution of polymer foam in a microwave drying process. IEEE Sens. J. 2021, 21, 18101–18114. [Google Scholar] [CrossRef]









| Average Flow Speed (m/s) | 0.75 | 0.90 | 1.10 | 1.25 | 1.50 | Time- Varying | |
|---|---|---|---|---|---|---|---|
| Oil Volume Fraction | |||||||
| 10% | Case 1 | Case 2 | Case 3 | Case 4 | Case 5 | - | |
| 20% | Case 6 | Case 7 | Case 8 | Case 9 | Case 10 | - | |
| 30% | Case 11 | Case 12 | Case 13 | Case 14 | Case 15 | - | |
| 40% | Case 16 | Case 17 | Case 18 | Case 19 | Case 20 | Case 21 | |
| EKF | FIKS | Stationary Approach | ||||||||||||||
|---|---|---|---|---|---|---|---|---|---|---|---|---|---|---|---|---|
| Average Flow Speed (m/s) | 0.75 | 0.90 | 1.10 | 1.25 | 1.50 | 0.75 | 0.90 | 1.10 | 1.25 | 1.50 | 0.75 | 0.90 | 1.10 | 1.25 | 1.50 | |
| Oil Volume Fraction | ||||||||||||||||
| 10% | 4.04 | 4.36 | 2.45 | 3.22 | 2.60 | 1.81 | 1.52 | 0.89 | 1.89 | 1.75 | 4.79 | 1.99 | 1.37 | 2.14 | 3.64 | |
| 20% | 7.17 | 4.17 | 2.45 | 3.92 | 3.31 | 3.97 | 3.03 | 1.07 | 2.62 | 2.97 | 4.64 | 3.30 | 1.35 | 4.82 | 3.18 | |
| 30% | 3.40 | 6.45 | 3.54 | 4.76 | 3.24 | 0.51 | 4.14 | 1.97 | 3.18 | 2.38 | 7.36 | 2.90 | 1.43 | 4.25 | 3.16 | |
| 40% | 2.34 | 3.25 | 2.44 | 4.56 | 4.12 | 0.47 | 2.20 | 1.19 | 3.97 | 3.86 | 1.92 | 1.60 | 3.86 | 6.52 | 6.63 | |
| EKF | FIKS | Stationary Approach | ||||||||||||||
|---|---|---|---|---|---|---|---|---|---|---|---|---|---|---|---|---|
| Average Flow Speed (m/s) | 0.75 | 0.90 | 1.10 | 1.25 | 1.50 | 0.75 | 0.90 | 1.10 | 1.25 | 1.50 | 0.75 | 0.90 | 1.10 | 1.25 | 1.50 | |
| Oil Volume Fraction | ||||||||||||||||
| 10% | 7.38 | 6.88 | 4.39 | 4.00 | 4.14 | 6.12 | 5.05 | 2.83 | 2.43 | 4.34 | 9.59 | 7.98 | 7.19 | 6.03 | 8.17 | |
| 20% | 4.32 | 6.07 | 3.83 | 3.86 | 2.87 | 3.06 | 4.63 | 4.59 | 3.12 | 2.92 | 7.96 | 8.10 | 6.32 | 6.42 | 7.53 | |
| 30% | 0.84 | 1.86 | 2.54 | 2.28 | 1.88 | 0.45 | 2.15 | 2.02 | 2.41 | 1.60 | 7.52 | 8.65 | 7.47 | 6.64 | 7.75 | |
| 40% | 5.69 | 5.44 | 2.44 | 2.47 | 2.57 | 5.07 | 3.11 | 2.69 | 2.55 | 2.29 | 7.31 | 6.72 | 7.93 | 7.11 | 7.91 | |
| Relative Errors (%) of | Relative Errors (%) of | ||||||||||
|---|---|---|---|---|---|---|---|---|---|---|---|
| Average Flow Speed (m/s) | 0.75 | 0.90 | 1.10 | 1.25 | 1.50 | 0.75 | 0.90 | 1.10 | 1.25 | 1.50 | |
| Oil Volume Fraction | |||||||||||
| 10% | 8.27 | 5.12 | 2.61 | 3.06 | 1.40 | 2.81 | 2.22 | 1.26 | 2.17 | 1.97 | |
| 20% | 6.57 | 5.28 | 2.16 | 3.75 | 3.22 | 3.92 | 3.69 | 1.77 | 2.83 | 3.15 | |
| 30% | 0.61 | 4.70 | 2.74 | 3.50 | 2.55 | 0.92 | 4.46 | 2.77 | 3.88 | 2.84 | |
| 40% | 3.31 | 5.78 | 2.91 | 2.71 | 5.14 | 4.13 | 3.25 | 2.62 | 6.41 | 4.22 | |
Disclaimer/Publisher’s Note: The statements, opinions and data contained in all publications are solely those of the individual author(s) and contributor(s) and not of MDPI and/or the editor(s). MDPI and/or the editor(s) disclaim responsibility for any injury to people or property resulting from any ideas, methods, instructions or products referred to in the content. |
© 2023 by the authors. Licensee MDPI, Basel, Switzerland. This article is an open access article distributed under the terms and conditions of the Creative Commons Attribution (CC BY) license (https://creativecommons.org/licenses/by/4.0/).
Share and Cite
Arif, M.Z.; Seppänen, A.; Kolehmainen, V.; Vauhkonen, M. Dual-Modal Electrical Imaging of Two-Phase Flow—Experimental Evaluation of the State Estimation Approach. Sensors 2023, 23, 4462. https://doi.org/10.3390/s23094462
Arif MZ, Seppänen A, Kolehmainen V, Vauhkonen M. Dual-Modal Electrical Imaging of Two-Phase Flow—Experimental Evaluation of the State Estimation Approach. Sensors. 2023; 23(9):4462. https://doi.org/10.3390/s23094462
Chicago/Turabian StyleArif, M. Ziaul, Aku Seppänen, Ville Kolehmainen, and Marko Vauhkonen. 2023. "Dual-Modal Electrical Imaging of Two-Phase Flow—Experimental Evaluation of the State Estimation Approach" Sensors 23, no. 9: 4462. https://doi.org/10.3390/s23094462
APA StyleArif, M. Z., Seppänen, A., Kolehmainen, V., & Vauhkonen, M. (2023). Dual-Modal Electrical Imaging of Two-Phase Flow—Experimental Evaluation of the State Estimation Approach. Sensors, 23(9), 4462. https://doi.org/10.3390/s23094462

