A Novel Cipher-Based Data Encryption with Galois Field Theory
Abstract
:1. Introduction
- Making sure the message hasn’t been tampered with and came from a legitimate source, often known as verifying its integrity.
- To authenticate someone or something is to verify their identity or authenticity. But, let’s discuss the common applications of cryptography. The “plaintext” or “clear text” of a message is what it says when taken in its “actual form.” Cypher text is a term that refers to information that has been scrambled. Encryption is the method used to transform plaintext into unreadable code. Figure 1 depicts this. Some people even go so far as to call decryption the “opposite” of encryption [3].
Secret Key Cryptography
- Plan the infrastructure that facilitates safe and efficient data transmission while making optimal use of available resources. In fact, this is the reason for using this research approach.
- This study demonstrates efficient Discrete Cosine Transform (DCT) with Advanced Encryption Standard (AES) algorithms [12] that might be used to transmit the data. The work is meant to assure secure data transfer without compromising efficiency.
- To make the greatest use of existing resources by suggesting strategies using the Black Widow Optimization technique that minimizes wasteful use of energy while making optimal use of what is already at hand, to maximize outcomes;
2. Literature Survey
3. Proposed Methodology
3.1. Key Distribution Centre
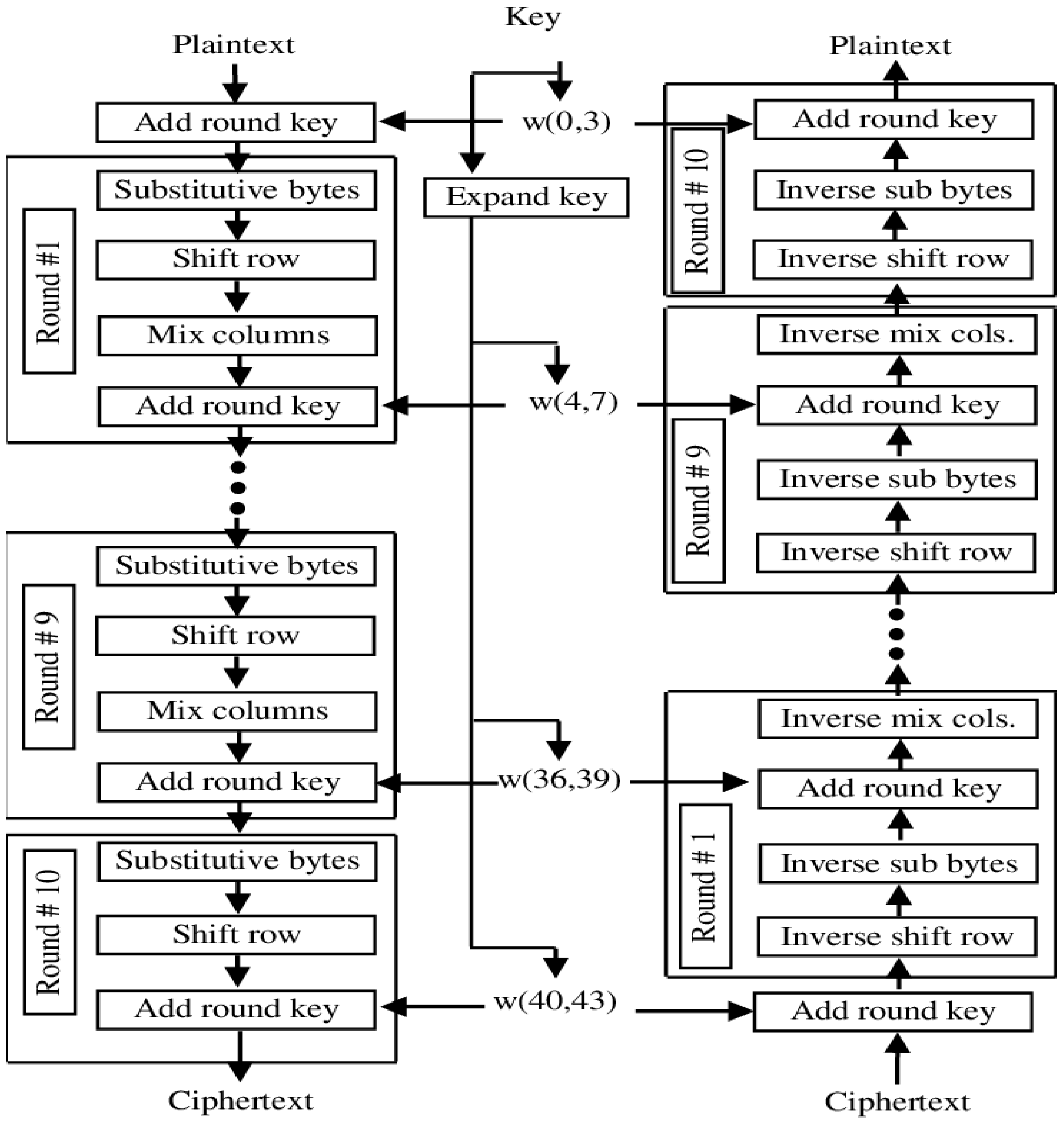
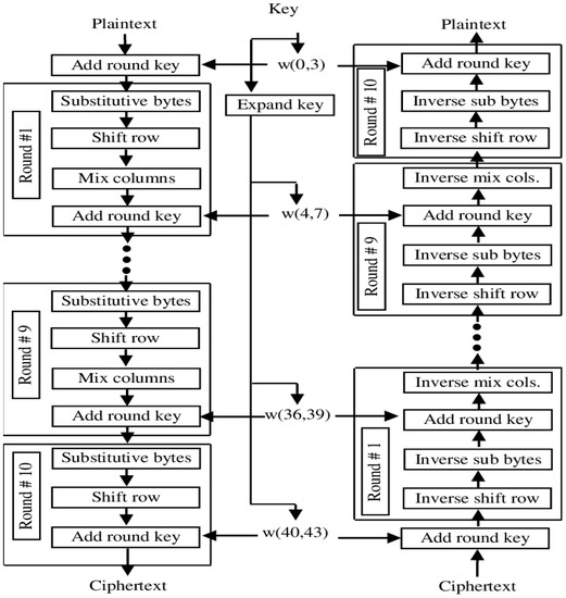
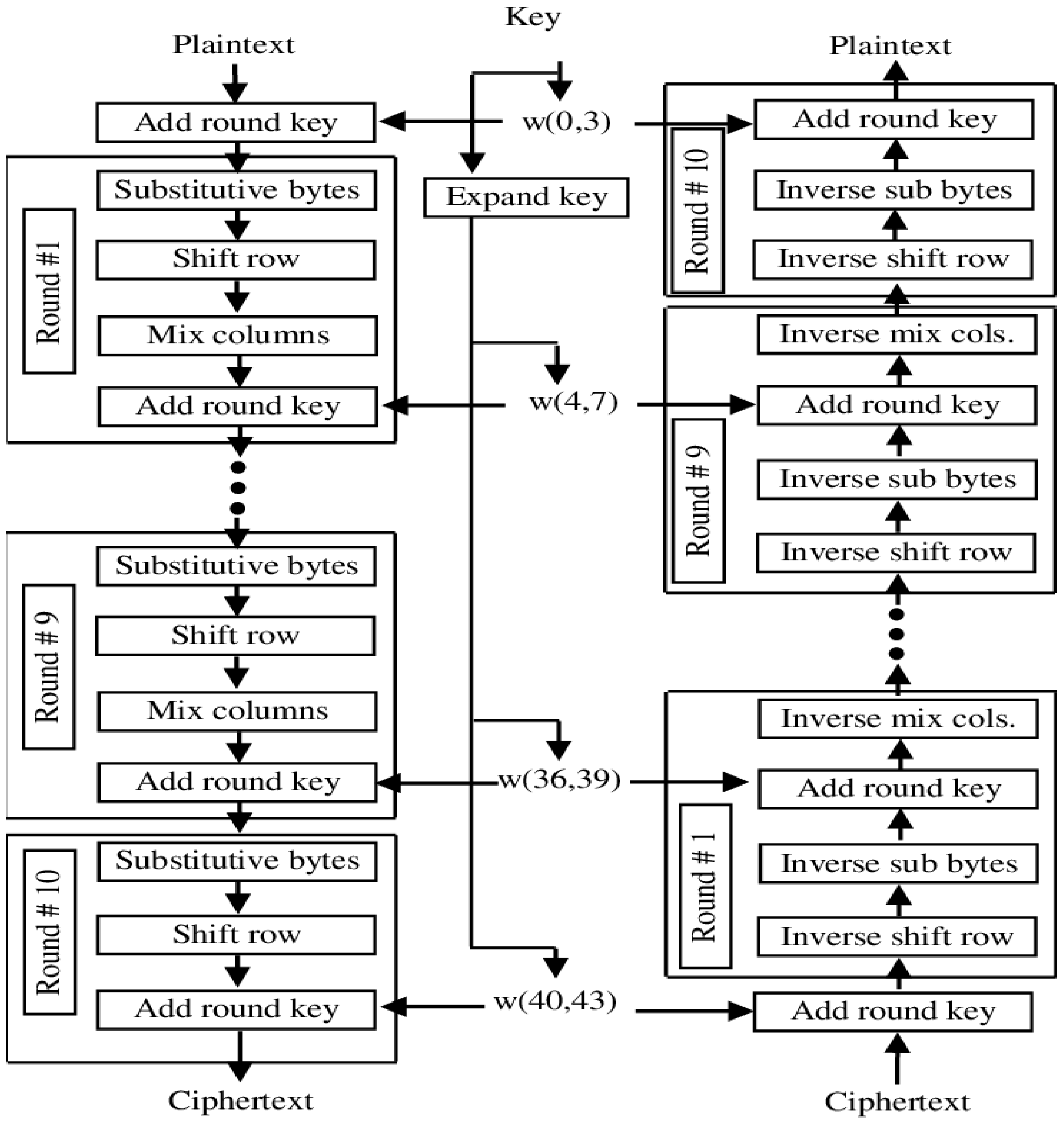
3.2. Advanced Encryption Standard (AES) Algorithm
3.2.1. The Sub Bytes Step
3.2.2. The Shift Rows Step
3.3. Encryption Using Galois Field Theory
4. Experimental Results
4.1. Information Entropy Analysis
4.2. Correlation Analysis
5. Conclusions
6. Discussion
Author Contributions
Funding
Institutional Review Board Statement
Informed Consent Statement
Data Availability Statement
Acknowledgments
Conflicts of Interest
References
- Benvenuto, C.J. Galois field in cryptography. Univ. Wash. 2012, 1, 1–11. [Google Scholar]
- Nardo, L.G.; Nepomuceno, E.G.; Bastos, G.T.; Santos, T.A.; Butusov, D.N.; Arias-Garcia, J. A reliable chaos-based cryptography using Galois field. Chaos Interdiscip. J. Nonlinear Sci. 2021, 31, 091101. [Google Scholar]
- Yang, B.; Liao, X. A new color image encryption scheme based on logistic map over the finite field ZN. Multimed. Tools Appl. 2018, 77, 21803–21821. [Google Scholar]
- Desoky, A.H.; Ashikhmin, A.Y. Cryptography software system using galois field arithmetic. Power 2006, 8, 285–299. [Google Scholar]
- Lima, J.B.; Novaes, L.F.G. Image encryption based on the fractional Fourier transform over finite fields. Signal Process. 2014, 94, 521–530. [Google Scholar]
- Huang, L.; Wang, S.; Xiang, J.; Sun, Y. Chaotic color image encryption scheme using Deoxyribonucleic Acid (DNA) coding calculations and arithmetic over the galois field. Math. Probl. Eng. 2020, 2020, 3965281. [Google Scholar]
- Kumar, D.S.; Suneetha, C.H.; Chandrasekhar, A. Encryption of data using elliptic curve over finite fields. arXiv 2012, preprint. arXiv:1202.1895. [Google Scholar]
- Lima, V.S.; Ferreira, F.A.B.S.; Madeiro, F.; Lima, J.B. Light field image encryption based on steerable cosine number transform. Signal Process. 2023, 202, 108781. [Google Scholar]
- Kareem, S.M.; Rahma, A.M.S. An innovative method for enhancing advanced encryption standard algorithm based on magic square of order 6. Bull. Electr. Eng. Inform. 2023, 12, 1684–1692. [Google Scholar] [CrossRef]
- CHILLALI, A.; Cheddour, Z.; Mouhib, A. Prof The “Elliptic” matrices and a new kind of cryptography. Bol. Soc. Parana. Matemática 2023, 41, 1–12. [Google Scholar]
- Li, K.; Li, H.; Mund, G. A reconfigurable and compact subpipelined architecture for AES encryption and decryption. EURASIP J. Adv. Signal Process. 2023, 2023, 1–21. [Google Scholar]
- Mohanrasu, S.S.; Udhayakumar, K.; Priyanka, T.M.C.; Gowrisankar, A.; Banerjee, S.; Rakkiyappan, R. Event-Triggered Impulsive Controller Design for Synchronization of Delayed Chaotic Neural Networks and Its Fractal Reconstruction: An Application to Image Encryption. Appl. Math. Model. 2023, 115, 490–512. [Google Scholar]
- Brain, M.; Cid, C.; Player, R.; Robson, W. Verifying Classic McEliece: Examining the role of formal methods in post-quantum cryptography standardisation. Cryptol. ePrint Arch. 2023, 10. [Google Scholar]
- Drusinsky, D. Encrypting for Time-and/or Location-Based Decryption. Computer 2023, 56, 102–110. [Google Scholar]
- Narula, G.; Gandhi, B.; Sharma, H.; Gupta, S.; Saini, D.; Nagrath, P. A Novel Review on Healthcare Data Encryption Techniques. In International Conference on Innovative Computing and Communications; Springer: Singapore, 2023; pp. 489–498. [Google Scholar]
- Sampradeepraj, T.; Anusuya Devi, V.; Raja, S.P. Secure multicasting in wireless sensor networks using identity based cryptography. Concurr. Comput. Pract. Exp. 2023, 35, e7430. [Google Scholar] [CrossRef]
- Masadeh, S.R. A new encryption system for IoT devices using embedded key cryptosystem. Int. J. Electron. Secur. Digit. 2023, 15, 56–65. [Google Scholar]
- Alemami, Y.; Mohamed, M.A.; Atiewi, S. Advanced approach for encryption using advanced encryption standard with chaotic map. Int. J. Electr. Comput. Eng. 2023, 13, 1708–1723. [Google Scholar] [CrossRef]
- Mishra, I.; Jain, S.; Maik, V. Secured ECG Signal Transmission Using Optimized EGC with Chaotic Neural Network in WBSN. Comput. Syst. Sci. Eng. 2023, 44, 1109–1123. [Google Scholar]
- Kuppuswamy, P.; Al, S.Q.Y.A.K.; John, R.; Haseebuddin, M.; Meeran, A.A.S. A hybrid encryption system for communication and financial transactions using RSA and a novel symmetric key algorithm. Bull. Electr. Eng. Inform. 2023, 12, 1148–1158. [Google Scholar] [CrossRef]
- Zhu, S.; Deng, X.; Zhang, W.; Zhu, C. Secure image encryption scheme based on a new robust chaotic map and strong S-box. Math. Comput. Simul. 2023, 207, 322–346. [Google Scholar]
- Suiu Cristea, A.C.; Alexandra, B. AES Hardware Implementation Based on FPGA with Improved Throughput. In International Conference on Remote Engineering and Virtual Instrumentation; Springer: Cham, Swizterland, 2023; pp. 41–50. [Google Scholar]
- Zhang, Y.; Chen, A.; Chen, W. The unified image cryptography algorithm based on finite group. Expert Syst. Appl. 2023, 212, 118655. [Google Scholar]
- Kumar, G.S.; Premalatha, K. Securing private information by data perturbation using statistical transformation with three dimensional shearing. Appl. Soft Comput. 2021, 112, 107819. [Google Scholar]
- Shukla, P.K.; Aljaedi, A.; Pareek, P.K.; Alharbi, A.R.; Jamal, S.S. AES Based White Box Cryptography in Digital Signature Verification. Sensors 2022, 22, 9444. [Google Scholar] [PubMed]








| Reference | Method | Work | Performance Metrics |
|---|---|---|---|
| [14] | IDEA, AES and Blowfish | Describe the relative analysis and analysis of IDEA, AES and Blowfish for image coding and decoding. | encryption and decryption to prevent unauthorized access |
| [15] | RSA, KNN | described Encryption is an approach to securing undue information that not only provides guarantees, but also provides authenticity | reduces the encryption and decryption time for encrypting and decrypting the input message. |
| [16] | AES | Presented using the AES algorithmic rule with the most management of digital image cryptography. This methodology includes a spread of characteristics. | Better PSNR performance |
| [17] | GA, AES | The proposed technology uses AES and GA optimally to protect an image. It suggests a powerful technique of masking information that achieves a high level of security | achieves a high level of security, better results than previous work |
| [18] | GA | The co-evolutionary genetic algorithm is used to select an appropriate basis from the allowable bases of the wave packet transformation and to determine the sub bands for watermark incorporation | increase the ability to resist specific image processing methods while maintaining acceptable watermark image quality |
| [19] | Arnold Transform | Presented the secret exchange of digital bitmaps is studied. The digital image maps are encoded using a randomization technique with Arnold transformation, and the encrypted pictures are split to affect the secret exchange of the map | Increasing the security of the data |
| [20] | Modified Logistic Map | Modified Logistic Map technique for image encryption is used that shows good efficiency | Speed of faster encryption, Bigger key space |
| Image | RCXA | RCSNXA | RCSXA | |||
|---|---|---|---|---|---|---|
| NPCR | UACI | NPCR | UACI | NPCR | UACI | |
| Lena | ||||||
| Girl | ||||||
| Baboon | ||||||
| Barbara | ||||||
| Boat | ||||||
| Peppers | ||||||
| Clown | ||||||
| Image | Horizontal | Vertical | Diagonal |
|---|---|---|---|
| Plain Image Lena | 0.9727 | 0.9444 | 0.9188 |
| Cipher Image Lena [proposed] | −0.0063 | 0.0134 | −0.0126 |
| Cipher Image Lena (Huang et al. 2014) | 0.0033 | 0.0009 | 0.0058 |
| Cipher Image Lena (Zhou et al. 2015) | 0.0104 | 0.0299 | 0.0062 |
| Cipher Image Lena (Zhou et al. 2016) | 0.0042 | −0.0043 | 0.0163 |
| Image | Enhanced Image | PSNR | Entropy (AIC) | CII | Q | No. of Edges | AMBE | IEF |
|---|---|---|---|---|---|---|---|---|
| Baboon | AES | 6.8263 | 0.8510 | -- | 0.0272 | 46,194 | 57.61 | --- |
| ECC | 5.9502 | 0.7498 | 0.2721 | 0.4592 | 60,828 | 112.38 | 0.764 | |
| CLAHE | 5.9507 | 0.7515 | 0.2722 | 0.4594 | 60,774 | 112.37 | 0.764 | |
| AII | 6.9747 | 1.3690 | 0.8371 | 0.8947 | 46,386 | 70.094 | 0.967 | |
| RMSHE | 10.7208 | 0.8460 | 0.2549 | 0.3504 | 60,928 | 59.56 | 2.360 | |
| Proposed (RGB) | 14.2234 | 2.642 | 0.33 | 0.3814 | 59,283 | 0.574 | 6.912 | |
| PROPOSED (CMY) | 14.896 | 3.241 | 0.4389 | 0.4 | 52,363 | 8.12 | 8.583 | |
| Lenna | AES | 7.287 | 0.8615 | -- | 0.0212 | 40,486 | 54.406 | -- |
| ECC | 6.5495 | 0.9581 | 0.3510 | 0.5356 | 54,542 | 105.89 | 0.702 | |
| CLAHE | 6.5497 | 0.9588 | 0.3510 | 0.5357 | 54,499 | 105.88 | 0.702 | |
| AII | 7.4979 | 1.3987 | 0.6348 | 0.7647 | 27,055 | 80.21 | 0.916 | |
| RMSHE | 10.3475 | 0.8575 | 0.2980 | 0.3726 | 51,169 | 64.43 | 2.025 | |
| PROPOSED (RGB) | 14.231 | 3.25 | 0.7348 | 0.2157 | 50,141 | 9.524 | 4.968 | |
| PROPOSED (CMY) | 14.459 | 2.6043 | 0.475 | 0.60 | 47,152 | 16.48 | 4.184 | |
| Peppers | AES | 6.4593 | 0.8713 | -- | 0.0189 | 32,360 | 69.369 | -- |
| ECC | 5.4698 | 1.1258 | 0.4727 | 0.6171 | 40,470 | 115.16 | 0.678 | |
| CLAHE | 5.4702 | 1.1270 | 0.4728 | 0.6173 | 40,365 | 115.15 | 0.678 | |
| AII | 6.4613 | 1.5615 | 0.7413 | 0.8537 | 20,379 | 89.745 | 0.863 | |
| RMSHE | 11.118 | 0.8690 | 0.2784 | 0.3411 | 31,454 | 46.77 | 2.29 | |
| PROPOSED (RGB) | 12.945 | 3.1741 | 0.6243 | 0.3253 | 31,376 | 21.357 | 4.26 | |
| PROPOSED (CMY) | 14.0113 | 3.049 | 0.568 | 0.47 | 29,802 | 15.992 | 3.677 | |
| Barbara | AES | 6.2449 | 0.8962 | -- | 0.0265 | 51,723 | 65.436 | -- |
| ECC | 4.8546 | 0.6072 | 0.1711 | 0.3808 | 52,853 | 134.36 | 0.668 | |
| CLAHE | 4.8547 | 0.6077 | 0.1712 | 0.3809 | 52,821 | 134.36 | 0.668 | |
| AII | 6.3658 | 1.3285 | 0.8226 | 0.8688 | 36,370 | 78.77 | 0.956 | |
| RMSHE | 11.9618 | 0.8962 | 0.2588 | 0.3694 | 51,861 | 45.48 | 3.569 | |
| PROPOSED (RGB) | 14.115 | 3.0245 | 0.3060 | 0.3401 | 41,483 | 14.431 | 6.639 | |
| PROPOSED (CMY) | 15.0658 | 3.0788 | 0.244 | 0.413 | 45,582 | 6.75 | 6.058 | |
| Castle | AES | 6.6891 | 0.8886 | - | 0.0163 | 24,641 | 56.978 | --- |
| ECC | 5.1564 | 0.5535 | 0.1081 | 0.3559 | 32,890 | 126.83 | 0.68 | |
| CLAHE | 5.1565 | 0.5537 | 0.1081 | 0.3559 | 32,896 | 126.83 | 0.68 | |
| AII | 6.3409 | 1.1706 | 0.6121 | 0.7079 | 17,593 | 85.353 | 0.874 | |
| RMSHE | 11.1152 | 0.8886 | 0.20 | 0.3120 | 24,484 | 50.588 | 3.458 | |
| PROPOSED (RGB) | 12.7 | 3.298 | 0.7 | 0.68 | 25,140 | 16.109 | 4.694 | |
| PROPOSED (CMY) | 13.95 | 3.208 | 0.5205 | 0.18 | 25,691 | 14.813 | 5.762 | |
| Cameraman | AES | 6.4101 | 0.7296 | -- | 0.02 | 47,268 | 84.93 | -- |
| ECC | 4.6173 | 0.7308 | 0.4574 | 0.9801 | 47,271 | 95.608 | 1.042 | |
| CLAHE | 4.6177 | 0.7641 | 0.5683 | 0.9998 | 47,268 | 85.584 | 1.006 | |
| AII | 6.4101 | 0.7308 | 0.5774 | 1 | 47,268 | 84.771 | 1 | |
| RMSHE | 11.1153 | 0.7308 | 0.2667 | 0.4592 | 48,214 | 46.99 | 2.955 | |
| PROPOSED (RGB) | 11.81 | 2.9142 | 0.7148 | 0.67 | 5033 | 10.9 | 4.084 | |
| PROPOSED (CMY) | 11.92 | 3.0314 | 0.5449 | 0.564 | 48,397 | 10.795 | 3.079 | |
| TextImage | AES | 12.973 | 0.3223 | -- | 0. 830 | 36,437 | 13.151 | -- |
| ECC | 10.1789 | 0.3461 | 0 | 0.7402 | 0 | 29.670 | 0.526 | |
| CLAHE | 10.1789 | 0.3595 | 0 | 0.7402 | 0 | 29.670 | 0.526 | |
| AII | 12.9732 | 0.3461 | 1 | 1 | 36,437 | 13.151 | 1 | |
| RMSHE | 4.1826 | 0.3461 | 0.3098 | 0.5342 | 36,441 | 145.45 | 0.132 | |
| PROPOSED (RGB) | 13.03 | 3.0677 | 1.3579 | 0.2563 | 48,551 | 8.2141 | 1.059 | |
| PROPOSED (CMY) | 5.3089 | 3.098 | 0.8147 | 0.9041 | 38,494 | 93.53 | 1.414 |
| Name | Cover Image | Secret Image | Accuracy |
|---|---|---|---|
| Experiment 1 | Lena | Boat | 97.24% |
| Experiment 2 | Girl | Barbara | 96.12% |
| Experiment 3 | Baboon | Lena | 94.21% |
| Experiment 4 | Barbara | Cameraman | 95.65% |
| Experiment 5 | Boat | Girl | 94.31% |
Disclaimer/Publisher’s Note: The statements, opinions and data contained in all publications are solely those of the individual author(s) and contributor(s) and not of MDPI and/or the editor(s). MDPI and/or the editor(s) disclaim responsibility for any injury to people or property resulting from any ideas, methods, instructions or products referred to in the content. |
© 2023 by the authors. Licensee MDPI, Basel, Switzerland. This article is an open access article distributed under the terms and conditions of the Creative Commons Attribution (CC BY) license (https://creativecommons.org/licenses/by/4.0/).
Share and Cite
Hazzazi, M.M.; Attuluri, S.; Bassfar, Z.; Joshi, K. A Novel Cipher-Based Data Encryption with Galois Field Theory. Sensors 2023, 23, 3287. https://doi.org/10.3390/s23063287
Hazzazi MM, Attuluri S, Bassfar Z, Joshi K. A Novel Cipher-Based Data Encryption with Galois Field Theory. Sensors. 2023; 23(6):3287. https://doi.org/10.3390/s23063287
Chicago/Turabian StyleHazzazi, Mohammad Mazyad, Sasidhar Attuluri, Zaid Bassfar, and Kireet Joshi. 2023. "A Novel Cipher-Based Data Encryption with Galois Field Theory" Sensors 23, no. 6: 3287. https://doi.org/10.3390/s23063287
APA StyleHazzazi, M. M., Attuluri, S., Bassfar, Z., & Joshi, K. (2023). A Novel Cipher-Based Data Encryption with Galois Field Theory. Sensors, 23(6), 3287. https://doi.org/10.3390/s23063287

