A Lightweight Authentication MAC Protocol for CR-WSNs
Abstract
1. Introduction
1.1. Functions of the CRN Core
- Spectrum sensing;
- Spectrum decision;
- Spectrum sharing;
- Spectrum mobility.
1.2. Contributions of the Proposed Protocol
- To overcome the challenges in WSNs by using CRNs to provide available channels to the network, leading to a significant improvement in the performance of data exchange by ensuring on-time data delivery without any delay, due to sending the data in a specific channel number in the TV band, which is considered to be less congested than the ISM band in WSNs. Thus, we ensure that the network is not degraded through the integration process of the WSNs and CRNs.
- The critical challenges in WSNs are that the WSN nodes have limited power resources and limited storage capabilities. Thus, finding a suitable lightweight security mechanism is necessary to maintain these resources and obtain better results by designing an approach depending on a lightweight process to achieve mutual authentication in order to enhance the security of the WSN environment relying on the concept of the CRNs. To conserve these resources, lightweight algorithms were used in the proposed protocol.
- The proposed protocol has a powerful and impenetrable defense against many related attacks, for instance, a session-specific random number leakage attack, a privileged insider attack, a stolen smart card attack, a replay attack, a man-in-the-middle (MITM) attack, a sensor node capture attack, an offline password guessing attack, a key compromise impersonation, a stolen verifier attack, and an insider attack. In addition, we demonstrate the mutual authentication and the perfect forward secrecy of the proposed protocol.
2. Literature Review
Security Protocols for CRNs and WSNs
3. Design of the Proposed Lightweight Authentication MAC Protocol for CR-WSNs
3.1. Architecture of the Proposed Framework
- U: the user obtains the sensed data from the gateway that was collected from the sensors.
- GW: the gateway is responsible for key generation and for prerequesting channels from the DB and allocating channels to sensors and users, as well as the authenticating process, which is conducted mutually, where every entity in the network can authenticate each other.
- SN: the sensor node obtains some secret parameters for authentication and collects data.
- DB: the database is an entity that provides a list of available TV channels.
3.2. Security Mechanism Associated with the Proposed Protocol
3.2.1. Hash Function
3.2.2. ECC
3.3. Proposed Protocol Sequential Messages
3.3.1. Registration Phase
- 1.
- Sensor Node Registration
- 2.
- User Registration
3.3.2. Login and Authentication Phase
3.3.3. Control Channel Exchange Phase
3.3.4. Data Exchange Phase
4. Security Analysis of the Proposed Protocol Using Ban Logic
4.1. Notation and Formulas of BAN Logic
- P believes X holds:: P is enabled to believe X: P takes the formula X as true;
- : P sees /receives the formula X: P sees the message containing X and repeats;
- : P once said the formula X: at some time, P sent a message including the statement X;
- : the entity P has control over X and must be trusted for the formula statement X;
- X is fresh, it says, is recent and has not been sent any time before;
- : P and Q share a secret key (K) only used to communicate between P and Q. The key is known to P and Q only and will never be discovered by another party;
- : the statement encryption of X with key K;
- : represents the formula X combined with Y, which means Y is a secret that proves the identity of the user who utters .
- Table 8 summarizes the basic notations of the BAN logic used in this proof.
4.2. Rules
- 1.
- Message meaning rules (MMR):
- 2.
- Nonce verification rule (NVR):
- 3.
- Freshness rule (FR):
- 4.
- Believe rule (BR):
- 5.
- Session key rule (SKR):
4.3. Assumptions
4.4. The Lightweight Authentication MAC Protocol for the CR-WSNs’ Message Exchange
4.4.1. Sensor Registration Phase
| M (1) | ||
| M (2) | ||
| M (3) | ||
4.4.2. User Registration Phase
| M (4) | ||
| M (5) | ||
| M (6) | ||
| } | ||
| } | ||
4.4.3. Login and Authentication Phase
| M (7) | ||
| M (8) | ||
| M (9) | ||
| M (10) | ||
4.4.4. Control Channel Exchange Phase
| M (11) | ||
| M (12) | ||
| M (13) | ||
| M (14) | ||
4.4.5. Data Exchange Phase
| M (15) | ||
| M (16) | ||
4.5. Security Analysis of the Proposed Protocol
- We ensure the integrity of the data using the hash function, as shown in all messages, where the recipient of the message recreates the hash value and compares it with that in the message to ensure that the message has not been tampered with;
- The keys are generated using the elliptical curve algorithm in the registration phase of the user, where the elliptical curve factors are first exchanged between the two ends in order to generate the shared key for both terminals, as shown in messages (4) to (5) in the user registration phase; in message (6), the gateway sends the session key to the user for use in the data exchange phase. The shared key is generated between the two parties. The elliptic curve algorithm has many characteristics, including being a powerful algorithm that is exceedingly difficult to crack, with a small key size, fast performance, and limited power consumption;
- Messages (7), (8), (9), and (10) achieve mutual authentication, so when any node user is registered and authorized to join the network, they become legitimate users once they own a shared key generated by an elliptical curve that is shared by the gateway and other network entities separately. Therefore, each node is able to easily authenticate with each other at the login and authentication stage. Thus, participants authenticate with each other to generate an SK, session key, between the U, the GW, and the SN.
- After the authenticated process is completed successfully, in messages (11) to (14), the gateway sends a request to the database asking for a free channel, whereas the ch is sent encrypted so as to be unrecognized by the hacker in order to prevent this channel being busy. Moreover, it is sent with the hash to ensure the channel’s validity.
- Messages (15) and (16) allocate a channel for transmitting data through the gateway, the purpose of which is to ensure secure communication between the sensor nodes and the user. Therefore, confidentiality is ensured when the data are encrypted by the session key, and no one else besides the sender and the receiver who have the keys can decrypt the data and know the content of the message without the key.
- The authentication process requires each entity to be registered in messages (1 to 3) and (4 to 6) in the user registration phase in the network, when the sensor or the user requested a channel that required the GW to check the validity of that user based on the hashes and the keys between them. So, it is difficult for the hacker to pretend to be a legitimate user, which leads to detecting the hacker immediately.
5. The Implementation and Evaluation of the Proposed Lightweight Authentication MAC Protocol for CR-WSNs
5.1. Informal Security Analysis
5.1.1. Insider Attack
5.1.2. Stolen Smart Card Attack
5.1.3. Replay Attack
5.1.4. Sensor Node Capture Attack
5.1.5. Offline Password Guessing Attack
5.1.6. Mutual Authentication
5.1.7. Privileged Insider Attack
5.1.8. Stolen Verifier Attack
5.1.9. MITM Attack
5.1.10. Session-Specific Random Number Leakage Attack
5.1.11. Perfect Forward Secrecy
5.2. Formal Security Verification Using the AVISPA Simulation
5.2.1. HLPSL Specification
5.2.2. Analysis of the Simulation Results
5.3. Performance Analysis
5.3.1. Computational Costs
5.3.2. Security Properties
6. Conclusions and Future Work
Author Contributions
Funding
Institutional Review Board Statement
Informed Consent Statement
Data Availability Statement
Conflicts of Interest
Appendix A





References
- Karuppiah, A.B.; Rajaram, S. False Misbehavior Elimination of Packet Dropping Attackers during Military Surveillance Using WSN. Adv. Mil. Technol. 2014, 9, 19–30. [Google Scholar]
- Zhang, S.; Zhang, H. A Review of Wireless Sensor Networks and Its Applications. In Proceedings of the 2012 IEEE International Conference on Automation and Logistics, Zhengzhou, China, 15–17 August 2012. [Google Scholar]
- Matin, M.A.; Islam, M.M. Overview of Wireless Sensor Network. In Wireless Sensor Networks-Technology and Protocols; Matin, M.A., Ed.; InTech: Rijeka, Croatia, 2012; Volume 1, pp. 3–24. [Google Scholar]
- Kwon, D.K.; Yu, S.J.; Lee, J.Y.; Son, S.H.; Park, Y.H. WSN-SLAP: Secure and Lightweight Mutual Authentication Protocol for Wireless Sensor Networks. Sensors 2021, 21, 936. [Google Scholar] [CrossRef] [PubMed]
- Şentürk, A.; Şentürk, Z.K.; Kara, R. Comparison of Real Time Image Transfer in Wireless Multimedia Sensor Networks. In Proceedings of the ELECO 2015—9th International Conference on Electrical and Electronics Engineering, Bursa, Turkey, 26–28 November 2015; pp. 1226–1228. [Google Scholar] [CrossRef]
- Tay, M.; Senturk, A. A New Energy-Aware Cluster Head Selection Algorithm for Wireless Sensor Networks. Wirel. Pers. Commun. 2022, 122, 2235–2251. [Google Scholar] [CrossRef]
- Valdivieso, C.; Novillo, F.; Gomez, J.; Dik, D. Performance Evaluation of Channel Capacity in Wireless Sensor Networks Using ISM Band in Dense Urban Scenarios. In Proceedings of the 2016 IEEE Ecuador Technical Chapters Meeting (ETCM), Guayaquil, Ecuador, 12–14 October 2016. [Google Scholar]
- Long, T.; Juebo, W. Research and Analysis on Cognitive Radio Network Security. Wirel. Sens. Netw. 2012, 4, 120–126. [Google Scholar]
- Jia, J.; Zhang, Q.; Shen, X.S. HC-MAC: A Hardware-Constrained Cognitive MAC for Efficient Spectrum Management. IEEE J. Sel. Areas Commun. 2008, 26, 106–117. [Google Scholar] [CrossRef]
- Domenico, A.D.; Strinati, E.C.; Benedetto, M.G.D. A Survey on MAC Strategies for Cognitive Radio Networks. IEEE Commun. Surv. Tutor 2010, 14, 21–44. [Google Scholar] [CrossRef]
- Alias, D.M.; Ragesh, G.K. Cognitive Radio Networks: A Survey. In Proceedings of the 2016 International Conference on Wireless Communications, Signal Processing and Networking (WiSPNET), Chennai, India, 23–25 March 2016. [Google Scholar]
- Wang, Q.; Balasingham, I. Wireless Sensor Networks-an Introduction. In Wireless Sensor Networks: Application-Centric Design; Tan, Y.K., Ed.; InTech: London, UK, 2010; pp. 3–14. [Google Scholar]
- Turkyilmaz, Y.; Senturk, A.; Bayrakdar, M.E. Employing Machine Learning Based Malicious Signal Detection for Cognitive Radio Networks. Concurr. Comput. 2023, 35, e7457. [Google Scholar] [CrossRef]
- Felice, M.; Chowdhury, K.R.; Kim, W.; Kassler, A.; Bononi, L. End-To-End Protocols for Cognitive Radio Ad Hoc Networks: An Evaluation Study. Perform. Eval. 2011, 68, 859–875. [Google Scholar] [CrossRef]
- Gomathyjayam, R.; Thilakavathi, R. Accessing Network Using Secure Android Applications. Int. J. Sci. Res. Comput. Sci. Eng. Inf. Technol. 2019, 5, 438–442. [Google Scholar] [CrossRef]
- Arjoune, Y.; Kaabouch, N. A Comprehensive Survey on Spectrum Sensing in Cognitive Radio Networks: Recent Advances, New Challenges, and Future Research Directions. Sensors 2019, 19, 126. [Google Scholar] [CrossRef]
- Joshi, G.P.; Kim, S.W. A Survey on Node Clustering in Cognitive Radio Wireless Sensor Networks. Sensors 2016, 16, 1465. [Google Scholar] [CrossRef]
- Zeng, Y.; Xu, L.; Yang, X.; Yi, X.; Khalil, I. Lightweight Privacy Preservation for Secondary Users in Cognitive Radio Networks. J. Netw. Comput. Appl. 2020, 162, 102652. [Google Scholar] [CrossRef]
- Yu, S.; Park, Y. SLUA-WSN: Secure and Lightweight Three-Factor-Based User Authentication Protocol for Wireless Sensor Networks. Sensors 2020, 20, 4143. [Google Scholar] [CrossRef]
- Mo, J.; Chen, H. A Lightweight Secure User Authentication and Key Agreement Protocol for Wireless Sensor Networks. Secur. Commun. Netw. 2019, 2019, 2136506. [Google Scholar] [CrossRef]
- Moghadam, M.F.; Nikooghadam, M.; Jabban, M.A.B.A.; Alishahi, M.; Mortazavi, L.; Mohajerzadeh, A. An Efficient Authentication and Key Agreement Scheme Based on ECDH for Wireless Sensor Network. IEEE Access 2020, 8, 73182–73192. [Google Scholar] [CrossRef]
- Khasawneh, M.; Agarwal, A. A Secure and Efficient Authentication Mechanism Applied to Cognitive Radio Networks. IEEE Access 2017, 5, 15597–15608. [Google Scholar] [CrossRef]
- Parvin, S.; Han, S.; Tian, B.; Hussain, F.K. Trust-Based Authentication for Secure Communication in Cognitive Radio Networks. In Proceedings of the 2010 IEEE/IFIP International Conference on Embedded and Ubiquitous Computing, Hong Kong, China, 11–13 December 2010. [Google Scholar]
- Liu, Y.; Ning, P.; Dai, H. Authenticating Primary Users’ Signals in Cognitive Radio Networks via Integrated Cryptographic and Wireless Link Signatures. In Proceedings of the 2010 IEEE Symposium on Security and Privacy, Oakland, CA, USA, 16–19 May 2010. [Google Scholar] [CrossRef]
- Gatate, V.; Agarkhed, J. Spectrum Aware Cryptography (SAC) in Wireless Cognitive Radio Sensor Networks for Delay Sensitive Applications. In Proceedings of the 2020 International Conference for Emerging Technology (INCET), Belgaum, India, 5–7 June 2020. [Google Scholar]
- Luo, X. Secure Cooperative Spectrum Sensing Strategy Based on Reputation Mechanism for Cognitive Wireless Sensor Networks. IEEE Access 2020, 8, 131361–131369. [Google Scholar] [CrossRef]
- Burrows, M.; Abadi, M.; Needham, R. A Logic of Authentication. ACM Trans. Comput. Syst. (TOCS) 1990, 8, 18–36. [Google Scholar] [CrossRef]
- Koblitz, N. Elliptic Curve Cryptosystems. Math. Comput. 1987, 48, 203–209. [Google Scholar] [CrossRef]
- Qing-Hai, B.; Wen-Bo, Z.; Peng, J.; Xu, L. Research on Design Principles of Elliptic Curve Public Key Cryptography and Its Implementation. In Proceedings of the 2012 International Conference on Computer Science and Service System, Nanjing, China, 11–13 August 2012. [Google Scholar]
- Gong, L.; Needham, R.M.; Yahalom, R. Reasoning about Belief in Cryptographic Protocols. In Proceedings of the IEEE Symposium on Security and Privacy, Oakland, CA, USA, 7–9 May 1990. [Google Scholar]
- Armando, A.; Basin, D.; Boichut, Y.; Chevalier, Y.; Compagna, L.; Cuellar, J.; Hankes Drielsma, P.; Heám, P.C.; Kouchnarenko, O.; Mantovani, J. AVISPA: Automated Validation of Internet Security Protocols and Applications. Future and Emerging Technologies (FET Open). Available online: http://www.avispa-project.org (accessed on 25 November 2022).
- Khalid, H.; Hashim, S.J.; Ahmad, S.M.S.; Hashim, F.; Chaudhary, M.A. A Lightweight and Secure Online/Offline Cross-Domain Authentication Scheme for VANET Systems in Industrial IoT. PeerJ Comput. Sci. 2021, 7, e714. [Google Scholar] [CrossRef]
- Von Oheimb, D. The High-Level Protocol Specification Language HLPSL Developed in the EU Project AVISPA. In Proceedings of the APPSEM 2005 Workshop, APPSEM’05, Tallinn, Finland, 13–15 September 2005; pp. 1–2. [Google Scholar]
- Yogesh, P.R. Formal Verification of Secure Evidence Collection Protocol Using BAN Logic and AVISPA. Procedia Comput. Sci. 2020, 167, 1334–1344. [Google Scholar] [CrossRef]
- Team, T.A. AVISPA v1.1 User Manual. Available online: http://www.avispa-project.org (accessed on 25 November 2022).
- Dolev, D.; Yao, A. On the Security of Public Key Protocols. IEEE Trans. Inform. Theory 1983, 29, 198–208. [Google Scholar] [CrossRef]
- Choi, Y.; Lee, D.; Kim, J.; Jung, J.; Nam, J.; Won, D. Security Enhanced User Authentication Protocol for Wireless Sensor Networks Using Elliptic Curves Cryptography. Sensors 2014, 14, 10081–10106. [Google Scholar] [CrossRef] [PubMed]
- Wu, F.; Xu, L.; Kumari, S.; Li, X. A New and Secure Authentication Scheme for Wireless Sensor Networks with Formal Proof. Peer-to-Peer Netw. Appl. 2017, 10, 16–30. [Google Scholar] [CrossRef]
- Wu, F.; Xu, L.; Kumari, S.; Li, X. A Privacy-Preserving and Provable User Authentication Scheme for Wireless Sensor Networks Based on Internet of Things Security. J. Ambient. Intell. Humaniz. Comput. 2017, 8, 101–116. [Google Scholar] [CrossRef]
- Nikravan, M.; Reza, A. A Multi-Factor User Authentication and Key Agreement Protocol Based on Bilinear Pairing for the Internet of Things. Wirel. Pers. Commun. 2020, 111, 463–494. [Google Scholar] [CrossRef]
- Challa, S.; Wazid, M.; Das, A.K.; Kumar, N.; Reddy, A.G.; Yoon, E.; Yoo, K. Secure Signature-Based Authenticated Key Establishment Scheme for Future IoT Applications. IEEE Access 2017, 5, 3028–3043. [Google Scholar] [CrossRef]
- Li, X.; Niu, J.; Bhuiyan, M.Z.A.; Wu, F.; Karuppiah, M.; Kumari, S. A Robust ECC-Based Provable Secure Authentication Protocol with Privacy Preserving for Industrial Internet of Things. IEEE Trans. Industr. Inform. 2017, 14, 3599–3609. [Google Scholar] [CrossRef]









| Reference | Year | Approach | Security Algorithms | Network | Result |
|---|---|---|---|---|---|
| [22] | 2017 | A two-level authentication system was proposed to verify the authenticity of the cognitive node and its user. | symmetric-key cryptography and public-key infrastructure-based | CRNs | The result decreased the authentication time needed to accomplish the number of cryptographic operations and the authentication process. |
| [23] | 2010 | A trust-based authentication mechanism for secure communication in CRNs was proposed. | trust-based authentication mechanism | CRNs | This secure authentication reduced the relative calculation overheads and communication costs. |
| [18] | 2020 | A lightweight privacy-preserving scheme for secondary users in database-driven CRNs was proposed. | lightweight operations such as XOR and hash function | CRNs | Their results showed that their system outperformed previous schemes in terms of the communication cost and computation and incurred the shortest delay in channel allocation. |
| [19] | 2020 | A secure lightweight three-factor-based user authentication protocol was proposed for WSNs. | hash and XOR operations | WSNs | Their scheme provided good and efficient communication and computation costs related to other existing schemes. |
| [21] | 2020 | A key agreement mechanism and an ECDH-based authentication were proposed for the WSN infrastructure. | key agreement and mutual authentication protocol based on the elliptic curve Diffie–Hellman | WSNs | It supported more security attributes, and the proposed protocol performance was more effective than other related protocols. |
| [25] | 2020 | For providing security in the CRSN, the authors in this paper performed an elliptic curve digital signature algorithm-based spectrum aware cryptography. | elliptic curve digital signature algorithm (ECDSA) | CR-WSNs | The simulation findings showed that the ECDSA-based SAC algorithm dramatically reduced packet latency and energy usage. |
| [26] | 2020 | Collaborative spectrum secure (CSS) sensing technology based on the mechanism’s reputation for wireless cognitive sensor networks was proposed | Collaborative spectrum secure (CSS) sensing based on reputation | CR-WSNs | The results showed the proposed method outperformed previous methods in terms of sensing performance and excelled at detecting and isolating attackers. |
| [4] | 2021 | A secure and lightweight mutual authentication protocol for WSN-SLAP was proposed. | hash functions and XOR operations | WSNs | The approach provided perfect forward secrecy and mutual authentication. |
| Notations | Description |
|---|---|
| GW | Gateway |
| Uj | User |
| Si | Sensor |
| DB | Database |
| IDSi | Sensor’s ID |
| IDi | User’s ID |
| IDG | Gateway’s ID |
| GSK | Pre-shared key between gateway and sensor |
| GWS | Secret parameter of the GW |
| Ki | Sensor’s master key |
| SKi | Sensor’s session key |
| Upk | User’s private key |
| Upub | User’s public key |
| Q | A base point of order n over Eq |
| PWi | Password of user |
| PIDi | Pseudo identity of user |
| GWpk | Gateway’s private key |
| GWpub | Gateway’s public key |
| SKUG | Shared key between gateway and user |
| N1, N2, N3 | Random nonce |
| Rs, RUU, A, Rg, RGG, Ri | Random numbers |
| h(.) | Hash function |
| || | Concatenation function |
| Exclusive-or function |
| Sensor Si | Gateway GW |
|---|---|
| Retrieve GSK, the pre-shared key between gateway and sensor Generate a random number Rs Select IDSi Generate a hash H1 = h(IDSi) Generate a hash H2 = h (IDSi, Rs) Generate a hash H3 = H1 H2 | |
![]() | GWS, the secret information of the GW Decrypt {IDSi, {{H2, H3} GSK} GSK} Generate a hash H*1 = h(IDSi), compute H*3 = H*1 H2 Compare H3 = ? H*3. If valid Generate sensor master key Ki = h (h (IDSi, Rs) || GWS) Generate a hash H4 = h (Ki || IDSi) H2 Then, link IDSi with Ki sensor master key and store {IDSi, H2, Ki} in the local database |
Compute SKi = h (H2 || Ki) h (Rs)![]() | ![]() Link SKi with IDSi and send a copy to the user |
| User Uj | Gateway GW |
|---|---|
| Select Upk, compute Upub = Upk * Q Generate a random number RUU, Ri Compute HU = h (RUU || Upk), compute RU = HU * Q Compute KU = Upk * IDG, compute CUS = h (IDi || IDG || RU || KU) | |
![]() | GWS is the secret information of the gateway Generate a random number A, Rg Compute HIDi = h (IDi Rg) and PIDi = HIDi h(AGWS) Select GWpk, compute GWpub = GWpk * Q Generate a random number RGG Compute HG = h (RGG || GWpk), compute RGW = HG * Q, Compute KG = GWpk * IDi, compute CGS = h(IDG || IDi || RGW || KG) ![]() |
| Compute K = HU * RGW Compute SKUG = h (IDi || IDG || RU || RGW|| K), compute UPWi = h (PWi Ri) SRi = Ri (IDi PWi) UHIDi = HIDi h (PWi IDi Ri) Zi = h (UPWi IDi Ri) Store {SRi, UHIDi, Vi, PIDi, K, h(.)} In the smart card | Compute K = HG *RU Compute SKUG = h (IDi || IDG || RU || RGW|| K) Forward the session key that was calculated from the sensor node Ski Store {PID, HID, A} in the database ![]() |
| User Uj | Gateway GW | Sensor Si |
|---|---|---|
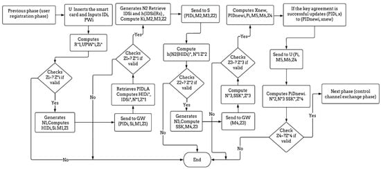
| Insert the smart card Input IDi, PWi Compute R* 1 = SRi h(IDi PWi) UPW*i = h(PWi Ri) Zi* = h(UPWi IDi R*1) Check Z*i =? Zi Generate a random nonce N1 Compute HIDi= UHIDi h(PWi IDi Ri) Si = IDSi h(PIDi HIDi) M1 = N1 h(HIDi PIDi) Z1 = h(IDSiPIDi N1 HIDi) ![]() | ||
| Retrieve PIDi and the secret value A Compute HID*i = PIDi h(A GWS) IDSi *= Si h(PIDiHID*i) N*1 = M1 h(HID*iPIDi) Z1* = h(IDSi*PIDi N*1 HID*i) Check Z *1 =? Z1 Generate a random nonce N2 Retrieve IDSi and h(IDSi Rs) Compute Ki = h(H2 || KGW) M2 = h(N2 HIDi) h(Ki PIDi) M3 = N1 h(h(N2 HIDi) ) Z2 = h(PIDi IDSi ||h(N2||HIDi)||N1) | ||
![]() | Compute h(N2 HIDi)* = M2 h(Ki PIDi) N1* = M3 h(h(N2 HIDi) ) Z2* = h(PID|| IDSi ||h(N2||HID)||N1* Check Z2 = Z2* ?? Generate a random nonce N3 Compute SSK = h(h(N2||HID)||N3||N1) M4 = N3 h(Ki ||N2) Z3 = h(SSK||N3|| IDSi) | |
| Compute N3* = M4 h (Ki ||N2) SSK* = h(h(N2||HID) ||N3*||N1) Z3* = h (SSK*||N3*|| IDSi) Check Z3 = Z3*?? Compute xnew = h (A || N2) PIDnew i = HIDi h (xnew || KGW) Pi = PIDnewi h (N1 || HIDi) M5 = N2 h (HID|| IDSi ||N1) M6 = N3 h(N2||HID||PIDnew) Z4 = h(N2||N3||PIDnew||SSK) If the key agreement is successful, update {PIDi, x} to {PID newi, xnew} | ![]() | |
| Compute PID newi = Pi h(N3||HIDi) N2* = M5 h (HID|| IDSi ||N1) N3* = M6 h(N2||HID||PIDnew) SSK* = h(h(N2||HID) ||N3*||N1) Z4* = h(N2||N3||PIDnew||SSK) Check Z4 = Z4*?? | ![]() |
| Database DB | Gateway GW | Sensor Si | User Uj |
|---|---|---|---|
| Send a request (REQ) channel to DB | |||
| Select channel number ch | ![]() | ||
![]() | Receive ch and decrypt it; then, send it to both sensor and user | ||
![]() | Decrypt {ch}Ki Receive the channel number and switch to the selected channel to start send data | ||
![]() | Decrypt {ch}SKUG Receive the channel number and switch to the selected channel to start send data | ||
| Sensor Si | Gateway GW | User Uj |
|---|---|---|
| Start sending data | ||
![]() | Receive and forward {{data}SKi, h(data)} | |
![]() | Receive the data {{data}SKi, h(data)} |
| Notations | Description |
|---|---|
| P1, P2 | Two principals |
| S1, S2 | Two statements |
| SK | The session key |
| P| ≡ Q | P believes Q |
| P | P once said Q |
| P| ⇒ Q | P1 controls Q |
| P ⊲ X | P1 receives Q |
| #S1 | S1 is fresh |
| {S1} Key | S1 is encrypted with key |
| P1P2 | P1 and P2 have a shared key |
| K−1 | Private key |
| Assumptions | Explanation |
|---|---|
| The S believes the S has a shared key with the GW | |
| The GW believes the S has a shared key with the GW | |
| The S believes the S has a shared key with the GW | |
| The GW believes the S has a shared key with the GW | |
| The S believes the S has a shared key with the GW | |
| The GW believes the S has a shared key with the GW | |
| The DB believes the DB has a shared key with the GW | |
| The GW believes the DB has a shared key with the GW | |
| The gateway believes the U, if only the user is signed and has been given the gateway’s public key | |
| The U believes the gateway once it is registered and has been given the gateway’s public key | |
| The gateway believes the public key of the user |
| Symbol | Definition |
|---|---|
| S, U, GW, DB | Principals |
| GSK | Shared key between the sensor and the gateway |
| Ki | Sensor’s master key |
| SKi | Session key |
| Gateway public key | |
| Gateway private key | |
| User’s public key | |
| User’s private key | |
| Shared key between the user and the gateway | |
| ECC-P | Elliptic curve parameter |
| KB | Shared key between the database and the gateway |
| Schemes | Gateway | User | Sensor | Total | Total Cost (s) |
|---|---|---|---|---|---|
| Choi et al. [37] | 6Th + 2Tecm | 9Th + 3Tecm | 5Th + 1Tecm | 20Th + 6Tecm | 0.109 |
| Wu et al. [38] | 11Th + 2Tsym | 12Th + 2Tecm + 1Tsym | 4Th + 2Tecm + 1Tsym | 27Th + 4Tecm + 4Tsym | 0.09944 |
| Kwon et al. [4] | 18Th | 13Th | 6Th | 37Th | 0.01184 |
| Moghadam et al. [21] | 1TECC + 5Th + 2Tsym | 6Th + 3TECC + 1Tsym | 1TECC + 2Th | 13Th + 5TECC + 3Tsym | 0.10646 |
| Wu et al. [39] | 8Th + TECC | 5Th + 3TECC | 4Th + 2TECC | 17Th + 6TECC | 0.10804 |
| Nikravan et al. [40] | 5Th + 4TECC + 2Tsym | 5Th + TECC + 2Tsym | 1Th + 1TECC + 2Tsym | 11Th + 6TECC + 6Tsym | 0.13972 |
| Challa et al. [41] | 5TECC + 4Th | 5TECC + 5Th | 4TECC + 3Th | 14TECC + 12Th | 0.24344 |
| Li et al. [42] | 7Th + TECC | 8Th + 3TECC | 4Th + 2TECC | 19Th + 6TECC | 0.10868 |
| Ours | 18Th | 13Th | 6Th | 37Th | 0.01184 |
| Security Property | [4] | [37] | [21] | [38] | [39] | [40] | [41] | [42] | Ours |
|---|---|---|---|---|---|---|---|---|---|
| MITM Attack | ✓ | ✓ | ✓ | ✓ | × | ✓ | ✓ | × | ✓ |
| Session-Specific Random Number Leakage Attack | ✓ | × | × | × | × | × | × | × | ✓ |
| Privileged Insider Attack | ✓ | ✓ | ✓ | ✓ | × | × | × | × | ✓ |
| Stolen Smart Card Attack | ✓ | × | ✓ | × | × | ✓ | ✓ | ✓ | ✓ |
| Perfect Forward Secrecy | ✓ | ✓ | × | ✓ | ✓ | ✓ | ✓ | ✓ | ✓ |
| Replay Attack | ✓ | ✓ | ✓ | ✓ | ✓ | ✓ | ✓ | ✓ | ✓ |
| Sensor Node Capture Attack | ✓ | ✓ | ✓ | ✓ | ✓ | × | ✓ | × | ✓ |
| Offline Password Guessing Attack | ✓ | × | ✓ | × | ✓ | ✓ | ✓ | × | ✓ |
| Key Compromise Impersonation | × | × | × | × | × | × | × | × | ✓ |
| Mutual Authentication | ✓ | ✓ | ✓ | ✓ | ✓ | ✓ | ✓ | × | ✓ |
| Stolen Verifier Attack | ✓ | × | ✓ | ✓ | ✓ | × | × | × | ✓ |
| Insider Attack | ✓ | ✓ | × | ✓ | × | × | ✓ | × | ✓ |
Disclaimer/Publisher’s Note: The statements, opinions and data contained in all publications are solely those of the individual author(s) and contributor(s) and not of MDPI and/or the editor(s). MDPI and/or the editor(s) disclaim responsibility for any injury to people or property resulting from any ideas, methods, instructions or products referred to in the content. |
© 2023 by the authors. Licensee MDPI, Basel, Switzerland. This article is an open access article distributed under the terms and conditions of the Creative Commons Attribution (CC BY) license (https://creativecommons.org/licenses/by/4.0/).
Share and Cite
Aloufi, B.O.; Alhakami, W. A Lightweight Authentication MAC Protocol for CR-WSNs. Sensors 2023, 23, 2015. https://doi.org/10.3390/s23042015
Aloufi BO, Alhakami W. A Lightweight Authentication MAC Protocol for CR-WSNs. Sensors. 2023; 23(4):2015. https://doi.org/10.3390/s23042015
Chicago/Turabian StyleAloufi, Bashayer Othman, and Wajdi Alhakami. 2023. "A Lightweight Authentication MAC Protocol for CR-WSNs" Sensors 23, no. 4: 2015. https://doi.org/10.3390/s23042015
APA StyleAloufi, B. O., & Alhakami, W. (2023). A Lightweight Authentication MAC Protocol for CR-WSNs. Sensors, 23(4), 2015. https://doi.org/10.3390/s23042015

















