Landslide Susceptibility Mapping by Fusing Convolutional Neural Networks and Vision Transformer
Abstract
1. Introduction
- (1)
- To explore the accuracy differences and generalisation capabilities of CNN and ViT on the field of LSM.
- (2)
- To investigate the prediction accuracy and applicability of the models after the fusion of CNN and ViT with each other.
- (3)
- The advantages and disadvantages of CNN and ViT in LSM are compared, and the feasibility of deep fusion between CNN and ViT is analysed.
2. Materials and Methods
2.1. Study Area
2.2. Data Sources
- (1)
- Topographic factors: elevation, slope, aspect, plan curvature and profile curvature.
- (2)
- Geological factors: distance to fault and lithology.
- (3)
- Hydrological factors: distance to river and rainfall.
- (4)
- Ecological factors: landcover and normalised difference vegetation index (NDVI).
2.3. Methods
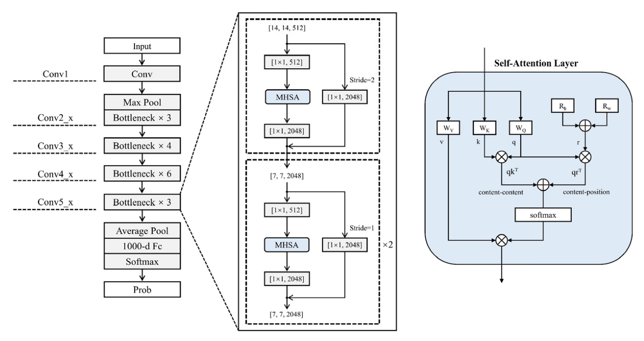
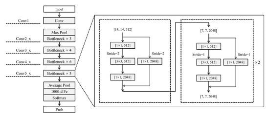
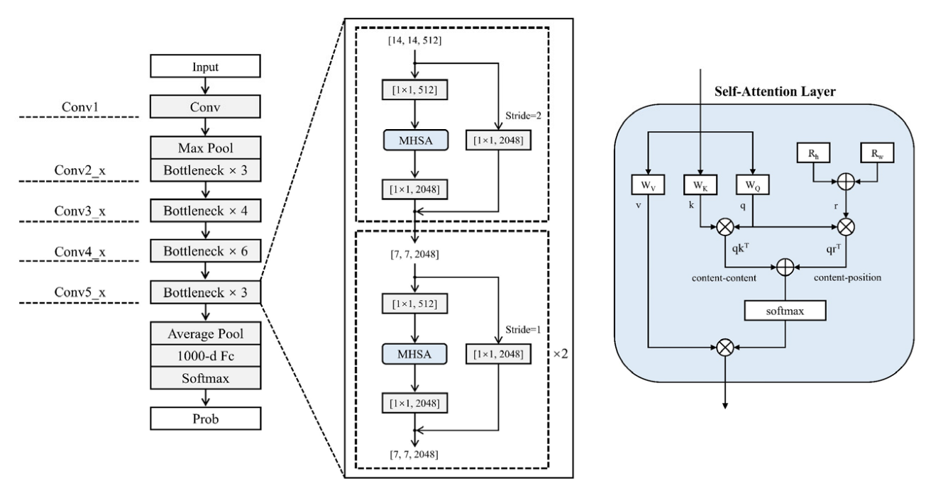
2.3.1. CNN
- (1)
- The input data size is (224, 224, 11);
- (2)
- After the first 7 × 7 convolutional layer, the output channel is 64 with a step size of 2 and a pad of 3;
- (3)
- After the 3 × 3 maximum pooling layer, the step size is 2 and pad is 1;
- (4)
- After conv2_x, this stage has the same fast superimposed residuals. Both input size and output size are 56 × 56;
- (5)
- The first residual block of the conv3_x, conv4_x and conv5_x stacks are slightly different from the other residual blocks.
2.3.2. ViT
2.3.3. CNN and ViT Fusion
3. Experiments and Results
3.1. Constructing Landslide Datasets
3.2. Model Evaluation
3.3. Landslide Susceptibility Mapping
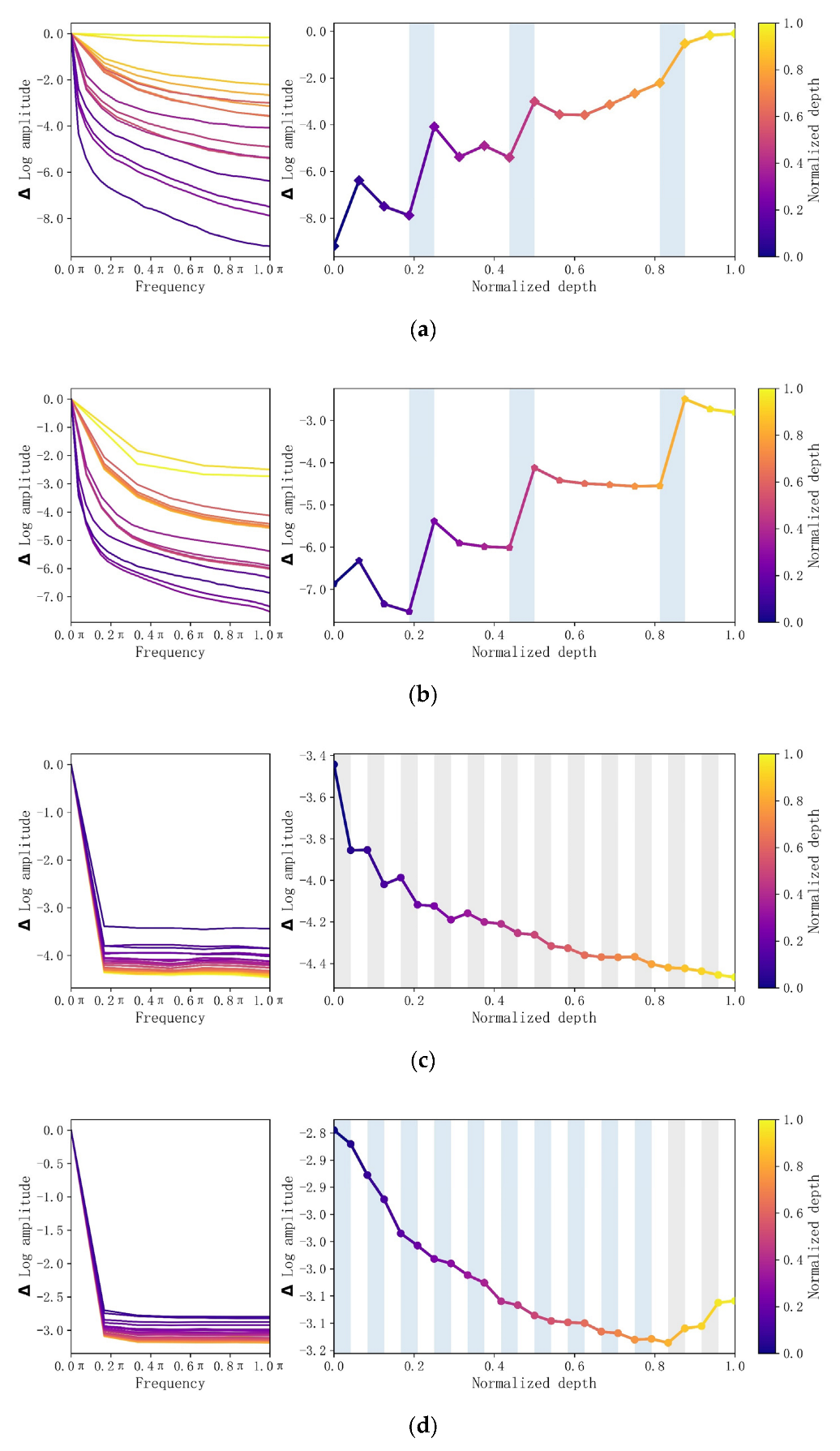
4. Discussion
4.1. Impact of MHSA in CNN
4.2. Model Adaptation and Stability
4.3. Existing Problems and Future Research
5. Conclusions
- (1)
- The single classification models involved in this study, ResNet and ViT, both exhibit better classification accuracy and generalisation ability. Among them, ViT has higher accuracy, and the prediction results are more in line with the actual situation.
- (2)
- The fusion model of CNN and ViT, which was applied to the field of landslide susceptibility mapping for the first time, showed better applicability. The fused model outperformed the single classification model in terms of performance.
- (3)
- The fusion model of CNN and ViT can effectively suppress high-frequency noise and take into account the texture and shape of landslide units at the same time.
Author Contributions
Funding
Conflicts of Interest
References
- Sun, Q.; Zhang, L.; Ding, X.; Hu, J.; Liang, H. Investigation of Slow-Moving Landslides from ALOS/PALSAR Images with TCPInSAR: A Case Study of Oso, USA. Remote Sens. 2014, 7, 72–88. [Google Scholar] [CrossRef]
- Fell, R. Landslide risk assessment and acceptable risk. Can. Geotech. J. 1994, 31, 261–272. [Google Scholar] [CrossRef]
- Shahabi, H.; Hashim, M. Landslide susceptibility mapping using GIS-based statistical models and Remote sensing data in tropical environment. Sci. Rep. 2015, 5, 9899. [Google Scholar] [CrossRef]
- Dubey, C.S.; Chaudhry, M.; Sharma, B.K.; Pandey, A.C.; Singh, B. Visualization of 3-D digital elevation model for landslide assessment and prediction in mountainous terrain: A case study of Chandmari landslide, Sikkim, eastern Himalayas. Geosci. J. 2005, 9, 363–373. [Google Scholar] [CrossRef]
- Bai, S.B.; Wang, J.; Lü, G.N.; Zhou, P.G.; Hou, S.S.; Xu, S.N. GIS-based logistic regression for landslide susceptibility mapping of the Zhongxian segment in the Three Gorges area, China. Geomorphology 2010, 115, 23–31. [Google Scholar] [CrossRef]
- Gantimurova, S.; Parshin, A.; Erofeev, V. GIS-Based Landslide Susceptibility Mapping of the Circum-Baikal Railway in Russia Using UAV Data. Remote Sens. 2021, 13, 3629. [Google Scholar] [CrossRef]
- Zêzere, J.L.; Pereira, S.; Melo, R.; Oliveira, S.C.; Garcia, R. Mapping landslide susceptibility using data-driven methods. Sci. Total Environ. 2017, 589, 250–267. [Google Scholar] [CrossRef]
- Sezer, E.A.; Nefeslioglu, H.A.; Osna, T. An expert-based landslide susceptibility mapping (LSM) module developed for Netcad Architect Software. Comput. Geosci. 2016, 98, 26–37. [Google Scholar] [CrossRef]
- Chen, W.; Li, W.; Hou, E.; Zhao, Z.; Deng, N.; Bai, H.; Wang, D. Landslide susceptibility mapping based on GIS and information value model for the Chencang District of Baoji, China. Arab. J. Geosci. 2014, 7, 4499–4511. [Google Scholar] [CrossRef]
- Ali, S.A.; Parvin, F.; Vojteková, J.; Costache, R.; Linh, N.T.T.; Pham, Q.B.; Vojtek, M.; Gigović, L.; Ahmad, A.; Ghorbani, M.A. GIS-based landslide susceptibility modeling: A comparison between fuzzy multi-criteria and machine learning algorithms. Geosci. Front. 2021, 12, 857–876. [Google Scholar] [CrossRef]
- Goetz, J.N.; Brenning, A.; Petschko, H.; Leopold, P. Evaluating machine learning and statistical prediction techniques for landslide susceptibility modeling. Comput. Geosci. 2015, 81, 1–11. [Google Scholar] [CrossRef]
- Ngo, P.; Panahi, M.; Khosravi, K.; Ghorbanzadeh, O.; Kariminejad, N.; Cerda, A.; Lee, S. Evaluation of deep learning algorithms for national scale landslide susceptibility mapping of Iran. Geosci. Front. 2021, 12, 505–519. [Google Scholar]
- Hw, A.; Lz, A.; Hl, A.; Jian, H.A.; Rwmc, B. AI-powered Landslide Susceptibility Assessment in Hong Kong. Eng. Geol. 2021, 288, 106103. [Google Scholar]
- Lombardo, L.; Cama, M.; Conoscenti, C.; Märker, M.; Rotigliano, E. Binary logistic regression versus stochastic gradient boosted decision trees in assessing landslide susceptibility for multiple-occurring landslide events: Application to the 2009 storm event in Messina (Sicily, southern Italy). Nat. Hazards 2015, 79, 1621–1648. [Google Scholar] [CrossRef]
- Youssef, A.M.; Pourghasemi, H.R.; Pourtaghi, Z.S.; Al-Katheeri, M.M. Landslide susceptibility mapping using random forest, boosted regression tree, classification and regression tree, and general linear models and comparison of their performance at Wadi Tayyah Basin, Asir Region, Saudi Arabia. Landslides 2016, 13, 839–856. [Google Scholar] [CrossRef]
- Chen, W.; Chai, H.; Zhao, Z.; Wang, Q.; Hong, H. Landslide susceptibility mapping based on GIS and support vector machine models for the Qianyang County, China. Environ. Earth Sci. 2016, 75, 474. [Google Scholar] [CrossRef]
- Yao, X.; Tham, L.G.; Dai, F.C. Landslide susceptibility mapping based on Support Vector Machine: A case study on natural slopes of Hong Kong, China. Geomorphology 2008, 101, 572–582. [Google Scholar] [CrossRef]
- Chauhan, S.; Sharma, M.; Arora, M.K. Landslide susceptibility zonation of the Chamoli region, Garhwal Himalayas, using logistic regression model. Landslides 2010, 7, 411–423. [Google Scholar] [CrossRef]
- Chu, M.; Thuerey, N. Data-Driven Synthesis of Smoke Flows with CNN-based Feature Descriptors. ACM Trans. Graph. 2017, 36, 1–14. [Google Scholar] [CrossRef]
- Othman, A.A.; Gloaguen, R.; Andreani, L.; Rahnama, M. Improving landslide susceptibility mapping using morphometric features in the Mawat area, Kurdistan Region, NE Iraq: Comparison of different statistical models. Geomorphology 2018, 319, 147–160. [Google Scholar] [CrossRef]
- Wang, Y.; Fang, Z.; Wang, M.; Ling, P.; Hong, H. Comparative study of landslide susceptibility mapping with different recurrent neural networks. Comput. Geosci. 2020, 138, 104445. [Google Scholar] [CrossRef]
- Wang, H.J.; Xiao, T.; Li, X.Y.; Zhang, L.L.; Zhang, L.M. A novel physically-based model for updating landslide susceptibility. Eng. Geol. 2019, 251, 71–80. [Google Scholar] [CrossRef]
- Lei, Y.; Chen, X.; Min, M.; Xie, Y. A Semi-Supervised Laplacian Extreme Learning Machine and Feature Fusion with CNN for Industrial Superheat Identification. Neurocomputing 2020, 381, 186–195. [Google Scholar] [CrossRef]
- Chen, Y.; Ming, D.; Xiao, L.; Lv, X.; Zhou, C. Landslide Susceptibility Mapping Using Feature Fusion-Based CPCNN-ML in Lantau Island, Hong Kong. IEEE J. Sel. Top. Appl. Earth Obs. Remote Sens. 2021, 14, 3625–3639. [Google Scholar] [CrossRef]
- Azarafza, M.; Akgün, H.; Atkinson, P.M.; Derakhshani, R. Deep learning-based landslide susceptibility mapping. Sci. Rep. 2021, 11, 24112. [Google Scholar] [CrossRef]
- Yu, Y.; Liang, S.; Samali, B.; Nguyen, T.N.; Zhai, C.; Li, J.; Xie, X. Torsional capacity evaluation of RC beams using an improved bird swarm algorithm optimised 2D convolutional neural network. Eng. Struct. 2022, 273, 115066. [Google Scholar] [CrossRef]
- Yu, Y.; Samali, B.; Rashidi, M.; Mohammadi, M.; Nguyen, T.N.; Zhang, G. Vision-based concrete crack detection using a hybrid framework considering noise effect. J. Build. Eng. 2022, 61, 105246. [Google Scholar] [CrossRef]
- Vaswani, A.; Shazeer, N.; Parmar, N.; Uszkoreit, J.; Jones, L.; Gomez, A.N.; Kaiser, L.; Polosukhin, I. Attention Is All You Need. arXiv 2017. [Google Scholar] [CrossRef]
- Park, N.; Kim, S. How Do Vision Transformers Work? arXiv 2022, arXiv:2202.06709. [Google Scholar]
- Cheng, E.; Li, G.; Chen, H. On the direction of the maximum compressive principal stress before and after the 1976 Songpan-Pingwu earthquake (M = 7.2) of the Sichuan province. Acta Seismol. Sin. 1982, 4, 137–148. [Google Scholar]
- Piloyan, A.; Konečný, M. Semi-automated classification of landform elements in Armenia based on SRTM DEM using k-means unsupervised classification. Quaest. Geogr. 2017, 36, 93–103. [Google Scholar] [CrossRef]
- Huang, Y.; Zhao, L. Review on landslide susceptibility mapping using support vector machines. Catena 2018, 165, 520–529. [Google Scholar] [CrossRef]
- Gaidzik, K.; Ramirez-Herrera, M.T. The importance of input data on landslide susceptibility mapping. Sci. Rep. 2021, 11, 19334. [Google Scholar] [CrossRef] [PubMed]
- Zhang, X.; Liu, L.; Wu, C.; Chen, X.; Zhang, B. Development of a global 30 m impervious surface map using multisource and multitemporal remote sensing datasets with the Google Earth Engine platform. Earth Syst. Sci. Data 2020, 12, 1625–1648. [Google Scholar] [CrossRef]
- Zhang, X.; Liu, L.; Chen, X.; Gao, Y.; Mi, J. GLC_FCS30: Global land-cover product with fine classification system at 30 m using time-series Landsat imagery. Earth Syst. Sci. Data 2020, 13, 2753–2776. [Google Scholar] [CrossRef]
- He, K.; Zhang, X.; Ren, S.; Sun, J. Deep Residual Learning for Image Recognition. In Proceedings of the IEEE Conference on Computer Vision and Pattern Recognition, Las Vegas, NV, USA, 27–30 June 2016; pp. 770–778. [Google Scholar]
- Wang, G.; Yu, H.; Sui, Y. Research on Maize Disease Recognition Method Based on Improved ResNet50. Mob. Inf. Syst. 2021, 2021, 9110866. [Google Scholar] [CrossRef]
- Dosovitskiy, A.; Beyer, L.; Kolesnikov, A.; Weissenborn, D.; Houlsby, N. An Image is Worth 16x16 Words: Transformers for Image Recognition at Scale. arXiv 2020, arXiv:2010.11929. [Google Scholar]
- Jiang, Z.; Wang, L.; Wu, Q.; Shao, Y.; Shen, M.; Jiang, W.; Dai, C. Computer-aided diagnosis of retinopathy based on vision transformer. J. Innov. Opt. Health Sci. 2022, 15, 2250009. [Google Scholar] [CrossRef]
- Peter, S.; Jakob, U.; Ashish, V. Self-Attention with Relative Position Representations. arXiv 2018, arXiv:1803.02155. [Google Scholar]
- Tian, C.; Xu, Y.; Li, Z.; Zuo, W.; Fei, L.; Liu, H. Attention-guided CNN for image denoising. Neural Netw. 2020, 124, 117–129. [Google Scholar] [CrossRef]
- Srinivas, A.; Lin, T.-Y.; Parmar, N.; Shlens, J.; Abbeel, P.; Vaswani, A. Bottleneck Transformers for Visual Recognition. arXiv 2021, arXiv:2101.11605. [Google Scholar]
- D’Ascoli, S.; Touvron, H.; Leavitt, M.L.; Morcos, A.S.; Biroli, G.; Sagun, L. ConViT: Improving Vision Transformers with Soft Convolutional Inductive Biases. arXiv 2021, arXiv:2103.10697. [Google Scholar] [CrossRef]
- Wang, J.; Li, X.; Christakos, G.; Liao, Y.L.; Zhang, T.; Gu, X.; Zheng, X. Geographical Detectors-Based Health Risk Assessment and its Application in the Neural Tube Defects Study of the Heshun Region, China. Int. J. Geogr. Inf. Sci. 2010, 24, 107–127. [Google Scholar] [CrossRef]
- Zhou, X.; Wen, H.; Zhang, Y.; Xu, J.; Zhang, W. Landslide susceptibility mapping using hybrid random forest with GeoDetector and RFE for factor optimization. Geosci. Front. 2021, 12, 101211. [Google Scholar] [CrossRef]
- Du, J.; Glade, T.; Woldai, T.; Chai, B.; Zeng, B. Landslide susceptibility assessment based on an incomplete landslide inventory in the Jilong Valley, Tibet, Chinese Himalayas. Eng. Geol. 2020, 270, 105572. [Google Scholar] [CrossRef]
- Raghu, M.; Unterthiner, T.; Kornblith, S.; Zhang, C.; Dosovitskiy, A. Do Vision Transformers See Like Convolutional Neural Networks? Adv. Neural Inf. Process. Syst. 2021, 34, 12116–12128. [Google Scholar]
- Naseer, M.; Ranasinghe, K.; Khan, S.; Hayat, M.; Khan, F.S.; Yang, M.-H. Intriguing Properties of Vision Transformers. Adv. Neural Inf. Process. Syst. 2021, 34, 23296–23308. [Google Scholar]
- Geirhos, R.; Rubisch, P.; Michaelis, C.; Bethge, M.; Wichmann, F.A.; Brendel, W. ImageNet-trained CNNS are biased towards texture; Increasing shape bias improves accuracy and robustness. In Proceedings of the International Conference on Learning Representations, New Orleans, LA, USA, 6–9 May 2019. [Google Scholar]
- Wang, H.; Wu, X.; Huang, Z.; Xing, E.P. High-frequency Component Helps Explain the Generalization of Convolutional Neural Networks. arXiv 2020, arXiv:1905.13545. [Google Scholar]















| Data Layer | Source | Scale/Resolution | Data Type | Data Summary | |||
|---|---|---|---|---|---|---|---|
| 5th Percentile | 95th Percentile | Mean | Standard Deviation | ||||
| Elevation | China Academy of Surveying and Mapping Science Beijing Four Dimensions Digital Technology Co | 10 m | Continuous | 944.49 | 3669.44 | 2905.84 | 861.38 |
| Slope | 10 m | Continuous | 11.72 | 54.23 | 33.43 | 12.94 | |
| Aspect | 10 m | Continuous | 18.72 | 341.42 | 178.67 | 101.51 | |
| Plan curvature | 10 m | Continuous | −4.94 | 4.98 | 0.02 | 3.02 | |
| Profile curvature | 10 m | Continuous | −8.54 | 8.57 | 0.02 | 5.14 | |
| Distance to river | 10 m | Continuous | 500.00 | 13,222.90 | 5908.10 | 4030.09 | |
| Distance to fault | 10 m | Continuous | 644.05 | 17,353.53 | 8398.08 | 5273.34 | |
| Lithology | Chinese Academy of Science | 10 m | Categorical | - | - | - | - |
| Rainfall | 30 m | Continuous | 7375.00 | 8463.00 | 7918.62 | 324.63 | |
| Landcover | 30 m | Categorical | - | - | - | - | |
| NDVI | 30 m | Continuous | 107.00 | 207.00 | 176.37 | 31.44 | |
| Elevation | Slope | Aspect | Plan Curvature | Profile Curvature | Rainfall | NDVI | Lithology | Landcover | Distance of River | Distance of Fault | |
|---|---|---|---|---|---|---|---|---|---|---|---|
| Elevation | - | ||||||||||
| Slope | B | - | |||||||||
| Aspect | N | N | - | ||||||||
| Plan Curvature | N | N | N | - | |||||||
| Profile Curvature | N | N | N | N | - | ||||||
| Rainfall | B | B | N | N | N | - | |||||
| NDVI | B | N | N | N | N | N | - | ||||
| Lithology | B | B | N | N | N | N | N | - | |||
| Landcover | B | B | B | N | N | B | B | B | - | ||
| Distance of River | B | N | N | N | N | B | N | B | B | - | |
| Distance of Fault | N | N | N | N | N | N | N | N | N | N | - |
| Method | Train Dataset | Test Dataset | ||||
|---|---|---|---|---|---|---|
| Accuracy (%) | F1-Score (%) | AUC (%) | Accuracy (%) | F1-Score (%) | AUC (%) | |
| ResNet | 86.67 | 88.28 | 96.07 | 86.00 | 85.71 | 92.69 |
| ViT | 89.05 | 88.78 | 96.99 | 86.67 | 86.36 | 93.23 |
| BoTNet | 90.00 | 89.76 | 97.52 | 87.78 | 87.36 | 93.73 |
| ConViT | 88.10 | 88.04 | 94.18 | 87.78 | 87.64 | 93.38 |
| Method | Hyperparameter | |||||
|---|---|---|---|---|---|---|
| Epoch | Batch Size | Dropout | Optimiser | Loss Function | Learn Rate | |
| ResNet | 300 | 16 | 0 | Adam | CrossEntropyLoss | 0.01 |
| ViT | 300 | 16 | 0 | SGD | CrossEntropyLoss | 0.001 |
| BoTNet | 300 | 16 | 0.3 | SGD | CrossEntropyLoss | 0.0001 |
| ConViT | 300 | 16 | 0 | Adam | CrossEntropyLoss | 0.0001 |
Disclaimer/Publisher’s Note: The statements, opinions and data contained in all publications are solely those of the individual author(s) and contributor(s) and not of MDPI and/or the editor(s). MDPI and/or the editor(s) disclaim responsibility for any injury to people or property resulting from any ideas, methods, instructions or products referred to in the content. |
© 2022 by the authors. Licensee MDPI, Basel, Switzerland. This article is an open access article distributed under the terms and conditions of the Creative Commons Attribution (CC BY) license (https://creativecommons.org/licenses/by/4.0/).
Share and Cite
Bao, S.; Liu, J.; Wang, L.; Konečný, M.; Che, X.; Xu, S.; Li, P. Landslide Susceptibility Mapping by Fusing Convolutional Neural Networks and Vision Transformer. Sensors 2023, 23, 88. https://doi.org/10.3390/s23010088
Bao S, Liu J, Wang L, Konečný M, Che X, Xu S, Li P. Landslide Susceptibility Mapping by Fusing Convolutional Neural Networks and Vision Transformer. Sensors. 2023; 23(1):88. https://doi.org/10.3390/s23010088
Chicago/Turabian StyleBao, Shuai, Jiping Liu, Liang Wang, Milan Konečný, Xianghong Che, Shenghua Xu, and Pengpeng Li. 2023. "Landslide Susceptibility Mapping by Fusing Convolutional Neural Networks and Vision Transformer" Sensors 23, no. 1: 88. https://doi.org/10.3390/s23010088
APA StyleBao, S., Liu, J., Wang, L., Konečný, M., Che, X., Xu, S., & Li, P. (2023). Landslide Susceptibility Mapping by Fusing Convolutional Neural Networks and Vision Transformer. Sensors, 23(1), 88. https://doi.org/10.3390/s23010088

