Optimized Distributed Generalized Reed-Solomon Coding with Space-Time Block Coded Spatial Modulation
Abstract
:1. Introduction
- The DGRSC-STBC-SM scheme is first proposed, where the source and relay nodes use different GRS codes. In the DGRSC-STBC-SM scheme, the relay selects partial symbols from the decoded source information symbols for further encoding. For each selection at the relay, the destination then generates a codeword set through the mutual cooperation between the source and relay.
- To construct an optimal codeword set at the destination with the best weight distribution, we propose an optimal symbol selection algorithm at the relay to determine the best selection pattern by which partial symbols are chosen from the decoded source information symbols for further encoding.
- However, for a longer block length code, the complexity of the algorithm is very high. Thus, it is not realistic from a practical perspective. To reduce the computational complexity of the optimal symbol selection algorithm, the low-complexity symbol selection algorithm is then proposed. In the low-complexity symbol selection algorithm, partial source information symbol sequences are considered to determine the optimized selection pattern from the local selection patterns at the relay.
2. Related Work
3. Generalized Distributed Channel Coding Combined with STBC-SM Based on Subset Method
3.1. Distributed Channel Coding Based on the Subset Method
3.2. Incorporation of STBC-SM into Distributed Channel Coding
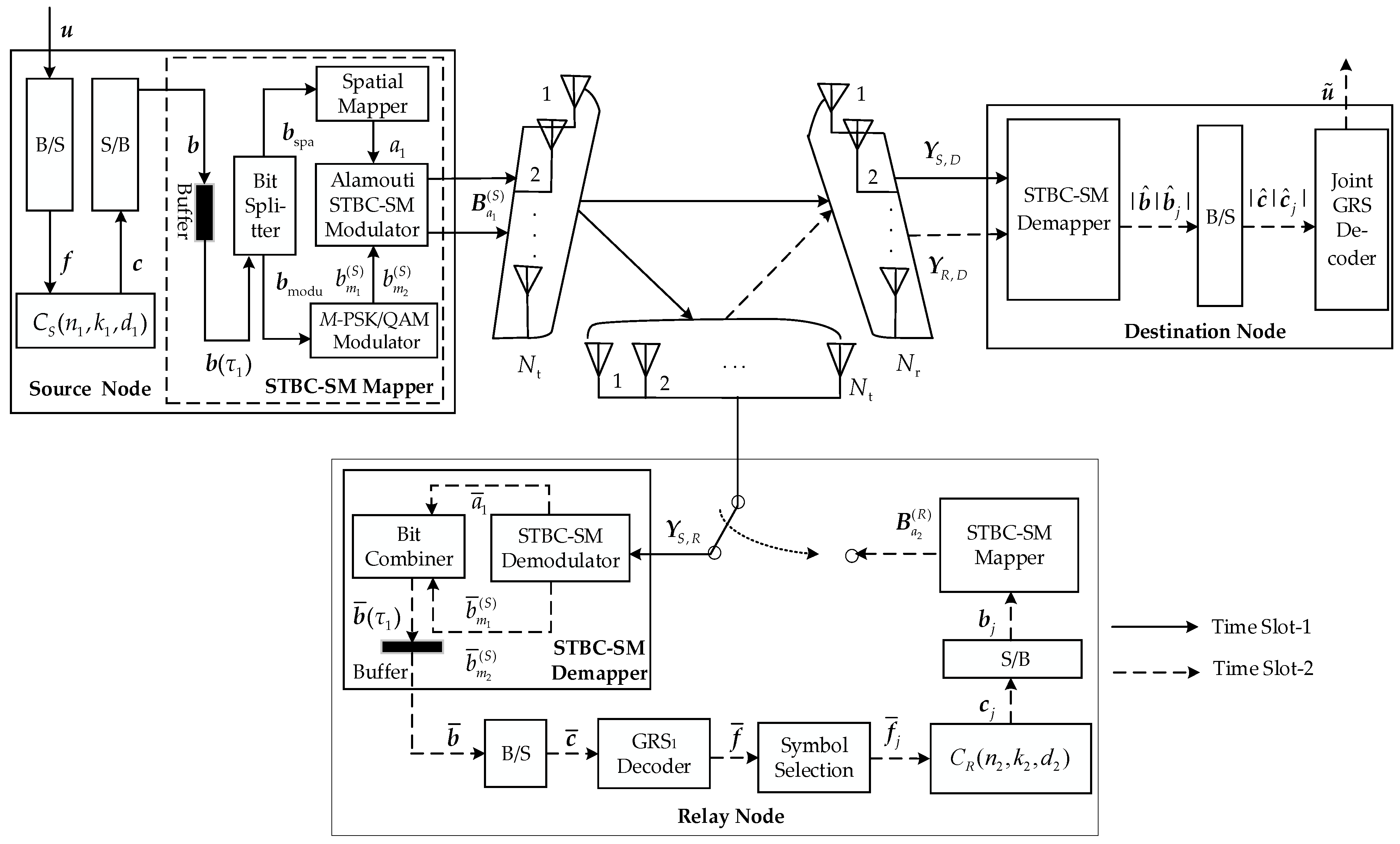
4. Distributed GRS-Coded STBC-SM Scheme for Wireless Communications
5. Proposed Efficient Symbol Selection Algorithms
5.1. Algorithm 1: Optimal Symbol Selection Algorithm
5.1.1. General Description of the Optimal Symbol Selection Algorithm
- (1)
- If and , , and return back to step 4.
- (2)
- Else, i.e., or , the searching algorithm halts.
5.1.2. Example 1
5.2. Algorithm 2: Low-Complexity Symbol Selection Algorithm
5.2.1. General Description of the Low-Complexity Symbol Selection Algorithm
- (1)
- Split into two parts, where all the elements of form the first part, and the other elements in but not in form the second part.
- (2)
- elements are reasonably selected from as all roots of . On the one hand, n elements of elements are randomly chosen in the first part, and the remaining elements are fixedly selected in the second part, which generates cases. On the other hand, the roles of random and fixed selection are reversed, i.e., we randomly choose elements from the second part, and fixedly choose the elements from the first part, which yields cases.
- (3)
- Based on the above process, information symbol sequences are obtained.
- (1)
- First partition information symbols at the source into two parts. Scenario (i): the first symbols and the last symbols form the first and second parts, respectively, where is the smallest integer larger than or equal to . Scenario (ii): the first symbols and the last symbols form the first and second parts, respectively. The symmetric structures of symbols are shown in Figure 3.
- (2)
- The relay selects symbols from symbols. In scenario (i), we select more symbols in the first part. Specifically, symbols are randomly chosen in the first part and symbols are fixedly chosen in the second part, which generates cases. In scenario (ii), more symbols are chosen in the second part. Specifically, randomly choose symbols in the second part and fixedly choose symbols in the first part, which also generates cases.
- (3)
- Obtain the set of P selection patterns by the above process.
5.2.2. Example 2
- (1)
- Firstly divide 16 elements of into two parts, where all the 10 elements of constitute the first part and the six elements in but not in constitute the second part.
- (2)
- Select ( elements from as all roots of . (i) elements of elements are randomly selected from the first part and the remaining elements are fixedly selected from the second part. (ii) elements of elements are randomly selected from the second part and the remaining elements are fixedly selected from the first part. The process of choosing elements is listed in Table 4.
- (3)
- Obtain information symbol sequences based on (1) and (2).
- (1)
- Divide information symbols at the source into two parts. Scenario (i): the first three symbols and the last two symbols form the first and second parts, respectively. Scenario (ii): the first two symbols and the last three symbols form the first and second parts, respectively.
- (2)
- The relay selects symbols from symbols. In scenario (i), we randomly select two symbols in the first part and fixedly select one symbol in the second part. In scenario (ii), we randomly select two symbols in the second part and fixedly select one symbol in the first part.
- (3)
- The set of selection patterns is determined as
5.3. Complexity Comparisons between Two Algorithms
6. Decoding Algorithm at the Destination
7. Simulation Results
7.1. Performance Comparisons of DGRSC-STBC-SM Scheme under Various Symbol Selection Algorithms
7.2. Error Performance of DGRSC-STBC-SM and Non-Cooperative Counterpart
7.3. Performance Comparisons between DGRSC-STBC-SM Scheme and Existing Scheme
7.4. Comparisons of DGRSC-STBC-SM Scheme with Different Numbers of Receiving Antennas
8. Conclusions
Author Contributions
Funding
Institutional Review Board Statement
Informed Consent Statement
Data Availability Statement
Conflicts of Interest
References
- Guo, S.; Zhang, H.; Zhang, P.; Dang, S.; Liang, C.; Alouini, M.S. Signal Shaping for Generalized Spatial Modulation and Generalized Quadrature Spatial Modulation. IEEE Trans. Wirel. Commun. 2019, 18, 283–289. [Google Scholar] [CrossRef] [Green Version]
- Wu, Y.; Ying, H.; Jiang, X.; Hai, H. A Joint Data Mapping and Detection for High Performance Generalized Spatial Modulation. IEEE Commun. Lett. 2019, 23, 2008–2011. [Google Scholar] [CrossRef]
- Huang, K.; Xiao, Y.; Liu, L.; Li, Y.; Song, Z.; Wang, B.; Li, X. Integrated Spatial Modulation and STBC-VBLAST Design Toward Efficient MIMO Transmission. Sensors 2022, 22, 4719. [Google Scholar] [CrossRef] [PubMed]
- Feng, D.; Xu, H.; Zheng, J.; Bai, B. Nonbinary LDPC-Coded Spatial Modulation. IEEE Trans. Wirel. Commun. 2018, 17, 2786–2799. [Google Scholar] [CrossRef]
- Basar, E.; Aygolu, U.; Panayirci, E.; Poor, H.V. Space-Time Block Coded Spatial Modulation. IEEE Trans. Commun. 2011, 59, 823–832. [Google Scholar] [CrossRef]
- Ejaz, S.; Yang, F.; Xu, H. Split Labeling Diversity for Wireless Half-Duplex Relay Assisted Cooperative Communication Systems. Telecommun. Syst. 2020, 75, 437–446. [Google Scholar] [CrossRef]
- Zhao, C.; Yang, F.; Umar, R.; Mughal, S. Two-Source Asymmetric Turbo-Coded Cooperative Spatial Modulation Scheme with Code Matched Interleaver. Electronics 2020, 9, 169. [Google Scholar] [CrossRef] [Green Version]
- Mesleh, R.; Ikki, S.S. Performance Analysis of Spatial Modulation with Multiple Decode and Forward Relays. IEEE Wirel. Commun. Lett. 2019, 2, 423–426. [Google Scholar] [CrossRef]
- Hai, H.; Li, C.; Peng, Y.; Hou, J.; Jiang, X. Space-Time Block Coded Cooperative MIMO Systems. Sensors 2021, 21, 109. [Google Scholar] [CrossRef] [PubMed]
- Hu, J.; Duman, T.M. Low Density Parity Check Codes over Wireless Relay Channels. IEEE Trans. Wirel. Commun. 2007, 6, 3384–3394. [Google Scholar] [CrossRef]
- Qiu, J.; Liu, S. A Novel Concatenated Coding Scheme: RS-SC-LDPC Codes. IEEE Commun. Lett. 2020, 24, 2092–2095. [Google Scholar] [CrossRef]
- Niu, Y.; Yue, Q.; Wu, Y.; Hu, L. Hermitian Self-Dual, MDS, and Generalized Reed-Solomon Codes. IEEE Commun. Lett. 2019, 23, 781–784. [Google Scholar] [CrossRef]
- Sun, R.; Tian, Y.; Liu, J. Construction of QC-LDPC Codes Based on Generalized RS Codes with Girth Larger Than 6. In Proceedings of the International Conference on Communication Systems, Shenzhen, China, 14–16 December 2016; pp. 1–6. [Google Scholar] [CrossRef]
- Jin, L.; Xing, C. New MDS Self-Dual Codes from Generalized Reed-Solomon Codes. IEEE Trans. Inf. Theory 2017, 63, 1434–1438. [Google Scholar] [CrossRef] [Green Version]
- Chen, B.; Liu, H. New Constructions of MDS Codes with Complementary Duals. IEEE Trans. Inf. Theory 2018, 64, 5776–5782. [Google Scholar] [CrossRef] [Green Version]
- Zhao, C.; Yang, F.; Waweru, D.K. Reed-Solomon Coded Cooperative Spatial Modulation Based on Nested Construction for Wireless Communication. Radioengineering 2021, 30, 172–183. [Google Scholar] [CrossRef]
- Mughal, S.; Yang, F.; Xu, H.; Umar, R. Coded Cooperative Spatial Modulation Based on Multi-Level Construction of Polar Code. Telecommun. Syst. 2018, 70, 435–446. [Google Scholar] [CrossRef]
- Mughal, S.; Yang, F.; Xu, H.; Umar, R. Polar Coded Space-Time Block Coded Spatial Modulation Based on Plotkin’s Construction. IET Commun. 2017, 12, 237–245. [Google Scholar] [CrossRef]
- Almawgani, A.H.M.; Salleh, M.F.M. RS Coded Cooperation with Adaptive Cooperation Level Scheme over Multipath Rayleigh Fading Channel. In Proceedings of the IEEE 9th Malaysia International Conference on Communications (MICC), Kuala Lumpur, Malaysia, 14–17 December 2009; pp. 480–484. [Google Scholar] [CrossRef]
- Almawgani, A.H.M.; Salleh, M.F.M. Coded Cooperation Using Reed Solomon Codes in Slow Fading Channel. IEICE Electron. Expr. 2010, 7, 27–32. [Google Scholar] [CrossRef] [Green Version]
- Al-moliki, Y.M.; Aldhaeebi, M.A.; Almwald, G.A.; Shaobi, M.A. The Performance of RS and RSCC Coded Cooperation Systems Using Higher Order Modulation Schemes. In Proceedings of the 6th International Conference on Intelligent Systems, Modelling and Simulation, Kuala Lumpur, Malaysia, 9–11 February 2015; pp. 211–214. [Google Scholar] [CrossRef]
- Zhao, C.; Yang, F.; Chen, C.; Umar, R. Reed-Solomon Coded Cooperative Space-Time Block Coded Spatial Modulation. In Proceedings of the International Conference on Wireless Communications and Smart Grid (ICWCSG) 2021, Hangzhou, China, 13–15 August 2021. [Google Scholar] [CrossRef]
- MacWilliams, F.J.; Sloane, N.J.A. The Theory of Error-Correcting Codes, 3rd ed.; Elsevier: New York, NY, USA, 1977; ISBN 0-444-85009-0. [Google Scholar]
- Guo, P.; Yang, F.; Zhao, C.; Ullah, W. Jointly Optimized Design of Distributed Reed–Solomon Codes by Proper Selection in Relay. Telecommun. Syst. 2021, 78, 391–403. [Google Scholar] [CrossRef]
- Varshney, N.; Krishna, A.V.; Jagannatham, A.K. Selective DF Protocol for MIMO STBC Based Single/Multiple Relay Cooperative Communication: End-to-End Performance and Optimal Power Allocation. IEEE Trans. Commun. 2015, 63, 2458–2474. [Google Scholar] [CrossRef]












| Field Elements | Binary Vectors | Nt = 4, BPSK | |
|---|---|---|---|
| Active TACs | Modulated Symbols | ||
| 0 | [0, 0, 0, 0] | (1, 2) | (, 1) |
| 1 | [1, 0, 0, 0] | (2, 3) | (1, 1) |
| [0, 1, 0, 0] | (3, 4) | (1, 1) | |
| [0, 0, 1, 0] | (1, 2) | (1, 1) | |
| [0, 0, 0, 1] | (1, 2) | (1, 1) | |
| [1, 1, 0, 0] | (4, 1) | (1, 1) | |
| [0, 1, 1, 0] | (3, 4) | (1, 1) | |
| [0, 0, 1, 1] | (1, 2) | (1, 1) | |
| [1, 1, 0, 1] | (4, 1) | (1, 1) | |
| [1, 0, 1, 0] | (2, 3) | (1, 1) | |
| [0, 1, 0, 1] | (3, 4) | (1, 1) | |
| [1, 1, 1, 0] | (4, 1) | (1, 1) | |
| [0, 1, 1, 1] | (3, 4) | (. 1, 1) | |
| [1, 1, 1, 1] | (4, 1) | (1, 1) | |
| [1, 0, 1, 1] | (2, 3) | (1, 1) | |
| [1, 0, 0, 1] | (2, 3) | (1, 1) | |
| 3 | (3, 0) |
| 4 | (4, 0) |
| 5 | (5, 0) |
| 7 | (3, 4) |
| 8 | (3, 5), (4, 4) |
| 9 | (4, 5), (5, 4) |
| 10 | (5, 5) |
| 0 | 0 | 7 | 56 | |
| 0 | 0 | 7 | 49 | |
| 0 | 0 | 7 | 56 |
| wt(c) = i | J | 1st Part: 10 − i | 2nd Part: J − (10 − i) |
|---|---|---|---|
| 6 | 4 | 4 | 0 |
| 7 | 3 | 3 | 0 |
| 4 | 3 | 1 | |
| 8 | 2 | 2 | 0 |
| 3 | 2 | 1 | |
| 4 | 2 | 2 | |
| 9 | 1 | 1 | 0 |
| 2 | 1 | 1 | |
| 3 | 1 | 2 | |
| 4 | 1 | 3 | |
| 10 | 0 | 0 | 0 |
| 1 | 0 | 1 | |
| 2 | 0 | 2 | |
| 3 | 0 | 3 | |
| 4 | 0 | 4 |
| wt(|c|cj|) | (wt(c), wt(cj)) |
|---|---|
| 6 | (6, 0) |
| 7 | (7, 0) |
| 8 | (8, 0) |
| 9 | (9, 0) |
| 10 | (10,0) |
| 14 | (6, 8) |
| 15 | (6,9), (7,8) |
| 16 | (6,10), (7,9), (8,8) |
| 17 | (6,11), (7,10), (8,9), (9,8) |
| 18 | (6,12), (7,11), (8,10), (9,9),(10,8) |
| 19 | (6,13), (7,12), (8,11), (9,10), (10,9), (11,8) |
| 20 | (6,14), (7,13), (8,12), (9,11), (10,10), (11,9), (12,8) |
| 0 | 0 | 0 | 90 | |
| 0 | 0 | 15 | — | |
| 0 | 0 | 0 | 90 | |
| 0 | 0 | 0 | 90 | |
| 0 | 0 | 0 | 60 | |
| 0 | 0 | 0 | 9 | |
| 0 | 0 | 0 | 10 |
| Parameters | Algorithm 1 | Algorithm 2 | Percentage Reduction, % |
|---|---|---|---|
| 104,960 | 46,400 | 56 | |
| 1,667,235,840 | 704,161,440 | 58 |
| Cases | Parameter Vectors | |
|---|---|---|
| 1 | ||
| 2 | ||
| 3 |
| Parameters | Specification |
|---|---|
| Source coding | |
| Relay coding | |
| Effective code rate of destination | 1/4, 19/50, 51/126 |
| Channel model | Slow Rayleigh fading channel |
| MIMO configuration | STBC-SM: , 4, 5, 6 , 4-QAM, , 4-QAM, , 6 , 16-QAM, , 6 |
| MIMO detection | Maximum likelihood (ML) detection |
| GRS decoding algorithm | Euclidean decoding algorithm |
| Cases | ||
|---|---|---|
| 1 | [2, 3, 4] | [1, 3, 4] |
| 2 | —— | [5, 8, 9, 10, 12, 13, 14, 15, 17, 18] |
| 3 | —— | [0, 1, 2, 3, 4, 5, 6, 11, 12, 13, 16, 18, 19, 22, 24, 25, 26, 27, 29, 31, 33, 34, 35, 40, 42, 44, 45, 47, 48, 49, 50] |
Publisher’s Note: MDPI stays neutral with regard to jurisdictional claims in published maps and institutional affiliations. |
© 2022 by the authors. Licensee MDPI, Basel, Switzerland. This article is an open access article distributed under the terms and conditions of the Creative Commons Attribution (CC BY) license (https://creativecommons.org/licenses/by/4.0/).
Share and Cite
Zhao, C.; Yang, F.; Waweru, D.K.; Chen, C.; Xu, H. Optimized Distributed Generalized Reed-Solomon Coding with Space-Time Block Coded Spatial Modulation. Sensors 2022, 22, 6305. https://doi.org/10.3390/s22166305
Zhao C, Yang F, Waweru DK, Chen C, Xu H. Optimized Distributed Generalized Reed-Solomon Coding with Space-Time Block Coded Spatial Modulation. Sensors. 2022; 22(16):6305. https://doi.org/10.3390/s22166305
Chicago/Turabian StyleZhao, Chunli, Fengfan Yang, Daniel Kariuki Waweru, Chen Chen, and Hongjun Xu. 2022. "Optimized Distributed Generalized Reed-Solomon Coding with Space-Time Block Coded Spatial Modulation" Sensors 22, no. 16: 6305. https://doi.org/10.3390/s22166305
APA StyleZhao, C., Yang, F., Waweru, D. K., Chen, C., & Xu, H. (2022). Optimized Distributed Generalized Reed-Solomon Coding with Space-Time Block Coded Spatial Modulation. Sensors, 22(16), 6305. https://doi.org/10.3390/s22166305

