A 10-Bit 400-KS/s Low Noise Asynchronous SAR ADC with Dual-Domain Comparator for Input-Referred Noise Reduction †
Abstract
:1. Introduction
2. Design
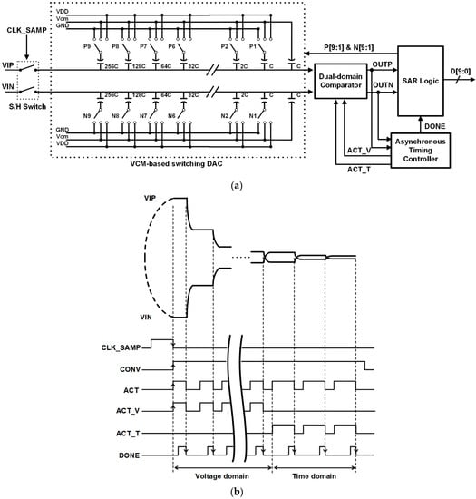
2.1. The Proposed SAR ADC
2.2. Dual-Domain Comparator
2.3. Trade-Off
2.4. Asynchronous Timing Controller
3. Measurement Results
4. Conclusions
Author Contributions
Funding
Institutional Review Board Statement
Informed Consent Statement
Data Availability Statement
Acknowledgments
Conflicts of Interest
References
- Choi, C.; Lee, J.-W. An 11.8-fJ/Conversion-Step Noise Shaping SAR ADC with Embedded Passive Gain for Energy-Efficient IoT Sensors. Sensors 2022, 22, 869. [Google Scholar] [CrossRef] [PubMed]
- Ro, D.; Um, M.; Lee, H.-M. A Soft-Error-Tolerant SAR ADC with Dual-Capacitor Sample-and-Hold Control for Sensor Systems. Sensors 2021, 21, 4768. [Google Scholar] [CrossRef] [PubMed]
- Yang, Y.; Zhou, J.; Liu, X.; Goh, W.L. A 10-Bit 300 kS/s Reference-Voltage Regulator Free SAR ADC for Wireless-Powered Implantable Medical Devices. Sensors 2018, 18, 2131. [Google Scholar] [CrossRef] [PubMed]
- Seong, K.; Jung, D.-K.; Yoon, D.-H.; Han, J.-S.; Kim, J.-E.; Kim, T.T.-H.; Lee, W.; Baek, K.-H. Time-interleaved SAR ADC withbackground timing-skew calibration for UWB wireless communication in IoT systems. Sensors 2020, 20, 2430. [Google Scholar] [CrossRef] [PubMed]
- Liang, Y.; Li, C.; Liu, S.; Zhu, Z. A 14-b 20-MS/s 78.8 dB-SNDR Energy-Efficient SAR ADC with Background Mismatch Calibration and Noise-Reduction Techniques for Portable Medical Ultrasound Systems. IEEE Trans. Biomed. Circuits Syst. 2022, 16, 200–210. [Google Scholar] [CrossRef] [PubMed]
- Li, Y.; Zhao, Y.; Zhao, Y.; Ye, M. A 12.1bit-ENOB noise shaping SAR ADC for biosensor applications. Microelectron. J. 2021, 118, 105292. [Google Scholar] [CrossRef]
- Yi, P.; Liang, Y.; Liu, S.; Xu, N.; Fang, L.; Hao, Y. A 625 kHz-BW, 79.3dB-SNDR Second-Order Noise-Shaping SAR ADC Using High-Efficiency Error-Feedback Structure. IEEE Trans. Circuits Syst. II Exp. Brief. 2022, 69, 859–886. [Google Scholar] [CrossRef]
- Harpe, P.; Cantatore, E.; Roermund, A. A 2.2/2.7fJ/conversion-step 10/12b 40kS/s SAR ADC with Data-Driven Noise Reduction. In Proceedings of the 2013 IEEE International Solid-State Circuits Conference (ISSCC), San Francisco, CA, USA, 17–21 February 2013. [Google Scholar]
- Lee, S.-K.; Park, S.-J.; Park, H.-J.; Sim, J.-Y. A 21 fJ/conversion-step 100 KS/s 10-bit ADC with a low-noise time-domain comparator for low-power sensor interface. IEEE J. Solid-State Circuits 2011, 46, 651–659. [Google Scholar] [CrossRef]
- Hsieh, S.-E.; Kao, C.-C.; Hsieh, C.-C. A 0.5-V 12-bit SAR ADC Using Adaptive Time-Domain Comparator With Noise Optimization. IEEE J. Solid-State Circuits 2018, 53, 2763–2771. [Google Scholar] [CrossRef]
- Nguyen, V.; Schembari, F.; Staszewski, R. A Deep-Subthreshold Variation-Aware 0.2-V Open-Loop VCO-Based ADC. IEEE J. Solid-State Circuits 2022, 57, 1684–1699. [Google Scholar]
- Tong, X.; Jin, X.; Zhang, C.; Xin, X.; Dong, S.; Li, Q. A 0.6-V 12-bit 13.2-fJ/conversion-step SAR ADC with time-domain VCDL-based comparator and metastability immunity technique. Microelectron. J. 2022, 122, 105406. [Google Scholar] [CrossRef]
- Tannirkulam-Chandrasekaran, S.; Bhanushali, S.P.; Pietri, S.; Sanyal, A. OTA-Free 1–1 MASH ADC Using Fully Passive Noise-Shaping SAR & VCO ADC. IEEE J. Solid-State Circuits 2022, 57, 1100–1111. [Google Scholar]
- Zhu, Y.; Chan, C.H.; Chio, U.F.; Sin, S.W.; Seng-Pan, U.; Martins, R.P.; Maloberti, F. A 10-bit 100-MS/s Reference-Free SAR ADC in 90 nm CMOS. IEEE J. Solid-State Circuits 2010, 45, 1111–1121. [Google Scholar] [CrossRef]
- Schinkel, D.; Mensink, E.; Klumperink, E.; Tuijl, E.; Nauta, B. A double-tail latch-type voltage sense amplifier with 18ps Setup+Hold time. In Proceedings of the 2007 IEEE International Solid-State Circuits Conference (ISSCC), San Francisco, CA, USA, 11–15 February 2007. [Google Scholar]
- Babayan-Mashhadi, S.; Lotfi, R. Analysis and Design of a Low-Voltage Low-Power Double-Tail Comparator. IEEE Trans. Very Large Scale Integr. (VLSI) Syst. 2014, 22, 343–352. [Google Scholar] [CrossRef]
- Zhang, H.; Zhang, H.; Sun, Q.; Li, J.; Liu, X.; Zhang, R. A 0.6-V 10-bit 200-kS/s SAR ADC with higher side-reset-and-set switching scheme and hybrid CAP-MOS DAC. IEEE Trans. Circuits Syst. I Reg. Pap. 2018, 65, 3639–3650. [Google Scholar] [CrossRef]
- Zhang, H.; Zhang, H.; Song, Y.; Zhang, R. A 10-Bit 200-kS/s 1.76-μW SAR ADC With Hybrid CAP-MOS DAC for Energy-Limited Applications. IEEE Trans. Circuits Syst. I Reg. Pap. 2019, 66, 1716–1727. [Google Scholar] [CrossRef]
- Song, Y.; Xue, Z.; Xie, Y.; Fan, S.; Geng, L. A 0.6-V 10-bit 200-kS/s Fully Differential SAR ADC With Incremental Converting Algorithm for Energy Efficient Applications. IEEE Trans. Circuits Syst. I: Reg. Pap. 2016, 63, 449–458. [Google Scholar] [CrossRef]
- Yaul, F.M.; Chandrakasan, A.P. A 10b 0.6nW SAR ADC with data-dependent energy savings using LSB-first successive approximation. In Proceedings of the 2013 IEEE International Solid-State Circuits Conference (ISSCC), San Francisco, CA, USA, 9–13 February 2014. [Google Scholar]


















| [9] | [17] | [18] | [19] | [20] | This Work | |
|---|---|---|---|---|---|---|
| Technology (nm) | 180 | 180 | 180 | 180 | 180 | 180 |
| Comparator type | VCDL | Dynamic | Dynamic | Dynamic | Dynamic | Dynamic/VCDL |
| Supply (V) | 0.6 | 0.6 | 0.6 | 0.6 | 1.0 | 0.6 |
| Resolution | 10 | 10 | 10 | 10 | 10 | 10 |
| Sampling Rate (kS/s) | 100 | 200 | 200 | 200 | 50 | 400 |
| DNL(LSB) | +0.40/−0.70 | +0.30/−0.32 | +0.27/−0.21 | +0.29/−0.26 | +0.1/−0.1 | +0.47/−0.53 |
| INL (LSB) | +0.8/−0.70 | +0.38/−0.56 | +0.43/−0.45 | +0.36/−0.80 | +0.22/−0.14 | +0.92/−0.64 |
| SFDR (dB) | 67.0 | 71.0 | 68.56 | 72.27 | 80.8 | 67.74 |
| SNDR (dB) | 57.7 | 56.43 | 56.91 | 57.86 | 60.4 | 56.89 |
| ENOB (bits) | 9.3 | 9.08 | 9.16 | 9.3 | 9.82 | 9.16 |
| Power (μW) | 1.3 | 1.01 | 1.76 | 2.01 | 13.0 | 2.36 |
| FoM (fJ/conv.) | 21.0 | 9.32 | 15.38 | 15.51 | 35.0 | 10.31 |
Publisher’s Note: MDPI stays neutral with regard to jurisdictional claims in published maps and institutional affiliations. |
© 2022 by the authors. Licensee MDPI, Basel, Switzerland. This article is an open access article distributed under the terms and conditions of the Creative Commons Attribution (CC BY) license (https://creativecommons.org/licenses/by/4.0/).
Share and Cite
Lee, S.-H.; Lee, W.-Y. A 10-Bit 400-KS/s Low Noise Asynchronous SAR ADC with Dual-Domain Comparator for Input-Referred Noise Reduction. Sensors 2022, 22, 6078. https://doi.org/10.3390/s22166078
Lee S-H, Lee W-Y. A 10-Bit 400-KS/s Low Noise Asynchronous SAR ADC with Dual-Domain Comparator for Input-Referred Noise Reduction. Sensors. 2022; 22(16):6078. https://doi.org/10.3390/s22166078
Chicago/Turabian StyleLee, Sang-Hun, and Won-Young Lee. 2022. "A 10-Bit 400-KS/s Low Noise Asynchronous SAR ADC with Dual-Domain Comparator for Input-Referred Noise Reduction" Sensors 22, no. 16: 6078. https://doi.org/10.3390/s22166078
APA StyleLee, S.-H., & Lee, W.-Y. (2022). A 10-Bit 400-KS/s Low Noise Asynchronous SAR ADC with Dual-Domain Comparator for Input-Referred Noise Reduction. Sensors, 22(16), 6078. https://doi.org/10.3390/s22166078

