Analysis of the Ordinary and Extraordinary Ionospheric Modes for NVIS Digital Communications Channels
Abstract
:1. Introduction
2. The Ionosphere and Polarization Diversity
3. Sounding System
3.1. System Description
- Antennas: At the transmitter site, an inverted vee (V-) antenna was used, which was placed in La Salle URL in Barcelona. At the receiver side in Cambrils, two orthogonal inverted-V antennas were located. Figure 3 displays a graphical representation of the orthogonal antennas located in Cambrils. The frequency is currently set to 5.4 MHz, a value based on ionogram studies [25]. The height of the antennas is 14.5 m and the length of their legs is 14 m.
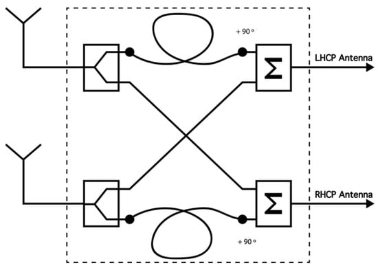
- Phasing Network: The two perpendicular inverted vee antennas worked together with a phasing network (PN; in Figure 2), which was in charge of shifting the phase of one of the two receiver antennas to make it possible to receive different and orthogonal polarizations [26]. The phasing network got a total of four wires, two from each antenna, as we duplicated the received signals using a radio frequency splitter (PDML-20A-100 from Merrimac Industries, Inc.). The route that both antennas followed was the same: one cable was lengthened with a quarter-wave phasing line to provide a 90° shift and connected to a radio frequency (RF) combiner (PDML-20A-100 from Merrimac Industries, Inc.), and the other feed line was directly connected to a RF combiner. The output of the PN gave us a phase difference between the inverted vee antennas of either +90° or −90°. A block diagram of the phasing network is displayed in Figure 4.
- Amplifier: In order to do the sounding an A-class amplifier was used in the transmitter side. The model chosen was the Bonn BLWA 0103-250, which achieves 250 W of maximum power with an input power of 0 dBm.
- Low-noise amplifier (LNA): The model chosen was the ZFL-500LN+, with a minimum gain of 20 dB, a frequency range between 0.05 and 500 MHz, and an operating temperature between −20 °C and 70 °C.
- Filters: We used two band-pass filters (BPF) to avoid known interferences on both sides. On the transmitter side, we filtered the NVIS useful frequency range from 3 to 7 MHz. On the other side, we used a filter with a band pass between 4 and 6 MHz. Our system compensated for the phase delay of the BPF via software, as each data frame was corrected in both amplitude and phase before being demodulated and studied.
- GPS: A GPS was used to synchronize the transmitter and receiver in time (fundamental for the channel study performed). Time synchronization is essential to automate tests and data analysis. Our experiment had different signals sent, which depend on the minute of transmission. Thanks to the time synchronization, the transmitter knows which data file to send and the receiver tags it before saving it in order to analyze the data correctly. The transmitter and receiver were configured with extreme precision thanks to the GPS modules incorporated into the Raspberry. Furthermore, we also used PN sequences to detect the start of the received data structures and synchronize the transmitter and the receiver.
3.2. Data Frame Design
3.3. Test Scenario
4. Ionospheric Channels Analysis
5. Conclusions
Author Contributions
Funding
Institutional Review Board Statement
Informed Consent Statement
Data Availability Statement
Conflicts of Interest
References
- Davies, K. Ionospheric Radio; P. Peregrinus on Behalf of the Institution of Electrical Engineers: London, UK, 1990. [Google Scholar]
- Budden, K.G. The Propagation of Radio Waves; Cambridge University Press: Cambridge, UK, 1985. [Google Scholar]
- Watterson, C.; Juroshek, J.; Bensema, W. Experimental Confirmation of an HF Channel Model. IEEE Trans. Commun. 1970, 18, 792–803. [Google Scholar] [CrossRef]
- Recommendation ITU-R. F.1487. Testing of HF Modems with Bandwidths of up to about 12 kHz Using Ionospheric Channel Simulators; International Telecommunications Union: Geneva, Switzerland, 2000. [Google Scholar]
- Mastrangelo, J.; Lemmon, J.; Vogler, L.; Hoffmeyer, J.; Pratt, L.; Behm, C. A new wideband high frequency channel simulation system. IEEE Trans. Commun. 1997, 45, 26–34. [Google Scholar] [CrossRef]
- Wagner, L.S.; Goldstein, J.A.; Rupar, M.A.; Kennedy, E.J. Delay, Doppler, and amplitude characteristics of HF signals received over a 1300-km transauroral sky wave channel. Radio Sci. 1995, 30, 659–676. [Google Scholar] [CrossRef]
- Wagner, L.S.; Goldstein, J.A.; Meyers, W.D.; Bello, P.A. The HF skywave channel: Measured scattering functions for midlatitude and auroral channels and estimates for short-term wideband HF Rake modem performance. In Proceedings of the IEEE Military Communications Conference, “Bridging the Gap. Interoperability, Survivability, Security”, Baltimore, MD, USA, 15–18 October 1989; Volume 3, pp. 830–839. [Google Scholar] [CrossRef]
- Angling, M.J.; Cannon, P.S.; Davies, N.C.; Jodalen, V.; Lundborg, B.; Willink, T.J. Measurements of Doppler and multipath spread on oblique high-latitude HF paths and their use in characterizing data modem performance. Radio Sci. 1998, 33, 97–107. [Google Scholar] [CrossRef]
- Cannon, P.S.; Angling, M.J.; Davies, N.C.; Wilink, T.; Jodalen, V.; Jacobson, B.; Lundborg, B.; Bröms, M. Damson HF channel characterisation—A review. In Proceedings of the 21st Century Military Communications. Architectures and Technologies for Information Superiority (MILCOM 2000), New York, NY, USA, 22–25 October 2002; Volume 1, pp. 59–64. [Google Scholar] [CrossRef]
- Hervás, M.; Bergadà, P.; Alsina-Pagès, R.M. Ionospheric Narrowband and Wideband HF Soundings for Communications Purposes: A Review. Sensors 2020, 20, 2486. [Google Scholar] [CrossRef]
- Witvliet, B.A.; Van Maanen, E.; Petersen, G.J.; Westenberg, A.J.; Bentum, M.J.; Slump, C.H.; Schiphorst, R. Near Vertical Incidence Skywave Propagation: Elevation Angles and Optimum Antenna Height for Horizontal Dipole Antennas. IEEE Antennas Propag. Mag. 2015, 57, 129–146. [Google Scholar] [CrossRef]
- Porte, J.; Pijoan, J.L.; Masó, J.; Badia, D.; Zaballos, A.; Alsina-Pagès, R.M. Advanced HF Communications for Remote Sensors in Antartica. In Antarctica—A Key To Global Change, 1st ed.; IntechOpen: London, UK, 2019. [Google Scholar]
- Witvliet, B.A. Near Vertical Incidence Skywave: Interaction of Antenna and Propagation Mechanism. Ph.D. Thesis, University of Twente, Enschede, The Netherlands, 2015. [Google Scholar]
- Grisdale, G.; Morris, J.; Palmer, D. Fading of long-distance radio signals and a comparison of space- and polarization-diversity reception in the 6–18Mc/s range. Proc. IEE Part B Radio Electron. Eng. 1957, 104, 39–51. [Google Scholar] [CrossRef]
- Jorgenson, M.B.; Johnson, R.W.; Moreland, K.W.; Serinken, N.; Chow, S.; Willink, T.J. Polarization diversity for HF data transmission. In Proceedings of the 7th International Conference on High Frequency Radio Systems and Techniques, Nottingham, UK, 7–10 July 1997; pp. 105–109. [Google Scholar] [CrossRef]
- Witvliet, B.A.; Van Maanen, E.; Petersen, G.J.; Westenberg, A.J.; Bentum, M.J.; Slump, C.H.; Schiphorst, R. The importance of circular polarization for diversity reception and MIMO in NVIS propagation. In Proceedings of the 8th European Conference on Antennas and Propagation (EuCAP 2014), The Hague, The Netherlands, 6–11 April 2014; pp. 2797–2801. [Google Scholar] [CrossRef]
- Enserink, S.; Köse, C.; Fitz, M.; Urie, M.; McCourt, R. A model for dual polarized HF MIMO communications. In Proceedings of the IEEE Military Communications Conference MILCOM, San Diego, CA, USA, 29 November–2 December 2015; pp. 1650–1655. [Google Scholar] [CrossRef]
- Erhel, Y.; Lemur, D.; Oger, M.; Le Masson, J.; Marie, F. Evaluation of Ionospheric HF MIMO Channels: Two complementary circular polarizations reduce correlation. IEEE Antennas Propag. Mag. 2016, 58, 38–48. [Google Scholar] [CrossRef]
- Umaisaroh, U.; Hendrantoro, G.; Mauludiyanto, A.; Fukusako, T. Capacity of 2×2 MIMO HF NVIS Channels With Linearly Polarized Horizontal Antennas. IEEE Wirel. Commun. Lett. 2019, 8, 1120–1123. [Google Scholar] [CrossRef]
- Bergadà, P.; Alsina-Pagès, R.M.; Hervás, M. Polarization diversity in a long-haul transequatorial HF link from Antarctica to Spain. Radio Sci. 2017, 52, 105–117. [Google Scholar] [CrossRef]
- Xilinx and Inc. Zynq-7000 SoC First Generation Architecture. 2012. Available online: www.xilinx.com (accessed on 2 November 2020).
- Red Pitaya. Available online: https://www.redpitaya.com/ (accessed on 3 November 2020).
- Buy a Raspberry Pi 3 Model B+—Raspberry Pi. Available online: https://www.raspberrypi.org/products/raspberry-pi-3-model-b-plus/?resellerType=home (accessed on 4 November 2020).
- Austin, R.; Bull, P.; Buffery, S. A Raspberry Pi Based Scalable Software Defined Network Infrastructure for Disaster Relief Communication. In Proceedings of the 2017 IEEE 5th International Conference on Future Internet of Things and Cloud (FiCloud), Prague, Czech Republic, 21–23 August 2017; pp. 265–271. [Google Scholar] [CrossRef]
- Digisonde 4D, Observatori de l’Ebre. Available online: http://dgs.obsebre.es:8081/ (accessed on 27 November 2020).
- Witvliet, B.A.; Van Maanen, E.; Petersen, G.J.; Westenberg, A.J.; Bentum, M.J.; Slump, C.H.; Schiphorst, R. Measuring the Isolation of the Circularly Polarized Characteristic Waves in NVIS Propagation [Measurements Corner]. IEEE Antennas Propag. Mag. 2015, 57, 120–145. [Google Scholar] [CrossRef]
- Porte, J.; Maso, J.M.; Pijoan, J.L.; Badia, D. Sensing System for Remote Areas in Antarctica. Radio Sci. 2020, 55. [Google Scholar] [CrossRef]
- Hervás, M.; Pijoan, J.L.; Alsina-Pagès, R.M.; Salvador, M.; Altadill, D. Channel sounding and polarization diversity for the NVIS channel. In Proceedings of the Nordic HF Conference, Fårö, Sweden, 12–14 August 2013. [Google Scholar]
- Maso, J.M.; Male, J.; Porte, J.; Pijoan, J.L.; Badia, D. Ionospheric Polarization Techniques for Robust NVIS Remote Sensing Platforms. Appl. Sci. 2020, 10, 3730. [Google Scholar] [CrossRef]
- Jakes, W.C.; Cox, D.C. Microwave Mobile Communications; Wiley-IEEE Press: Hoboken, NJ, USA, 1994. [Google Scholar]
- Ads, A.G.A.M. Soundings of the Ionospheric HF Radio Link between Antarctica and Spain. Ph.D. Thesis, Universitat Ramon Llull, Barcelona, Spain, 2013. [Google Scholar]















| Modulation Order | Transmitting Power | Min |
|---|---|---|
| 2, 4, 8, 16, 32 | 3 W | 05, 06, 07, 08, 09 |
| 2, 4, 8, 16, 32 | 6 W | 15, 16, 17, 18, 19 |
| 2, 4, 8, 16, 32 | 12 W | 25, 26, 27, 28, 29 |
| 2, 4, 8, 16, 32 | 25 W | 35, 36, 37, 38, 39 |
| 2, 4, 8, 16, 32 | 50 W | 45, 46, 47, 48, 49 |
| 2, 4, 8, 16, 32 | 100 W | 55, 56, 57, 58, 59 |
| Transmitting Power | Min |
|---|---|
| 50 W | 05, 06, 07, 08, 09 |
| 15, 16, 17, 18, 19 | |
| 25, 26, 27, 28, 29 | |
| 35, 36, 37, 38, 39 | |
| 45, 46, 47, 48, 49 | |
| 55, 56, 57, 58, 59 |
| Parameter | Ordinary Wave | Extraordinary Wave | ||||
|---|---|---|---|---|---|---|
| Max | Min | Mean | Max | Min | Mean | |
| Availability (7 UTC to 16 UTC) | 74% | 30% | 57.6% | 94% | 56.67% | 72.2% |
| Delay Spread | 2.71 ms | ~0 ms | 0.33 ms | 2.89 ms | ~0 ms | 0.31 ms |
| SDR Frequency offset | −19.5 Hz | −14.5 Hz | −17.7 Hz | −19.5 Hz | −14.5 Hz | −17.7 Hz |
Publisher’s Note: MDPI stays neutral with regard to jurisdictional claims in published maps and institutional affiliations. |
© 2021 by the authors. Licensee MDPI, Basel, Switzerland. This article is an open access article distributed under the terms and conditions of the Creative Commons Attribution (CC BY) license (http://creativecommons.org/licenses/by/4.0/).
Share and Cite
Male, J.; Porte, J.; Gonzalez, T.; Maso, J.M.; Pijoan, J.L.; Badia, D. Analysis of the Ordinary and Extraordinary Ionospheric Modes for NVIS Digital Communications Channels. Sensors 2021, 21, 2210. https://doi.org/10.3390/s21062210
Male J, Porte J, Gonzalez T, Maso JM, Pijoan JL, Badia D. Analysis of the Ordinary and Extraordinary Ionospheric Modes for NVIS Digital Communications Channels. Sensors. 2021; 21(6):2210. https://doi.org/10.3390/s21062210
Chicago/Turabian StyleMale, Jordi, Joaquim Porte, Tomas Gonzalez, Josep M. Maso, Joan L. Pijoan, and David Badia. 2021. "Analysis of the Ordinary and Extraordinary Ionospheric Modes for NVIS Digital Communications Channels" Sensors 21, no. 6: 2210. https://doi.org/10.3390/s21062210
APA StyleMale, J., Porte, J., Gonzalez, T., Maso, J. M., Pijoan, J. L., & Badia, D. (2021). Analysis of the Ordinary and Extraordinary Ionospheric Modes for NVIS Digital Communications Channels. Sensors, 21(6), 2210. https://doi.org/10.3390/s21062210

