The Concept of the Constructional Solution of the Working Section of a Robot for Harvesting Strawberries †
Abstract
1. Introduction
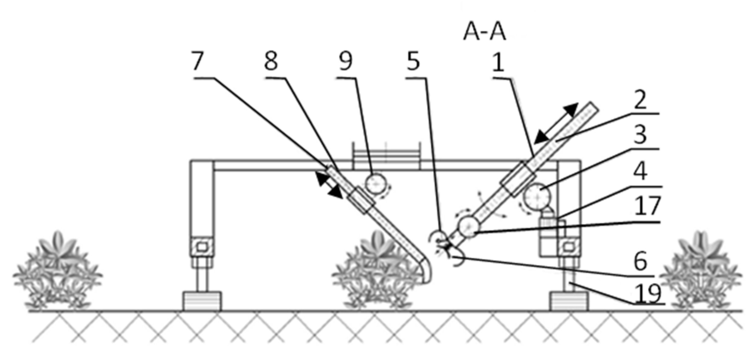
2. Design Concept of the Working Section of the Strawberry Fruit Harvester
- the working section can be used in autonomous or non-autonomous harvesters;
- the work (pick) efficiency of the working section will be comparable or higher in relation to the harvesting efficiency of a human (approx. 7 kg· h−1);
- the quality of picked fruit, determined by limiting the occurrence of mechanical damage, will be high;
- contamination of the picked fruit crop with parts of the plant or substrate, e.g., broken leaves, unripe fruit, used mulch, or soil, will be limited.
Searching for Optimal Solutions Using the Morphological Table Method
- collecting head—a gripping unit with a chamber capacity greater than the volume of the fruit, assisted by a vacuum gripper,
- fruit detection support unit—finger comb that works periodically,
- manipulator arm assembly—manipulator arm assembly equipped with articulated and linear displacement mechanisms,
- conveyor unit—belt conveyor for transporting fruit,
- running gear—a tracked traction unit telescopically connected to the frame.
3. Hardware and IT System
4. Cognitive Vision System of the Robot
- (a)
- As has been mentioned, strawberry visual detection and analysis has its own specifics. The module is planned to realise two tasks:
- (b)
- Detection and analysis of the fruit quality on the basis of the colour and texture analysis;
- (c)
- Analysis of mechanical damage on the basis of the fruit contour analysis.
5. The Described System and An Autonomous Robot
- 1
- Scene analysis module;
- 2
- Anti-collision module detecting humans and animals (similar as described earlier);
- 3
- Fruit detection and quality rating module.
5.1. Scene Analysis Module
- (a)
- Creation of two-dimensional projections of single objects;
- (b)
- Creation of three-dimensional representations of single objects;
- (c)
- Creation of representations of spatial relations among the objects;
- (d)
- Constructing a three-dimensional representation of the scene;
- (e)
- Scene analysis, including the environment “understanding” in the context of the realised task.
5.2. Anti-Collision Module Detecting Humans and Animals
6. Summary
- combers, the effect of which will be to expose (reveal) fruits located in the inner parts of the bush;
- suction cups enabling the extraction of fruit from the bush habitat to such a position that the fruit can be picked up (picked) non-invasively by the jaws of the head;
- vision system identification sensors in the heads, which will contribute to the improvement of the effectiveness of head manipulation in the fruit grasping operation, and thus shorten the operation time.
Author Contributions
Funding
Institutional Review Board Statement
Informed Consent Statement
Data Availability Statement
Acknowledgments
Conflicts of Interest
References
- Marinoudi, V.; Sørensen, C.G.; Pearson, S.; Bochtis, D. Robotics and labour in agriculture. A context consideration. Biosyst. Eng. 2019, 184, 111–121. [Google Scholar] [CrossRef]
- Pedersen, S.M.; Fountas, S.; Have, H.; Blackmore, B.S. Agricultural robots—System analysis and economic feasibility. Precis. Agric. 2006, 7, 295–308. [Google Scholar] [CrossRef]
- Pedersen, S.M.; Fountas, S.; Sørensen, C.G.; Van Evert, F.K.; Blackmore, B.S. Robotic seeding: Economic perspectives. In Precision Agriculture: Technology and Economic Perspectives; Pedersen, S.M., Lind, K.M., Eds.; Springer International Publishing: Cham, Switzerland, 2017; pp. 167–179. ISBN 978-3-319-68715-5. [Google Scholar]
- Blackmore, B.S.; Fountas, S.; Gemtos, T.A.; Griepentrog, H.W. A specification for an autonomous crop production mechanization system. In Proceedings of the International Symposium on Application of Precision Agriculture for Fruits and Vegetables, Orlando, FL, USA, 1 April 2009; Volume 824, pp. 201–216. [Google Scholar]
- Reina, G.; Milella, A.; Galati, R. Terrain assessment for precision agriculture using vehicle dynamic modelling. Biosyst. Eng. 2017, 162, 124–139. [Google Scholar] [CrossRef]
- Fernandes, H.R.; Garcia, A.P. Design and control of an active suspension system for unmanned agricultural vehicles for field operations. Biosyst. Eng. 2018, 174, 107–114. [Google Scholar] [CrossRef]
- Bochtis, D.D.; Vougioukas, S.G.; Griepentrog, H.W. A mission planner for an autonomous tractor. Trans. ASABE 2009, 52, 1429–1440. [Google Scholar] [CrossRef]
- Bochtis, D.; Griepentrog, H.W.; Vougioukas, S.; Busato, P.; Berruto, R.; Zhou, K. Route planning for orchard operations. Comput. Electron. Agric. 2015, 113, 51–60. [Google Scholar] [CrossRef]
- Yang, L.; Noguchi, N. Human detection for a robot tractor using omni-directional stereo vision. Comput. Electron. Agric. 2012, 89, 116–125. [Google Scholar] [CrossRef]
- Zhang, C.; Noguchi, N.; Yang, L. Leader-follower system using two robot tractors to improve work e ciency. Comput. Electron. Agric. 2016, 121, 269–281. [Google Scholar] [CrossRef]
- Hayashi, S.; Yamamoto, S.; Tsubota, S.; Ochiai, Y.; Kobayashi, K.; Kamata, J.; Kurita, M.; Inazumi, H.; Peter, R. Automation technologies for strawberry harvesting and packing operations in Japan. J. Berry Res. 2014, 4, 19–27. [Google Scholar] [CrossRef]
- Feng, Q.; Zheng, W.; Qiu, Q.; Jiang, K.; Guo, R. Study on strawberry robotic harvesting system. In Proceedings of the CSAE 2012 IEEE International Conference on Computer Science and Automation Engineering, Zhangjiajie, China, 25–27 May 2012; Volume 1, pp. 320–324. [Google Scholar]
- Qingchun, F.; Xiu, W.; Wengang, Z.; Quan, Q.; Kai, J. New strawberry harvesting robot for elevated-trough culture. Int. J. Agric. Biol. Eng. 2012, 5, 1–8. [Google Scholar]
- Samtani, J.B.; Rom, C.R.; Friedrich, H.; Fennimore, S.A.; Finn, C.E.; Petran, A.; Wallace, R.W.; Pritts, M.P.; Fernandez, G.; Chase, C.A.; et al. The status and future of the strawberry industry in the United States. HortTechnology 2019, 29, 11–24. [Google Scholar] [CrossRef]
- Yamamoto, S.; Hayashi, S.; Yoshida, H.; Kobayashi, K. Development of a stationary robotic strawberry harvester with a picking mechanism that approaches the target fruit from below. Jpn. Agric. Res. Q. 2014, 48, 261–269. [Google Scholar] [CrossRef]
- Karst, T.; Automation Advancing on Strawberry Fields. The Packer. 2018. Available online: https://www.thepacker.com/article/automation-advancing-strawberry-fields (accessed on 20 February 2021).
- Bac, C.W.; Henten, E.J.; Hemming, J.; Edan, Y. Harvesting robots for high-value crops: State-of-the-art review and challenges ahead. J. Field Robot. 2014, 31, 888–911. [Google Scholar] [CrossRef]
- Barnea, E.; Mairon, R.; Ben-Shahar, O. Colour-agnostic shape-based 3D fruit detection for crop harvesting robots. Biosyst. Eng. 2016, 146, 57–70. [Google Scholar] [CrossRef]
- Barth, R.; Hemming, J.; Henten, E.J. Design of an eye-in-hand sensing and servo control framework for harvesting robotics in dense vegetation. Biosyst. Eng. 2016, 146, 71–84. [Google Scholar] [CrossRef]
- Eizicovits, D.; Tuijl, B.; Berman, S.; Edan, Y. Integration of perception capabilities in gripper design using graspability maps. Biosyst. Eng. 2016, 146, 98–113. [Google Scholar] [CrossRef]
- Font, D.; Pallejà, T.; Tresanchez, M.; Runcan, D.; Moreno, J.; Martínez, D.; Teixidó, M.; Palacín, J. A proposal for automatic fruit harvesting by combining a low cost stereovision camera and a robotic arm. Sensors 2014, 14, 11557–11579. [Google Scholar] [CrossRef]
- Rath, T.; Kawollek, M. Robotic harvesting of Gerbera Jamesonii based on detection and three-dimensional modeling of cut flower pedicels. Comput. Electron. Agric. 2009, 66, 85–92. [Google Scholar] [CrossRef]
- Dimeas, F.; Sako, D.V.; Moulianitis, V.C.; Aspragathos, N.A. Design and fuzzy control of a robotic gripper for efficient strawberry harvesting. Robotica 2015, 33, 1085–1098. [Google Scholar] [CrossRef]
- Hayashi, S.; Shigematsu, K.; Yamamoto, S.; Kobayashi, K.; Kohno, Y.; Kamata, J.; Kurita, M. Evaluation of a strawberry-harvesting robot in a field test. Biosyst. Eng. 2010, 105, 160–171. [Google Scholar] [CrossRef]
- Chiu, Y.C.; Yang, P.Y.; Chen, S. Development of the endeffector of a picking robot for greenhouse-grown tomatoes. Appl. Eng. Agric. 2013, 29, 1001–1009. [Google Scholar]
- Xiong, Y.; Peng, C.; Grimstad, L.; From, P.J.; Isler, V. Development and field evaluation of a strawberry harvesting robot with a cable-driven gripper. Comput. Electron. Agric. 2019, 157, 392–402. [Google Scholar] [CrossRef]
- Kurpaska, S.; Sobol, Z.; Pedryc, N.; Hebda, T.; Nawara, P. Analysis of the pneumatic system parameters of the suction cup integrated with the head for harvesting strawberry fruit. Sensors 2020, 20, 4389. [Google Scholar] [CrossRef] [PubMed]
- De Preter, A.; Anthonis, J.; De Baerdemaeker, J. Development of a Robot for Harvesting Strawberries. IFAC Pap. 2018, 51, 14–19. [Google Scholar] [CrossRef]
- Sa, I.; Lehnert, C.; English, A.; McCool, C.; Dayoub, F.; Upcroft, B.; Perez, T. Peduncle detection of sweet pepper for autonomous crop harvesting Combined Color and 3-D Information. IEEE Robot. Autom. Lett. 2017, 2, 765–772. [Google Scholar] [CrossRef]
- Huang, Z.; Wane, S.; Parsons, S. Towards automated strawberry harvesting: Identifying the picking point. In Conference towards Autonomous Robotic Systems; Springer: Cham, Switzerland, 2017; pp. 222–236. [Google Scholar]
- Shiigi, T.; Kurita, M.; Kondo, N.; Ninomiya, K.; Rajendra, P.; Kamata, J.; Hayashi, S.; Kobayashi, K.; Shigematsu, K.; Kohno, Y. Strawberry harvesting robot for fruits grown on table top culture. In Proceedings of the 2008 ASABE Annual International Meeting, Providence, RI, USA, 29 June–2 July 2008. Paper Number: 460840. [Google Scholar]
- Arima, S.; Kondo, N.; Monta, M. Strawberry harvesting robot on table-top culture. In Proceedings of the 2004 ASABE/CSAE Annual International Meeting, Ottawa, ON, Canada, 1–4 August 2004. Paper Number: 890430. [Google Scholar]
- Kondo, N.; Ninomiya, K.; Hayashi, S.; Ota, T.; Kubota, K. A New Challenge of robot for harvesting strawberry grown on table top culture. In Proceedings of the 2005 ASABE Annual International Meeting, Tampa, FL, USA, 17–20 July 2005. Paper Number: 380531. [Google Scholar]
- Jiang, H.Y.; Peng, Y.S.; Ying, Y.B. Measurement of 3-D locations of ripe tomato by binocular stereo vision for tomato harvesting. In Proceedings of the ASABE Annual International Meeting, Providence, RI, USA, 29 June–2 July 2008. Paper Number: 800848. [Google Scholar]
- Tarrio, P.; Bernardos, A.M.; Casar, J.R.; Besada, J.A. A harvesting robot for small fruit in bunches based on 3-D stereoscopic vision. In Proceedings of the ASABE, Orlando, FL, USA, 23–25 July 2006; Publication Number 701P. 0606. [Google Scholar]
- Van Henten, E.J.; Van Tuijl, B.A.J.; Hemming, J.; Kornet, J.G.; Bontsema, J.; Van Os, E.A. Field test of an autonomous cucumber picking robot. Biosyst. Eng. 2003, 86, 305–313. [Google Scholar] [CrossRef]
- Nguyen, T.T.; Vandevoorde, K.; Wouters, N.; Kayacan, E.; Baerdemaeker, J.; Wouter, S. Detection of red and bicoloured apples on tree with an RGB-D Camera. Biosyst. Eng. 2016, 146, 33–44. [Google Scholar] [CrossRef]
- Xu, L.M. Study on Strawberry Harvesting System. Ph.D. Thesis, Agricultural University, Beijing, China, 2006. (In Chinese with English Abstract). [Google Scholar]
- Chen, L.B. Study on Picking System for Strawberry Harvesting Robots. Ph.D. Thesis, Agricultural University, Beijing, China, 2005. (In Chinese with English Abstract). [Google Scholar]
- Zhang, K.L.; Yang, L.; Zhang, T.Z. Design of an end-effector for strawberry harvesting robot. J. Agric. Mech. Res. 2009, 4, 54–56, (In Chinese with English Abstract). [Google Scholar]
- Xie, Z.Y.; Zhang, T.Z.; Zhao, J.Y. Ripened strawberry recognition based on hough transform. Trans. Chin. Soc. Agric. Mach. 2007, 38, 106–109, (In Chinese with English Abstract). [Google Scholar]
- Xiong, Y.; From, P.J.; Isler, V. Design and evaluation of a novel cable-driven gripper with perception capabilities for strawberry picking robots. In Proceedings of the IEEE International Conference on Robotics and Automation (ICRA), Brisbane, Australia, 21–25 May 2018. [Google Scholar] [CrossRef]
- The Patent Office of the Republic of Poland. Sobol Zygmunt, Baran Dariusz, Nawara Piotr, Kurpaska Sławomir: Strawberry Fruit Harvesting Harvester Working Section; Utility Model, W.128367; The Patent Office of the Republic of Poland: Warsaw, Poland, Application accepted at the office in 2019. (In Polish)
- Bielecki, A.; Śmigielski, P. Graph representation for two-dimensional scene understanding by the cognitive vision module. Int. J. Adv. Robot. Syst. 2017, 14. [Google Scholar] [CrossRef]
- Silwal, A.; Davidson, J.R.; Karkee, M.; Mo, C.; Zhang, Q.; Lewis, K. Design, integration and field evaluation of a robotic apple harvester. J. Field Robot. 2016, 34, 1140–1159. [Google Scholar]
- Wang, G.; Yu, Y.; Feng, Q. Design of End-effector for Tomato Robotic Harvesting. IFAC Pap. Line 2016, 49, 190–193. [Google Scholar] [CrossRef]
- Senthilanth, J.; Dokania, A.; Anand, G.; Kandukuri, M.; Ramesh, K.N.; Omkar, S.N. Detection of tomatoes using spectral-spatial methods in remotely sensed RGB images captured by UAV. Biosyst. Eng. 2016, 146, 16–32. [Google Scholar] [CrossRef]
- Vitzrabin, E.; Edan, Y. Adaptive thresholding with fusion using a RGBD sensor for red sweet-pepper detection. Biosyst. Eng. 2016, 146, 45–56. [Google Scholar] [CrossRef]
- Habaragamuwa, H.; Ogawa, Y.; Suzuki, T.; Shiigi, T.; Ono, M.; Kondo, N. Detecting greenhouse strawberries (mature and immature), using deep convolutional neural network. Eng. Agric. Environ. Food 2018, 11, 127–138. [Google Scholar] [CrossRef]
- Habrat, M.; Młynarczuk, M. The evaluation of texture parameters used in geological images analysis. In Proceedings of the 17th Annual Conference of the International Association for Mathematical Geosciences IAMG’2015, Freiberg, Germany, 5–13 September 2015. [Google Scholar]
- Habrat, M.; Młynarczuk, M. Object retrieval in microscopic images of rocks using the query by sketch method. Appl. Sci. 2020, 10, 278. [Google Scholar] [CrossRef]
- Bielecka, M.; Skomorowski, M.; Bielecki, A. Fuzzy-syntactic approach to pattern recognition and scene analysis. In Proceedings of the Fourth International Conference on Informatics in Control, Automation and Robotics, Angers, France, 9–12 May 2007; pp. 29–35. [Google Scholar] [CrossRef]
- Bielecka, M.; Obuchowicz, R.; Korkosz, M. The shape language in application to the diagnosis of cervical vertebrae pathology. PLoS ONE 2018, 13, e0204546. [Google Scholar] [CrossRef] [PubMed]
- Bielecka, M. Syntactic-geometric-fuzzy hierarchical classifier of contours with application to analysis of bone contours in X-ray images. Appl. Soft Comput. 2018, 69, 368–380. [Google Scholar] [CrossRef]
- Bielecki, A.; Buratowski, T.; Śmigielski, P. Recognition of two-dimensional representation of urban environment for autonomous flying agents. Expert Syst. Appl. 2013, 40, 3623–3633. [Google Scholar] [CrossRef]
- Skulimowski, A.M.J. Anticipatory control of vehicle swarms with virtual supervision. In Lecture Notes in Computer Science; Hsu, C.-H., Wang, S., Zhou, A., Shawkat, A., Eds.; IOV 2016; Springer: Cham, Switzerland, 2016; Volume 10036, pp. 65–81. [Google Scholar] [CrossRef]
- Skulimowski, A.M.J.; Ćwik, A. Communication quality in anticipatory vehicle swarms: A simulation-based model. In Lecture Notes in Computer Science; Peng, S.L., Lee, G.L., Klette, R., Hsu, C.H., Eds.; Internet of Vehicles. Technologies and Services for Smart Cities IOV 2017; Springer: Cham, Switzerland, 2017; Volume 10689. [Google Scholar] [CrossRef]











| Features of the Technical System | Variants of Solutions (Short Description) | ||||
|---|---|---|---|---|---|
| I | II | III | IV | V | |
| F1—collecting head | Scissor unit [24] | Gripper and finger unit with adjustable gripping force [23] | A gripping unit with a chamber capacity greater than that of the fruit, controlled by lines [26] | Suction cup and suction cup working with the knife [24] | Gripping unit with a chamber capacity greater than the fruit volume, assisted by a vacuum gripper |
| xxx | |||||
| F2—fruit detection unit | The system of nozzles working under positive pressure | A system of nozzles working under negative pressure | A finger comb that works cyclically | Rotary comb | ---- |
| xxx | |||||
| F3—manipulator arm assembly | Assembly equipped with articulated mechanisms only | The unit is equipped with articulated and linear displacement mechanisms | --- | --- | --- |
| xxx | |||||
| F4—conveyor unit | Scraper conveyor | Conveyor belt | Screw conveyor | --- | --- |
| xxx | |||||
| F5—running gear | A wheeled trainset rigidly connected to the frame | Tracked traction unit rigidly connected to the frame | A wheeled trainset unit telescoped to the frame | Tracked traction unit telescopically connected to the frame | --- |
| xxx | |||||
| Criteria for evaluation of design features: | 40 |
| 1. Simplicity of construction; | 8 |
| 2. The compactness of the structure; | 12 |
| 3. Work reliability, taking into account the influence of the working environment; | 10 |
| 4. Reliability. | 10 |
| Work technology assessment criteria: | 40 |
| 1. Speed of the performed operation (vibration damping *); | 10 |
| 2. Not generating mechanical damage to the fruit crop; | 13 |
| 3. Not generating contamination of the fruit yield; | 10 |
| 4. Low requirements for cooperation with the vision system. | 7 |
| Periodic maintenance evaluation criteria: | 10 |
| 1. Ease of repair; | 5 |
| 2. Self-diagnosis possible. | 5 |
| Economic evaluation criteria: | 10 |
| 1. Low operating costs; | 5 |
| 2. Low repair costs. | 5 |
| Specification | Criteria for Evaluating Design Features | Work Technology Assessment Criteria | Periodic Maintenance Evaluation Criteria | Economic Evaluation Criteria | The Sum of the Products of Weights and Grades | ||||||||||
|---|---|---|---|---|---|---|---|---|---|---|---|---|---|---|---|
| Nr Criteria | 1 | 2 | 3 | 4 | 1 | 2 | 3 | 4 | 1 | 2 | 1 | 2 | |||
| Scales | 8 | 12 | 10 | 10 | 10 | 13 | 10 | 10 | 5 | 5 | 5 | 5 | |||
| Assessment of solutions | F1 | I | 7 | 10 | 5 | 8 | 5 | 8 | 4 | 3 | 4 | 4 | 4 | 4 | 610 |
| II | 3 | 8 | 4 | 7 | 6 | 5 | 4 | 6 | 4 | 4 | 4 | 4 | 535 | ||
| III | 6 | 7 | 4 | 8 | 5 | 6 | 5 | 5 | 4 | 4 | 4 | 4 | 560 | ||
| IV | 6 | 8 | 6 | 8 | 7 | 9 | 6 | 7 | 4 | 4 | 4 | 4 | 681 | ||
| V | 5 | 7 | 9 | 8 | 8 | 10 | 10 | 9 | 3 | 4 | 4 | 3 | 764 | ||
| F2 | I | 6 | 8 | 7 | 8 | 8 | 9 | 3 | 8 | 4 | 4 | 2 | 3 | 666 | |
| II | 6 | 8 | 5 | 5 | 5 | 9 | 5 | 8 | 4 | 4 | 2 | 3 | 606 | ||
| III | 5 | 9 | 8 | 8 | 7 | 8 | 8 | 7 | 3 | 4 | 4 | 2 | 697 | ||
| IV | 5 | 7 | 6 | 6 | 7 | 5 | 6 | 8 | 3 | 4 | 4 | 3 | 589 | ||
| F3 | I | 5 | 8 | 9 | 7 | 6 | 10 | 8 | 7 | 3 | 4 | 4 | 3 | 706 | |
| II | 5 | 7 | 9 | 7 | 9 | 10 | 8 | 8 | 4 | 4 | 4 | 4 | 744 | ||
| F4 | I | 5 | 9 | 8 | 8 | 7 | 5 | 8 | 9 | 4 | 4 | 4 | 4 | 693 | |
| II | 7 | 9 | 8 | 8 | 7 | 10 | 9 | 9 | 3 | 4 | 4 | 3 | 774 | ||
| III | 6 | 9 | 8 | 8 | 7 | 5 | 8 | 9 | 4 | 4 | 4 | 4 | 701 | ||
| F5 | I | 7 | 8 | 5 | 7 | 3 | 4 | 6 | 7 | 5 | 4 | 4 | 4 | 569 | |
| II | 6 | 7 | 6 | 7 | 4 | 5 | 5 | 7 | 4 | 4 | 3 | 3 | 557 | ||
| III | 6 | 6 | 6 | 7 | 6 | 6 | 6 | 7 | 4 | 4 | 4 | 3 | 598 | ||
| IV | 5 | 6 | 9 | 8 | 9 | 7 | 5 | 7 | 3 | 4 | 3 | 3 | 648 | ||
| No. | Undamaged Strawberry | Damaged Strawberry |
|---|---|---|
| 1. | 14.43.32.21 | 14.43.32.23.32.21 |
| 2. | 14.41.14.43.32.21 | 14.41.14.43.34.43.32.21 |
Publisher’s Note: MDPI stays neutral with regard to jurisdictional claims in published maps and institutional affiliations. |
© 2021 by the authors. Licensee MDPI, Basel, Switzerland. This article is an open access article distributed under the terms and conditions of the Creative Commons Attribution (CC BY) license (https://creativecommons.org/licenses/by/4.0/).
Share and Cite
Kurpaska, S.; Bielecki, A.; Sobol, Z.; Bielecka, M.; Habrat, M.; Śmigielski, P. The Concept of the Constructional Solution of the Working Section of a Robot for Harvesting Strawberries . Sensors 2021, 21, 3933. https://doi.org/10.3390/s21113933
Kurpaska S, Bielecki A, Sobol Z, Bielecka M, Habrat M, Śmigielski P. The Concept of the Constructional Solution of the Working Section of a Robot for Harvesting Strawberries . Sensors. 2021; 21(11):3933. https://doi.org/10.3390/s21113933
Chicago/Turabian StyleKurpaska, Sławomir, Andrzej Bielecki, Zygmunt Sobol, Marzena Bielecka, Magdalena Habrat, and Piotr Śmigielski. 2021. "The Concept of the Constructional Solution of the Working Section of a Robot for Harvesting Strawberries " Sensors 21, no. 11: 3933. https://doi.org/10.3390/s21113933
APA StyleKurpaska, S., Bielecki, A., Sobol, Z., Bielecka, M., Habrat, M., & Śmigielski, P. (2021). The Concept of the Constructional Solution of the Working Section of a Robot for Harvesting Strawberries . Sensors, 21(11), 3933. https://doi.org/10.3390/s21113933

