Adaptive Waveform Design for MIMO Radar-Communication Transceiver
Abstract
1. Introduction
1.1. Joint Radar-Communications Transceivers
1.2. Adaptive MIMO Radar Waveform
1.3. Adaptive MIMO Radar-Communication Waveform Design
- (1)
 - We design transmission waveforms by maximizing the relative entropy (RE) between the distributions with and without targets, subjecting to the transmission power constraint. The optimization waveform should “match” the target and noise.
 - (2)
 - We formulate the criterion of waveform selection based on minimizing MI between successive radar echoes, with an intention of estimating the target parameters.
 
- (1)
 - We develop a new scheme for communication data embedding into adaptive MIMO radar;
 - (2)
 - We present a novel framework for an adaptive MIMO radar-communication system, which benefits from the principle of cognition radar;
 - (3)
 - We design a novel algorithm for waveform optimization in the adaptive distributed MIMO radar-communication framework;
 - (4)
 - We provide performance analysis of the MIMO radar-communication system network in terms of receiver operating characteristics (ROC), detection probabilities and communication symbol error rates (SER) between the proposed systems.
 
2. System Architecture and Network
3. MIMO Radar Signal Model and Information Embedding Scheme
4. (Two-Step) Waveform Optimization
4.1. Waveform Design Based on Relative Entropy
4.2. Parameter Estimation
4.3. MI Minimization
| Algorithm 1. The information embedding MIMO waveform optimization algorithm | 
| Step 1: Initializing iteration index , the covariance matrix  and . Step 2: At time , solve for the ensemble of transmitted waveforms based on maximization RE criterion over the spatial domain as presented in step 1. Step 3: At time , Form an estimate of the received signal , based on the current estimate for TIR by using (3). The received signals are used to extract the TIR. Step 4: At time , solve for transmitted waveforms based on the minimization MI criterion over the temporal domain as presented in step 2. Step 5: At time , emission and the updated and by using the current received signal . Step 6: If , the process ends; otherwise, we need to go back to Step 2 and repeat.  | 
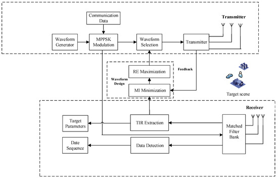
- (1)
 - The MIMO radar waveform with MPPSK embedding symbols is transmitted. The communication link is between any two or more different nodes.
 - (2)
 - The proposed radar-communication transceiver updates the estimate of TIR and utilizes this information to choose the optimal waveform for transmission. An adaptive feedback loop enables the delivery of the TIR information to the transmitter.
 - (3)
 - The proposed system adapts its MPPSK modulated inter-pulse duration and adjusts its transmitted waveform to suit the time-varying environment.
 - (4)
 - The received signals are processed by matched filters, which demodulate the MPPSK signal and convert them into the corresponding M-ary sequence. The received signals are also used to extract the TIR.
 
5. Simulation Results
5.1. Target Detection Performance
5.2. TIR Estimation Performance
5.3. Communication SER
6. Conclusions
Author Contributions
Funding
Conflicts of Interest
References
- Ciuonzo, D.; De Maio, A.; Foglia, G.; Piezzo, M. Intrapulse radar-embedded communications via multi-objective optimization. IEEE Trans. Aerosp. Electron. Syst. 2015, 51, 2960–2974. [Google Scholar] [CrossRef]
 - Ciuonzo, D.; De Maio, A.; Foglia, G.; Piezzo, M. Pareto-theory for enabling covert intra-pulse radar-embedded communications. In Proceedings of the IEEE Radar Conference (RadarCon), Arlington, VA, USA, 10–15 May 2015. [Google Scholar]
 - Chiriyath, A.R.; Paul, B.; Jacyna, G.M.; Bliss, D.W. Inner bounds on performance of radar and communications co-existence. IEEE Trans. Aerosp. Electron. Syst. 2010, 46, 1185–1200. [Google Scholar] [CrossRef]
 - Metcalf, J.G.; Sahin, C.; Blunt, S.D.; Rangaswamy, M. Analysis of symbol-design strategies for intra-pulse radar-embedded communications. IEEE Trans. Aerosp. Electron. Syst. 2015, 51, 2914–2931. [Google Scholar] [CrossRef]
 - Kwak, J.S.; Lee, J.H. Infrared transmission for intervehicle ranging and vehicle-to-roadside communication systems using spread-spectrum technique. IEEE Trans. Aerosp. Electron. Syst. 2004, 5, 12–19. [Google Scholar] [CrossRef]
 - Hassanien, A.; Amin, M.G.; Zhang, Y.D.; Ahmad, F. Dual-Function Radar-Communications: Information Embedding Using Sidelobe Control and Waveform Diversity. IEEE Trans. Signal Process. 2016, 64, 2168–2181. [Google Scholar] [CrossRef]
 - Han, L.; Wu, K. 24-GHz integrated radio and radar system capable of time-agile wireless communication and sensing. IEEE Trans. Microw. Theory Tech. 2012, 60, 619–631. [Google Scholar] [CrossRef]
 - Aubry, A.; Carotenuto, V.; De Maio, A.; Farina, A.; Pallotta, L. Optimization theory-based radar waveform design for spectrally dense environments. IEEE Aerosp. Electron. Syst. Mag. 2017, 31, 14–25. [Google Scholar] [CrossRef]
 - Aubry, A.; De Maio, A.; Piezzo, M.; Farina, A. Radar waveform design in a spectrally crowded environment via non-convex quadratic optimization. IEEE Trans. Aerosp. Electron. Syst. 2014, 50, 1138–1152. [Google Scholar] [CrossRef]
 - Aubry, A.; De Maio, A.; Huang, Y.; Piezzo, M.; Farina, A. A new radar waveform design algorithm with improved feasibility for spectral coexistence. IEEE Trans. Aerosp. Electron. Syst. 2015, 51, 1029–1038. [Google Scholar] [CrossRef]
 - Aubry, A.; Carotenuto, V.; De Maio, A. Forcing Multiple Spectral Compatibility Constraints in Radar Waveforms. IEEE Signal Process. Lett. 2016, 23, 483–487. [Google Scholar] [CrossRef]
 - Amuru, S.; Buehrer, R.M.; Tandon, R.; Sodagari, S. MIMO radar waveform design to support spectrum sharing. In Proceedings of the IEEE Military Communications Conference, San Diego, CA, USA, 18–20 November 2013; pp. 1535–1540. [Google Scholar]
 - Xu, R.; Peng, L.; Zhao, W.; Mi, Z. Radar mutual information and communication channel capacity of integrated radar-communication system using MIMO. ICT Express 2015, 1, 102–105. [Google Scholar] [CrossRef]
 - Haykin, S. Cognitive radar: “A way of the future”. IEEE Signal Process. Mag. 2006, 23, 30–40. [Google Scholar] [CrossRef]
 - Aubry, A.; DeMaio, A.; Farina, A.; Wicks, M. Knowledge-Aided (Potentially Cognitive) Transmit Signal and Receive Filter Design in Signal-Dependent Clutter. IEEE Trans. Aerosp. Electron. Syst. 2013, 49, 93–117. [Google Scholar] [CrossRef]
 - Aubry, A.; De Maio, A.; Piezzo, M.; Farina, A.; Wicks, M. Cognitive design of the receive filter and transmitted phase code in reverberating environment. IET Radar Sonar Navig. 2012, 6, 822–833. [Google Scholar] [CrossRef]
 - Aubry, A.; De Maio, A.; Jiang, B.; Zhang, S. Ambiguity Function Shaping for Cognitive Radar Via Complex Quartic Optimization. IEEE Trans. Signal Process. 2013, 61, 5603–5619. [Google Scholar] [CrossRef]
 - Aubry, A.; De Maio, A.; Naghsh, M.M. Optimizing Radar Waveform and Doppler Filter Bank via Generalized Fractional Programming. IEEE J. Sel. Top. Signal Process. 2015, 9, 1387–1399. [Google Scholar] [CrossRef]
 - Karbasi, S.M.; Aubry, A.; De Maio, A.; Bastani, M.H. Robust Transmit Code and Receive Filter Design for Extended Targets in Clutter. IEEE Trans. Signal Process. 2015, 63, 1965–1976. [Google Scholar] [CrossRef]
 - Cheng, X.; Aubry, A.; Ciuonzo, D.; Maio, A.D.; Wang, X. Robust waveform and filter bank design of polarimetric radar. IEEE Trans. Aerosp. Electron. Syst. 2017, 53, 370–384. [Google Scholar] [CrossRef]
 - Li, J.; Stoica, P. MIMO radar with colocated antennas. IEEE Signal Process. Mag. 2007, 24, 106–114. [Google Scholar] [CrossRef]
 - Haimovich, A.M.; Blum, R.S.; Cinimi, L.J. MIMO radar with widely separated antennas. IEEE Signal Process. Mag. 2008, 25, 116–129. [Google Scholar] [CrossRef]
 - Li, J.; Stoica, P. MIMO Radar Signal Processing; Wiley: New York, NY, USA, 2008. [Google Scholar]
 - Jajamovich, G.H.; Lops, M.; Wang, S. Space-time coding for MIMO radar detection and ranging. IEEE Trans. Signal Process. 2010, 58, 6195–6206. [Google Scholar] [CrossRef]
 - Aubry, A.; de Maio, A.; Huang, Y. MIMO radar beampattern design via PSL/ISL optimization. IEEE Trans. Signal Process. 2016, 64, 3955–3967. [Google Scholar] [CrossRef]
 - Yang, Y.; Blum, R.S. Minimax robust MIMO radar waveform design. IEEE J. Sel. Top. Signal Process. 2007, 1, 147–155. [Google Scholar] [CrossRef]
 - Fuhrmann, D.R.; Antonio, G.S. Transmit beamforming for MIMO radar systems using signal cross-correlation. IEEE Trans. Aerosp. Electron. Syst. 2008, 44, 1–16. [Google Scholar] [CrossRef]
 - Li, J.; Stoica, P.; Zheng, X. Signal synthesis and receiver design for MIMO radar imaging. IEEE Trans. Signal Process. 2008, 56, 3959–3968. [Google Scholar] [CrossRef]
 - Chen, C.Y.; Vaidyanathan, P.P. MIMO radar waveform optimization with prior information of the extended target and clutter. IEEE Trans. Signal Process. 2009, 57, 3533–3544. [Google Scholar] [CrossRef]
 - Yang, Y.; Blum, R.S.; He, Z.; Fuhrmann, D.R. MIMO Radar Waveform Design via Alternating Projection. IEEE Trans. Signal Process. 2010, 58, 1440–2445. [Google Scholar] [CrossRef]
 - Naghibi, T.; Namvar, M.; Behina, F. Optimal and robust waveform design for MIMO radars in the presence of clutter. IEEE Trans. Signal Process. 2010, 90, 1103–1117. [Google Scholar] [CrossRef]
 - Yang, Y.; Blum, R.S. MIMO radar waveform design based on mutual information and minimum mean-square error estimation. IEEE Trans. Aerosp. Electron. Syst. 2007, 43, 330–343. [Google Scholar] [CrossRef]
 - De Maio, A.; Lops, M. Design principles of MIMO radar detectors. IEEE Trans. Aerosp. Electron. Syst. 2007, 43, 886–898. [Google Scholar] [CrossRef]
 - Friedlander, B. Waveform design for MIMO radar. IEEE Trans. Aerosp. Electron. Syst. 2007, 43, 1227–1238. [Google Scholar] [CrossRef]
 - Stoica, P.; Li, J.; Xie, Y. On probing signal design for MIMO radar. IEEE Trans. Signal Process. 2007, 55, 4151–4161. [Google Scholar] [CrossRef]
 - Li, J.; Xu, L.; Stoica, P.; Forsythe, K.W.; Bliss, D.W. Range compression and waveform optimization for MIMO radar: A Cramér-Rao bound based study. IEEE Trans. Signal Process. 2008, 56, 218–232. [Google Scholar]
 - Naghibi, T.; Behnia, F. MIMO radar waveform design in the presence of clutter. IEEE Trans. Aerosp. Electron. Syst. 2011, 47, 770–781. [Google Scholar] [CrossRef]
 - Cover, T.M.; Thomas, J. Elements of Information Theory; Wiley: New York, NY, USA, 2006. [Google Scholar]
 - Tang, B.; Tang, J.; Peng, Y. MIMO radar waveform design in colored noise based on information theory. IEEE Trans. Signal Process. 2010, 58, 4684–4697. [Google Scholar] [CrossRef]
 







| Simulation Parameters | ||
|---|---|---|
| Transmitted power | 1 | |
| Bandwidth | 500 MHz | |
| Length of signal | 30 | |
| PRF | 100 KHz | |
| False alarm probability | 0.02 | |
| detection probability | 0.95 | |
| PAPR | peak-to-average ratio | 3 dB | 
| the sampling frequency | 500 MHz | |
| carrier frequency | 8 GHz | |
© 2018 by the authors. Licensee MDPI, Basel, Switzerland. This article is an open access article distributed under the terms and conditions of the Creative Commons Attribution (CC BY) license (http://creativecommons.org/licenses/by/4.0/).
Share and Cite
Yao, Y.; Zhao, J.; Wu, L. Adaptive Waveform Design for MIMO Radar-Communication Transceiver. Sensors 2018, 18, 1957. https://doi.org/10.3390/s18061957
Yao Y, Zhao J, Wu L. Adaptive Waveform Design for MIMO Radar-Communication Transceiver. Sensors. 2018; 18(6):1957. https://doi.org/10.3390/s18061957
Chicago/Turabian StyleYao, Yu, Junhui Zhao, and Lenan Wu. 2018. "Adaptive Waveform Design for MIMO Radar-Communication Transceiver" Sensors 18, no. 6: 1957. https://doi.org/10.3390/s18061957
APA StyleYao, Y., Zhao, J., & Wu, L. (2018). Adaptive Waveform Design for MIMO Radar-Communication Transceiver. Sensors, 18(6), 1957. https://doi.org/10.3390/s18061957
        
