Traceability of On-Machine Tool Measurement: A Review
Abstract
:1. Introduction
2. Benefits and Limits of on-MT Measurement
- Monitoring MT Performance: Machine geometry may change during machining operation due to many reasons. By applying an appropriate in-process measurement method with the probe integrated within the MT, geometry changes can be measured. These changes can be monitored to avoid making bad parts and to optimally schedule machine maintenance [4]. Figure 2 shows monitoring of MT performance based on a 3D standard.
- Part Setup: Part cutting programs are created based on an assumed workpiece holding coordinate system. Especially for large parts such as the case for aerospace or large parts manufacturing for automotive applications, this process could take a long time. For small part manufacturing and multi-operation processing, precise part locations could be detected automatically. This would reduce both the setup time and the processing time as parts could be cut from optimally sized blocks [4].
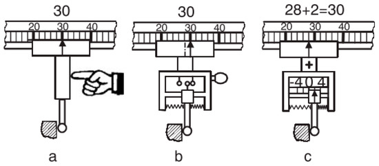
- In-process Measurement: One of the main reasons for performing a metrological measurement [2] of a manufactured part is to provide correction values to manufacturing parameters based on any deviations from the target dimensions found. Having this capability directly on the machine tool allows one to feed back these metrological data to the machine tool controller allowing an automatic flexible manufacturing process. This could be done several times during the manufacturing process, and not just at the end, in order to optimize the part cutting process [4]. Figure 3 depicts a tactile MT probing example.
- Post-process Control: Programming and running a manufacturing machine as if it were a coordinate measuring machine (CMM) for in-process measurement generates complete inspection reports without additional effort. For large part manufacturing, moving the part to an external measuring machine may not even be an option. For mass production, just measuring a few control features would not only generate inspection reports for all the parts but also provide a statistical view of the manufacturing process. In addition, it would help to create historical data monitoring for intelligent process control.
- MT time is more expensive than CMM time: The natural limit of on-MT measurement is given by the time spent on the MT doing measurements. It is known that MT time is more expensive than CMM time, so the measurements done on a MT should clearly add value to the manufacturing process.
- Lack of MT accuracy: MT accuracy is affected by many error sources that change the geometry of the machine´s structural loop. As explained in standard ISO TR 16907 [6], there are different compensation possibilities to enhance the geometric accuracy.
- Lack of MT traceability: Another limitation is given by the lack of traceability of the MT as a CMM. Both machining and measurement operations are performed at the same machine, so if the MT´s geometric error is repeatable, both processes may observe the same geometric error on the measurand.
- Metrology software insufficiencies: Currently software employed in MT is insufficient for metrology purposes. To perform the complex mathematical calculations required for metrology-based real-time decision making, a powerful metrology software needs to be integrated within the manufacturing system.
- Changing environmental conditions: Industrial environments normally suffer from unstable conditions, so it becomes a challenge not just to reduce measurement uncertainties with unfavourable measuring conditions, but to carry out uncertainty assessment for traceable measurement on-MT.
3. Converting a MT into a Traceable CMM
4. Approaches to Determine Measurement Uncertainty on a Machine Tool
4.1. Substitution Method Based on ISO 15530-3
4.2. Numerical Simulation Based on ISO 15530-4
4.3. Uncertainty Budget Method Based on VDI 2617-11
5. Uncertainty Error Sources
- Accuracy: Systematic geometric errors of the MT (induced by kinematic errors, static loads and control software), touch probe errors and measuring software errors are considered. The accuracy will mean the systematic error of the MT as a CMM, so it can be characterised and compensated.
- Repeatability: Random error sources that affect the repeatability of the MT. Dynamic loads that affect the MT (such as backlash, forces and thermo-mechanical loads) and environmental influences that affect either the MT or the touch probe are considered. Repeatability will mean the random error of the MT as a CMM, so it is difficult to measure and compensate.
- Resolution: Quality of sensors and quality of control system are considered.
6. Error Sources Due to the Machine Tool
6.1. Geometric Errors
- Static loads: In case of static errors, the non-rigid body behaviour has to be considered. Location errors and component errors change due to internal or external forces. The weight of the workpiece and the moving carriages can have a significant influence on the machine’s accuracy due to the finite stiffness of the structural loop [41,54].
- Control software: The effect of the control software on the geometric error of the MT can be considerable. Hence, different speed and accelerations can be applied for a known motion path to make control software errors distinguishable. Anyway, the measurement process is usually executed at small feed speeds, so dynamic forces are usually not considered as an uncertainty contributor on machine tool metrology uncertainty budgets [41].
6.1.1. Description of Geometric Errors
6.1.2. Mapping of Geometric Errors
Direct Measurement Methods
- Standard-based methods, such as straight edges, linear scales, step gauges or orthogonal standards [28,55,57,58,59,60]. Such artefacts contribute also to the uncertainty of the measuring results. This is why their own calibration uncertainty should be as low as possible. However, this is not always reachable, mainly when considering the longest ones and the newest highly accurate machines. Nonetheless, as concluded by Viprey et al., most of the existing material standards are developed for CMM calibration, except ball plates, 1D-ball array and telescopic magnetic ball bar [28], which are suitable for MTs.
- Laser-based methods or multidimensional devices, such as interferometers or telescope bars [61,62,63,64]. They are usually applied in order to measure principally the machine positioning properties, because the suitability of the laser wavelength for long length measurements, due to its long-coherence length. The most used is the laser interferometer which, with different optics configurations, allows detecting position, geometrical and form errors.
- In small and medium size working volumes direct measurement of an error can approximate the geometric behaviour of a machine tool.
- Specific error motion shall be checked in a very specific line or position. This is depicted in Figure 6.
- Specific verification protocol shall be applied for a machine´s acceptance.
- Iterative “measure and adjust” type of work, which can be needed for component assembly operation.
- Results required in real time.
- High accuracy requirement for a specific application.
- Errors in laser wavelength (environmental factors, such as temperature, pressure, humidity and density influence the wavelength compensation).
- Beam deflection shall occur due to temperature changes and gradients.
- Misalignment between interferometer and axis of motion can cause Abbe errors.
- Any movement of the equipment during the measuring process.
Indirect Measurement Methods
- Indirect measurement for orthogonal linear axes.
- Indirect measurement for five axis kinematics with rotary axis.
- Circular tests: The circular test, described in ISO 230-4: 2005 [81] describes a procedure for the characterization of indirect measurement of the geometric accuracy of two orthogonal linear axis. It is usually performed by a ball bar, but it can also be performed by a laser tracer [41] or two dimensional digital scale.
- Diagonal and step-diagonal test: As described in ISO 230-6: 2002 [82], it “allows estimation of the volumetric performance of a machine tool”, but it is not possible to identify 21 geometric error parameter from four body diagonal measurements only. Hence, this test is usually employed for linear scale and squareness error calculation [83]. It is suitable for a fast verification of a MT.
- Measurement of artifacts: The use of calibrated artifacts is widely employed either for MT calibration or CMM calibration. As described by Cauchick-Miguel et al. [60], artifact-based calibration is employed with one dimensional, two dimensional and three dimensional artifacts. The three dimensional artifact is widely employed mainly in CMM calibration for 21 error parameter measurement [84] where pre-calibrated position of spheres are measured by the machine for error characterization. Figure 9 shows a CMM characterization process for virtual coordinate measuring machine error assessment. Since almost every machine tool includes a touch probe nowadays, machine tool builders are looking for fast calibration procedures based on this approach.
- Passive links: Calibrated kinematics of the link mechanism attached to and passively driven by the machine to be measured can be used as a reference [80]. Different link configurations are employed nowadays, either serial links with three orthogonal linear axes or parallel links configurations.
- Tracking interferometer: Tracking interferometers, such as, laser trackers or laser tracers can be employed for indirect error measurement. Laser trackers can directly measure three dimensional position by measuring the distance and direction of a laser beam [80], but angular measurement uncertainty affects the measuring uncertainty of target position and it is rarely employed for MT error measurement. This is the main reason why multilateration based measurement is applied for MT error measurement. In this case, MT position is measured by the distance from at least four tracking interferometers to the target [85,86]. Either laser tracers or laser trackers are usually employed for that purpose. Figure 10 shows a multilateration based scheme, where a tracking interferometer is fixed to the table and the MT or CMM describes a volumetric path through a volumetric point cloud.
- Ball bar measurement: As described by Ibaraki et al. [80], there are some standards such as ISO 10791-1:2015 [87] and ISO 10791-6:1998 [88] that define measuring procedures for indirect rotary axis calibration. The calibration of rotary axis location with a ball bar is not solved yet and it remains a challenge.
- R-test: Another approach is to employ R-test to measure relative movements between the machine and the workpiece side. A sphere is fixed to the machine table and a measuring sensor, based on three or more length displacement sensors, is coupled to the machine head [89,90,91]. The measurement consists of a sequence of discrete angles of the rotary table. When moving to the next measurement point the linear axes follow the rotation of the rotary table. At each position the probe head measures the relative displacement of the sphere in X, Y and Z direction simultaneously [91]. Compared to the traditional method that employs “Siemens 996” static cycle to locate a rotary axis in the working volume of a MT, R-test offers the possibility to do static and dynamic measurements [90].
- Measurement of artifacts: As explained for linear axes indirect measurement, any MT has already on machine tool capability. This is why MT probing is being employed for calibration of offset errors of rotary axis [80].
- Machining tests: As explained by Ibaraki et al. [80], MT users are concerned with workpiece´s final accuracy rather than MT accuracy. The National Aerospace Standard (NAS) 979 [92] defines the procedure for a five-axis machining test of a cone frustum, which is widely accepted as a final performance test by machine tool builders.
- Volume of the MT.
- Spatial displacement measurement uncertainty of the employed tracking interferometer.
- As stated by Aguado et al. [95], the number of measuring systems to be used and the arrangement of them.
- Repeatability of the measured points does not just depend on the repeatability of the machine itself. As far as the measuring time is extended, environmental influences (e.g., machine shop temperature) generally lead to slow changes of MT temperatures affecting the whole volumetric performance. Therefore, time is a crucial factor.
- Tracking interferometers based on optimized laser trackers. They rely on a high accuracy sphere as optical reference for interferometric measurement. This measurement equipment, called laser tracer [86], was developed by NPL and PTB and commercialised by Etalon AG. It has a spatial displacement measurement uncertainty of U (k = 2) = 0.2 µm + 0.3 µm/m [100]. While laser tracer is a suitable solution for medium and large size MTs, there is a similar solution to the laser tracer, “called laser tracer MT” with a telescopic scheme and employed for maximum measuring volumes of 1 m3 [101].
- An Absolute Distance Meter (ADM)-based laser trackers has a spatial displacement measurement uncertainty of U (k = 2) = 10 µm + 0.4 µm/m in its whole working range [102].
- An Absolute Interferometer (AIFM)-based laser tracker has a spatial displacement measurement uncertainty of U (k = 2) = ± 0.4 µm + 0.3 µm/m [102].
- Thermal and refractive index distortions: The uncertainty of interferometry technique is proportional to the stability of the refractive index of air. Hence, the correct determination of this parameter is of utmost importance for achieving small measurement uncertainties on interferometer based measurements. However, industrial environments normally suffer from unstable conditions, so it becomes a challenge to reduce measurement uncertainties with unfavourable measuring conditions.
- Real time: Real-time coordinate metrology is a requirement for a factory of the future where metrology and manufacture are integrated into a single engineering process that enables 'zero defects'.
- Dimensional traceability to the SI metre: It shall be ensured for any metrology based solution in a factory environment.
- Automation: For a successful integration of the technology into machine and manufacturing processes, wireless and automation capacity shall be improved.
6.1.3. Compensation of Geometric Errors
- Repeatability of the MT: Backlash errors and temperature variation (internal and external) lead to a lack of repeatability. Therefore, long term stability will not be improved.
- Use of long tools: The compensation of orientation requires from three orthogonal rotational axes, which only very few MTs offer. Compensation of angular errors remains a challenge.
- Model conformity: The majority of controllers assume a rigid body model behavior of the machine tool in their compensation models. However, deformations such as column bending and tilt for moving column MTs or table torsion for moving tables CMMs, does not fit to a 21 error model. In these cases, additional parameters shall be included in the compensation model. Therefore, if a model-based compensation is employed, it should be consistent with the machine tool real behavior.
6.2. Dynamic Errors
- Backlash: Backlash error is a position dependant error affecting the contouring accuracy. When the axis changes direction from one side to the other, there is a lag before the table starts moving again, that would cause position error- backlash error [110]. Modelling it is challenging, due to multiple sources and complex behaviour. In general, the backlash vector depends on the motion history of all axes. It can result from mechanical play in drives and guideways, cable track forces, and stick/slip effects [72].
- Thermo-mechanical errors: Internal and external heat sources combined with different expansion coefficients of machine part materials generate a thermal distortion of the machine’s structural loop which can affect to the accuracy of the measuring process [11,41,114,115,116,117,118]. Expansion coefficient differences may lead to thermal stresses if rules of exact constraint design have not been met carefully.
6.3. Quasi-Static Error Assessment and Monitoring
7. Error Sources Due to the Touch Probe
7.1. Contact Touch Probe
7.1.1. Touch Trigger Probe
7.1.2. Analog Scanning Probes
7.1.3. Factors Affecting Probing Performance
- Operation principle: As mentioned in the previous point, contact probes can be broken into two general groups, scanning and discrete, based on the type of data being taken. Based on uncertainty sources, such as pre-travel variation and repeatability, the uncertainty vary according to the contact touch probe selected for the measuring task on the MT.
- Measurement strategy: A disadvantage of discrete-point probing is that it may take a long time to measure a free-form shaped part. If CAS technology is employed a continuous data acquisition is ensured so the acquisition time can be reduced considerably.
- Movement during probing: Static probing is executed while the component under measurement is motionless. However, dynamic measurement involves a component movement during data acquisition. With touch-trigger probes there is no possibility for static measurements as the trigger signal can only be generated during movement [119].
- Movement: The suspension can work either passively, with no actuation, or actively with a spring or electro-mechanical actuator. The active acquisition system offers the possibility to ensure a direction-independent probing force. However, the passive system provides better dynamic properties while probing the component and it is also cheaper [119].
- Kinematics: Probing systems can be mechanically fitted in either a parallel or serial configuration. The configuration influences the static and dynamic behaviour of the probe system, since the size and weight of the probe changes considerably. Serial kinematics comprises several self-independent axes, which are frequently mutually orthogonal. Instead, parallel kinematics configuration involves two axis movement with a coordinate, similar to a hexapod structure [145,146]. Serial and parallel kinematics probes are shown in Figure 16.
- Directional response pattern: A probing system can show varying directional sensitivity response [147,148]; mainly affected by asymmetric arrangement of sensors, asymmetric moment of inertia of stylus, tip ball form error or direction dependent sensitivity of sensors [37]. The effect of direction dependent sensitivity has the result that the same displacement of the tip ball leads to different output signals dependent on the direction of the displacement [149]. However, a correct behaviour characterisation offers the possibility to compensate this anisotropic effect through the control software [150,151,152,153,154].
- Environmental influences: The variation of environmental influences affects every metrology measurement. Consequently, it shall be considered as a part of the repeatability of the MT as a CMM.
- Cleanliness of the Surface: The cleanliness of the surface and the tip ball directly affect the measurement result. Therefore, a clean environment helps to uncertainty reduction on the probing process. In addition, if measurement is executed during the machining process, swarf could seriously influence the probing result. In fact, every effect is related to the probing force. If the probing force is near zero and soft surface contaminations (e.g., oil film) are probed, the signal to noise ratio of the probing system will decrease because of attenuation, which can make a reliable surface detection impossible [119].
- Tip ball: It is the contacting element between the MT and the component under measurement, so it is of utmost importance to characterize its position with the lowest uncertainty. The corrected measured point is achieved by correcting the tip ball centre point by adding a tip correction vector of the length of tip ball radius in the direction from the centre point to the probed point [155]. The radius value of the tip ball is measured during a specific measuring process, called qualification procedure of the probing system [156]. If the probing direction is needed for the coordinate correction process, it can be calculated from the probing system, by interpolation (from at least three probed points in the neighbourhood of the surface point) or by estimation (from e.g., CAD model). Usually real surfaces show, in addition to long-wave form deviations, random short-wave deviations known as roughness [157]. For such a surface the measured geometric properties represent a superposition of measurand and touching element [158] leading to a non- linear mechanical filtering effect. This filtering effect has a characteristic similar to a low pass depending on the tip ball diameter, because a smaller tip ball can penetrate smaller roughness valleys than a bigger ball. Because of this effect one gets for measured features different parameter values (size, position, form deviation) dependent on the diameter of the tip ball. As the measurement result is a superposition of tip ball and surface geometry, also form deviations of the ball directly lead to measurement errors. Thus it is necessary to use a tip ball of negligible form deviation compared to the required measurement uncertainty [119].
- Probing force: The probing force not just causes a bending of the stylus, but also has an effect on the elastic deformation of surface and tip ball due to Hertzian stress. Hertzian stress is the elastic deformation of two bodies touching each other [159]. The extent of deformation is dependent on the materials, micro and macro geometrical forms and the force. The effect of elastic deformations can be compensated to a certain extent by the probing system qualification process.
- Wear of tip ball, plastic deformation and wear of the workpiece surface: Wear and plastic deformation may happen during the probing process. This happens because there are some parameters such as probing force or hardness of contact surfaces that affect to the process. Hence, there are three main effects that cause bad probing results (1) Plastic deformation: Roughness peaks [160] of the workpiece at the probed points may be considered as wear of the workpiece surface [161]. The compressive strength of the workpiece material can be exceeded even by the small probing force because of the very small contact area between tip ball and roughness peak leading to high pressure. It affects the appearance of the probed surface (2) Wear of tip ball can occur during the scanning measuring process on a hard rough surface (3) Materials of tip ball and workpiece interact. It may occur that microscopic small particles break out of the surface due to local welding effects. Under normal circumstances, very little pick-up occurs [119].
- Probing system qualification: The position of the tip ball centre point related to the reference point of the probing system, the radius of the tip ball and the lobing error must be characterised to perform low uncertainty measurements [162,163]. These parameters are determined by a measuring procedure called probing system qualification.
7.2. Non-Contact Touch Probe
7.3. Factors Affecting Non-Contact Probing Performance
8. Error Sources Due to the Measuring Software
- Offline programming: A computer-aided manufacturing (CAM)-style programming environment with good machine tool virtual modelling, simulation capabilities, automatic path generation with collision avoidance, and complete geometrical fitting and tolerancing functionality is required. Programming languages such as DMIS also allow interfacing and collaborating with CMMs for efficient programming.
- Bi-directional interface: A direct and bi-directional interface is a must to analyse data in real time as soon as the measurement of a feature is completed. The calculated metrology characteristics are used as a part of the on-the-fly decision making and written back to the machine tool controller as a part of the adaptive cycle.
- Ability to handle high-density point cloud data: When interfacing with a laser to measure large parts, very large amounts of data will be gathered. The software, in addition to offering a live interface with the machine tool, must also be able to handle the display and interaction with such data.
- Geometric feature extractions: For on-machine geometrical feature measurements and geometric dimensioning and tolerancing (GD&T) applications, an automatic feature extraction is necessary. Most point cloud systems today are offline and need operator interaction to calculate the required features. An on-machine measurement software that will interface with a laser system should also have a robust automatic feature extraction capability.
- Ease of operation: The measurement program must be integrated into the machining centre similar to any other machining program. This allows the measuring to be integrated as a part of manufacturing cycles and can be automatically started by itself. A G-Code NC program is created by post-processing the DMIS measurement routine and resides in the controller.
9. Error Sources Due to the Measured Object
10. Error Budget Quantitative Approach
11. Outlook and Conclusions
Acknowledgments
Author Contributions
Conflicts of Interest
References
- Imkamp, D.; Berthold, J.; Heizmann, M.; Kniel, K.; Peterek, M.; Schmitt, R.; Seidler, J.; Sommer, K.-D. Challenges and trends in manufacturing measurement technology-the “Industrie 4.0” concept. J. Sens. Sens. Syst. 2016, 83, 325–335. [Google Scholar] [CrossRef]
- Balazs, A. International vocabulary of metrology-basic and general concepts and associated terms. Chem. Int. 2008, 30. [Google Scholar] [CrossRef]
- Physikalisch-Technische Bundesanstalt (PTB). Available online: https://www.ptb.de/emrp/ind62-home.html (accessed on 20 March 2017).
- Karadayi, R. In Process Closed Loop Metrology for Adaptive Manufacturing. In Proceedings of the Annual Workshop and Conference, Toronto, ON, Canada, 10–15 March 2014. [Google Scholar]
- Schwenke, H. Large parts with critical tolerances: Concepts and possible solutions for traceable CMM measurements on machine tools. In Proceedings of the Traceable in-Process Dimensional Measurement Final Workshop, Physikalisch-Technische-Bundesanstalt (PTB), Braunschweig, Germany, 18 May 2016. [Google Scholar]
- Machine Tools-Numerical Compensation of Geometric Errors, 1st ed.; ISO/TR 16907:2015; International Organazation for Standardization: Geneva, Switzerland, 2015.
- Nisch, S.; Schmitt, R. Production integrated 3D measurements on large machine tools. In Proceedings of the Large Volume Metrology Conference (LVMC), Chester, UK, 2 November 2010. [Google Scholar]
- Schmitt, R.; Peterek, M.; Morse, E.; Knapp, W.; Galetto, M.; Härtig, F.; Goch, G.; Hughes, B.; Forbes, A.; Estler, W. Advances in Large-Scale Metrology–Review and future trends. CIRP Ann. Manuf. Technol. 2016, 65, 643–665. [Google Scholar] [CrossRef]
- Industrie 4.0: Aachener Perspektiven: Aachen Machine Tools Colloquium, 1st ed.; Werkzeugmaschinenkolloquium, A. (Ed.) Shaker Verlag: Aachen, Germany, 2014. [Google Scholar]
- Keller, F. Traceability of on-machine measurements under a wide range of working conditions. In Proceedings of the Traceable in-Process Dimensional Measurement Final Workshop, Physikalisch-Technische-Bundesanstalt (PTB), Braunschweig, Germany, 18 May 2016. [Google Scholar]
- Schmitt, R.; Jatzkowski, P.; Peterek, M. Traceable measurements using machine tools. In Proceedings of the Laser Metrology and Machine Performance X: 10th International Conference and Exhibition on Laser Metrology, Machine Tool, CMM and Robotic Performance, Lamdamap, Buckinghamshire, UK, 20–21 March 2013; pp. 131–139. [Google Scholar]
- Schmitt, R.; Peterek, M. Traceable measurements on machine tools-thermal influences on machine tool structure and measurement Uncertainty. Procedia CIRP 2015, 33, 576–580. [Google Scholar] [CrossRef]
- Geometrical Product Specifications (GPS)-Acceptance and Reverification Tests for Coordinate Measuring Machines (CMM)-Part 1: Vocabulary, ISO 10360-1:2000, 1st ed.; International Organazation for Standardization: Geneva, Switzerland, 2000.
- Bryan, J. International Status of Thermal Error Research (1990). CIRP Ann. Manuf. Technol. 1990, 39, 645–656. [Google Scholar] [CrossRef]
- Bryan, J.; Pearson, J.; Brewer, W.; McClure, E. Thermal effects in dimensional metrology. Mech. Eng. 1965, 87, 70. [Google Scholar]
- Ross-Pinnock, D.; Maropoulos, P.G. Identification of key temperature measurement technologies for the enhancement of product and equipment integrity in the light controlled factory. Procedia CIRP 2014, 25, 114–121. [Google Scholar] [CrossRef]
- Ross-pinnock, D.; Mullineux, G. Compensating for thermal and gravitational effects in structures and assemblies. In Proceedings of the Luminar Workshop, Bath, UK, 18–19 May 2016. [Google Scholar]
- Postlethwaite, S.R.; Allen, J.P.; Ford, D.G. Machine tool thermal error reduction-An appraisal. Proc. Inst. Mech. Eng. Part B J. Eng. Manuf. 1999, 213, 1–9. [Google Scholar] [CrossRef]
- Mayr, J.; Jedrzejewski, J.; Uhlmann, E.; Alkan Donmez, M.; Knapp, W.; Härtig, F.; Wendt, K.; Moriwaki, T.; Shore, P.; Schmitt, R.; et al. Thermal issues in machine tools. CIRP Ann. Manuf. Technol. 2012, 61, 771–791. [Google Scholar] [CrossRef]
- Puttock, M. Large Scale metrology. In Handbook of Measuring System Design; Wiley: Hoboken, NJ, USA, 1978. [Google Scholar]
- Wendt, K.; Franke, M.; Härtig, F. Mobile Multilateration Measuring System for High Accurate and Traceable 3D Measurements of Large Objects. In Proceedings of the 10th International Symposium on Measurement and Quality Control, Osaka, Japan, 5–9 September 2010. [Google Scholar]
- Uncertainty of Measurement-Part 3: Guide to the Expression of Uncertainty in Measurement (GUM:1995), 1st ed.; ISO/IEC Guide 98-3:2008; International Organazation for Standardization: Geneva, Switzerland, 2008.
- Geometrical Product Specifications (GPS)-Coordinate Measuring Machines (CMM): Technique for Determining the Uncertainty of Measurement-Part 3: Use of Calibrated Workpieces or Standards, 1st ed.; ISO/TS 15530-3:2004; International Organazation for Standardization: Geneva, Switzerland, 2004.
- Widmaier, T.; Kuosmanen, P.; Hemming, B.; Esala, V.; Brabandt, D. New material standards for traceability of roundness measurements of large-scale rotors. In Proceedings of the 58th IWK, Ilmenau Scientific Colloquium Technische Universität, Ilmenau, Germany, 8–12 September 2014. [Google Scholar]
- Acko, M.; Klobucar, R.; Milfelener, M. Measurement Standard for Monitoring Performance of Machine Tools in Harsh Enviromental Conditions. Available online: https://www.google.es/url?sa=t&rct=j&q=&esrc=s&source=web&cd=1&ved=0ahUKEwicwMm-x_bUAhUL7RQKHdlaCWYQFggoMAA&url=https%3A%2F%2Fpublic.ptb.de%2Ffiles%2Fdownload%2F56d6a9f2ab9f3f76468b4658&usg=AFQjCNEuMQ3SfbhtfaTwuP6ASTt9CXcXIA (accessed on 20 February 2017).
- Zeleny, J.; Linkeova, I. Design and calibration of free-form standard. In Proceedings of the Laser Metrology and Machine Performance XI, Huddersfield, UK, 17 March 2015; pp. 147–148. [Google Scholar]
- Zeleny, J.; Linkeova, I.; Skalnik, P. Calibrated CAD model of freeform standard. In Proc. XXI IMEKO World Congress 2015; International Measurement Confederation (IMEKO): Prague, Czech Republic, 2015. [Google Scholar]
- Viprey, F.; Nouira, H.; Lavernhe, S.; Tournier, C. Novel multi-feature bar design for machine tools geometric errors identification. Precis. Eng. 2016, 46, 323–338. [Google Scholar] [CrossRef]
- Woodward, S.; Brown, S.; Dury, M.; McCarthy, M. Producing dimensional transfer material standards for the assessment of workshop machine tool performance. In Proceedings of the Euspen’s 16th International Conference & Exhibition, Nottingham, UK, 30 May–3 June 2016. [Google Scholar]
- Geometrical Product Specifications (GPS)-Coordinate Measuring Machines (CMM): Technique for Determining the Uncertainty of Measurement-Part 4: Evaluating Task-Specific Measurement Uncertainty Using Simulation, 1st ed.; ISO/TS 15530-4:2008; International Organazation for Standardization: Geneva, Switzerland, 2008.
- Trapet, E.; Wäldele, F. A reference object based method to determine the parametric error components of coordinate measuring machines and machine tools. Measurement 1991, 9, 17–22. [Google Scholar] [CrossRef]
- Trapet, E. Traceability of Coordinate Measurements According to the Method of the Virtual Measuring Machine; Physikalisch-Technische Bundesanstalt (PTB): Braunschweig, Germany, 1999. [Google Scholar]
- Härtig, F.; Kniel, K.; Schulze, K. Messunsicherheitsermittlung: Ermittlung Einer Aufgabenspezifischen Messunsicherheit von 3D-Verzahnungsmessungen; FVA: Freiburg, Germany, 2008. [Google Scholar]
- Maropoulos, P.G.; Guo, Y.; Jamshidi, J.; Cai, B. Large volume metrology process models: A framework for integrating measurement with assembly planning. CIRP Ann. Manuf. Technol. 2008, 57, 477–480. [Google Scholar] [CrossRef]
- Accuracy of Coordinate Measuring Machines—Characteristics and Their Checking—Determination of the Uncertainty of Measurement for Coordinate Measuring Machines Using Uncertainty Budgets; Standard: DIN—VDI/VDE 2617 BLATT 11; Verein Deutscher Ingenieure: Düsseldorf, Germany, 2011.
- García, M. Inspection of Large High Value Components on a Machine Tool Platform. In Proceedings of the 3D Metrology Conference (3DMC), RWTH Aachen University, Aachen, Germany, 22 November 2016. [Google Scholar]
- Measurement Good Practice Guide No. 42: CMM Verification. Available online: http://publications.npl.co.uk/npl_web/pdf/mgpg42.pdf (accessed on 18 April 2017).
- Slocum, A. Precision Machine-Design-Macromachine Design Philosophy and Its Applicability to the Design of Micromachines. In Proceedings of the IEEE Micro Electro Mechanical Systems, New York, NY, USA, 4–7 February 1992. [Google Scholar]
- Slocum, A. Fundamentals of Design: Error Budgets. Available online: http://web.mit.edu/2.75/fundamentals/FUNdaMENTALs%20Book%20pdf/Precision%20Machine%20Design%20Error%20Budget.pdf (accessed on 4 March 2017).
- Ispas, C.; Anania, D.; Mohora, C. Contribution concerning machine tool acuracy using software methods for geometrical errors compensation. In Proceedings of the 15th International Conference on Manufacturing Systems-ICMaS, Bucharest, Romania, 26–27 October 2006. [Google Scholar]
- Schwenke, H.; Knapp, W.; Haitjema, H.; Weckenmann, A.; Schmitt, R.; Delbressine, F. Geometric error measurement and compensation of machines-An update. CIRP Ann. Manuf. Technol. 2008, 57, 660–675. [Google Scholar] [CrossRef]
- Hocken, R.J. Machine Tool Accuracy. In Technology of Machine Tools; California University: Livermore, CA, USA, 1980; Volume 5. [Google Scholar]
- Knapp, W.; Matthias, E. Test of the Three-Dimensional Uncertainty of Machine Tools and Measuring Machines and its Relation to the Machine Errors. CIRP Ann. Manuf. Technol. 1983, 32, 459–464. [Google Scholar] [CrossRef]
- Soons, J. Accuracy Analysis of Multi-Axis Machines. Available online: https://pure.tue.nl/ws/files/1717013/400139.pdf (accessed on 23 April 2017).
- Weekers, W.G.; Schellekens, P.H.J. Compensation for Dynamic Errrors of Coordinate Measuring Machines. Measurement 1997, 20, 197–209. [Google Scholar] [CrossRef]
- Abbe, E. Meßapparate für Physiker. J. Instrum. Inf. 1890, 10, 446–448. [Google Scholar]
- Ibaraki, S.; Sawada, M.; Matsubara, A.; Matsushita, T. Machining tests to identify kinematic errors on five-axis machine tools. Precis. Eng. 2010, 34, 387–398. [Google Scholar] [CrossRef]
- Dassanayake, K.M.M.; Tsutsumi, M.; Saito, A. A strategy for identifying static deviations in universal spindle head type multi-axis machining centers. Int. J. Mach. Tools Manuf. 2006, 46, 1097–1106. [Google Scholar] [CrossRef]
- Donmez, M.A.; Blomquist, D.S.; Hocken, R.J.; Liu, C.R.; Barash, M.M. A general methodology for machine tool accuracy enhancement by error compensation. Precis. Eng. 1986, 8, 187–196. [Google Scholar] [CrossRef]
- Huang, T.; Whitehouse, D. A simple yet effective approach for error compensation of a tripod-based parallel kinematic machine. CIRP Ann. Technol. 2000, 49, 285–288. [Google Scholar] [CrossRef]
- Hocken, R.J. Three dimensional Metrology. Proce. CIRP 1977, 26, 403–408. [Google Scholar]
- Zhang, G.; Veale, R.; Charlton, T.; Borchardt, B.; Hocken, R. Error Compensation of Coordinate Measuring Machines. CIRP Ann. Manuf. Technol. 1985, 34, 445–448. [Google Scholar] [CrossRef]
- Soons, J.A.; Theuws, F.C.; Schellekens, P.H. Modeling the errors of multi-axis machines: a general methodology. Precis. Eng. 1992, 14, 5–19. [Google Scholar] [CrossRef]
- Schellekens, P.; Rosielle, N.; Vermeulen, H.; Vermeulen, M.; Wetzels, S.; Pril, W. Design for Precision: Current Status and Trends. CIRP Ann. Manuf. Technol. 1998, 47, 557–586. [Google Scholar] [CrossRef]
- Test Code for Machine Tools-Part 1: Geometric Accuracy of Machines Operating under no-Load or Quasi-Static Conditions, 1st ed.; ISO 230-1:2012; International Organazation for Standardization: Geneva, Switzerland, 2012.
- Uriarte, L.; Zatarain, M.; Axinte, D.; Yagüe-Fabra, J.; Ihlenfeldt, S.; Eguia, J.; Olarra, A. Machine tools for large parts. CIRP Ann. Manuf. Technol. 2013, 62, 731–750. [Google Scholar] [CrossRef]
- Weckenmann, A. Comparison of CMM length measurement tests conducted with different 1D, 2D and 3D standards. In Proceedings of the 11th National, 2nd International Scientific Conference Metrology in Production Engineering, Lublin, Poland, 15–17 September 2005. [Google Scholar]
- Knapp, W.; Tschudi, U.; Bucher, A. Vergleich von Prufkorpern zur Abnahme von Koordinatenmessgeräten; Technische Rundschau: Bern, Switzerland, 1990. [Google Scholar]
- Test Code for Machine Tools—Part 7: Geometric Accuracy of Axes of Rotation, 1st ed.; ISO 230-7: 2015; International Organazation for Standardization: Geneva, Switzerland, 2015.
- Cauchick-Miguel, P.; King, T.; Davis, J. CMM verification: A survey. Meas. J. Int. Meas. Confed. 1996, 17, 1–16. [Google Scholar] [CrossRef]
- Kunzmann, H.; Trapet, E.; Wäldele, F. A Uniform Concept for Calibration, Acceptance Test, and Periodic Inspection of Coordinate Measuring Machines Using Reference Objects. CIRP Ann. Manuf. Technol. 1990, 39, 561–564. [Google Scholar] [CrossRef]
- Pahk, H.J.A.E.; Kimt, Y.S.A.M.; Moon, J.H.E.E. A New Technique for Volumetric Error Assessment of CNC MTs Incorporating Ball Bar Measurement and 3D Volumetric Error Model. Int. J. Mach. Tools Manuf. 1997, 37, 1583–1596. [Google Scholar] [CrossRef]
- Zargarbashi, S.H.H.; Mayer, J.R.R. Assessment of machine tool trunnion axis motion error, using magnetic double ball bar. Int. J. Mach. Tools Manuf. 2006, 46, 1823–1834. [Google Scholar] [CrossRef]
- Knapp, W. Machine Tool Testing Methods: Overview over ISO Standards and other Special Tests for Machine Tool Performance Evaluation and Interim Checking. In Proceedings of the Metroment, Bilbao, Spain, 7–8 April 2005. [Google Scholar]
- Belforte, G.; Bona, B.; Canuto, E.; Donati, F.; Ferraris, F.; Gorini, I.; Morei, S.; Peisino, M.; Sartori, S.; Levi, R. Coordinate Measuring Machines and Machine Tools Selfcalibration and Error Correction. CIRP Ann. Manuf. Technol. 1987, 36, 359–364. [Google Scholar] [CrossRef]
- Knapp, W. Comparison of National and International Standards for Evaluation of Positioning Accuracy and Repeatability of NC Axes. Available online: http://www.google.es/url?sa=t&rct=j&q=&esrc=s&source=web&cd=1&ved=0ahUKEwiR67_HyfbUAhXFXhQKHaMdCwwQFggjMAA&url=http%3A%2F%2Fwww.amtonline.org%2Farticle_download.cfm%3Farticle_id%3D63300&usg=AFQjCNGIutSKT3NV_EW-A8bbCbTohPDJWQ (accessed on 25 April 2017).
- The Benefits of Remote Interferometry for Linear, Angular and Straightness Measurements; Technical white paper: TE335; Renishaw: Wotton-under-Edge, UK, 2015.
- Hickman, P.A. Optical tilting viewed in a new light. Laser Focus 1968, 4, 22. [Google Scholar]
- Salsbury, J.G.; Hocken, R.J. Taut Wire Straightedge Reversal Artifact. In Initiatives of Precision Engineering at the Beginning of a Millennium; Inasaki, I., Ed.; ICPE: Yokohama, Japan, 2002; pp. 644–648. [Google Scholar]
- Quesnel, J.; Durand, H.M.; Touzé, T. Stretched Wire Offset Measurements: 40 Years of Practice of This Technique At Cern. In Proceedings of the 10th International Workshop on Accelerator Alignment, KEK, Tsukuba, 11–15 February 2008. [Google Scholar]
- Muralikrishnan, B.; Sawyer, D.; Blackburn, C.; Phillips, S.; Borchardt, B.; Estler, W.T. ASME B89.4.19 Performance Evaluation Tests and Geometric Misalignments in Laser Trackers. J. Res. Natl. Inst. Stand. Technol. 2006, 114, 21. [Google Scholar] [CrossRef]
- Schwenke, H. The latest trends and future possibilities of volumetric error compensation for machine tools. In Proceedings of the 15th International Machine Tool Engineers’ Conference, IMEC, Tokyo, Japan, 2–3 November 2012; pp. 57–71. [Google Scholar]
- CIRP Unification Document Me Axes of Rotation. Ann. CIRP 1976, 25, 545–564.
- Chapman, M.A.V.; Holloway, A.; Lee, W.; May, M.; McFadden, S.; Wall, D. Interferometric Calibration of Rotary Axes; Technical white paper: TE327; Renishaw: Wotton-under-Edge, UK, 2013. [Google Scholar]
- Estler, W.T. Uncertainty Analysis for Angle Calibrations Using Circle Closure. J. Res. Natl. Inst. Stand. Technol. 1998, 103, 11. [Google Scholar] [CrossRef] [PubMed]
- Chapman, M.A.V.; Fergusson-Kelly, R.; Holloway, A.; Lock, D.; Lee, W. Interferometric Angle Measurement and the Hardware Options; Technical white paper: TE326; Renishaw: Wotton-under-Edge, UK, 2013. [Google Scholar]
- XM-60 Multi-Axis Calibrator; Renishaw. Available online: http://www.renishaw.com/en/xm-60-multi-axis-calibrator--39258 (accessed on 16 April 2017).
- Calibration Interferometer: SP 15000 C Series; SIOS. Available online: http://www.sios-de.com/products/calibration-interferometer/ (accessed on 17 April 2017).
- XD Laser Measuring Solution; Automated Precision Inc. (API). Available online: https://www.apisensor.com/products/mth/xd-laser/ (accessed on 17 April 2017).
- Ibaraki, S.; Knapp, W. Indirect Measurement of Volumetric Accuracy for Three-Axis and Five-Axis Machine Tools: A Review. Int. J. Autom. Technol. 2012, 6, 110–124. [Google Scholar] [CrossRef]
- Test Code for MTs. Part 4. Circular Tests for Numerically Controlled Machine Tools, 1st ed.; ISO 230-4:2005; International Organazation for Standardization: Geneva, Switzerland, 2005.
- Test Code for Machine Tools. Part 6. Determination of Positioning Accuracy on Body and Face Diagonals (Diagonal Displacement Tests), 1st ed.; ISO 230-6:2002; International Organazation for Standardization: Geneva, Switzerland, 2002.
- Kruth, J.P.; Zhou, L.; Van den Bergh, C.; Vanherck, P. A Method for Squareness Error Verification on a Coordinate Measuring Machine. Int. J. Adv. Manuf. Technol. 2003, 21, 874–878. [Google Scholar] [CrossRef]
- Bringmann, B.; Küng, A.; Knapp, W. A Measuring Artefact for true 3D Machine Testing and Calibration. CIRP Ann. Manuf. Technol. 2005, 54, 471–474. [Google Scholar] [CrossRef]
- Kenta, U.; Ryosyu, F.; Sonko, O.; Toshiyuki, T.; Tomizo, K. Geometric calibration of a coordinate measuring machine using a laser tracking system. Meas. Sci. Technol. 2005, 16, 2466. [Google Scholar]
- Schwenke, H.; Franke, M.; Hannaford, J.; Kunzmann, H. Error mapping of CMMs and machine tools by a single tracking interferometer. CIRP Ann. Manuf. Technol. 2005, 54, 475–478. [Google Scholar] [CrossRef]
- Test Conditions for Machining Centres—Part 1: Geometric Tests for Machines with Horizontal Spindle (Horizontal Z-Axis), 1st ed.; ISO 10791-1:2015; International Organazation for Standardization: Geneva, Switzerland, 2015.
- Test Conditions for Machining Centres—Part 6: Accuracy of Speeds and Interpolations, 1st ed.; ISO 10791-6:2014; International Organazation for Standardization: Geneva, Switzerland, 2014.
- Florussen, G.H.J.; Spaan, H.A.M. Static R-Test: Allocating the Centreline of Rotary Axes of Machine Tools. In Proceedings of the Laser Metrology and Machine Performance VIII: 8th International Conference on Laser Metrology, Machine Tool, CMM & Robotic Performance, Cardiff, UK, 26–28 June 2007. [Google Scholar]
- Florussen, G.H.J.; Spaan, H.A.M. Determining the machine tool contouring performance with dynamic R-test measurements 3D probe head Masterball C-axis. In Proceedings of the 12th Euspen International Conference, Stockholm, Sweden, 4–8 June 2012; pp. 1–5. [Google Scholar]
- Florussen, G.H.J.; Spaan, H.A.M. Dynamic R-test for rotary tables on 5-axes machine tools. Procedia CIRP 2012, 1, 536–539. [Google Scholar] [CrossRef]
- Uniform Cutting Test—NAS Series. Metal Cutting Equip- Ments; Standard: AIA/NAS-NAS979; Aerospace Industries Association of America: Arlington, VA, USA, 1969.
- Hughes, E.B.; Wilson, A.; Peggs, G.N. Design of a High-Accuracy CMM Based on Multilateration Techniques. CIRP Ann. Manuf. Technol. 2000, 49, 391–394. [Google Scholar] [CrossRef]
- Weckenmann, A.; Jiang, X.; Sommer, K.D.; Neuschaefer-Rube, U.; Seewig, J.; Shaw, L.; Estler, T. Multisensor data fusion in dimensional metrology. CIRP Ann. Manuf. Technol. 2009, 58, 701–721. [Google Scholar] [CrossRef]
- Aguado, S.; Santolaria, J.; Samper, D.; Aguilar, J.J. Influence of measurement noise and laser arrangement on measurement uncertainty of laser tracker multilateration in machine tool volumetric verification. Precis. Eng. 2013, 37, 929–943. [Google Scholar] [CrossRef]
- Schmitt, R.; Peterek, M.; Quinders, S. Concept of a Virtual Metrology Frame Based on Absolute Interferometry for Multi Robotic Assembly. Available online: https://hal.inria.fr/hal-01260735/document (accessed on 20 March 2017).
- Olarra, A.; Zubeldia, M.; Gomez-acedo, E.; Kortaberria, G. Measuring positioning accuracy of large machine tool. In Proceedings of the 19th Congress of Machine Tools and Manufacturing Technology, Donostia-San Sebastián, Spain, 12 June 2013. [Google Scholar]
- Brecher, C.; Flore, J.; Haag, S.; Wenzel, C. High precision, fast and flexible calibration of robots and larde multi-axis machine tools. In Proceedings of the 9th International Conference on Machine Tools, Automation, Robotics and Technology, Prague, Czech Republic, 12 September 2012. [Google Scholar]
- Schwenke, H. Accuracy Improvement of Machine Tool via New Laser Measurement Methods, The Japan International Machine Tool Fair (JIMTOF), 2015.
- Schwenke, H.; Schmitt, R.; Jatzkowski, P.; Warmann, C. On-the-fly calibration of linear and rotary axes of machine tools and CMMs using a tracking interferometer. CIRP Ann. Manuf. Technol. 2009, 58, 477–480. [Google Scholar] [CrossRef]
- LaserTracer-MT: Perfect Geometries through Volumetric Compensation. Available online: http://www.etalon-ag.com/en/products/lasertracer-mt/ (accessed on 10 January 2017).
- Hexagon Manufacturing Intelligence. Available online: http://www.hexagonmi.com/products/laser-tracker-systems/leica-absolute-tracker-at930 (accessed on 23 April 2017).
- Geometrical Product Specifications (GPS)—Acceptance and Reverification Tests for Coordinate Measuring Machines (CMM)—Part 2: CMMs Used for Measuring Linear Dimensions, 1st ed.; ISO 10360-2:2009; International Organazation for Standardization: Geneva, Switzerland, 2009.
- Trapet, E.; Aguilar Martín, J.J.; Yagüe, J.A.; Spaan, H.; Zelený, V. Self-centering probes with parallel kinematics to verify machine-tools. Precis. Eng. 2006, 30, 165–179. [Google Scholar] [CrossRef]
- Etalon AG. Linecal-Automatic Volumetric Calibration. Available online: http://www.etalon-ag.com/en/products/linecal/ (accessed on 10 January 2017).
- Test Code for Machine Tools-Part 2: DETERMINATION of Accuracy and Repeatability of Positioning of Numerically Controlled Axes, 1st ed.; ISO 230-2; International Organazation for Standardization: Geneva, Switzerland, 2014.
- Statistical Testing of the Operational and Positional Accuracy of Machine Tools; VDI/DGQ 3441; Verein Deutscher Ingenieure (VDI): Dusseldorf, Germany, 1982.
- Longstaff, A.P.; Fletcher, S.; Myers, A. Volumetric error compensation through a Siemens controller. In Proceedings of the 7th International Conference and Exhibition on Laser Metrology, Machine Tool, CMM & Robotic Performance, Lamdamap 2005, Cranfield, UK, 27–30 June 2005. [Google Scholar]
- Duffie, N.A.; Yang, S.M.; Bollinger, J.G. Generation of Parametric Kinematic Error-Correction Functions from Volumetric Error Measurements. CIRP Ann. Manuf. Technol. 1985, 34, 435–438. [Google Scholar] [CrossRef]
- Liu, H.; Xue, X.; Tan, G. Backlash Error Measurement and Compensation on the Vertical Machining Center. Engineering 2010, 403–407. [Google Scholar] [CrossRef]
- Rehsteiner, F.; Weikert, S.; Rak, Z. Accuracy Optimization of Machine Tools under Acceleration Loads for The Demands of High-Speed-Machining. In Proceedings of the 13th Annual Meeting of American Society for Precision Engineering, Saint Louis, MO, USA, 26–31 October 1998; pp. 602–605. [Google Scholar]
- Weikert, S. When five axes have to be synchronized. In Proceedings of the 7th International Conference and Exhibition on Laser Metrology, CMM and Machine Tool Performance, Cranfield, UK, 2005. [Google Scholar]
- Weekers, W.G.; Schellekens, P.H.J. Compensation for dynamic errors of coordinate measuring machines. Precis. Eng. 1997, 20, 197–209. [Google Scholar] [CrossRef]
- Bryan, J. International Status of Thermal Error Research. Available online: http://emtoolbox.nist.gov/Publications/UCRL-1967-50285-InternationalStatusofThermalErrorResearch.pdf (accessed on 11 April 2017).
- Van Den Bergh, C. Reducing thermal errors of CMM located on the shop—Floor. Ph.D. Thesis, Katholieke Umniversiteit Leuven, Leuven, Belgium, 2001. [Google Scholar]
- Delbressine, F.L.M.; Florussen, G.H.J.; Schijvenaars, L.A.; Schellekens, P.H.J. Modelling thermomechanical behaviour of multi-axis machine tools. Precis. Eng. 2006, 30, 47–53. [Google Scholar] [CrossRef]
- Florussen, G.H.J. Accuracy Analysis of Multi-axis Machines by 3D Length Measurements. Ph.D. Thesis, Eindhoven University of Technology, Eindhoven, Netherlands, 2002. [Google Scholar]
- Gruber, R.; Knapp, W. Temperatureinflüsse auf die Werkzeugmaschinen-Genauigkeit. Werkstatt und Betried 1998, 131, S1049–S1052. [Google Scholar]
- Weckenmann, A.; Estler, T.; Peggs, G.; McMurtry, D. Probing systems in dimensional metrology. CIRP Ann. Manuf. Technol. 2004, 53, 657–684. [Google Scholar] [CrossRef]
- Muelaner, J.E.; Maropoulos, P.G. Large volume metrology technologies for the light controlled factory. Procedia CIRP 2014, 25, 169–176. (In German) [Google Scholar] [CrossRef]
- National Physical Laboratory (NPL). Large Volume Unified Metrology for Industry, Novel Applications & Research (LUMINAR) EMRP Project. Available online: http://projects.npl.co.uk/luminar/ (accessed on 2 February 2017).
- Peggs, G.N.; Maropoulos, P.G.; Hughes, E.B.; Forbes, A.B.; Robson, S.; Ziebart, M.; Muralikrishnan, B. Recent developments in large-scale dimensional metrology. Proc. Inst. Mech. Eng. Part B J. Eng. Manuf. 2009, 223, 571–595. [Google Scholar] [CrossRef]
- Leica Absolute Interferometer, a New Approach to Laser Tracker Absolute Distance Meteres. Leica. Available online: http://www.google.es/url?sa=t&rct=j&q=&esrc=s&source=web&cd=1&ved=0ahUKEwihsanj-vPUAhWDXhQKHdUcC8AQFggrMAA&url=http%3A%2F%2Fwww.hexagonmi.com%2F~%2Fmedia%2FHexagon%2520MI%2520Legacy%2Fm1%2Fmetrology%2Fgeneral%2Fwhite-tech-paper%2FLeica%2520Absolute%2520Interferometer_white%2520paper_en.ashx&usg=AFQjCNE1v4rh9xtnLvH9BePSkNh3PgrpNA (accessed on 17 April 2017).
- Cabral, A.; Abreu, M. Absolute distance metrology for long distances with dual frequency sweeping interferometry. Proccedings of the XIX Imeko World Congress, Fundamental and Applied Metrology, Lisbon, Portugal, 6–11 September 2009. [Google Scholar]
- Absolute Multiline Technology. Etalon AG. Available online: http://www.etalon-ag.com/produkte/absolute-multiline-technologie/ (accessed on 3 March 2017).
- Hughes, B.; Warden, M.S. Novel Coordinate Measurement System Based on Frequency Scanning Interferometry. J. Coord. Metrol. Syst. Conf. 2013, 8, 18–24. [Google Scholar]
- Gomez-Acedo, E.; Olarra, A.; Zubieta, M.; Kortaberria, G.; Ariznabarreta, E.; de Lacalle, L.N. Method for measuring thermal distortion in large machine tools by means of laser multilateration. Int. J. Adv. Manuf. Technol. 2015, 80, 523–534. [Google Scholar] [CrossRef]
- Ibaraki, S.; Blaser, P.; Shimoike, M.; Takayama, N.; Nakaminami, M.; Ido, Y. Measurement of thermal influence on a two-dimensional motion trajectory using a tracking interferometer. CIRP Ann. Manuf. Technol. 2016, 65, 483–486. [Google Scholar] [CrossRef]
- Berger, D.; Brabandt, D.; Lanza, G. Conception of a mobile climate simulation chamber for the investigation of the influences of harsh shop floor conditions on in-process measurement systems in machine tools. Meas. J. Int. Meas. Confed. 2015, 74, 233–237. [Google Scholar] [CrossRef]
- OMP400 Optical Machine Probe systems. Renishaw. Available online: http://www.google.es/url?sa=t&rct=j&q=&esrc=s&source=web&cd=2&ved=0ahUKEwjQzofc_vPUAhUFRhQKHec8AsoQFgg1MAE&url=http%3A%2F%2Fresources.renishaw.com%2Fen%2Fdownload%2Finstallation-guide-omp400--47616&usg=AFQjCNH8VtRcINKwlpWnhGQu8NZNWn0HRA (accessed on 23 April 2017).
- Weckenmann, A. Comparability of tactile and optical form measuring techniques with resolution in the nanometre range. In Proceedings of the X. International Colloquium on Surfaces, Chemnitz, Germany, 31 January–2 February 2000; pp. 50–62. [Google Scholar]
- Yang, Q.; Butler, C. A 3-D noncontact trigger probe for coordinate measuring machines. Meas. J. Int. Meas. Confed. 1996, 17, 39–44. [Google Scholar] [CrossRef]
- Lukacs, G.; Lockhart, J.; Facello, M. Non-contact Whole-Part Inspection. Available online: https://www.cmsc.org/stuff/contentmgr/files/0/2bdcf766d9d5daf6e892c46153c591d3/misc/cmsc2011_thur_gh_0830_lockhart_paper.pdf (accessed on 23 April 2017).
- Marsh, B. An Investigation of Diameter Measurement Repeatability Using A Coordinate Measuring Machine And A Multi-Baseline Repeatability Assessment Methodology. Ph.D. Thesis, University of Northern Iowa, Cedar Falls, IA, USA, 1996. [Google Scholar]
- Dove, J. Probe qualification and precision coordinate metrology. Manuf. Eng. 2000, 125, 18. [Google Scholar]
- Measurement on CMMs; White paper H-1000-3218-01; Renishaw: Wotton-under-Edge, UK, 2005.
- Imkamp, D.; Schepperle, K. The Application Determines the Sensor: VAST Scanning Probe Systems. Innov. Spec. Metrol. 2006, 8, 30–33. [Google Scholar]
- Gage R&R Studies on CMM Accuracy. Hexagon Metrology. Available online: http://pcdmiswiki.org/images/0/00/GRR_Studies_on_CMM_Accuracy_Hex.pdf (accessed on 3 March 2017).
- Ali, S.H.R. Probing System Characteristics in Coordinate Metrology. Meas. Sci. Rev. 2010, 10, 120–129. [Google Scholar] [CrossRef]
- Berisso, K.; Ollison, T. Coordinate Measuring Machine Variations for Selected Probe Head Configurations. J. Ind. Technol. 2010, 26. Available online: http://c.ymcdn.com/sites/www.atmae.org/resource/resmgr/articles/berisso010510.pdf (accessed on 11 July 2017).
- Probing Systems for CNC Machine Tools; Renishaw: Wotton-under-Edge, UK, 2005.
- Karuc, E. Design of a Touch Triger Probe for a Coordinate Measuring Machine. Available online: https://etd.lib.metu.edu.tr/upload/12609112/index.pdf (accessed on 1 April 2017).
- SPRINT High-Speed Scanning System; White paper: H-5465-8399-03; Renishaw: Wotton-under-Edge, UK, 2014.
- Digilog Touch Probes. Novotest. Available online: http://www.blum-novotest.com/en/products/measuring-components/digilog-touch-probes/tc63-tc64-digilog.html (accessed on 13 March 2017).
- Weckenmann, A.; Kampa, H. Koordinaten messgeraete, VDI-Z. Available online: https://de.wikipedia.org/wiki/Koordinatenmesstechnik (accessed on 26 February 2017).
- Weckenmann, A.; Krämer, P. Trends in der Koordinatenmesstechnik Multisensorik. Available online: http://www.saq.ch/fileadmin/user_upload/mq/downloads/mq_2012_01_weckenmann.pdf (accessed on 21 April 2017).
- Aston, R.; Davis, J.; Stout, K. A probing question: A customer´s investigation into the directional variability of a coordinate measuring machine touch trigger probe. Int. J. Mach. Tools Manuf. 1998, 38, 15–27. [Google Scholar] [CrossRef]
- Chan, F.M.M.; Davis, E.J.; King, T.G.; Stout, K.J. Some performance characteristics of a multi-axis touch trigger probe. Meas. Sci. Technol. 1997, 8, 837. [Google Scholar] [CrossRef]
- Dobosz, M.; Woźniak, A. Metrological feasibilities of CMM touch trigger probes. Measurement 2003, 34, 287–299. [Google Scholar] [CrossRef]
- Shen, Y.-L.; Zhang, X. Pretravel compensation for vertically oriented touch-trigger probes with straight styli. Int. J. Mach. Tools Manuf. 1997, 37, 249–262. [Google Scholar] [CrossRef]
- Kishinami, T.; Nakamura, H.; Saito, K. Three Dimensional Curved Surfaces measurement using Newly Developed Three Dimensional Tactile Sensing Probe. In Proceedings of the International Symposium on Metrology for Quality Control in Production (ISMQC), Tokyo, Japan, 1984; pp. 288–293. [Google Scholar]
- Moons, S.; Shen, Y.-L. Errors in probe offset Vectors of multiple orientations in CMM measurements. ASPE Proc. 1998, 18, 512–515. [Google Scholar]
- Ogura, I.; Okazaki, Y. A Study for Development of Small-CMM Probe detecting Contact Angle. Proc. ASPE Summer Top. Meet. 2003, 74–77. [Google Scholar]
- Yang, Q.; Butler, C.; Baird, P. Error compensation of touch trigger probes. Meas. J. Int. Meas. Confed. 1996, 18, 47–57. [Google Scholar] [CrossRef]
- Li, Y.F.; Liu, Z.G. Method for determining the probing points for efficient measurement and reconstruction of freeform surfaces. Meas. Sci. Technol. 2003, 14, 1280–1288. [Google Scholar] [CrossRef]
- Koordinatenmesstechnik. Available online: http://www.google.es/url?sa=t&rct=j&q=&esrc=s&source=web&cd=39&ved=0ahUKEwjzxZzJzPbUAhVMPBQKHRZ-A844HhAWCEYwCA&url=http%3A%2F%2Fapi.vlb.de%2Fapi%2Fv1%2Fasset%2Fmmo%2Ffile%2F7491cffd-5777-4e4c-9c0e-9d269cbc33c1%3Faccess_token%3De047cd7a-ea60-44d5-adc2-59fdaa680c67&usg=AFQjCNHkVQl3FKMBBb5LIx2lwqYBr7wCfA (accessed on 20 March 2017).
- Uhlmann, E.; Förster, R.; Laufer, J.; Sroka, F. Three-dimensional roughness values for the functional characterization of ceramic surfaces. X Int. Colloq. Surf. 2000, 265–276. [Google Scholar]
- Lonardo, P.M.; Lucca, D.A.; De Chiffre, L. Emerging Trends in Surface Metrology. CIRP Ann. Manuf. Technol. 2002, 51, 701–723. [Google Scholar] [CrossRef]
- Puttock, M.J.; Thwaite, E.G. Elastic Compression of Spheres and Cylinders at Point and Line Contact. Natl. Stand. Lab. Tech. Pap. 1969, 25, 64. [Google Scholar]
- Uhlmann, E.; Oberschmidt, D.; Kunath-fandrei, G. 3D-Analysis of Microstructures with Confocal Laser Scanning Microscopy. Available online: http://aspe.pointinspace.com/publications/Winter_2003/03W%20Extended%20Abstracts/uhlmann.PDF (accessed on 16 February 2017).
- Zahwi, S.; Mekawi, A.M. Some effects of stylus force on scratching surfaces. Int. J. Mach. Tools Manuf. 2001, 41, 2011–2015. [Google Scholar] [CrossRef]
- Edgeworth, R.; Wilhelm, R.G. Uncertainty Management for CMM Probe Sampling of Complex Surfaces. ASME Manuf. Sci. Eng. 1996, 4, 511–518. [Google Scholar]
- Aoyama, H.; Kawai, M.; Kishinami, T. A New Method for Detecting the Contact Point between a Touch Probe and a Surface. CIRP Ann. Manuf. Technol. 1989, 38, 7–10. [Google Scholar] [CrossRef]
- Test Code for Machine Tools—Part 10: Determination of the Measuring Performance of Probing Systems of Numerically Controlled Machine Tools, 1st ed.; ISO 230-10:2016; International Organazation for Standardization: Geneva, Switzerland, 2016.
- Marshall, S.; Gilby, J. New Opportunities in Non-Contact 3D Measurement. Natl. Meas. Conf. 2001. Available online: https://pdfs.semanticscholar.org/fd41/1aa6fdf4dbb324db62b6c66aec61ffb16639.pdf (accessed on 11 July 2017).
- Keferstein, C.; Züst, R. Minimizing technical and financial risk when integrating and applying optical sensors for in- process measurement. Int. Intell. Manuf. Syst. Forum 2004, 17. Available online: http://bscw.ntb.ch/pub/bscw.cgi/d8668/OSIS_Publication_IMS_Forum_2004.pdf (accessed on 11 July 2017).
- Karadayi, R. Blue Light Laser Sensor Integration and Point Cloud Metrology. Available online: https://www.qualitydigest.com/inside/cmsc-article/081816-blue-light-laser-sensor-integration-and-point-cloud-metrology.html# (accessed on 2 February 2017).
- Paulo de Moraes, J.; Peterek, M. Integration of a Laser Scanner into a Machine Tool for an in-Process 3D Measurement. Master’s Thesis, Santa Catarina Federal University, Santa Catarina, Mexico, 2012. [Google Scholar]
- Streppel, A.H.; Lutters, D.; ten Brinke, E.; Pijlman, H.; Kals, H.J. Selective measuring of freeform surfaces for quality control and selective maintenance of bending tools. J. Mater. Process. Technol. 2001, 115, 147–152. [Google Scholar]
- Savio, E.; Chiffre, L. De; Schmitt, R. Metrology of freeform shaped parts. CIRP Ann. Manuf. Technol. 2007, 56, 810–835. [Google Scholar] [CrossRef]
- Brinksmeier, E.; Preuss, W. Diamond Machining of the 3 m Reflector of the KOSMA Submillimeter Telescope by a Single-Point Fly-Cutting Process. Available online: https://www.tib.eu/en/search/id/BLCP%3ACN019396568/Diamond-Machining-of-the-3m-Reflector-of-the-KOSMA/ (accessed on 23 March 2017).
- Brinksmeier, E.; Riemer, E.; Glabe, O. Fabrication of Complex Optical Elements. Available online: https://mlecture.uni-bremen.de/ml/index.php?option=com_content&view=article&id=172&template=ml2 (accessed on 7 April 2017).
- Katahira, K.; Ohmori, H.; Yoshida, K.; Kasuga, H.; Hirai, S. Elid Grinding Effects on Fabrication of Advanced Ceramics Components Riken. Available online: http://aspe.net/publications/Annual_2009/POSTERII/01GRIND/2941.PDF (accessed on 3 March 2017).
- Klocke, F.; Dambon, O. Precision Machining of Glass for Optical Applications. In Proceedings of the International Workshop on Extreme Optics and Sensors, Tokyo, Japan, 14–17 January 2003; pp. 185–193. [Google Scholar]
- Savio, E.; De Chiffre, L. Inspection of free form functional surfaces on fan blades. In Proceedings of the PRIME 2001 International Conference, Sestri Levante, Italy, 20–22 June 2001. [Google Scholar]
- Beraldin, J.-A.; Gaiani, M. Evaluating the Performance of Close-Range 3D Active Vision Systems for Industrial Design Applications. Videometrics VIII Int. SPIE Electron. Imaging 2005, 5665, 67–77. [Google Scholar]
- Carmignato, S. Traceability of Coordinate Measurements on Complex Surfaces. Ph.D. Thesis, Università di Padova, Dimeg, Italy, 2005. [Google Scholar]
- Carmignato, S.; Neuschaefer-Rube, U.; Schwenke, H.; Wendt, K. Tests and artefacts for determining the structural resolution of optical distance sensors for coordinate measurement. In Proceedings of the 6th International Conference European Society for Precision Engineering and Nanotechnology, Baden bei Wien, Austria, 28 May–1 June 2006. [Google Scholar]
- Sansoni, G.; Carmignato, S.; Savio, E. Validation of the measurement performance of a three-dimensional vision sensor by means of a coordinate measuring machine. Conf. Rec. IEEE Instrum. Meas. Technol. Conf. 2004, 1, 773–778. [Google Scholar]
- Bartscher, M.; Hilpert, U.; Neuschaefer-Rube, U. Industrielle Computertomographie auf dem Weg zur Koordinatenmesstechnik. PTB Meet. 2007, 117, 397. [Google Scholar]
- Bartscher, M.; Neukamm, M.; Hilpert, U.; Neuschaefer-Rube, U.; Härtig, F.; Kniel, K.; Ehrig, K.; Staude, A.; Goebbels, J. Achieving Traceability of Industrial Computed Tomography. Key Eng. Mater. 2010, 437, 79–83. [Google Scholar] [CrossRef]
- Sonka, M.; Hlavac, V.; Boyle, R. Image Processing, Analysis, and Machine Vision; Springer: Berlin, Germany, 1999. [Google Scholar]
- Chen, X.; Golovinskiy, A.; Funkhouser, T. Benchmark for 3D Mesh Segmentation. In Proceedings of the Siggraph, New Orleans, LA, USA, 3 August 2009. [Google Scholar]
- Mian, N.S.; Fletcher, S.; Longstaff, A.P.; Myers, A. Efficient estimation by FEA of machine tool distortion due to environmental temperature perturbations. Precis. Eng. 2013, 37, 372–379. [Google Scholar] [CrossRef]
- Maier, T.; Zaeh, M.F. Modeling of the thermomechanical process effects on machine tool structures. Procedia CIRP 2012, 4, 73–78. [Google Scholar] [CrossRef]
- Klocke, F.; Lung, D.; Puls, H. FEM-modelling of the thermal workpiece deformation in dry turning. Procedia CIRP 2013, 8, 240–245. [Google Scholar] [CrossRef]
- Muelaner, J.E. Coping with Thermal Expansion in Large Volume. University of Bath. Available online: http://projects.npl.co.uk/luminar/publications/luminar-gpg-thermal-expansion-lvm.pdf (accessed on 3 March 2017).
- Adams, V.; Askenazi, A. Building Better Products with Finite Element Analysis, 1st ed.; OnWord Press: Singapore, 1999. [Google Scholar]
- Finite Element Analysis: Theory and Application with ANSYS. Moavani. Available online: http://ftp.demec.ufpr.br/disciplinas/TM310/livro/Finite%20Element%20Analysis,%20Theory%20and%20application%20with%20ANSYS,%20.pdf (accessed on 21 April 2017).
- Nakasone, Y. Engineering Analysis with ANSYS Software; Butterworth-Heinemann: Oxford, UK, 2006. [Google Scholar]
- Makino Vertical Machining Center-ps-Series-vmc. Available online: https://www.makino.com/vertical-machining-centers/ps-series-vmc/ps-brochure-(electronic).pdf (accessed on 29 April 2017).
- KAIROS Machine Tool. ZAYER. Available online: http://www.zayer.com/en/product/movingcolumn/kairos/25 (accessed on 25 April 2017).
- Kortaberria, G. Characterization of Large Machine Tool Volumetric Behaviour in Workshop. Available online: https://www.ptb.de/emrp/fileadmin/documents/tim/tim-sharepoint/Meetings/2016-05-18%20Final%20Workshop/Presentations/11_TIM_Workshop_Kortaberria_IK4-TEKNIKER.pdf (accessed on 23 February 2017).
- Wennemer, M. A Case Study on a Very Large Machine Tool: Systematic Deviations and Thermo-Elastic Deformations. Available online: http://downloads.etalon-ag.com/Seminar%20Flyer_en%20Druck.pdf (accessed on 5 February 2017).
- Good Practice Guide for Assessing the Fitness for Purpose for Dimensional Measurements on Machine Tool; PTB: Braunschweig, Germany, 2014.
- Metrology Solutions for Productive Process Control. Renishaw. Available online: http://resources.renishaw.com/en/details/brochure-metrology-solutions-for-productive-process-control--47618 (accessed on 23 June 2017).



















| Kinematic Resistive Probe | Strain Gauge Probe | |
|---|---|---|
| Pros | Simple mechanism Low mass (so low inertia at the triggering instant) Cost-effective Easy to retrofit to all types of CMM | Improved repeatability Low and almost uniform pre-travel variations in all directions More accurate measurements Low bending deflection (leading low hysteresis) Low trigger force Support much longer styli |
| Cons | Directional dependent pre-travel variation Micro-degradation of contact surfaces Exhibit re-seat failures over time Limiting the length of stylus Resistance through the contact elements as the means to sense trigger | Extra mass (filtering circuitry) Expensive |
| Error Source | Significance | |||||
|---|---|---|---|---|---|---|
| 0–10 µm | 10–100 µm | 100–1000 µm | ||||
| Accuracy | ||||||
| Machine tool geometry | ||||||
| Touch probe | ||||||
| Repeatability | ||||||
| MT repeatability | ||||||
| Temperature effect | ||||||
| Other effects | ||||||
| Resolution | ||||||
| Error Source | Significance | |||||||
|---|---|---|---|---|---|---|---|---|
| 0–10 µm | 10–100 µm | 100–1000 µm | ||||||
| Accuracy | ||||||||
| Machine tool geometry | ||||||||
| Touch probe | ||||||||
| Repeatability | ||||||||
| MT repeatability | ||||||||
| Temperature effect | ||||||||
| Other effects | ||||||||
| Resolution | ||||||||
© 2017 by the authors. Licensee MDPI, Basel, Switzerland. This article is an open access article distributed under the terms and conditions of the Creative Commons Attribution (CC BY) license (http://creativecommons.org/licenses/by/4.0/).
Share and Cite
Mutilba, U.; Gomez-Acedo, E.; Kortaberria, G.; Olarra, A.; Yagüe-Fabra, J.A. Traceability of On-Machine Tool Measurement: A Review. Sensors 2017, 17, 1605. https://doi.org/10.3390/s17071605
Mutilba U, Gomez-Acedo E, Kortaberria G, Olarra A, Yagüe-Fabra JA. Traceability of On-Machine Tool Measurement: A Review. Sensors. 2017; 17(7):1605. https://doi.org/10.3390/s17071605
Chicago/Turabian StyleMutilba, Unai, Eneko Gomez-Acedo, Gorka Kortaberria, Aitor Olarra, and Jose A. Yagüe-Fabra. 2017. "Traceability of On-Machine Tool Measurement: A Review" Sensors 17, no. 7: 1605. https://doi.org/10.3390/s17071605
APA StyleMutilba, U., Gomez-Acedo, E., Kortaberria, G., Olarra, A., & Yagüe-Fabra, J. A. (2017). Traceability of On-Machine Tool Measurement: A Review. Sensors, 17(7), 1605. https://doi.org/10.3390/s17071605

