A Microfluidic pH Measurement Device with a Flowing Liquid Junction
Abstract
:1. Introduction
2. Materials and Methods
2.1. Measurement Principle
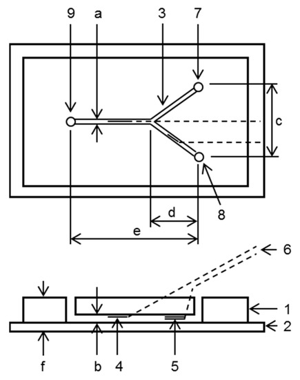
2.2. Fabrication of the Microfluidic pH Measurement Device
2.3. Measurement System
2.4. Measurements, Calibration, and Evaluation of Linearity
2.5. Evaluation of Response Times and Measurement Accuracy
2.6. Preparation of the Solutions
3. Results
3.1. Calibration and the Evaluation Of Linearity
3.2. Response Time
3.3. pH Measurement and Evaluation of Measurement Accuracy
4. Discussion
4.1. Response Time and Mechanism of Reduction
4.2. Measurement Accuracy
4.3. Advantages of the Present Device
4.4. Considerable Application of the Present Device
4.5. Prospects for Improving the Device
5. Conclusions
Acknowledgments
Author Contributions
Conflicts of Interest
References
- Haber, F.; Klemensiewicz, Z. Über Elektrische Phasengrenzkräfte. Z. Phys. Chem. 1909, 67, 385–431. [Google Scholar] [CrossRef]
- Bergveld, P. Development of an ion-sensitive solid-state device for neurophysiological measurements. IEEE Trans. Biomed. Eng. 1970, BME-17, 70–71. [Google Scholar] [CrossRef]
- Bergveld, P. Thirty years of ISFETOLOGY what happened in the past 30 years and what may happen in the next 30 years. Sens. Actuators B Chem. 2003, 88, 1–20. [Google Scholar] [CrossRef]
- Kakiuchi, T. Salt bridge in electroanalytical chemistry: past, present, and future. J. Solid State Electrochem. 2011, 15, 1661–1671. [Google Scholar] [CrossRef]
- Covington, A.K.; Whalley, P.D.; Davison, W. Procedures for the measurement of pH in low ionic strength solutions including freshwater. Analyst 1983, 108, 1528–1532. [Google Scholar] [CrossRef]
- Covington, A.K.; Rebelo, M.J.F. Reference electrodes and liquid junction effects in ion-selective electrode potentiometry. Ion-Sel. Electrode Rev. 1983, 5, 93–128. [Google Scholar]
- Tower, O.F. Ueber potentialdifferenzen an den berührungsflächen verdünnter lösungen. Z. Phys. Chem. 1896, 20, 198–206. [Google Scholar] [CrossRef]
- Lamb, A.B.; Larson, A.T. Reproducible liquid junction potentials: The flowing junction. J. Am. Chem. Soc. 1920, 42, 229–237. [Google Scholar] [CrossRef]
- MacInnes, D.A.; Yeh, Y.L. The potentials at the junctions of monovalent chloride solutions. J. Am. Chem. Soc. 1921, 43, 2563–2573. [Google Scholar] [CrossRef]
- Scatchard, G. The activities of strong electrolytes. III. The use of the flowing junction to study the liquid junction potential between dilute hydrochloric acid and saturated potassium chloride solutions; and the revision of some single-electrode potentials. J. Am. Chem. Soc. 1925, 47, 696–709. [Google Scholar] [CrossRef]
- Metcalf, R.C. Accuracy of ross pH combination electrodes in dilute sulphuric acid standards. Analyst 1987, 112, 1573–1577. [Google Scholar] [CrossRef]
- Yamada, A.; Mohri, S.; Nakamura, M.; Naruse, K. Optimizing the conditions for pH measurement with an automated pH measurement system using a flow-through-type differential sensor probe consisting of pH-FETs. J. Robot. Mechatron. 2010, 22, 197–203. [Google Scholar] [CrossRef]
- Mohri, S.; Nakamura, M.; Naruse, K. Automation of pH measurement using a flow-through type differential pH sensor system based on pH-FET. IEEJ Trans. Sens. Micromach. 2007, 127, 367–370. [Google Scholar] [CrossRef]
- Yamada, A.; Mohri, S.; Nakamura, M.; Naruse, K. A fully automated pH measurement system for 96-well microplates using a semiconductor-based pH sensor. Sens. Actuators B Chem. 2010, 143, 464–469. [Google Scholar] [CrossRef]
- Yamada, A.; Mohri, S.; Nakamura, M.; Naruse, K. A Simple method for decreasing the liquid junction potential in a flow-through-type differential pH sensor probe consisting of pH-FETs by exerting spatiotemporal control of the liquid junction. Sensors 2015, 15, 7898–7912. [Google Scholar] [CrossRef] [PubMed]
- Sia, S.K.; Whitesides, G.M. Microfluidic devices fabricated in poly (dimethylsiloxane) for biological studies. Electrophoresis 2003, 24, 3563–3576. [Google Scholar] [CrossRef] [PubMed]
- Yager, P.; Edwards, T.; Fu, E.; Helton, K.; Nelson, K.; Tam, M.R.; Weigl, B.H. Microfluidic diagnostic technologies for global public health. Nature 2006, 442, 412–418. [Google Scholar] [CrossRef] [PubMed]
- Fukuba, T.; Tamai, Y.; Kyo, M.; Shitashima, K.; Koike, Y.; Fujii, T. Development and field evaluation of ISFET pH sensor integrated with self-calibration device for deep-sea oceanography applications. In Proceedings of the 12th International Conference on Miniaturized Systems for Life Sciences, San Diego, CA, USA, 12–16 October 2008; pp. 1983–1985. [Google Scholar]
- Rérolle, V.M.; Floquet, C.F.; Harris, A.J.; Mowlem, M.C.; Bellerby, R.R.; Achterberg, E.P. Development of a colorimetric microfluidic pH sensor for autonomous seawater measurements. Anal. Chim. Acta 2013, 786, 124–131. [Google Scholar] [CrossRef] [PubMed]
- Maruyama, H.; Arai, F.; Fukuda, T. On-Chip pH Measurement Using Functionalized Gel-Microbeads Positioned by Optical Tweezers. Lab Chip 2008, 8, 346–351. [Google Scholar] [CrossRef] [PubMed]
- Shimada, K.; Yano, M.; Shibatani, K.; Komoto, Y.; Esashi, M.; Matsuo, T. Application of catheter-tip ISFET for continuous in vivo measurement. Med. Biol. Eng. Comput. 1980, 18, 741–745. [Google Scholar] [CrossRef] [PubMed]
- Nakatsuka, T.; Nakamura, M.; Sano, T. Applications of hydrogen ion sensitive FET to the kinetic study of fast reaction in solution. Bull. Chem. Soc. Jpn. 1988, 61, 799–802. [Google Scholar] [CrossRef]
- Guggenheim, E.A. A study of cells with liquid-liquid junctions. J. Am. Chem. Soc. 1930, 52, 1315–1337. [Google Scholar] [CrossRef]










| Number | Solution (True Value) | ΔΔV (mV) | pH | Error of pH | Calibration * |
|---|---|---|---|---|---|
| 1 | 1.68 | 236.03 | 1.644 | 0.036 | 1 |
| 2 | (1.68) | 233.22 | 1.658 | 0.022 | 2 |
| 3 | 234.44 | 1.634 | 0.046 | 2 | |
| 4 | 236.03 | 1.602 | 0.078 | 2 | |
| 5 | 235.72 | 1.608 | 0.072 | 2 | |
| 6 | 4.01 | 117.86 | 3.960 | 0.050 | 1 |
| 7 | (4.01) | 116.27 | 3.960 | 0.050 | 2 |
| 8 | 115.24 | 3.982 | 0.028 | 2 | |
| 9 | 115.48 | 3.977 | 0.033 | 2 | |
| 10 | 117.49 | 3.937 | 0.073 | 2 | |
| 11 | 6.86 | −33.45 | 6.925 | −0.065 | 1 |
| 12 | (6.86) | −33.94 | 6.921 | −0.061 | 2 |
| 13 | −35.71 | 6.955 | −0.095 | 2 | |
| 14 | −32.53 | 6.893 | −0.033 | 2 | |
| 15 | −34.97 | 6.941 | −0.081 | 2 | |
| 16 | 7.41 | −62.81 | 7.501 | −0.091 | 1 |
| 17 | (7.41) | −61.89 | 7.471 | −0.061 | 2 |
| 18 | −63.78 | 7.509 | −0.099 | 2 | |
| 19 | −59.39 | 7.422 | −0.012 | 2 | |
| 20 | −60.98 | 7.453 | −0.043 | 2 | |
| 21 | 9.18 | −139.89 | 9.012 | 0.168 | 1 |
| 22 | (9.18) | −138.98 | 8.990 | 0.190 | 2 |
| 23 | −139.47 | 9.000 | 0.180 | 2 | |
| 24 | −142.21 | 9.054 | 0.126 | 2 | |
| 25 | −141.66 | 9.043 | 0.137 | 2 | |
| 26 | 10.01 | −193.30 | 10.06 | −0.049 | 1 |
| 27 | (10.01) | −190.98 | 10.01 | −0.004 | 2 |
| 28 | −194.28 | 10.08 | −0.069 | 2 | |
| 29 | −192.69 | 10.05 | −0.038 | 2 | |
| 30 | −191.53 | 10.03 | −0.015 | 2 | |
| 31 | 4.01/100 | 75.99 | 4.696 | −0.097 | 3 |
| 32 | (4.599) | 77.27 | 4.670 | −0.071 | 3 |
| 33 | 82.52 | 4.562 | 0.037 | 3 | |
| 34 | 76.30 | 4.690 | −0.091 | 3 | |
| 35 | 6.86/100 | −35.10 | 6.984 | 0.075 | 3 |
| 36 | (7.059) | −31.01 | 6.900 | 0.159 | 3 |
| 37 | −33.26 | 6.947 | 0.112 | 3 | |
| 38 | −35.28 | 6.988 | 0.071 | 3 | |
| 39 | 9.18/100 | −44.92 | 7.187 | 0.186 | 3 |
| 40 | (7.373) | −45.59 | 7.201 | 0.172 | 3 |
| 41 | −43.70 | 7.162 | 0.211 | 3 | |
| 42 | −44.13 | 7.171 | 0.202 | 3 | |
| Averaged Error of pH ± S.D. | |||||
| 1–42 (all) | 0.0343 ± 0.0974 | ||||
| 1–30 (Non-diluted) | 0.0158 ± 0.0849 | ||||
| 31–42 (Diluted) | 0.0806 ± 0.115 | ||||
© 2017 by the authors. Licensee MDPI, Basel, Switzerland. This article is an open access article distributed under the terms and conditions of the Creative Commons Attribution (CC BY) license (http://creativecommons.org/licenses/by/4.0/).
Share and Cite
Yamada, A.; Suzuki, M. A Microfluidic pH Measurement Device with a Flowing Liquid Junction. Sensors 2017, 17, 1563. https://doi.org/10.3390/s17071563
Yamada A, Suzuki M. A Microfluidic pH Measurement Device with a Flowing Liquid Junction. Sensors. 2017; 17(7):1563. https://doi.org/10.3390/s17071563
Chicago/Turabian StyleYamada, Akira, and Miho Suzuki. 2017. "A Microfluidic pH Measurement Device with a Flowing Liquid Junction" Sensors 17, no. 7: 1563. https://doi.org/10.3390/s17071563
APA StyleYamada, A., & Suzuki, M. (2017). A Microfluidic pH Measurement Device with a Flowing Liquid Junction. Sensors, 17(7), 1563. https://doi.org/10.3390/s17071563
