Fabrication of Calix[4]arene Derivative Monolayers to Control Orientation of Antibody Immobilization
Abstract
:1. Introduction
2. Results and Discussion
2.1. Characterization of Calixaren[4]arene (Cal-4) Derivatives Self-Assembled Monolayer (SAM) on the Gold Surface
2.2. Characterization of Cal-4 Derivatives SAM on the Gold Surface
2.3. Antibody Orientation on the Cal-4 Derivatives SAM
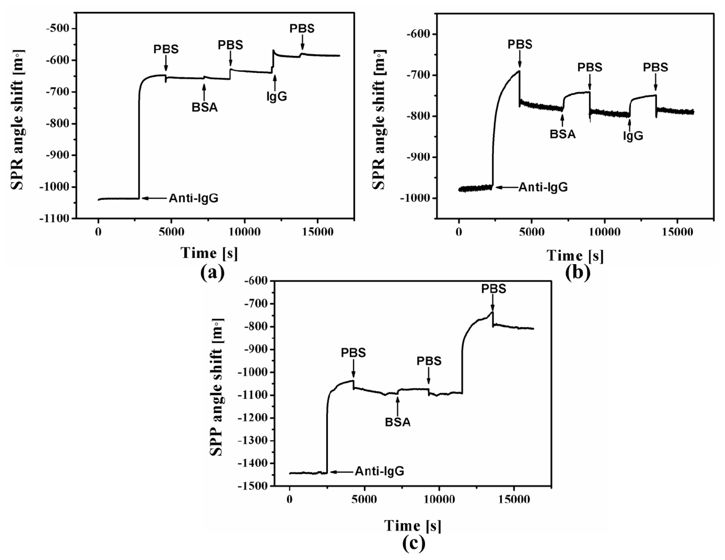
2.4. Immunoactivity of Antibody Immobilized on the Cal-4 Derivative SAMs
2.5. Mechanism of Ab Oriented on the Calixarene SAMs
3. Experimental Section
3.1. Materials and Reagents
3.2. Synthesis and Characterization of Cal-4 Derivatives
3.3. Formation of Cal-4 Derivative SAM
3.4. Optimal Concentration of Antibody for Immobilization
3.5. Antibody Interaction with Antigen
4. Conclusions
Supplementary Information
ijms-15-05496-s001.pdfAcknowledgments
Conflicts of Interest
References
- Mouri, M.; Ikawa, T.; Narita, M.; Hoshino, F.; Watanabe, O. Orientation control of photo-immobilized antibodies on the surface of azobenzene-containing polymers by the introduction of functional groups. Macromol. Biosci 2010, 10, 612–620. [Google Scholar]
- Chen, S.F.; Liu, L.Y.; Zhou, J.; Jiang, S.Y. Controlling antibody orientation on charged self-assembled monolayers. Langmuir 2003, 19, 2859–2864. [Google Scholar]
- Tumcharern, G.; Tuntulani, T.; Coles, S.J.; Hursthouse, M.B.; Kilburn, J.D. A novel ditopic receptor and reversal of anion binding selectivity in the presence and absence of bound cation. Org. Lett 2003, 5, 4971–4974. [Google Scholar]
- Perret, F.; Coleman, A.W. Biochemistry of anionic calix[n]arenas. Chem. Commun 2011, 47, 7303–7319. [Google Scholar]
- Evans, A.J.; Beer, P.D. Potassium cation cooperative anion recognition by heteroditopic calix[4]arene bis(benzo-15-crown-5) receptor molecules. Dalton Trans 2003, 2003, 4451–4456. [Google Scholar]
- Laurent, F.A.N.; Celine, G.; Antoine, L.; Anthony, W.C.; Thomas, P.; Sandrine, M.; Helene, B.C. Magnesium dependent complexation of tri-anionic calix[4]arene detergents by the nucleotide binding domain 1 (NBD1) of multidrug resistance protein MRP1. New J. Chem 2010, 34, 1812–1815. [Google Scholar]
- Oh, S.W.; Moon, J.D.; Lim, H.J.; Park, S.V.; Kim, T.; Park, J.; Han, M.H.; Snyder, M.; Choi, E.Y. Calixarene derivative as a tool for highly sensitive detection and oriented immobilization of proteins in a microarray format through noncovalent molecular interaction. FASEB J 2005, 19, 1335–1337. [Google Scholar]
- Chen, H.X.; Lee, M.; Choi, S.W.; Kim, J.H.; Choi, H.J.; Kim, S.H.; Lee, J.; Koh, K. Comparative study of protein immobilization properties on calixarene monolayers. Sensors 2007, 7, 1091–1107. [Google Scholar]
- Lee, Y.; Lee, E.K.; Cho, Y.M.; Matsui, T.; Kang, I.C.; Kim, T.S.; Han, M.H. ProteoChip: A highly sensitive protein microarray prepared by a novel method of protein immobilization for application of protein-protein interaction studies. Proteomics 2003, 3, 2289–2304. [Google Scholar]
- Sasakura, Y.; Kanda, K.; Yoshimura-Suzuki, T.; Matsui, T.; Fukuzono, S.; Han, M.H.; Shimizu, T. Protein microarray system for detecting protein-protein interactions using an anti-His-tag antibody and fluorescence scanning: Effects of the heme redox state on protein-protein interactions of heme-regulated phosphodiesterase fromEscherichia coli. Anal. Chem 2004, 76, 6521–6527. [Google Scholar]
- Chen, H.X.; Huang, J.Y.; Lee, J.; Hwang, S.; Koh, K. Surface plasmon resonance spectroscopic characterization of antibody orientation and activity on the calixarene monolayer. Sens. Actuators B Chem 2010, 147, 548–553. [Google Scholar]
- Chen, H.X.; Lee, J.; Jo, W.S.; Jeong, M.H.; Koh, K. Development of surface plasmon resonance immunosensor for the novel protein immunostimulating factor. Microchim. Acta 2011, 172, 171–176. [Google Scholar]
- Gorodkiewicz, E.; Ostrowska, H.; Sankiewicz, A. SRP imaging biosensor for the 20S proteasome: Sensor development and application to measurement of proteasomes in human blood plasma. Microchim. Acta 2011, 175, 177–184. [Google Scholar]
- Green, R.J.; Davies, J.; Davies, M.C.; Roberts, C.J.; Tendler, S.J.B. Surface plasmon resonance for real-time in situ analysis of protein adsorption to polymer surfaces. Biomaterials 1997, 18, 405–413. [Google Scholar]
- Green, R.J.; Davies, M.C.; Roberts, C.J.; Tendler, S.J.B. Competitive protein adsorption as observed by surface plasmon resonance. Biomaterials 1999, 20, 385–391. [Google Scholar]
- Caruso, F.; Furlong, D.E.; Kingshott, P. Characterization of ferritin adsorption onto gold. J. Colloid Interface Sci 1997, 186, 129–140. [Google Scholar]
- Peluso, P.; Wilson, D.S.; Do, D.; Tran, H.; Venkatasubbaiah, M.; Quincy, D.; Heidecker, B.; Poindexter, K.; Tolani, N.; Phelan, M.; et al. Optimizing antibody immobilization strategies for the construction of protein microarrays. Anal. Biochem 2003, 312, 113–124. [Google Scholar]
- Whitesides, G.M.; Laibinis, P.E. Wet chemical approaches to the characterization of organic surfaces: Self-assembled monolayers, wetting, and the physical-organic chemistry of the solid-liquid interface. Langmuir 1990, 6, 87–96. [Google Scholar]
- Bryant, M.A.; Pemberton, J.E. Surface Raman scattering of self-assembled monolayers formed from 1-alkanethiols: Behavior of films at gold and comparison to films at silver. J. Am. Chem. Soc 1991, 113, 8284–8293. [Google Scholar]
- Bard, A.J.; Faulkner, L.R. Electrochemical Methods: Fundamentals and Applications; John Wiley & Sons: New York, NY, USA, 2001; p. 239. [Google Scholar]
- Walczak, M.M.; Popenoe, D.D.; Deinhammer, R.S.; Lamp, B.D.; Chung, C.; Porter, M.D. Reductive desorption of alkanethiolate monolayers at gold: A measure of surface coverage. Langmuir 1991, 7, 2687–2693. [Google Scholar]
- Elgersma, A.V.; Zsom, R.L.J.; Norde, W.; Lyklema, J. The adsorption of different types of monoclonal immunoglobulin on positively and negatively charged polystyrene lattices. Colloids Surf 1991, 54, 89–101. [Google Scholar]
- Xu, H.; Lu, J.R.; Williams, D.E. Effect of surface packing density of interfacially adsorbed monoclonal antibody on the binding of hormonal antigen human chorionic gonadotrophin. J. Phys. Chem. B 2006, 110, 1907–1914. [Google Scholar]
- Bagchi, P.; Birnbaum, S.M. Effect of pH on the adsorption of immunoglobulin G on anionic poly(vinyltoluene) model latex particles. J. Colloid Interface Sci 1981, 83, 460–478. [Google Scholar]
- Zhou, J.; Tsao, H.K.; Sheng, Y.J.; Jiang, S. Monte Carlo simulations of antibody adsorption and orientation on charged surfaces. J. Chem. Phys 2004, 121, 1050–1057. [Google Scholar]
- Iki, N.; Narumi, F.; Fujimoto, T.; Morohashi, N.; Miyano, S. Selective synthesis of three conformational isomers of tetrakis[(ethoxycarbonyl)methoxy]thiacalix[4]arene and their complexation properties towards alkali metal ions. J. Chem. Soc. Perkin Trans 1998, 2, 2745–2750. [Google Scholar]
- Chen, H.X.; Gal, Y.S.; Kim, S.H.; Choi, H.J.; Oh, M.C.; Lee, J.; Koh, K. Potassium ion sensing using a self-assembled calix[4]crown monolayer by surface plasmon resonance. Sens. Actuators B Chem 2008, 133, 577–581. [Google Scholar]
- Chen, H.; Lee, M.; Lee, J.; An, W.G.; Choi, H.J.; Kim, S.H.; Koh, K. Building a novel vitronectin assay by immobilization of integrin on calixarene monolayer. Talanta 2008, 75, 99–103. [Google Scholar]







| Layer& Immunoactivity | Cal-4 Derivative 1 | Cal-4 Derivative 2 | Cal-4 Derivative 3 | |||
|---|---|---|---|---|---|---|
| Direct | Indirect | Direct | Indirect | Direct | Indirect | |
| Anti-IgG | 379.9 | 350.9 | 190.5 | 248.5 | 420 | 320 |
| IgG | 51.4 | 230.8 | 7.2 | 162.7 | 349.9 | 265.9 |
| Immunoactivity | 13.5% | 65.8% | 3.7% | 65.5% | 83.3% | 83.1% |
© 2014 by the authors; licensee MDPI, Basel, Switzerland This article is an open access article distributed under the terms and conditions of the Creative Commons Attribution license (http://creativecommons.org/licenses/by/3.0/).
Share and Cite
Chen, H.; Liu, F.; Qi, F.; Koh, K.; Wang, K. Fabrication of Calix[4]arene Derivative Monolayers to Control Orientation of Antibody Immobilization. Int. J. Mol. Sci. 2014, 15, 5496-5507. https://doi.org/10.3390/ijms15045496
Chen H, Liu F, Qi F, Koh K, Wang K. Fabrication of Calix[4]arene Derivative Monolayers to Control Orientation of Antibody Immobilization. International Journal of Molecular Sciences. 2014; 15(4):5496-5507. https://doi.org/10.3390/ijms15045496
Chicago/Turabian StyleChen, Hongxia, Feng Liu, Fangjie Qi, Kwangnak Koh, and Keming Wang. 2014. "Fabrication of Calix[4]arene Derivative Monolayers to Control Orientation of Antibody Immobilization" International Journal of Molecular Sciences 15, no. 4: 5496-5507. https://doi.org/10.3390/ijms15045496
APA StyleChen, H., Liu, F., Qi, F., Koh, K., & Wang, K. (2014). Fabrication of Calix[4]arene Derivative Monolayers to Control Orientation of Antibody Immobilization. International Journal of Molecular Sciences, 15(4), 5496-5507. https://doi.org/10.3390/ijms15045496
