Screen-Printed Carbon Electrodes Modified with Cobalt Phthalocyanine for Selective Sulfur Detection in Cosmetic Products
Abstract
:1. Introduction
2. Results and Discussion
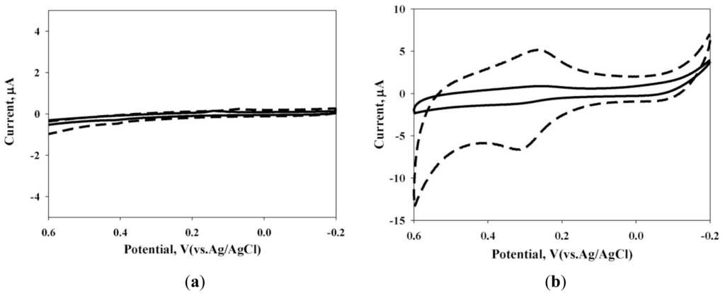
2.1. Basic Electrochemical Studies
2.2. Flow Injection Analysis
2.3. Practical Application
3. Experimental
3.1. Materials and Instruments
3.2. Electrode Preparation
3.3. Flow Injection Analysis (Figure 8)
3.4. Preparation of Sample Solutions
3.5. Determination of Sulfur by Photometry
4. Conclusions
Acknowledgments
References
- Gupta, AK; Nicol, K. The use of sulfur in dermatology. J. Drugs Dermatol 2004, 3, 427–431. [Google Scholar]
- Topical Antimicrobial Drug Products for Over-the-Counter Human Use; U.S. Government Printing Office: Washington, DC, USA. Available online: http://edocket.access.gpo.gov/cfr_2006/aprqtr/pdf/21cfr333.310.pdf accessed on 9 June 2011.
- Annex VIII ASEAN Handbook of Cosmetic Ingredients; Association of Southeast Asian Nations: Jakarta, Indonesia. Available online: http://www.aseansec.org/cosmetic/20.doc accessed on 9 June 2011.
- Dash, K; Thangavel, S; Krishnamurthy, NV; Rao, SV; Karunasagar, D; Arunachalam, J. Ultrasound-assisted analyte extraction for the determination of sulfate and elemental sulfur in zinc sulfide by different liquid chromatography techniques. Analyst 2005, 130, 498–501. [Google Scholar]
- Nageswara Rao, R; Venkateswarlu, N; Vittal Rao, B; Raju, PVK; Krishnaiah, A. Separation and determination of small amounts of sulfur in technical thiophanate-methyl by reversed-phase high-performance liquid chromatography. J. Sep. Sci 2003, 26, 932–934. [Google Scholar]
- Shane, QH; James, RB. Simultaneous multielemental analysis of some environmental and biological samples by inductively coupled plasma atomic emission spectrometry. Anal. Chem 1988, 60, 1033–1042. [Google Scholar]
- Guillong, M; Latkoczy, C; Seo, JH; Gu nther, D; Heinrich, CA. Determination of sulfur in fluid inclusions by laser ablation ICP-MS. J. Anal. At. Spectrom 2008, 23, 1581–1589. [Google Scholar]
- De Azevedo Mello, P; Fagundes Pereira, JS; de Moraes, DP; Dressler, VL; de Moraes Flores, EM; Knapp, G. Nickel, Vanadium and sulfur determination by inductively coupled plasma optical emission spectrometry in crude oil distillation residues after microwave-induced combustion. J. Anal. At. Spectrom 2009, 24, 911–916. [Google Scholar]
- Fernandes, DR; de Aguiar, PF; Miranda, JL; D’Elia, E. Electrochemical determination of elemental sulfur in Brazilian naphtha: Method and validation. J. Appl. Electrochem 2009, 39, 1655–1663. [Google Scholar]
- Serafim, DM; Stradiotto, NR. Determination of sulfur compounds in gasoline using mercury film electrode by square wave voltammetry. Fuel 2008, 87, 1007–1013. [Google Scholar]
- Bower, NW; Gladney, ES; Ferenbaugh, RW. Critical comparison of x-ray fluorescence and combustion-infrared methods for the determination of sulphur in biological matrices. Analyst 1986, 111, 105–106. [Google Scholar]
- Jofré, VP; Assof, MV; Fanzone, ML; Goicoechea, HC; Martínez, LD; Silva, MF. Optimization of ultrasound assisted-emulsification-dispersive liquid-liquid microextraction by experimental design methodologies for the determination of sulfur compounds in wines by gas chromatography-mass spectrometry. Anal. Chim. Acta 2010, 683, 126–135. [Google Scholar]
- Nasr, IN. Gas chromatographic determination of sulfur residues in tomatoes and squash fruits. J. Appl. Sci. Res 2010, 6, 1474–1476. [Google Scholar]
- Pauls, RE. Determination of elemental sulfur in gasoline by gas chromatography with on-column injection and flame ionization detection following derivatization with triphenylphosphine. J. Chromatogr. Sci 2010, 48, 283–288. [Google Scholar]
- Hern, JA; Rueherford, GK; Vanloon, GW. Determination of chloride, nitrate, sulphate and total sulphur in environmental samples by single-column ion chromatography. Talanta 1983, 30, 677–682. [Google Scholar]
- Fabbri, D; Locatelli, C; Tarabusi, S. A new procedure, based on combustion to sulphate and ion chromatography for the analysis of elemental sulphur in sediments. Chromatographia 2001, 53, 119–121. [Google Scholar]
- Chao, Q; Sheng, H; Cheng, X; Ren, T. Determination of sulfur compounds in hydrotreated transformer base oil by potentiometric titration. Anal. Sci 2005, 21, 721–724. [Google Scholar]
- Burgasser, AJ; Singley, KF; Colaruotolo, JF. Determination of sulfur in organic molecules by spectrophotometric titration. Anal. Chem 1977, 49, 1987–1989. [Google Scholar]
- Piech, R; Baś, B; Niewiara, E; Kubiak, WW. Renewable copper and silver amalgam film electrodes of prolonged application for the determination of elemental sulfur using stripping voltammetry. Electroanalysis 2008, 20, 809–815. [Google Scholar]
- Wang, L-H; Chin, C-Y. Determination of sulfur in cosmetic products using ion-selective electrode. J. Anal. Chem 2007, 62, 688–690. [Google Scholar]
- Fadeeva, VP; Vershinin, VI; Kuzmina, EA. Determination of sulfur in organic compounds using a barium-selective electrode. J. Anal. Chem 2008, 63, 775–778. [Google Scholar]
- Moraes, FC; Mascaro, LH; Machado, SAS; Brett, CMA. Direct electrochemical determination of carbaryl using a multi-walled carbon nanotube/cobalt phthalocyanine modified electrode. Talanta 2009, 79, 1406–1411. [Google Scholar]
- Lin, MS; Wang, JS. Determination of an ethylene bisdithiocarbamate based pesticide (Nabam) by cobalt phthalocyanine modified carbon ink electrode. Electroanalysis 2004, 16, 904–909. [Google Scholar]
- Cookeas, EG; Efstathiou, CE. Flow injection-pulse amperometric detection of ephedrine at a cobalt phthalocyanine modified carbon paste electrode. Analyst 2000, 125, 1147–1150. [Google Scholar]
- Shih, Y; Zen, J-M; Kumar, AS; Chen, P-Y. Flow injection analysis of zinc pyrithione in hair care products on a cobalt phthalocyanine modified screen-printed carbon electrode. Talanta 2004, 62, 912–917. [Google Scholar]
- Da Silva, IS; Araujo, MFA; Ferreira, HA; Varela, JDG; Tanaka, SMCN; Tanaka, AA; Angnes, L. Quantification of N-acetylcysteine in pharmaceuticals using cobalt phthalocyanine modified graphite electrodes. Talanta 2011, 83, 1701–1706. [Google Scholar]
- Gligor, D; Dilgin, Y; Popescu, IC; Gorton, L. Poly-phenothiazine derivative-modified glassy carbon electrode for NADH electrocatalytic oxidation. Electrochim. Acta 2009, 54, 3124–3128. [Google Scholar]
- Zen, JM; Kumar, AS; Chen, JC. Electrocatalytic oxidation and sensitive detection of cysteine on a lead ruthenate pyrochlore modified electrode. Anal. Chem 2001, 73, 1169–1175. [Google Scholar]








| Sample * | Original Level Value after Dilution (mg L−1) * | Original Detected Value (mg L−1) | Spiked Value (mg L−1) | Detected Value after Spiked (mg L−1) | Recovery (%) |
|---|---|---|---|---|---|
| #1 ** | 12.84 | 12.48 ± 1.91 | 16 | 29.20 ± 0.34 | 104.52 ± 2.10 |
| 32 | 43.47 ± 1.68 | 96.85 ± 5.24 | |||
| 64 | 79.62 ± 0.33 | 104.93 ± 0.52 | |||
| #2 ** | 16.16 | 16.28 ± 0.75 | 16 | 31.99 ± 0.27 | 98.24 ± 1.69 |
| 32 | 49.49 ± 0.89 | 103.80 ± 2.77 | |||
| 64 | 81.37 ± 2.32 | 101.71 ± 3.62 | |||
© 2011 by the authors; licensee Molecular Diversity Preservation International, Basel, Switzerland. This article is an open-access article distributed under the terms and conditions of the Creative Commons Attribution license (http://creativecommons.org/licenses/by/3.0/).
Share and Cite
Chen, P.-Y.; Luo, C.-H.; Chen, M.-C.; Tsai, F.-J.; Chang, N.-F.; Shih, Y. Screen-Printed Carbon Electrodes Modified with Cobalt Phthalocyanine for Selective Sulfur Detection in Cosmetic Products. Int. J. Mol. Sci. 2011, 12, 3810-3820. https://doi.org/10.3390/ijms12063810
Chen P-Y, Luo C-H, Chen M-C, Tsai F-J, Chang N-F, Shih Y. Screen-Printed Carbon Electrodes Modified with Cobalt Phthalocyanine for Selective Sulfur Detection in Cosmetic Products. International Journal of Molecular Sciences. 2011; 12(6):3810-3820. https://doi.org/10.3390/ijms12063810
Chicago/Turabian StyleChen, Pei-Yen, Chin-Hsiang Luo, Mei-Chin Chen, Feng-Jie Tsai, Nai-Fang Chang, and Ying Shih. 2011. "Screen-Printed Carbon Electrodes Modified with Cobalt Phthalocyanine for Selective Sulfur Detection in Cosmetic Products" International Journal of Molecular Sciences 12, no. 6: 3810-3820. https://doi.org/10.3390/ijms12063810
APA StyleChen, P.-Y., Luo, C.-H., Chen, M.-C., Tsai, F.-J., Chang, N.-F., & Shih, Y. (2011). Screen-Printed Carbon Electrodes Modified with Cobalt Phthalocyanine for Selective Sulfur Detection in Cosmetic Products. International Journal of Molecular Sciences, 12(6), 3810-3820. https://doi.org/10.3390/ijms12063810
