P-x,y Equilibrium Data of the Binary Systems of 2-Propanol, 1-Butanol and 2-Butanol with Carbon Dioxide at 313.15 K and 333.15 K
Abstract
1. Introduction
2. Experimental
2.1. Materials
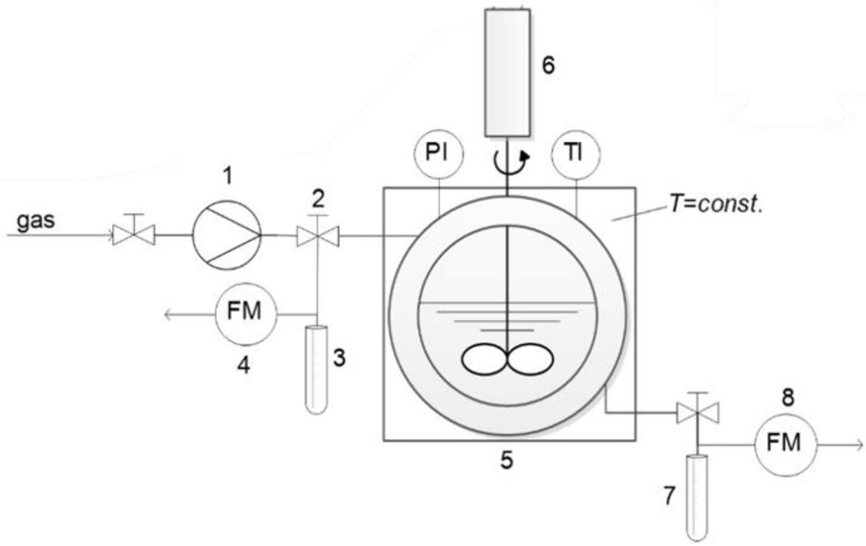
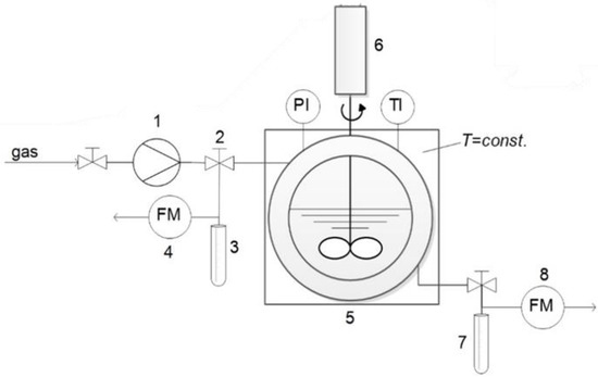
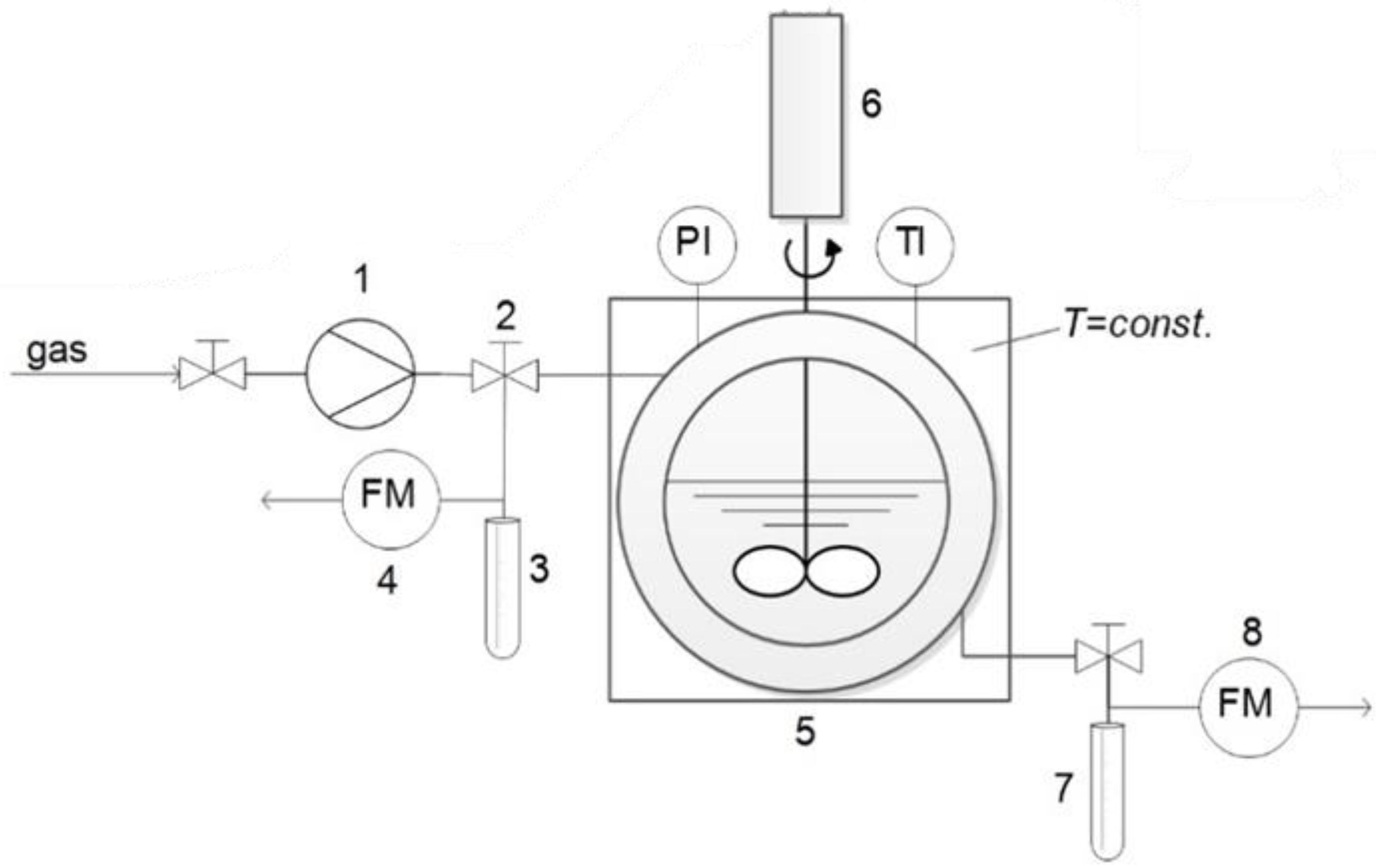
2.2. Apparatus and Procedure
3. Results and Discussion
4. Conclusions
Author Contributions
Funding
Institutional Review Board Statement
Informed Consent Statement
Data Availability Statement
Acknowledgments
Conflicts of Interest
References
- Radosz, M. Vapor-Liquid Equilibrium for 2-Propanol and Carbon Dioxide. Available online: https://pubs.acs.org/doi/pdf/10.1021/je00043a014 (accessed on 6 October 2022).
- Secuianu, C.; Feroiu, V.; Geană, D. Phase Behavior for Carbon Dioxide+ethanol System: Experimental Measurements and Modeling with a Cubic Equation of State. J. Supercrit. Fluids 2008, 47, 109–116. [Google Scholar] [CrossRef]
- Tochigi, K.; Namae, T.; Suga, T.; Matsuda, H.; Kurihara, K.; dos Ramos, M.C.; McCabe, C. Measurement and Prediction of High-Pressure Vapor–Liquid Equilibria for Binary Mixtures of Carbon Dioxide+n-Octane, Methanol, Ethanol, and Perfluorohexane. J. Supercrit. Fluids 2010, 55, 682–689. [Google Scholar] [CrossRef]
- Wisniak, J.; Ortega, J.; Fernández, L. A Fresh Look at the Thermodynamic Consistency of Vapour-Liquid Equilibria Data. J. Chem. Thermodyn. 2017, 105, 385–395. [Google Scholar] [CrossRef]
- Knez, Ž.; Markočič, E.; Leitgeb, M.; Primožič, M.; Knez Hrnčič, M.; Škerget, M. Industrial Applications of Supercritical Fluids: A Review. Energy 2014, 77, 235–243. [Google Scholar] [CrossRef]
- Ramsauer, B.; Neueder, R.; Kunz, W. Isobaric Vapour–Liquid Equilibria of Binary 1-Propoxy-2-Propanol Mixtures with Water and Alcohols at Reduced Pressure. Fluid Phase Equilibria 2008, 272, 84–92. [Google Scholar] [CrossRef]
- Zhang, L.; Xu, D.; Gao, J.; Zhao, L.; Zhang, Z.; Li, C. Measurements and Correlations of Density, Viscosity, and Vapour-Liquid Equilibrium for Fluoro Alcohols. J. Chem. Thermodyn. 2016, 102, 155–163. [Google Scholar] [CrossRef]
- Bogel-Łukasik, R.; Matkowska, D.; Bogel-Łukasik, E.; Hofman, T. Isothermal Vapour–Liquid Equilibria in the Binary and Ternary Systems Consisting of an Ionic Liquid, 1-Propanol and CO2. Fluid Phase Equilibria 2010, 293, 168–174. [Google Scholar] [CrossRef]
- Cristino, A.F.; Rosa, S.; Morgado, P.; Galindo, A.; Filipe, E.J.M.; Palavra, A.M.F.; Nieto de Castro, C.A. High-Temperature Vapour–Liquid Equilibrium for the Water–Alcohol Systems and Modeling with SAFT-VR: 1. Water–Ethanol. Fluid Phase Equilibria 2013, 341, 48–53. [Google Scholar] [CrossRef]
- Gutiérrez, J.E.; Bejarano, A.; Fuente, J.C. de la Measurement and Modeling of High-Pressure (Vapour+liquid) Equilibria of (CO2+alcohol) Binary Systems. J. Chem. Thermodyn. 2010, 42, 591–596. [Google Scholar] [CrossRef]
- Kettler, M.; Nezbeda, I.; Chialvo, A.A.; Cummings, P.T. Effect of the Range of Interactions on the Properties of Fluids. Phase Equilibria in Pure Carbon Dioxide, Acetone, Methanol, and Water|The Journal of Physical Chemistry B. J. Phys. Chem. B 2002, 106, 7537–7546. [Google Scholar] [CrossRef]
- Yu, C.-H.; Lin, Y.-J.; Wong, D.S.-H.; Bruno, J.C.; Chen, C.-C. Modeling Fluid Phase Equilibria of Carbon Dioxide-Methanol Binary System. Fluid Phase Equilibria 2021, 529, 112866. [Google Scholar] [CrossRef]
- Naidoo, P.; Ramjugernath, D.; Raal, J.D. A New High-Pressure Vapour–Liquid Equilibrium Apparatus. Fluid Phase Equilibria 2008, 269, 104–112. [Google Scholar] [CrossRef]
- Kariznovi, M.; Nourozieh, H.; Abedi, J. Experimental Measurements and Predictions of Density, Viscosity, and Carbon Dioxide Solubility in Methanol, Ethanol, and 1-Propanol. J. Chem. Thermodyn. 2013, 57, 408–415. [Google Scholar] [CrossRef]
- Maeta, Y.; Ota, M.; Sato, Y.; Smith, R.L.; Inomata, H. Measurements of Vapor–Liquid Equilibrium in Both Binary Carbon Dioxide–Ethanol and Ternary Carbon Dioxide–Ethanol–Water Systems with a Newly Developed Flow-Type Apparatus. Fluid Phase Equilibria 2015, 405, 96–100. [Google Scholar] [CrossRef]
- Joung, S.N.; Yoo, C.W.; Shin, H.Y.; Kim, S.Y.; Yoo, K.-P.; Lee, C.S.; Huh, W.S. Measurements and Correlation of High-Pressure VLE of Binary CO2–Alcohol Systems (Methanol, Ethanol, 2-Methoxyethanol and 2-Ethoxyethanol). Fluid Phase Equilibria 2001, 185, 219–230. [Google Scholar] [CrossRef]
- Fourie, F.C.v.N.; Schwarz, C.E.; Knoetze, J.H. Phase Equilibria of Alcohols in Supercritical Fluids: Part I. The Effect of the Position of the Hydroxyl Group for Linear C8 Alcohols in Supercritical Carbon Dioxide. J. Supercrit. Fluids 2008, 47, 161–167. [Google Scholar] [CrossRef]
- Schwarz, C.E.; Fourie, F.C.v.N.; Knoetze, J.H. Phase Equilibria of Alcohols in Supercritical Fluids Part II. The Effect of Side Branching on C8 Alcohols in Supercritical Carbon Dioxide-ScienceDirect. J. Supercrit. Fluids 2009, 51, 128–135. [Google Scholar] [CrossRef]
- Lu, J.; Boughner, E.C.; Liotta, C.L.; Eckert, C.A. Nearcritical and Supercritical Ethanol as a Benign Solvent: Polarity and Hydrogen-Bonding. Fluid Phase Equilibria 2002, 198, 37–49. [Google Scholar] [CrossRef]
- Rónyai, E.; Simándi, B.; Tömösközi, S.; Deák, A.; Vigh, L.; Weinbrenner, Z. Supercritical Fluid Extraction of Corn Germ with Carbon Dioxide–Ethyl Alcohol Mixture. J. Supercrit. Fluids 1998, 14, 75–81. [Google Scholar] [CrossRef]
- NIST Chemistry WebBook, NIST Standard Reference Database Number 69. Available online: https://webbook.nist.gov/chemistry/ (accessed on 22 April 2021).
- Lim, J.S.; Jung, Y.G.; Yoo, K.-P. High-Pressure Vapor−Liquid Equilibria for the Binary Mixtures of Carbon Dioxide + Isopropanol (IPA). J. Chem. Eng. Data 2007, 52, 2405–2408. [Google Scholar] [CrossRef]
- Seciuanu, C.; Feroiu, V.; Geana, D. High-Pressure Phase Equilibria for the Carbon Dioxide + Methanol and Carbon Dioxide + Isopropanol Systems. Rev. Chim. 2003, 54, 874–879. [Google Scholar]
- Borjan, D.; Cör, D.; Knez Marevci, M.; Grčar, I.; Knez, Ž. Phase Equilibrium Data of Tetrabutylurea, Tetramethylurea, and Tetramethylthiourea/Carbon Dioxide at Pressures up to 200 Bar at 313.15 and 333.15 K. J. Chem. Eng. Data 2022, 67, 2378–2383. [Google Scholar] [CrossRef]
- Cör, D.; Škerget, M.; Knez, Ž. Solubility of β-Carotene and Glyceryl Trioleate Mixture in Supercritical CO2. J. Chem. Eng. Data 2014, 59, 653–658. [Google Scholar] [CrossRef]
- Trupej, N.; Škerget, M.; Petek, O.; Cör, D.; Knez, Ž. Thermodynamic Data for Processing Naphthol with Supercritical Carbon Dioxide. J. Chem. Eng. Data 2017, 62, 1223–1231. [Google Scholar] [CrossRef]
- Secuianu, C.; Feroiu, V.; Geana, D. High-Pressure Phase Equilibria for the Carbon Dioxide + 1-Propanol System. J. Chem. Eng. Data 2008, 53, 2444–2448. [Google Scholar] [CrossRef]
- Kim, J.-S.; Yoon, J.-H.; Lee, H. High-Pressure Phase Equilibria for Carbon Dioxide-2-Methyl-2-Propanol and Carbon Dioxide-2-Methyl-2-Propanol—Water: Measurement and Prediction. Fluid Phase Equilibria 1994, 101, 237–245. [Google Scholar] [CrossRef]
- Secuianu, C.; Feroiu, V.; Geanǎ, D. High-Pressure Vapor−Liquid Equilibria in the System Carbon Dioxide + 1-Butanol at Temperatures from (293.15 to 324.15) K. J. Chem. Eng. Data 2004, 49, 1635–1638. [Google Scholar] [CrossRef]
- Chen, H.-I.; Chang, H.-Y.; Chen, P.-H. High-Pressure Phase Equilibria of Carbon Dioxide + 1-Butanol, and Carbon Dioxide + Water + 1-Butanol Systems|Journal of Chemical & Engineering Data. Available online: https://pubs.acs.org/doi/abs/10.1021/je010237q (accessed on 26 October 2021).
- NguyenHuynh, D.; Passarello, J.-P.; de Hemptinne, J.-C.; Volle, F.; Tobaly, P. Simultaneous Modeling of VLE, LLE and VLLE of CO2 and 1, 2, 3 and 4 Alkanol Containing Mixtures Using GC-PPC-SAFT EOS. J. Supercrit. Fluids 2014, 95, 146–157. [Google Scholar] [CrossRef]
- Raeissi, S.; Haghbakhsh, R.; Florusse, L.J.; Peters, C.J. Solubility of Carbon Dioxide in Secondary Butyl Alcohol at High Pressures: Experimental and Modeling with CPA. J. Solut. Chem. 2015, 44, 1555–1567. [Google Scholar] [CrossRef]
- Oliveira, M.B.; Queimada, A.J.; Kontogeorgis, G.M.; Coutinho, J.A.P. Evaluation of the CO2 Behavior in Binary Mixtures with Alkanes, Alcohols, Acids and Esters Using the Cubic-Plus-Association Equation of State. J. Supercrit. Fluids 2011, 55, 876–892. [Google Scholar] [CrossRef]
- Smith, S.A.M.; Cripwell, J.T.; Schwarz, C.E. Accounting for Quadrupolar Interactions in the CPA Equation of State: A Modelling Approach for Binary Mixtures of CO2 or Benzene with n-Alkanes and 1-Alkanols. Fluid Phase Equilibria 2021, 528, 112848. [Google Scholar] [CrossRef]
- Tsivintzelis, I.; Kontogeorgis, G.M. Modelling Phase Equilibria for Acid Gas Mixtures Using the CPA Equation of State. Part V: Multicomponent Mixtures Containing CO2 and Alcohols. J. Supercrit. Fluids 2015, 104, 29–39. [Google Scholar] [CrossRef]





Publisher’s Note: MDPI stays neutral with regard to jurisdictional claims in published maps and institutional affiliations. |
© 2022 by the authors. Licensee MDPI, Basel, Switzerland. This article is an open access article distributed under the terms and conditions of the Creative Commons Attribution (CC BY) license (https://creativecommons.org/licenses/by/4.0/).
Share and Cite
Borjan, D.; Knez Marevci, M.; Knez, Ž. P-x,y Equilibrium Data of the Binary Systems of 2-Propanol, 1-Butanol and 2-Butanol with Carbon Dioxide at 313.15 K and 333.15 K. Molecules 2022, 27, 8352. https://doi.org/10.3390/molecules27238352
Borjan D, Knez Marevci M, Knez Ž. P-x,y Equilibrium Data of the Binary Systems of 2-Propanol, 1-Butanol and 2-Butanol with Carbon Dioxide at 313.15 K and 333.15 K. Molecules. 2022; 27(23):8352. https://doi.org/10.3390/molecules27238352
Chicago/Turabian StyleBorjan, Dragana, Maša Knez Marevci, and Željko Knez. 2022. "P-x,y Equilibrium Data of the Binary Systems of 2-Propanol, 1-Butanol and 2-Butanol with Carbon Dioxide at 313.15 K and 333.15 K" Molecules 27, no. 23: 8352. https://doi.org/10.3390/molecules27238352
APA StyleBorjan, D., Knez Marevci, M., & Knez, Ž. (2022). P-x,y Equilibrium Data of the Binary Systems of 2-Propanol, 1-Butanol and 2-Butanol with Carbon Dioxide at 313.15 K and 333.15 K. Molecules, 27(23), 8352. https://doi.org/10.3390/molecules27238352

