A History of Channel Coding in Aeronautical Mobile Telemetry and Deep-Space Telemetry
Abstract
1. Introduction
2. Early History and Definitions
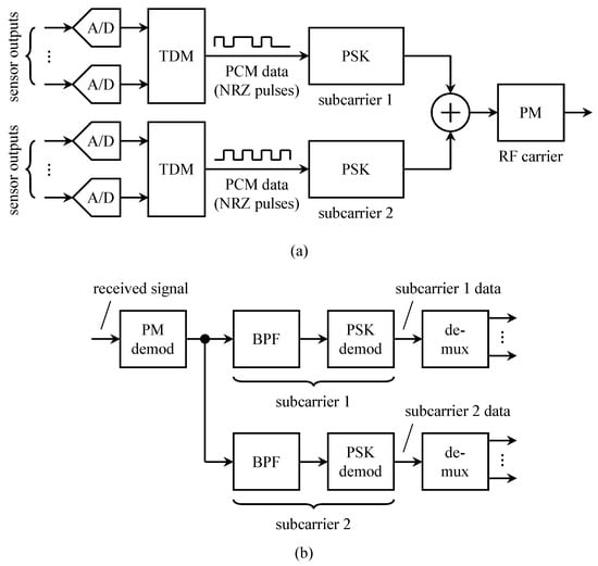
By the early 1950s, FM/FM was firmly established as the most common method for multiplexing continuous-time measurements and transmitting the multiplexed signal to the ground.[multiplexing method]/[RF modulation]

Each additional bit added to the binary code representing the sample amplitude increases the signal-to-noise ratio of the sample by 6 dB [9]. For aeronautical mobile telemetry, it is relatively easy for data samples using a modest number of bits to achieve a higher signal-to-noise ratio than that achieved by FM/FM transmission followed by (RF) FM demodulation, (subcarrier) FM demodulation, and magnetic tape recording of the subcarrier FM demodulator output [10].[O]nly an ultimate data accuracy of 4–5% on the 5-channel IR data could be achieved primarily due to tape recorder properties. Conversion to binary form prior to recording offers the only convenient means for accuracy improvement.
3. Deep-Space Telemetry
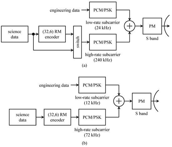
3.1. Pioneer

3.2. Mariner
3.3. The Story behind the Pioneer and Mariner Code Designs
- The code had to possess a good column distance profile for the reasons outlined in the previous paragraph.
- The code rate was 1/2. Lower code rates reduced the received coded below the threshold where carrier phase and symbol timing synchronizers could operate.
- The code had to be systematic because systematic codes possess the “quick-look-in” property described in Section 3.1. (Massey and Costello later showed that it is possible to construct non-systematic convolutional codes with the quick-look-in property [23]).
- The constraint length was limited to 25. Due to the code’s status as an experiment, no hardware version of the decoder was developed. Instead, the decoder was programmed in software on the Scientific Data Systems (SDS) 920 mainframe computer [24]. The SDS 920 used 24-bit words [36]. To produce a decoder that operated in real-time (512 bits/s), the constraint length of the code was limited to 25 so that the copy of the 24-bit binary sequence defining the encoder memory fit into one 24-bit binary word on the SDS 920 [24].
3.4. Viking

3.5. Voyager


3.6. Giotto
3.7. Galileo

- Stage 1:
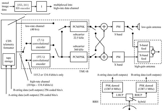
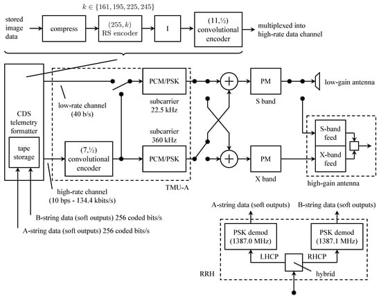
- The soft outputs of the PCM/PSK demodulator were applied convolutional decoder based on the VA. The VA outputs were deinterleaved. The first RS codeword, from the (255,161) RS code, was decoded. The (255,161) RS code, capable of correcting errors, is the most powerful of the four codes used for the outer code.
- Stage 2:
- The detected symbols from Stage 1 were fed back to the VA for a second application of the VA assisted by the RS decoding decisions; called “redecoding” in [68]. The VA outputs were deinterleaved. The fifth RS codeword, from the (255,195) RS code, was decoded. The (255,195) RS code, capable of correcting errors, is the second most powerful of the four codes for the outer code.
- Stage 3:
- The detected symbols from Stage 2 were fed back to the VA for a third application of the VA assisted by the previous RS decoding outputs. The VA outputs were deinterleaved. The third and seventh RS codewords, based on the (255,225) RS code, were decoded. The (255,225) code, capable of correcting errors, is the third most powerful of the four codes used for the outer code.
- Stage 4:
- The detected symbols from Stage 3 were fed back to the VA for a fourth and final round of VA assisted by the previous RS decoding outputs. The VA outputs were deinterleaved. The second, fourth, sixth, and eighth RS codewords, based on the (255,245) RS code, were decoded. The (255,245) RS code, capable of correcting errors, is the least powerful of the four codes used for the outer code.
3.8. Cassini–Huygens
3.9. In Search of the Missing 2 dB—Turbo Codes

3.10. In Search of the Missing 2 dB—Low-Density Parity Check (LDPC) Codes

3.11. Modern Codes in Future Deep-Space Telemetry
4. Aeronautical Mobile Telemetry
4.1. Channel Coding in the 20th Century



4.2. Channel Coding in the 21st Century
4.2.1. Enhanced Flight Termination System (EFTS)


4.2.2. IRIG 106 LDPC Codes
4.2.3. iNET

4.2.4. Packet Telemetry Downlink
5. Summary and Conclusions
Funding
Data Availability Statement
Conflicts of Interest
References
- Nichols, M.; Rauch, L. Radio Telemetry, 2nd ed.; Wiley: New York, NY, USA, 1956. [Google Scholar]
- Rymer, W.; Rice, M. The Early U.S. History of Real-Time Telemetry Processing and Display. IEEE Aerosp. Electron. Syst. Mag. 2022, 37, 40–47. [Google Scholar] [CrossRef]
- Rice, M.; Temple, K. To Bit Sync or Not to Bit Sync? Why This Is A Question. In Proceedings of the International Telemetering Conference, Las Vegas, NV, USA, 23–26 October 2023; pp. 1–12. [Google Scholar]
- Telemetry Standards. IRIG 106-160, Inter-Range Instrumentation Group of the Range Commanders’ Conference. 1960. Available online: https://www.trmc.osd.mil/wiki/display/publicRCC/106-60+Telemetry+Standards (accessed on 13 July 2024).
- Standards for Pulse Code Modulation (PCM) Telemetry (IRIG Recommendation No. 102-159). IRE Trans. Space Electron. Telem. 1959, SET-5, 194–195. [CrossRef]
- Yuen, J. (Ed.) Deep Space Telecommunications Systems Engineering; Jet Propulsion Laboratory, California Institute of Technology, JPL Publication: Pasadena, CA, USA, 1983; pp. 76–82. Available online: https://descanso.jpl.nasa.gov/dstse/DSTSE.pdf (accessed on 13 July 2024).
- Modenini, A.; Ripani, B. Tracking, Telemetry, and Command (TT&C) for Space Missions. IEEE Commun. Surv. Tutor. 2023, 25, 1510–1542. [Google Scholar]
- Stampfl, A. Telemetry from Meteorological Satellites. In Proceedings of the International Telemetering Conference, Washington, DC, USA, 18–20 May 1965; pp. 1–15. [Google Scholar]
- Rice, M. Digital Communications: A Discrete-Time Approach, 2nd ed.; Kindle Direct Publishing: Seattle, WA, USA, 2020; ISBN-13: 978-8680369920. [Google Scholar]
- Strock, O.J. Telemetry—Past, Present, Future. In Proceedings of the International Telemetering Conference, Los Angeles, CA, USA, 14–16 November 1978; pp. 1–12. [Google Scholar]
- Hochner, B. Telemetry (TM) Has Changed Quite A Bit Over The Past 53 Years. In Proceedings of the International Telemetering Conference, San Diego, CA, USA, 20–23 October 2014; pp. 1–7. [Google Scholar]
- Mayer, G. Trends in German Telemetry Since The 50’s. In Proceedings of the International Telemetering Conference, Las Vegas, NV, USA, 22–25 October 1984; pp. 1–8. [Google Scholar]
- Pieters, B. Telemetry On French Ballistic Missiles and European Launch Vehicles Evolutions and Prospects. In Proceedings of the International Telemetering Conference, Las Vegas, NV, USA, 13–16 October 1986; pp. 1–17. [Google Scholar]
- Rymer, J. Error Detection and Correction—An Empirical Method for Evaluating Techniques. In Proceedings of the International Telemetering Conference, San Diego, CA, USA, 23–26 October 2000; pp. 1–13. [Google Scholar]
- Filipowsky, R. Concepts of Integrated Adaptive Data Transmission Systems. In Proceedings of the International Telemetering Conference, Washington, DC, USA, 15–17 September 1968; pp. 1–35. [Google Scholar]
- Rice, M.; Temple, K.; Chalfant, T.; Ernst, D.; Kahn, C. Spectrum Allocations: The Aeronautical Telemetry Story in the USA. IEEE Aerosp. Electron. Syst. Mag. 2018, 33, 50–58. [Google Scholar] [CrossRef]
- Lumb, D.; Hofman, L. An Efficient Coding System for Deep Space Probes with Specific Application to Pioneer Missions; NASA Technical Note D-4105; Ames Research Center: Moffett Field, CA, USA, 1967. Available online: https://ntrs.nasa.gov/api/citations/19670023941/downloads/19670023941.pdf (accessed on 13 July 2024).
- Lumb, D. A Study of Codes for Deep Space Telemetry. In Proceedings of the IEEE International Convention and Exhibition, New York, NY, USA, 20 March 1967; pp. 1–17. Available online: https://ntrs.nasa.gov/api/citations/19680015858/downloads/19680015858.pdf (accessed on 13 July 2024).
- Corliss, W. The Interplanetary Pioneers; NASA Special Publication SP-278; NASA: Moffett Field, CA, USA, 1972; Volume I. Available online: https://history.arc.nasa.gov/hist_pdfs/nasa_sp278-vol1.pdf (accessed on 13 July 2024).
- Costello, D.; Hagenauer, J.; Imai, H.; Wicker, S. Applications of Error-Control Coding. IEEE Trans. Inf. Theory 1988, 44, 2531–2560. [Google Scholar] [CrossRef]
- Hall, C. Pioneer F/G: Spacecraft Operational Characteristics; NASA Technical Publication TP-2019-220324; NASA Ames Research Center: Moffett Field, CA, USA, 1971. Available online: https://ntrs.nasa.gov/api/citations/20190030279/downloads/20190030279.pdf (accessed on 13 July 2024).
- Fano, R. A Heuristic Discussion of Probabilistic Decoding. IEEE Trans. Inf. Theory 1963, 9, 64–74. [Google Scholar] [CrossRef]
- Massey, J.; Costello, D. Nonsystematic Convolutional Codes for Sequential Decoding in Space Applications. IEEE Trans. Commun. Technol. 1971, COM-19, 806–813. [Google Scholar] [CrossRef]
- Lumb, D. Test and Preliminary Flight Results on the Sequence Decoding of Convolutional Encoded Data from Pioneer IX. In Proceedings of the IEEE International Conference on Communications, Boulder, CO, USA, 9–11 June 1969; pp. 39-1–39-8. [Google Scholar]
- O’Donnell, R. Mariner 2 and Beyond: Planetary Exploration’s First 25 Years. IEEE Aerosp. Electron. Syst. Mag. 1987, 2, 2–6. [Google Scholar] [CrossRef]
- Mathison, R. Mariner Mars 1964 Telemetry and Command System. IEEE Spectr. 1965, 2, 76–84. [Google Scholar] [CrossRef][Green Version]
- Tausworthe, R.; Easterling, M.; Spear, A. A High-Rate Telemetry System fo the Mariner Mars 1969 Mission; NASA Technical Report 32-1354; National Aeronautics and Space Administration: Moffett Field, CA, USA, 1969. Available online: https://ntrs.nasa.gov/api/citations/19690012788/downloads/19690012788.pdf (accessed on 13 July 2024).
- Tilborg, H.V. Weights in the Third-Order Reed-Muller Codes. Deep. Space Netw. Prog. Rep. 1971, IV, 86–94. Available online: https://ipnpr.jpl.nasa.gov/progress_report/IV/IVN.PDF (accessed on 13 July 2024).
- Green, R. A Serial Orthogonal Decoder; JPL Space Programs Summary No. 37–39; Jet Propulsion Laboratory, California Institute of Technology: Pasadena, CA, USA, 1966. Available online: https://descanso.jpl.nasa.gov/history/pdf/sps37-39v4_p247-252.pdf (accessed on 13 July 2024).
- Dorsch, B.; Miller, W. Error Control Using a Concatenated Code; NASA Technical Note D-5775; National Aeronautics and Space Administration: Washington, DC, USA, 1970. Available online: https://ntrs.nasa.gov/api/citations/19700020281/downloads/19700020281.pdf (accessed on 13 July 2024).
- Massey, J. Deep-Space Communications and Coding: A Marriage Made in Heaven. In Lecture Notes in Control and Information Sciences; Hagenauer, J., Ed.; Springer: Berlin/Heidelberg, Germany, 1992; Volume 182. [Google Scholar]
- Wozencraft, J.; Reiffen, B. Sequential Decoding; MIT Press: Cambridge, MA, USA, 1961. [Google Scholar]
- Wicker, S. Deep Space Communications. In Handbook of Coding Theory; Pless, V., Huffman, W., Eds.; Elsevier: Amsterdam, The Netherlands, 1998; Volume II, Chapter 25; pp. 2119–2169. [Google Scholar]
- Lin, S.; Costello, D. Error Control Coding, 2nd ed.; Pearson: London, UK, 2004. [Google Scholar]
- Lin, S.; Lyne, H. Some Results on Binary Convolutional Code Generators. IEEE Trans. Inf. Theory 1967, IT-13, 134–139. [Google Scholar]
- Wikipedia Contributors. SDS 9 Series—Wikipedia, The Free Encyclopedia. 2024. Available online: https://en.wikipedia.org/w/index.php?title=SDS_9_Series&oldid=1216477941 (accessed on 13 July 2024).
- Stolle, E. A Telecommunications Link Model for Deep Space, with Applications to the Helios Probe. In Proceedings of the International Telemetering Conference, Los Angeles, CA, USA, 10–12 October 1972; pp. 1–16. [Google Scholar]
- Hertlein, H. The Helios Spacecraft/Ground Telecommunications System Concept. In Proceedings of the International Telemetering Conference, Los Angeles, CA, USA, 15–17 October 1974; pp. 1–13. [Google Scholar]
- Viterbi, A. Error bounds for Convolutional Codes and an Asymptotically Optimum Decoding Algorithm. IEEE Trans. Inf. Theory 1967, IT-13, 260–269. [Google Scholar] [CrossRef]
- Forney, G.D. The Viterbi Algorithm. Proc. IEEE 1973, 61, 268–278. [Google Scholar] [CrossRef]
- Odenwalder, J. Optimal Decoding of Convolutional Codes. Ph.D. Thesis, University of California, Los Angeles, CA, USA, 1970. [Google Scholar]
- Mudgway, D.; Traxler, M. Tracking and Data System Support for the Viking 1975 Mission to Mars: Volume 1 Prelanch Planning, Implementation, and Testing; Technical Memorandum 33-783; Jet Propulsion Laboratory, California Institute of Technology: Pasadena, CA, USA, 1977. Available online: https://ntrs.nasa.gov/api/citations/19770009161/downloads/19770009161.pdf (accessed on 13 July 2024).
- Viking 1 Orbiter, 1975. NASA Space Science Data Coordinated Archive, NSSDCA/COSPAR ID: 1975-075A. Available online: https://nssdc.gsfc.nasa.gov/nmc/spacecraft/display.action?id=1975-075A (accessed on 13 July 2024).
- Viking 2 Orbiter, 1975. NASA Space Science Data Coordinated Archive, NSSDCA/COSPAR ID: 1975-083A. Available online: https://nssdc.gsfc.nasa.gov/nmc/spacecraft/display.action?id=1975-083A (accessed on 13 July 2024).
- Viking 1 Lander, 1975. NASA Space Science Data Coordinated Archive, NSSDCA/COSPAR ID: 1975-075C. Available online: https://nssdc.gsfc.nasa.gov/nmc/spacecraft/display.action?id=1975-075C (accessed on 13 July 2024).
- Viking 2 Lander, 1975. NASA Space Science Data Coordinated Archive, NSSDCA/COSPAR ID: 1975-083C. Available online: https://nssdc.gsfc.nasa.gov/nmc/spacecraft/display.action?id=1975-083C (accessed on 13 July 2024).
- Wood, G.; Risa, T. Design of the Mariner Jupiter/Saturn 1977 Telemetry System. In Proceedings of the International Telemetering Conference, Los Angeles, CA, USA, 15–17 October 1974; pp. 1–11. [Google Scholar]
- Ludwig, R.; Taylor, J. Voyager Telecommunications. Article 4, DESCANSO Design and Performance Summary Series, Deep-Space Communications and Navigation Systems Center of Excellencee; Jet Propulsion Laboratory, California Institute of Technology: Pasadena, CA, USA, 2002. Available online: https://descanso.jpl.nasa.gov/DPSummary/Descanso4--Voyager_new.pdf (accessed on 13 July 2024).
- Posner, E.; Rauch, L.; Madsen, B. Voyager Mission Telecommunication Firsts. IEEE Commun. Mag. 1990, 28, 22–27. [Google Scholar] [CrossRef]
- CCSDS 131.0.B-2; TM Synchronization and Channel Coding. The Consultative Committee for Space Data Systems: Washington, DC, USA, 2011.
- Simon, M.; Smith, J. Alternate Symbol Inversion for Improved Symbol Synchronization in Convolutionally Coded Systems. IEEE Trans. Commun. 1980, COM-28, 228–237. [Google Scholar] [CrossRef]
- Truong, T.; Holmes, K.; Reed, I.; Yin, X. A Simplified Procedure for Decoding the (23,12) and (24,12) Golay Codes; TDA Progress Report 42-96; Jet Propulsion Laboratory, California Institute of Technology: Pasadena, CA, USA, 1988. Available online: https://ipnpr.jpl.nasa.gov/progress_report/42-96/96E.PDF (accessed on 13 July 2024).
- Deutsch, L.; Miller, R. Burst Statistics of Viterbi Decoding; TDA Progress Report 42-64; Jet Propulsion Laboratory, California Institute of Technology: Pasadena, CA, USA, 1981. Available online: https://ipnpr.jpl.nasa.gov/progress_report/42-64/64W.PDF (accessed on 13 July 2024).
- Miller, R.; Deutsch, L.; Butman, S. On the Error Statistics of Viterbi Decoding and the Performance of Concatenated Codes; JPL Publication 81-9; Jet Propulsion Laboratory, California Institute of Technology: Pasadena, CA, USA, 1981. Available online: https://ntrs.nasa.gov/api/citations/19810024821/downloads/19810024821.pdf (accessed on 13 July 2024).
- Giotto, ESA’s First Deep-Space Mission: 25 Years Ago; European Space Agency: Noordwijk, The Netherlands, 11 March 2011; Available online: https://www.esa.int/About_Us/ESA_history/Giotto_ESA_s_first_deep-space_mission_25_years_ago (accessed on 13 July 2024).
- Wilkins, D. Giotto—The Mission Operations System. Acta Astronaut. 1988, 17, 1033–1043. [Google Scholar] [CrossRef]
- Wasse, M. Communications for the ESA Giotto (Comet Halley Encounter) Mission. In Proceedings of the International Telemetering Conference, San Diego, CA, USA, 13–15 October 1981; pp. 1–17. [Google Scholar]
- Doody, D. Deep Space Craft: An Overview of Interplanetary Flight; Springer: Berlin, Germany, 2009. [Google Scholar]
- Mudgway, D. Uplink-Downlink: A History of the Deep Space Network 1957–1997; NASA SP-2001-4227; National Aeronautics and Space Administration: Washington, DC, USA, 2001. Available online: https://www.nasa.gov/wp-content/uploads/2023/04/sp-4227.pdf (accessed on 13 July 2024).
- Huth, G.; Udalov, S. Inertial Upper Stage/Shuttle Orbiter Communications. In Proceedings of the International Telemetering Conference, San Diego, CA, USA, 19–21 November 1979; pp. 1–24. [Google Scholar]
- Taylor, J.; Cheung, K.M.; Seo, D. Galileo Telecommunications. In Deep Space Communications; Taylor, J., Ed.; John Wiley & Sons, Ltd.: Hoboken, NJ, USA, 2016; Chapter 4; pp. 79–134. Available online: https://onlinelibrary.wiley.com/doi/abs/10.1002/9781119169079.ch4 (accessed on 13 July 2024).
- Dolinar, S. A New Code for Galileo; TDA Progress Report 42-93; Jet Propulsion Laboratory, California Institute of Technology: Pasadena, CA, USA, 1988. Available online: https://ipnpr.jpl.nasa.gov/progress_report/42-93/93H.PDF (accessed on 13 July 2024).
- Statman, J.; Zimmerman, G.; Pollara, F.; Collins, O. A Long Constraint Length VLSI Viterbi Decoder for the DSN; TDA Progress Report 42-95; Jet Propulsion Laboratory, California Institute of Technology: Pasadena, CA, USA, 1988. Available online: https://ipnpr.jpl.nasa.gov/progress_report/42-95/95L.PDF (accessed on 13 July 2024).
- Statman, J.; Rabkin, J.; Siev, B. Big Viterbi Decoder Results for (7,1/2) Convolutional Code; TDA Progress Report 42-99; Jet Propulsion Laboratory, California Institute of Technology: Pasadena, CA, USA, 1989. Available online: https://ipnpr.jpl.nasa.gov/progress_report/42-99/99L.PDF (accessed on 13 July 2024).
- Onyszchuk, I. Testing Interconnected VLSI Circuits in the Big Viterbi Decoder; TDA Progress Report 42-106; Jet Propulsion Laboratory, California Institute of Technology: Pasadena, CA, USA, 1991. Available online: https://ipnpr.jpl.nasa.gov/progress_report/42-106/106O.PDF (accessed on 13 July 2024).
- Collins, O. The Subtleties and Intricacies of Building a Constraint Length 15 Convolutional Decoder. IEEE Trans. Commun. 1991, 40, 1810–1819. [Google Scholar] [CrossRef]
- Fruit of the Loom BVD. Available online: https://www.fruit.com/bvd/ (accessed on 13 July 2024).
- Dolinar, S.; Belongie, M. Enhanced Decoding for the Galileo Low-Gain Antenna Mission: Viterbi Redecoding with Four Decoding Stages; TDA Progress Report 42-121; Jet Propulsion Laboratory, California Institute of Technology: Pasadena, CA, USA, 1995. Available online: https://ipnpr.jpl.nasa.gov/progress_report/42-121/121Q.pdf (accessed on 13 July 2024).
- Taylor, J.; Sakamoto, L.; Wong, C.J. Cassini Orbiter/Huygens Probe Telecommunications; Article 3, DESCANSO Design and Performance Summary Series, Deep-Space Communications and Navigation Systems Center of Excellence; Jet Propulsion Laboratory, California Institute of Technology: Pasadena, CA, USA, 2002. Available online: https://descanso.jpl.nasa.gov/DPSummary/Descanso3-Cassini2.pdf (accessed on 13 July 2024).
- CCSDS 102.0.B-5; Packet Telemetry. The Consultative Committee for Space Data Systems: Washington, DC, USA, 2000.
- Yuen, J.; Vo, Q. In Search of a 2-dB Coding Gain; TDA Progress Report 42-83; Jet Propulsion Laboratory, California Institute of Technology: Pasadena, CA, USA, 1985. Available online: https://tda.jpl.nasa.gov/progress_report/42-83/83C.PDF (accessed on 13 July 2024).
- Jones, J.; Giovagnoli, G. The Huygens Probe System Design. In Huygens: Science, Payload and Mission, Proceedings of an ESA Conference; Wilson, A., Ed.; European Space Agency: AG Noordwijk zh, The Netherlands, 1997. [Google Scholar]
- Deutsch, L. Resolving the Cassini/Huygens Relay Radio Anomaly. In Proceedings of the IEEE Aerospace Conference, Big Sky, MT, USA, 9–16 March 2002; pp. 1–8. [Google Scholar]
- Popken, L. Rescuing the Huygens Mission From Fiasco. Proc. IEEE 2007, 95, 2248–2258. [Google Scholar] [CrossRef]
- Oberg, J. Titan Calling: How A Sweedish Engineering Saved a Once-In-A-Lifetime Mission To Saturn’s Mysterious Moon. IEEE Spectr. 2004, 41, 28–33. [Google Scholar]
- Berrou, C.; Glavieux, A.; Thitimajshima, P. Near Shannon Limit Error-Correcting Coding and Decoding: Turbo-Codes. In Proceedings of the IEEE International Conference on Communications, Geneva, Switzerland, 23–26 May 1993; pp. 1064–1070. [Google Scholar]
- Andrews, K.; Divsalar, D.; Dolinar, S.; Hamkins, J.; Jones, C.R.; Pollara, F. The Development of Turbo and LDPC Codes for Deep-Space Applications. Proc. IEEE 2007, 95, 2142–2156. [Google Scholar] [CrossRef]
- Divsalar, D.; Pollara, F. On the Design of Turbo Codes; TDA Progress Report 42-123; Jet Propulsion Laboratory, California Institute of Technology: Pasadena, CA, USA, 1995. Available online: https://tda.jpl.nasa.gov/progress_report/42-123/123D.pdf (accessed on 13 July 2024).
- Calzolari, G.; Vassallo, E.; Benedetto, S.; Montorsi, G. Improving Rosetta′s Return-Link Margins; Bulletin 95; European Space Agency: Noordwijk, The Netherlands, 1998. [Google Scholar]
- Calzolari, G.; Chiaraluce, F.; Garello, R.; Vassallo, E. More Performant Codes for Deep-Space Missions: The Turbo Codes Option. In Proceedings of the IEEE Global Communications Conference, Sydney, NSW, Australia, 8–12 November 1998; pp. 3602–3607. [Google Scholar]
- Divsalar, D.; Pollara, F. Turbo Codes for PCS Applications. In Proceedings of the IEEE International Conference on Communications, Seattle, WA, USA, 18–22 June 1995; pp. 56–59. [Google Scholar]
- Calzolari, G.; Chiaraluce, F.; Garello, R.; Vassallo, E. Turbo Code Applications on Telemetry and Deep Space Communications. In Turbo Code Applications: A Journal from a Paper to Realization; Sripimanwat, K., Ed.; Springer: Dordrecht, The Netherlands, 2005. [Google Scholar]
- Rathsman, P.; Kugelberg, J.; Bodin, P.; Racca, G.; Foing, B.; Stagnaro, L. SMART-1: Development and Lessons Learnt. Acta Astronaut. 2005, 57, 455–468. [Google Scholar] [CrossRef]
- Srinivasan, D.; Perry, M.; Fielhauer, K.; Smith, D.; Zuber, M. The Radio Frequency Subsystem and Radio Science on the MESSENGER Mission. Space Sci. Rev. 2007, 131, 557–571. [Google Scholar] [CrossRef]
- Srinivasan, D.K.; Vaughan, R.M.; Wallis, R.E.; Mirantes, M.A.; Hill, T.A.; Cheng, S.; Bruzzi, J.R.; Fielhauer, K.B. Implementation of an X-Band Phase-Array Subsystem in a Deep Space Mission. In Proceedings of the IEEE Aerospace Conference, Big Sky, MT, USA, 5–12 March 2005; pp. 1–11. [Google Scholar]
- Vaughan, R.; Leary, J.C.; Conde, R.F.; Dakermanji, G.; Ercol, C.J.; Fielhauer, K.B.; Grant, D.G.; Hartka, T.J.; Hill, T.A.; Jaskulek, S.E.; et al. Return to Mercury: The MESSENGER Spacecraft and Mission. In Proceedings of the IEEE Aerospace Conference, Big Sky, MT, USA, 4–11 March 2006; pp. 1–16. [Google Scholar]
- ESA’s Report to the 24th COSPAR Meeting; SP- 1259; European Space Agency, ESTEC: Noordwijk, The Netherlands, 2002.
- Dudal, C.; Loisel, C. Rosetta-Philae RF Link, Challenging Communications from a comet. Acta Astronaut. 2016, 125, 137–148. [Google Scholar] [CrossRef]
- Chiaraluce, F. Error Correcting Codes in Telecommand and Telemetry for European Space Agency Missions: An Overview and New Perspectives. In Proceedings of the IEEE International Conference on Software, Telecommunications and Computer Networks, Split, Croatia, 17–19 September 2014; pp. 1–8. [Google Scholar]
- New Horizons: NASA’s Mission to Pluto and the Kuiper Belt. 2024. Available online: https://pluto.jhuapl.edu/ (accessed on 13 July 2024).
- DeBoy, C.; Haskins, C.B.; Brown, T.A.; Schulze, R.C.; Bernacik, M.A.; Jensen, J.R.; Millard, W.; Duven, D.; Hill, S. The RF Telecommunications System for the New Horizons Mission to Pluto. In Proceedings of the IEEE Aerospace Conference, Big Sky, MT, USA, 6–13 March 2004; pp. 1–16. [Google Scholar]
- Haskins, C.; DeBoy, C. Deep-Space Transceivers—An Innovative Approach to Spacecraft Communications. Proc. IEEE 2007, 95, 2009–2018. [Google Scholar] [CrossRef]
- Fountain, G.; Kusnierkiewicz, D.Y.; Hersman, C.B.; Herder, T.S.; Coughlin, T.B.; Gibson, W.C.; Clancy, D.A.; DeBoy, C.C.; Hill, T.A.; Kinnison, J.D.; et al. The New Horizons Spacecraft. In New Horizons: Reconnaissance of the Pluto-Charon System and the Kuiper Belt; Russell, C., Ed.; Springer: Berlin/Heidelberg, Germany, 2009. [Google Scholar]
- New Horizons. Available online: https://science.nasa.gov/mission/new-horizons/ (accessed on 13 July 2024).
- Calzolari, G.; Chiani, M.; Chiaraluce, F.; Garello, R.; Paolini, E. New Requirements and Trends for Channel Coding in Future Space Missions. Proc. IEEE 2007, 95, 2157–2170. [Google Scholar] [CrossRef]
- ETSI EN 302 307–1 v1.4.1; Digital Video Broadcasting (DVB); Second Generation Framing Structure, Channel Coding and Modulation Systems for Broadcasting, Interactive Services, News Gathering and Other Broadband Satellite Applications; Part 1: DVB-S2. European Telecommunications Standards Institute (ETSI): Sophia Antipolis, France, 2014. Available online: https://www.etsi.org/deliver/etsi_en/302300_302399/30230701/01.04.01_20/en_30230701v010401a.pdf (accessed on 13 July 2024).
- Assessment of Potential Mars Relay Network Enhancements. In Proceedings of the IEEE Aerospace Conference, Big Sky, MT, USA, 3–10 March 2018; pp. 1–8.
- Edwards, C.; Bell, D.J.; Gladden, R.E.; Ilott, P.A.; Jedrey, T.C.; Johnston, M.D.; Maxwe, J.L.; Mendoza, R.; McSmith, G.W.; Potts, C.L.; et al. Relay Support for the Mars Science Laboratory Mission. In Proceedings of the IEEE Aerospace Conference, Big Sky, MT, USA, 2–9 March 2013; pp. 1–14. [Google Scholar]
- Makovsky, A.; Ilott, P.; Taylor, J. Mars Science Laboratory Telecommunications System Design; Article 14, DESCANSO Design and Performance Summary Series, Deep-Space Communications and Navigation Systems Center of Excellence; Jet Propulsion Laboratory, California Institute of Technology: Pasadena, CA, USA, 2009. Available online: https://descanso.jpl.nasa.gov/DPSummary/Descanso14_MSL_Telecom.pdf (accessed on 13 July 2024).
- Bursalioglu, O.; Caire, G.; Divsalar, D. Joint Source-Channel Coding for Deep-Space Image Transmission Using Rateless Codes. IEEE Trans. Commun. 2013, 61, 3448–3461. [Google Scholar] [CrossRef]
- Chamberlain, N.; Allen, S.; Andrews, K.; Elliott, H.; Gladden, R.; Hamkins, J.; Kuperman, I.; Men, R. Implementing Low-Density Parity-Check Codes in the Mars Relay Network. In Proceedings of the IEEE Aerospace Conference, Big Sky, MT, USA, 5–12 March 2022; pp. 1–15. [Google Scholar]
- Edwards, C.; Bell, D.; Biswas, A.; Cheung, K.M.; Lock, R. Proximity Link Design and Performance Options for a Mars Areostationary Relay Satellite. In Proceedings of the IEEE Aerospace Conference, Big Sky, MT, USA, 5–12 March 2016; pp. 1–10. [Google Scholar]
- CCSDS 211.2.B-3; Proximity-1 Space Link Protocol—Coding and Synchronization Sublayer. The Consultative Committee for Space Data Systems: Washington, DC, USA, 2019.
- Gladden, R.; Pereira, E.; Sauer, B. Lessons Learned from the Mars Relay Network: Considerations for Future Relay Networks. In Proceedings of the IEEE Aerospace Conference, Big Sky, MT, USA, 2–9 March 2024; pp. 1–16. [Google Scholar]
- Shokrollahi, A. Raptor Codes. IEEE Trans. Inf. Theory 2006, 52, 2551–2567. [Google Scholar] [CrossRef]
- Luby, M. LT Codes. In Proceedings of the IEEE Symposium on Foundations of Computer Science, Vancouver, BC, Canada, 16–19 November 2002; pp. 271–280. [Google Scholar]
- Arikan, E. Channel Polarization: A Method for Constructing Capacity-Achieving Codes for Symmetric Binary-Input Memoryless Channels. IEEE Trans. Inf. Theory 2009, 55, 3051–3073. [Google Scholar] [CrossRef]
- Bioglio, V.; Condo, C.; Land, I. Design of Polar Codes in 5G New Radio. IEEEE Commun. Surv. Tutorials 2021, 23, 29–40. [Google Scholar] [CrossRef]
- Naimipour, N.; Safavi, H.; Shaw, H. Polar Coding for Forward Error Correction in Space Communications with LDPC Comparisons. In Proceedings of the International Astronautical Congress, Washington, DC, USA, 21–25 October 2019; pp. 1–5. [Google Scholar]
- Coşkun, M.; Durisi, G.; Jerkovits, T.; Liva, G.; Ryan, W.; Stein, B.; Steiner, F. Efficient Error-Correcting Codes in the Short Blocklength Regime. Phys. Commun. 2019, 34, 66–79. [Google Scholar] [CrossRef]
- Schiavone, R.; Garello, R.; Liva, G. Performance Improvement of Space Missions Using Convolutional Codes by CRC-Aided List Viterbi Algorithms. IEEE Access 2023, 11, 55925–55937. [Google Scholar] [CrossRef]
- Bessette, O. A High Capacity, High Data Rate Instrumentation Tape Recorder System. In Proceedings of the International Telemetering Conference, Washington, DC, USA, 9–11 October 1973; pp. 1–7. [Google Scholar]
- Waggener, W. The Effects of Tape Dropouts on Pulse Compression Recording. In Proceedings of the International Telemetering Conference, San Diego, CA, USA, 14–16 October 1980; pp. 1–13. [Google Scholar]
- Kessler, W.; Stein, J. A High-Performance Error Correction System for Digital Tape Recorders. In Proceedings of the International Telemetering Conference, San Diego, CA, USA, 13–15 October 1981; pp. 1–13. [Google Scholar]
- Meeks, L. A Dropout Based Error Correction Method for Use on Density Digital Recording Systems. In Proceedings of the International Telemetering Conference, San Diego, CA, USA, 28–30 September 1982; pp. 1–21. [Google Scholar]
- Riner, J. An Effective Simple Error Correction Scheme. In Proceedings of the International Telemetering Conference, San Diego, CA, USA, 24–27 September 1983; pp. 1–12. [Google Scholar]
- Leung, V. A High Data Rate Airborne Rotary Recorder with Long Record Time. In Proceedings of the International Telemetering Conference, Las Vegas, NV, USA, 17–20 October 1988; pp. 1–10. [Google Scholar]
- Coonce, K.; Strahmann, J. Digital Tape Recording in an Airborne Data Acquisition System. In Proceedings of the International Telemetering Conference, San Diego, CA, USA, 26–29 October 1992; pp. 1–13. [Google Scholar]
- Kayes, E. Computer-Friendly High Rate Digital Cassette Recorders. In Proceedings of the International Telemetering Conference, San Diego, CA, USA, 26–29 October 1992; pp. 1–13. [Google Scholar]
- Ricker, W.; Kolb, J. A High-Speed, Ruggedized, Miniature Instrumentation Recorder Utilizing Commercial Technology. In Proceedings of the International Telemetering Conference, San Diego, CA, USA, 26–29 October 1992; pp. 1–8. [Google Scholar]
- Schoeck, K. Use of ID-1 High Density Digital Recording Systems for Test Range Support. In Proceedings of the International Telemetering Conference, Las Vegas, NV, USA, 25–28 October 1999; pp. 1–9. [Google Scholar]
- Intwala, J. Solid State Data Recorder (SSDR) For Airborne/Space Environment. In Proceedings of the International Telemetering Conference, San Diego, CA, USA, 25–28 October 1993; pp. 1–4. [Google Scholar]
- Jensen, P.; Thacker, C. A New Generation of Recording Technology: The Solid State Recorder. In Proceedings of the International Telemetering Conference, San Diego, CA, USA, 26–29 October 1998; pp. 1–9. [Google Scholar]
- Wise, R. A Design for a 10.5 Gigabit/Second Solid-State Data Recorder. In Proceedings of the International Telemetering Conference, Las Vegas, NV, USA, 25–28 October 1999; pp. 1–10. [Google Scholar]
- Waggener, W.; Kelley, J. Telemetry Networking Using ATM Technology. In Proceedings of the International Telemetering Conference, San Diego, CA, USA, 25–28 October 1993; pp. 1–11. [Google Scholar]
- Eccles, L. A “Smart Sensor” Bus for Data Acquisition. In Proceedings of the International Telemetering Conference, San Diego, CA, USA, 28–31 October 1996; pp. 1–10. [Google Scholar]
- Duffy, H. Merging of Diverse Encrypted PCM Streams. In Proceedings of the International Telemetering Conference, San Diego, CA, USA, 28–31 October 1996; pp. 1–7. [Google Scholar]
- Gardner, S.; Levy, E. Use of Forward Error Correction In an Ground-to-Air-to-Ground Telemetry and Control Links. In Proceedings of the International Telemetering Conference, San Diego, CA, USA, 24–27 September 1983; pp. 1–15. [Google Scholar]
- Cox, T.; Nichols, M. Convolutional Coding/Viterbi Decoding of PCM/FM. In Proceedings of the International Telemetering Conference, San Diego, CA, USA, 24–27 September 1983; pp. 1–8. [Google Scholar]
- Carden, F. A Quantized Euclidean Soft-Decision Maximum Likelihood Sequence Decoder: A Concept for Spectrally Efficient TM Systems. In Proceedings of the International Telemetering Conference, Las Vegas, NV, USA, 17–20 October 1988; pp. 1–11. [Google Scholar]
- Kopp, B. A Four-State Trellis-Coded 8-PSK Modulation Computer Simulation. In Proceedings of the International Telemetering Conference, Las Vegas, NV, USA, 17–20 October 1988; pp. 1–15. [Google Scholar]
- Verhaeghe, J. Testing the Quality of a PCM or PAM Telemetry System. In Proceedings of the International Telemetering Conference, San Diego, CA, USA, 30 October–2 November 1989; pp. 1–7. [Google Scholar]
- Carden, F.; Ross, M. A Spectrally Efficient Communication System: A 16-PSK Trellis Coded Modulation System Utilizing A Quantized Euclidean Decoder. In Proceedings of the International Telemetering Conference, San Diego, CA, USA, 30 October–2 November 1989; pp. 1–12. [Google Scholar]
- Ross, M.; Carden, F. A Quantized PSK 8-State Decoder for Spectrally Efficient Communications. In Proceedings of the International Telemetering Conference, Las Vegas, NV, USA, 30 October–2 November 1990; pp. 1–13. [Google Scholar]
- Berger, H.; Schechter, J. Modern Techniques for Monitoring Airborne Telemetry. In Proceedings of the International Telemetering Conference, Las Vegas, NV, USA, 4–7 November 1991; pp. 1–12. [Google Scholar]
- Carden, F.; Osborne, W.; Alhussiny, K. Simulation of Binary Continuous Phase Modulation Combined with (1,2)-Convolutional Encoder. In Proceedings of the International Telemetering Conference, San Diego, CA, USA, 26–29 October 1992; pp. 1–8. [Google Scholar]
- Cirineo, T.; Troublefield, B. Standard Interoperable Datalink System, Engineering Development Model. In Proceedings of the International Telemetering Conference, Las Vegas, NV, USA, 30 October–2 November 1995; pp. 1–9. [Google Scholar]
- Osborne, W.; Ara, S. Review of Bandwidth Efficient Modulations. In Proceedings of the International Telemetering Conference, Las Vegas, NV, USA, 30 October–2 November 1995; pp. 1–9. [Google Scholar]
- Cullen, J.; Keller, E. Subminiature Telemetry For Multiple Munition (Technology Transition). In Proceedings of the International Telemetering Conference, Las Vegas, NV, USA, 30 October–2 November 1995; pp. 1–10. [Google Scholar]
- Ross, M.; Osborne, W.; Jean-Baptiste, G. The Use of Non-Linear Amplifier Models in Bandlimited Channels. In Proceedings of the International Telemetering Conference, Las Vegas, NV, USA, 30 October–2 November 1995; pp. 1–7. [Google Scholar]
- Spoto, D.; Cosentino, O.; Fiorica, F. TRANSMED, A Scientific Mission Based on Stratospheric Balloons Using S-Band Telemetry Telecommand. In Proceedings of the International Telemetering Conference, Las Vegas, NV, USA, 30 October–2 November 1995; pp. 1–10. [Google Scholar]
- Markwardt, J.; LaPoint, S. Telemetry Challenges for Ballistic Missile Testing in the Central Pacific. In Proceedings of the International Telemetering Conference, San Diego, CA, USA, 28–31 October 1996; pp. 1–10. [Google Scholar]
- Cameron, A.; Cirineo, T.; Eggertsen, K. The Family of Interoperable Range Systems Transceivers (FIRST). In Proceedings of the International Telemetering Conference, San Diego, CA, USA, 28–31 October 1996; pp. 1–9. [Google Scholar]
- Chalfant, T.; Straehley, E.; Switzer, E. Advanced Rate Telemetry (ARTM) Preparing for a New Generation of Telemetry. In Proceedings of the International Telemetering Conference, San Diego, CA, USA, 28–31 October 1996; pp. 1–5. [Google Scholar]
- Chalfant, T.; Irving, C. Range Telemetry Improvement and Modernization. In Proceedings of the International Telemetering Conference, Las Vegas, NV, USA, 27–30 October 1997; pp. 1–10. [Google Scholar]
- Ghrayeb, A. On Symbol Timing Recovery In All-Digital Receivers. In Proceedings of the International Telemetering Conference, Las Vegas, NV, USA, 27–30 October 1997; pp. 1–10. [Google Scholar]
- Rice, M.; Welling, K.; Landon, D. Burst Analysis of Bit Errors on an F-16 Test Flight at Edwards AFB. In Proceedings of the International Telemetering Conference, Las Vegas, NV, USA, 27–30 October 1997; pp. 1–8. [Google Scholar]
- Rice, M.; Friend, D. Reed-Solomon Coding as a Multipath Fading Countermeasure for PCM/FM Aeronautical Telemetry. In Proceedings of the International Telemetering Conference, San Diego, CA, USA, 26–29 October 1998; pp. 1–8. [Google Scholar]
- Horcher, G. Design Considerations for Development of an Airborne FQPSK Transmitter. In Proceedings of the International Telemetering Conference, Las Vegas, NV, USA, 25–28 October 1999; pp. 1–7. [Google Scholar]
- Olsen, D. Proposed New Waveform Concept for Bandwidth And Power Efficient TT&C. In Proceedings of the International Telemetering Conference, Las Vegas, NV, USA, 25–28 October 1999; pp. 1–6. [Google Scholar]
- Reynolds, R.S. RCC Telemetry Standards: Where Do We Go From 1975? In Proceedings of the International Telemetering Conference, Silver Spring, MD, USA, 14–16 October 1975; pp. 1–2. [Google Scholar]
- Strock, O.J. Trends in Telemetry Systems. In Proceedings of the International Telemetering Conference, Las Vegas, NV, USA, 17–19 October 1988; pp. 1–4. [Google Scholar]
- Rauch, W. Telemetry Systems of the Future. In Proceedings of the International Telemetering Conference, San Diego, CA, USA, 30 October–2 November 1989; pp. 1–12. [Google Scholar]
- Doren, R.V. Airborne Telemetry Trends for the 1990’s. In Proceedings of the International Telemetering Conference, San Diego, CA, USA, 30 October–2 November 1989; pp. 1–20. [Google Scholar]
- Yates, J. Telemetry Processing Systems Design Trends. In Proceedings of the International Telemetering Conference, San Diego, CA, USA, 26–29 October 1998; pp. 1–9. [Google Scholar]
- Ungerboeck, G. Channel Coding with Multilevel/Phase Signals. IEEE Trans. Inf. Theory 1982, IT-28, 55–67. [Google Scholar] [CrossRef]
- Ungerboeck, G. Trellis-Coded Modulation with Redundant Signal Sets Part I: Introduction. IEEE Commun. Mag. 1987, 25, 5–11. [Google Scholar] [CrossRef]
- Ungerboeck, G. Trellis-Coded Modulation with Redundant Signal Sets Part II: State of the Art. IEEE Commun. Mag. 1987, 25, 12–21. [Google Scholar] [CrossRef]
- Viterbi, A.; Wolf, J.; Zehavi, E.; Padovani, R. A Pragmatic Approach to Trellis-Coded Modulation. IEEE Commun. Mag. 1989, 27, 11–19. [Google Scholar] [CrossRef]
- Ross, M.; Carden, F.; Osborne, W. Pragmatic Trellis Coded Modulation: A Simulation Using 24-Sector Quantized 8-PSK. In Proceedings of the IEEE International Conference on Computers and Communications, Scottsdale, AZ, USA, 1–3 April 1992; pp. 3.3.3.1–3.3.3.8. [Google Scholar]
- Ross, M.; Carden, F.; Osborne, W.; Stolarczyk, J. Pragmatic Trellis Coded Modulation: A Hardware Implementation Using 24-Sector Quantized 8-PSK. In Proceedings of the IEEE International Conference on Communications, Chicago, IL, USA, 14–18 June 1992; pp. 353.2.1–353.2.5. [Google Scholar]
- Wikipedia Contributors. Bell Boeing V-22 Osprey—Wikipedia, The Free Encyclopedia. 2024. Available online: https://en.wikipedia.org/w/index.php?title=Bell_Boeing_V-22_Osprey&oldid=1223761391 (accessed on 15 May 2024).
- IRIG 106-23; Telemetry Standards. Telemetry Group, Range Commanders Council: White Sands Missile Range, NM, USA, 2023. Available online: https://www.trmc.osd.mil/wiki/display/publicRCC/106+Telemetry+Standards (accessed on 13 July 2024).
- Rymer, W.; (Naval Air Test Center, Patuxent River, MD, USA). retired. Personal communication, 26 March 2024.
- IEEE Std 802.3-2022 (Revision of IEEE Std 802.3-2018); IEEE Standard for Ethernet. Institute of Electrical and Electronics Engineers: Piscataway, NJ, USA, 2022.
- Leung, P.; Feher, K. F-QPSK—A Superior Modulation Technique for Mobile and Personal Communications. IEEE Trans. Broadcast. 1993, 39, 288–294. [Google Scholar] [CrossRef]
- Feher, K. Filter. U.S. Patent 4,339,724, 13 July 1982. [Google Scholar]
- Kato, S.; Feher, K. Correlated Signal Processor. U.S. Patent 4,567,602, 18 January 1986. [Google Scholar]
- Seo, J.; Feher, K. Superposed Quadrature Modulated Baseband Signal Processor. U.S. Patent 4,644,565, 13 February 1990. [Google Scholar]
- IRIG 106-00; Telemetry Standards. Telemetry Group, Range Commanders Council: White Sands Missile Range, NM, USA, 2000.
- Jefferis, R. FQPSK-B Baseband Filter Alternatives. In Proceedings of the International Telemetering Conference, San Diego, CA, USA, 21–24 October 2002; pp. 1–11. [Google Scholar]
- IRIG 106-04; Telemetry Standards. Telemetry Group, Range Commanders Council: White Sands Missile Range, NM, USA, 2004.
- Hill, T. An Enhanced, Constant Envelope, Interoperable Shaped Offset QPSK (SOQPSK) Waveform For Improved Spectral Efficiency. In Proceedings of the International Telemetering Conference, San Diego, CA, USA, 23–26 October 2000; pp. 1–10. [Google Scholar]
- Nelson, T.; Perrins, E.; Rice, M. Near Optimal Common Detection Techniques for Shaped Offset QPSK and Feher’s QPSK. IEEE Trans. Commun. 2008, 56, 724–735. [Google Scholar] [CrossRef]
- Aulin, T.; Rydbeck, N.; Sundberg, C.E. Continuous Phase Modulation—Part I: Full Response Signaling. IEEE Trans. Commun. 1981, 29, 196–209. [Google Scholar] [CrossRef]
- Aulin, T.; Rydbeck, N.; Sundberg, C.E. Continuous Phase Modulation—Part II: Partial Response Signaling. IEEE Trans. Commun. 1981, 29, 210–225. [Google Scholar] [CrossRef]
- Anderson, J.; Aulin, T.; Sundberg, C.E. Digital Phase Modulation; Plenum Press: New York, NY, USA, 1986. [Google Scholar]
- Wikipedia Contributors. North American Sabreliner—Wikipedia, The Free Encyclopedia. 2024. Available online: https://en.wikipedia.org/w/index.php?title=North_American_Sabreliner&oldid=1222589636 (accessed on 16 May 2024).
- Wikipedia Contributors. McDonnell Douglas F/A-18 Hornet—Wikipedia, The Free Encyclopedia. 2024. Available online: https://en.wikipedia.org/w/index.php?title=McDonnell_Douglas_F/A-18_Hornet&oldid=1224103311 (accessed on 16 May 2024).
- Friend, D.; Rice, M. BER Analysis of an F-16 Test Run at Edwards AFB. In Proceedings of the International Telemetering Conference, Las Vegas, NV, USA, 27–30 October 1997; pp. 1–7. [Google Scholar]
- Pyndiah, R.; Glavieux, A.; Picart, A.; Jacq, S. Near Optimum Decoding fo Product Codes. In Proceedings of the IEEE Conference on Global Communications, San Francisco, CA, USA, 28 November–2 December 1994; pp. 339–343. [Google Scholar]
- Geoghegan, M. Extending the Range of PCM/FM Using a Multi-Symbol Detector and Turbo Coding. In Proceedings of the International Telemetering Conference, San Diego, CA, USA, 21–24 October 2002; pp. 1–8. [Google Scholar]
- Geoghegan, M. Experimental Results for PCM/FM, Tier 1 SOQPSK, and Tier II Multi-H CPM with Turbo Product Codes. In Proceedings of the International Telemetering Conference, Las Vegas, NV, USA, 20–23 October 2003; pp. 1–10. [Google Scholar]
- Perrins, E. FEC Systems for Aeronautical Telemetry. IEEE Trans. Aerosp. Electron. Syst. 2013, 49, 2340–2352. [Google Scholar] [CrossRef]
- Temple, K. Performance Trade-Offs When Implementing Turbo Product Code Forward Error Correction for Airborne Telemetry. In Proceedings of the International Telemetering Conference, San Diego, CA, USA, 18–21 October 2004; pp. 1–17. [Google Scholar]
- Wikipedia Contributors. Boeing EA-18G Growler—Wikipedia, The Free Encyclopedia. 2024. Available online: https://en.wikipedia.org/w/index.php?title=Boeing_EA-18G_Growler&oldid=1218104410 (accessed on 21 May 2024).
- Wegener, J.; Roche, M. The Design of a 21st Century Telemetry System with SOQPSK Modulation and Integrated Control. In Proceedings of the International Telemetering Conference, Las Vegas, NV, USA, 24–27 October 2005; pp. 1–10. [Google Scholar]
- Wegener, J.; Zettwoch, R.; Roche, M. The Evaluation and Integration of an Instrumentation and Telemetry System with SOQPSK Modulation and Control Integrated with Avionics Displays. In Proceedings of the International Telemetering Conference, Las Vegas, NV, USA, 22–25 October 2007; pp. 1–10. [Google Scholar]
- Geoghegan, M.; (Quasonix, LLC., Cincinnati, OH, USA). Personal communication, 24 April 2024.
- Cronk, S.; Tobin, M.; Sakahara, R. Enhanced Flight Termination System Study Overview and Status. In Proceedings of the International Telemetering Conference, Las Vegas, NV, USA, 22–25 October 2001; pp. 1–7. [Google Scholar]
- Wikipedia contributors. Northrop Grumman RQ-4 Global Hawk—Wikipedia, The Free Encyclopedia. 2024. Available online: https://en.wikipedia.org/w/index.php?title=Northrop_Grumman_RQ-4_Global_Hawk&oldid=1224349453 (accessed on 20 May 2024).
- Ettinger, B. Western Museum of Flight. RQ-4A Global Hawk Crash Termination. 2020. Available online: https://youtu.be/KZT-wY6XUhU?si=5T1rTtqkJl77Fqig (accessed on 17 May 2024).
- Peck, M. Global Hawk Crashes: Who’s to Blame? National Defense Magazine; 1 May 2003. Available online: https://www.nationaldefensemagazine.org/articles/2003/5/1/2003may-global-hawk-crashes-whos-to-blame (accessed on 16 May 2024).
- Arce, D.; Garza, R.; McAndrews, T. Enhanced Flight Termination System Study—Phase II and III Status. In Proceedings of the International Telemetering Conference, Las Vegas, NV, USA, 22–25 October 2001; pp. 1–6. [Google Scholar]
- McAndrews, T. Enhanced Flight Termination System Program—Part Two. In Proceedings of the International Telemetering Conference, San Diego, CA, USA, 21–24 October 2002; pp. 1–6. [Google Scholar]
- Hunter, R. High Alphabet Flight Termination System. In Proceedings of the International Telemetering Conference, Las Vegas, NV, USA, 22–25 October 2001; pp. 1–6. [Google Scholar]
- Vetter, J.; Cribbet, T. The Design and Development of the Prototype Enhanced Flight Termination System. In Proceedings of the International Telemetering Conference, Las Vegas, NV, USA, 20–23 October 2003; pp. 1–10. [Google Scholar]
- Tow, D.; Arce, D. Enhanced Flight Termination System Flight Demonstration and Results. In Proceedings of the International Telemetering Conference, Las Vegas, NV, USA, 22–25 October 2007; pp. 1–11. [Google Scholar]
- Valencia, L. NASA/Kennedy Space Center. Autonomous Flight Termination System (AFTS). Available online: https://flightopportunities.ndc.nasa.gov/technologies/165/ (accessed on 20 May 2024).
- Defence Advanced Research Projects Agency (DARPA). Autonomous Flight Termination System (AFTS). Available online: https://www.darpa.mil/attachments/20160429_ALASA_DISTAR_26439.pdf (accessed on 20 May 2024).
- Palmer, R.; (US Air Force, Edwards AFB, CA, USA). Personal communication, 20 May 2024.
- IRIG 106-15; Telemetry Standards. Telemetry Group, Range Commanders Council: White Sands Missile Range, NM, USA, 2015. Available online: https://www.trmc.osd.mil/wiki/display/publicRCC/106-15+Telemetry+Standards (accessed on 13 July 2024).
- Diehl, M.; Swain, J.; Wilcox, T. Can Space Time Encoding and Adaptive Equalization Benefit Rotary-Wing Missions at The Yuma Proving Ground? In Proceedings of the International Telemetering Conference, Las Vegas, NV, USA, 26–29 October 2015; pp. 1–10. [Google Scholar]
- Blanc, G.; Skrzypczak, Z.; Pierozak, J.G. Blind Equalization with LDPC Codes: To Quasi-Error Free Transmissions in Telemetry. In Proceedings of the International Telemetering Conference, Glendale, AZ, USA, 7–10 November 2016; pp. 1–11. [Google Scholar]
- Diehl, M.; Swain, J.; Wilcox, T. Rotary-Wing Flight Tests To Determine The Benefits of Frequency and Spatial Diversity at the Yuma Proving Ground. In Proceedings of the International Telemetering Conference, Glendale, AZ, USA, 7–10 November 2016; pp. 1–9. [Google Scholar]
- Wolfson, S.; Blumkin, G.; Sandberg, A. Low Density Parity Check Error Correcting Limitation Testing. In Proceedings of the International Telemetering Conference, Las Vegas, NV, USA, 25–28 October 2021; pp. 1–7. [Google Scholar]
- Temple, K. Low Density Parity Check Forward Error Correction for Your Telemetry Link. In Proceedings of the International Telemetering Conference, Las Vegas, NV, USA, 25–28 October 2021; pp. 1–12. [Google Scholar]
- Diehl, M.; Wilcox, T.; Velador, A.; Lopez, J. Competing Radio Frequency Mitigation. In Proceedings of the International Telemetering Conference, Las Vegas, NV, USA, 23–26 October 2023; pp. 1–16. [Google Scholar]
- IRIG 106-17; Telemetry Standards. Telemetry Group, Range Commanders Council: White Sands Missile Range, NM, USA, 2017. Available online: https://www.trmc.osd.mil/wiki/display/publicRCC/106-17+Telemetry+Standards (accessed on 13 July 2024).
- Morgan, J.; (Formerly with the 412-th Test Wing, Air Force Test Center, Edwards, AFB, CA, USA; Now with Laulima Systems, Charlottesville, VA, USA). Personal communication, 28 May 2024.
- Bagó, B.; (Safran Data Systems GmbH, Bergisch Gladbach, Germany). Personal communication, 29 May 2024.
- Pappas, J.; Bagó, B.; Cranley, N.; Poisson, G. PCM Telemetry Downlink for IRIG 106 Chapter 10 Data. In Proceedings of the International Telemetering Conference, Las Vegas, NV, USA, 21–24 October 2013; pp. 1–10. [Google Scholar]












| Turbo Code Rate | Turbo Code Outputs |
|---|---|
| out 0a, out 1a, out 0a, out 1b, …, repeated times | |
| out 0a, out 1a, out 1b, …, repeated times | |
| out 0a, out 2a, out 3a, out 1b, …, repeated times | |
| out 0a, out 1a, out 2a, out 3a, out 1b, out 3b, …, repeated times |
| Rate-1/2 | Rate-2/3 | Rate-4/5 | |
|---|---|---|---|
Disclaimer/Publisher’s Note: The statements, opinions and data contained in all publications are solely those of the individual author(s) and contributor(s) and not of MDPI and/or the editor(s). MDPI and/or the editor(s) disclaim responsibility for any injury to people or property resulting from any ideas, methods, instructions or products referred to in the content. |
© 2024 by the author. Licensee MDPI, Basel, Switzerland. This article is an open access article distributed under the terms and conditions of the Creative Commons Attribution (CC BY) license (https://creativecommons.org/licenses/by/4.0/).
Share and Cite
Rice, M. A History of Channel Coding in Aeronautical Mobile Telemetry and Deep-Space Telemetry. Entropy 2024, 26, 694. https://doi.org/10.3390/e26080694
Rice M. A History of Channel Coding in Aeronautical Mobile Telemetry and Deep-Space Telemetry. Entropy. 2024; 26(8):694. https://doi.org/10.3390/e26080694
Chicago/Turabian StyleRice, Michael. 2024. "A History of Channel Coding in Aeronautical Mobile Telemetry and Deep-Space Telemetry" Entropy 26, no. 8: 694. https://doi.org/10.3390/e26080694
APA StyleRice, M. (2024). A History of Channel Coding in Aeronautical Mobile Telemetry and Deep-Space Telemetry. Entropy, 26(8), 694. https://doi.org/10.3390/e26080694
