Abstract
In this study, we design an algorithm to work on gate-based quantum computers. Based on the algorithm, we construct a quantum circuit that represents the surplus process of a cedant under a reinsurance agreement. This circuit takes into account a variety of factors: initial reserve, insurance premium, reinsurance premium, and specific amounts related to claims, retention, and deductibles for two different non-proportional reinsurance contracts. Additionally, we demonstrate how to perturb the actuarial stochastic process using Hadamard gates to account for unpredictable damage. We conclude by presenting graphs and numerical results to validate our capital modelling approach.
MSC:
58D30; 81P68; 91B30; 97M30
1. Introduction
The insurance and reinsurance industry has been undergoing transformations due to new emerging risks and technologies. Cyber risk, climate change, financial volatility, and demographic shift can be counted as top emerging risks [1]. As for new technologies, wearable technologies, artificial intelligence, and quantum computers are becoming increasingly prominent. Although these new technologies enable more accurate computations for fair pricing and improved monitoring of insurable assets, some technologies contribute to the potential risk level of the traditional insurance policies that include cyber risk as a sub-peril. Some effects of these new technologies on traditional insurance policies are detailed in Table 1.
Table 1.
Impacts of New Technologies on Different Types of Insurance.
Although quantum computing is gaining popularity due to investments from both the government and private sectors, the industry confronts several challenges. One significant hurdle is the number of qubits in a quantum computer. For instance, IBM aims to achieve 1121 qubits with its Condor chip by the end of 2023 [2]. However, long-term quantum algorithms necessitate millions of qubits. Another major concern is the noise in quantum computers, leading them to produce errors. It is anticipated that these issues will be resolved within a decade. In the interim, with the aid of error correction, short-term quantum algorithms can serve as a bridge until more advanced and refined quantum technologies emerge.
In the realm of actuarial mathematics, elements of quantum mechanics, specifically Dirac notations and Feynman path calculation, have been applied to various areas: the ruin probability of an insurance company [3], the solvency of insurers and equalisation reserves [4], reinsurance optimisation, [5] and, catastrophe modelling. However, in these studies, quantum computers were not utilised. The first algorithm developed for predicting insurance capital on quantum computers [6] was based on the traditional surplus process. This algorithm was executed using a simulator in the IBM Qiskit environment.
Quantum computing, quantum machine learning [7,8], quantum cryptography [9], quantum telecommunication [10], and quantum sensing [11] will be directly or indirectly employed in the insurance industry for the purposes listed in Table 2.
Table 2.
Potential Use of Quantum Technologies in the Insurance Industry.
The traditional insurance surplus process with quantum computing was studied in previous work. In this follow-up paper, we broaden our scope to reinsurance modelling. As such, Tamturk’s algorithm, introduced in [6], is expanded to predict an insurance company’s capital under two different non-proportional reinsurance agreements. The primary distinction between the previous and current studies lies in how we address non-proportional reinsurance models with claim limits, deductibles, reinsurance premiums, and retention levels in quantum computation. In this research, unlike the previous paper, we specifically focus on modifying the claim gate to account for claim limits and deductibles, observing the system’s capital based on capital retention through conditional quantum gates to determine the necessity of capital injection, applying (primary) premium and reinsurance premium gates, either separately or simultaneously, and perturbing the stochastic process according to different uncertainty levels. This represents the first algorithm for reinsurance modelling executed on a quantum computer. In this research, we use the Qiskit framework because it is an open-source software development kit for working with IBM quantum computers. Furthermore, the IBM quantum computer is based on the superconducting type technology, which is more widely used compared to other quantum technologies, such as photonic and trapped-ion technologies.
The primary motivation of this paper is to demonstrate the applicability of quantum computing to insurance mathematics since some challenges such as climate change and pandemics have prompted us to explore alternative computational approaches that offer greater accuracy.
2. Fundamentals of Quantum Mechanics
For each capital amount, corresponding quantum states should be defined. Therefore, we initialise a quantum state representing the cedant’s capital. This state will undergo changes due to variables such as premiums, claims, and reinsurance premiums during the stochastic process. At the end of the computation, the final quantum state will indicate the capital of the insurance company.
In quantum mechanics, a ket vector describes a quantum state, Its Hermitian conjugate is represented by bra vector . Notations and symbols using in the this paper are listed in Table 3.
Table 3.
Fundamental notations.
In quantum computing, qubits are used instead of the traditional bits or . The primary difference between qubits and bits is that a qubit can exist in a superposition state, meaning it can represent both 0 and 1 simultaneously until the system is measured. Upon measurement, the superposition collapses to either 0 or 1.
In the Bloch sphere depicted below, the qubit vector can be located at any point on the sphere. The position of the vector affects the probability of obtaining 0 or 1 upon measurement. The tensor product of qubits represents another quantum state or an energy level. In other words, it gives us the capital of an insurance company after the measurement from an insurance mathematics perspective.
Let , be qubits. Then, the tensor product of these qubits results in another ket vector.

3. Primary Premium, Reinsurance Premium, and Claim Gates
The tensor product of the qubits yields another ket vector, which defines the initial state of the system in our algorithm. Over time, the initial state is subject to change due to income and expenses in the actuarial process. In our quantum computations, all income and expenses are represented as quantum gates. Premium and claim gates, corresponding to premium and claim amounts for n qubits, can be generated as:
and
where n is number of the qubits, c is premium amount, X is the insurance claim amount.
These multi-qubit gates are state changer matrices that alter the quantum state of the system, which corresponds to the capital of the insurance company. They impact the current quantum state of the capital via both destructive and constructive interference. Consequently, while premium gates induce constructive interference (leading to an increase in capital), claim gates and reinsurance premium gates cause destructive interference, resulting in a decrease in the capital of the primary insurance company as in Figure 1.
Figure 1.
An example for premium and claim gates for and .
Similar to the (claim gate), which acts as a payoff, the reinsurance premium gate, , represents a state changer matrix. This matrix corresponds to the amount of the reinsurance premium paid by the cedant. It can be defined as:
where is the reinsurance premium amount.
4. Insurance Capital Modelling under Reinsurance Contracts with Quantum Mechanics
The classical surplus process of an insurance company without reinsurance agreement [12,13] is given by
where represents the initial reserve, and denotes the insurance premium amount. is defined as a compound Poisson process. This process consists of a sequence of positive integer-valued independent and identically distributed claim amounts . Meanwhile, represents the number of insurance claims up to time t. This is characterised by a Poisson process with a constant frequency rate . In this paper, we develop quantum computing algorithms for two distinct reinsurance contracts.
4.1. Non-Proportional Reinsurance Based on Loss Retention
Firstly, we consider a non-proportional reinsurance contract characterised by limit and deductible amounts. Based on the terms of the reinsurance contract, the surplus process can be expressed as
where is the reinsurance premium, and , is the amount paid by the reinsurance company, and
where d and l are the reinsurance deductible and limit, as seen in Figure 2.
Figure 2.
Gross and net claim after deductable and limits.
4.2. Non-Proportional Reinsurance Based on Capital Retention
In the second non-proportional reinsurance contract, we focus on insuring the reserve of the insurance company. According to the reinsurance agreement, if the capital of the insurance company falls below a retention level , the reinsurance company will make capital injections. The surplus process, in the context of this non-proportional reinsurance agreement, can be described as
where is the total capital injections paid by the reinsurance company.
4.3. Quantum Walk in Insurance Capital Modelling
Let us assume is the energy level of a system at time . The transition probability between energy levels, denoted as , can be computed with a Markovian operator P as [14,15].
The term is known as a propagator. In physics, it is utilised to calculate the probability amplitude for a particle to travel within a given spacetime, from point to point . In finance, the propagator assists in determining the probability of changes in a quantum walk, which can represent changes in capital amount, option price, or share price over a designated time period.
Transition probability from at time 0 to at time via is
Using Feynman’s path integral approach combined with Dirac notation [16,17,18], the probability of an insurance company’s reserve at time t can be modelled across all potential paths in discrete space as below. This approach is particularly relevant because quantum objects are discrete [19].
where denote the reserve of the insurance company at time , . In quantum modelling, represents reserve states. The term o is error margin, influenced by the numerical approximation in the path approach. P is an operator associated with Hamiltonian operator H, such that .
In [5], a capital injection operator M is introduced, with 0 representing the absorption (ruin) state and r denoting the retention level. This implies that for any real function f
With the capital injection M and , we can then write
In this paper, all quantum operations are conducted within the Hilbert space, a complete vector space. This space is considered separable if its basis is countable, irrespective of its dimension.
Given eigenvector of the Hamiltonian operator, its corresponding eigenvalue , we can express the propagator using the completeness equation as
where i is a complex unit. The completeness equation is with momentum basis . The inner products can be defined by
The Hamiltonian operator corresponds to the total energy of the system, which is the sum of kinetic and potential energy (). The relationship between the Hamiltonian operator H, its eigenstate , and the associated eigenvalue in Hilbert space is given by
Tamturk and Utev studied how to compute the propagators based on different Hamiltonian operators and claim distributions, such as exponential and Gaussian distributions, in actuarial stochastic modelling [3,5]. Quantum computing leverages the properties of quantum mechanics to tackle complex problems. Although quantum mechanics offers a broader scope for computation, quantum computers face limitations in terms of qubit number, qubit stabilisation, and operator type. For instance, all operators, with the exception of measurement, must be unitary matrices. Some unitary matrices, such as quantum gates [20,21,22], are listed in Table 4. These gates are used to modify qubits, which serve as a means to change the quantum state. In the following section, we modify the claim gate discussed in Section 2 by incorporating the claim limit and the deductible. Taking into account the company’s initial reserve, insurance premium, reinsurance premium, claim amount, and time, we construct the quantum circuit.
Table 4.
Quantum rotation and phase gates.
5. Quantum Algorithm to Predict Insurance Capital under Reinsurance Agreement
According to Tamturk’s algorithm in [6], we require n qubits that satisfy the following condition:
where quantum states corresponding to negative capitals are taken into consideration by deficit amount at ruin time .
The number of qubits required in the quantum circuit depends on all potential states the insurance company’s capital can attain. Additionally, the count of Hadamard gates should be considered, thereby increasing the total qubit count.
To create initial ket vector of the system, the initial reserve must be converted into binary form as follows:
Simply, the expected reserve of the insurance company at a given time is the sum of the products of possible quantum states and their respective probabilities, which is calculated by the formula:
After initialising qubits to represent the initial reserve, the subsequent step involves applying premium and claim gates to all qubits in sequence, repeated times. Let represent the insurance premium gate and represent the claim gate, respectively. Then,
where is fixed and not probabilistic, while is generated randomly each time. If the insurance claim is zero within the time interval, the claim gate will be represented by an identity matrix .
The performance of the algorithm plays a significant role in the decision-making process. Directly comparing the running time of quantum and classical algorithms may not be appropriate, as quantum hardware technology is still in its nascent stages compared to its classical counterpart and is evolving rapidly. Therefore, the Big O notation is widely used as a metric to determine an algorithm’s efficiency, focusing on the number of steps required to solve a problem. However, the primary objective of this paper is to demonstrate the applicability of quantum computing, as this is the first research on reinsurance modelling using a quantum computer.
In Figure 3, to observe the complexity, the number of qubits and the dimensions of the gates (premium and claim) with respect to the potential capital range are shown.
Figure 3.
The number of qubits and the dimensions of the gates according to potential capital range.
As seen from the graphs in Figure 3,the increase in qubit number is slowing over capital range. However, there is a linear relationship between dimension of the operators and the capital range which raises significant concerns regarding complexity. To address this issue, we can adjust our capital grid size. In Table 5, the difference between consecutive quantum states in terms of capital was 1 (GBP or USD). However, by altering the value in Equation (10), this difference can be increased to 10, 100, 1000, 10,000, and so on. Consequently, the problem can be addressed by reducing the dimension of the operators, such as .
Table 5.
Initial capitals and corresponding basis vectors for 10 qubits in case of a negligible probability of insolvency for .
5.1. Quantum Circuit for Non-Proportional Reinsurance Based on Loss Retention
In reinsurance modelling, it is essential to consider both the reinsurance premium and the reinsurer’s claim cover. For the first non-proportional reinsurance contract, there are two methods to account for the reinsurance premium. Firstly, if the cedant’s premium and the reinsurance fee are transacted simultaneously, then the PG for can be applied. Secondly, insurance premium and reinsurance premium gates can be applied separetely.
For the reinsurance modelling, the claim gate for the cedant must be adjusted to account for the deductible and the limit .
where represents the net claim amount paid by the cedant under the reinsurance arrangement
Hadamard gates can be applied at each time step, starting with the first qubit, to better account for uncertainty. Table 6 delineates the relationship between the level of uncertainty and the use of Hadamard gates within the quantum circuit.
Table 6.
Application of Hadamard Gates in Relation to Uncertainty Levels.
It is evident that when the uncertainty level is zero, the quantum outcome aligns with classical results (ignoring potential errors). As the uncertainty level increases, we perturb the stochastic process using Hadamard gates.
For the uncertainty level = 3 and , the quantum diagram in the IBM quantum computer [23] is displayed in Figure 4.
Figure 4.
Quantum circuit for the uncertainty level = 3 and time = 7.
The quantum circuit has been run in Aer Simulator in the Qiskit environment, and the simulation results, showing the quantum states of the insurance company’s capital and the number of times they occur, are displayed in Figure 5 as color-coded based on the uncertainty level: blue for level = 1, red for level = 2, and green for level = 3. Furthermore, capital values corresponding to the quantum states and the probability they appear in the simulation are displayed with respect to different uncertainty levels in Figure 6. As anticipated, the quantum spectrum broadens with increasing uncertainty levels. The minimum, maximum, and expected values corresponding to these results are detailed in Table 7.
Figure 5.
Quantum states and the number of times they appear in the simulation. Color Note: Blue for level 1, red for level 2, and green for level 3.

Figure 6.
Capital values and the probability they appear in the simulation.
Table 7.
Minimum, Maximum, and Expected Values in Relation to Uncertainty Levels.
We observe that the simulation results closely align with those from classical computation. According to the classical computation with uncertainty level set to 0, the expected result can be easily computed by
Furthermore, we observe that an increase in the uncertainty level results in an expected expansion of the potential capital range. In this context, we accomplished two primary objectives. First, we showcased the applicability of quantum computing in reinsurance modelling. Second, we introduced perturbations to the stochastic process using Hadamard gates to account for unpredictability and uncertainty.
The detailed pseudo code is available in Algorithm 1.
| Algorithm 1: Algorithm for Insurance capital modelling under claim based reinsurance | |||
| Inputs: Initial reserve, premium amount, reinsurance premium amount, claim mean, claim variance, claim retention, claim deductible, time and uncertainty level | |||
| Output: Possible capital range and expected capital of the insurance company at the time | |||
| 1 Calculate the number of qubits needed in the circuit | |||
| 2 Initialise the qubits according to the initial reserve | |||
| 3 for to time do | |||
| 4 | // The loop is demonstrated for observing unit time of 1. If not, the loop should iterate from 1 to (time/unit time). | ||
| 5 | Apply the premium(s) gate to all qubits // Primary Premium and Reinsurance Premium gates can be applied either separately or in a merged version as mentioned in Equation (14). | ||
| 6 | Apply the claim gate to all qubits // The Claim gates will be generated randomly based on the claim mean and claim variance. | ||
| 7 | for to Uncertainty Level do | ||
| 8 | Apply the Hadamard gate to the z-th qubit | ||
| 9 | end for | ||
| 10 end for | |||
| 11 Run the quantum simulator and measure the system. // AerSimulator, Qiskit. | |||
| 12 Convert the obtained quantum states from the simulation to real capital values (find the corresponding capital values of the last quantum states) | |||
| 13 Create graphs to visualise the possible capital range, highlighting the minimum and maximum values. | |||
| 14 Compute the expected capital of the insurance company | |||
| 15 return The expected capital and the graphs | |||
5.2. Quantum Circuit for Non-Proportional Reinsurance Based on Capital Retention
In the context of the second reinsurance contract [24,25], it is essential to keep a close eye on the cedant’s capital to ascertain if there is a need for a capital injection. From the illustration in Figure 7, it is evident that capital injections occur whenever the cedant’s capital drops below the retention levels.
Figure 7.
Monitoring the primary insurance company’s capital.
We cannot directly employ the injection operator within the quantum computer since it is not a unitary operator. M is not unitary due to with is not satisfied in the Hilbert space. Given this, instead of using the injection operator, it is imperative to employ dynamic conditional gates, such as the CX gate (also known as the CNOT gate), within the quantum circuit. The CX gate is a 2-qubit gate. If the first qubit (control qubit) is , then it will flip second qubit (the targets qubit) state from to or vice versa.
For simplicity, we create a quantum circuit with respect to a specific retention level . It means that if the last two qubits are at the zero position, the capital injection operator will be applied. To observe the last two qubits, and double controlled-NOT gate (), also known as a Toffoli gate, are applied and detailed in Table 8. When the capital falls to or reaches the retention level, the first six qubits are set to the position to indicate a capital injection.
Table 8.
Matrix Form and Qiskit Representation of Conditional Gates.
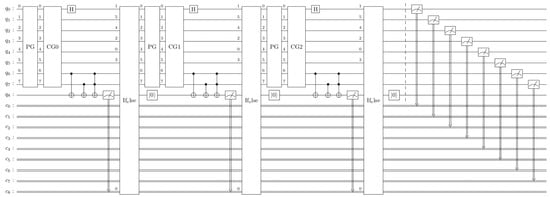
As illustrated in Figure 8, at each time step, we apply the net premium and claim gates. Subsequently, we assess the status of the sixth and seventh qubits using and gates and measuring the last qubit. If this last qubit is in the “0” state, a capital injection is initiated using the reset operator and some of rotation and phase gates (as listed in Table 4) inside of the “Ifelse” section. If the last qubit is in the “1” state, no action is taken because the cedant’s capital is higher than the retention level. Lastly, we measure all qubits at the end of the process, excluding the last one, to determine the final quantum state representing the cedant’s capital. The pseudo code is available in Algorithm 2. Certainly, as the retention level changes, the complexity of the algorithm required to handle insurance and reinsurance processes can vary.
| Algorithm 2: Algorithm for insurance capital modelling under capital retention-based reinsurance | |||
| Inputs: Initial reserve, premium amount, reinsurance premium amount, claim mean, claim variance, capital retention, time and uncertainty level | |||
| Output: Possible capital range and expected capital of the insurance company at the time | |||
| 1 Calculate the number of qubits needed in the circuit | |||
| 2 Initialise the qubits according to the initial reserve | |||
| 3 for to time do | |||
| 4 | Apply the premium(s) gate to qubits (inside in the capital range) // Primary premium and reinsurance premium gates can be applied either separately or in a merged version as mentioned in Equation (14). | ||
| 5 | Apply the claim gate to qubits (inside in the capital range) // The claim gates will be generated randomly based on the claim mean and claim variance. | ||
| 6 | for to Uncertainty Level do | ||
| 7 | Apply the Hadamard gate to the z-th qubit (inside in the capital range) | ||
| 8 | end for | ||
| 9 | Apply the conditional gates with respect to the retention level | ||
| 10 | Measure the last qubit | ||
| 11 | if The last qubit = 1 then | ||
| 12 | Do nothing | ||
| 13 | // Capital of the company is not less than the retentian level. No need to capital injection. | ||
| 14 | else | ||
| 15 | Apply the relevant gates from Table 4 to alter the quantum states. | ||
| 16 | end if | ||
| 17 end for | |||
| 18 Run the quantum simulator and measure the system. // AerSimulator, Qiskit. | |||
| 19 Convert the obtained quantum states from the simulation to real capital values (find the corresponding capital values of the last quantum states) | |||
| 20 Create graphs to visualise the possible capital range, highlighting the minimum and maximum values. | |||
| 21 Compute the expected capital of the insurance company | |||
| 22 return The expected capital and the graphs | |||
Figure 8.
Quantum circuit with 8 qubits and 8 bits for non-proportional reinsurance contract with conditional operators.
6. Conclusions
In this study, we explored reinsurance modelling within the Qiskit environment, delving into the foundational concepts of quantum mechanics, quantum symbols, circuits, and algorithms. While advanced algorithms are essential for intricate insurance modelling, ensuring time efficiency and enhanced outcomes, contemporary quantum computers face challenges related to hardware and qubit numbers. Nonetheless, given these technological advances, the quantum computing field is poised to draw increasing attention from actuarial researchers. As globalisation and climate change augment uncertainties in the insurance industry, there is a pressing need for more sophisticated models, facilitated by emerging technologies.
One of the primary distinctions between classical and quantum computers lies in their input handling. While classical computers require specific inputs, quantum computers can place some inputs in superposition. This unique capability allows us to tackle problems in unconventional ways. In the insurance industry, there is significant concern for events like new pandemics, wars, financial crises, and climate change. By utilising superposition for parameters related to these events, we can develop innovative prediction methods that aim for greater accuracy. Through this paper, our goal is to pique the interest of actuarial researchers in these alternative prediction techniques using quantum computing.
As mentioned in the introduction, quantum technology is vast and consists of several sub-areas. Specifically, quantum computing, quantum machine learning, and quantum cryptography hold significant potential for actuarial researchers. Through this research, we have demonstrated the applicability of quantum computing for reinsurance modelling. We observed that the quantum simulation results are quite similar to the classical ones, as expected. Furthermore, in this paper, we illustrated the use of Hadamard gates to account for uncertainties. We do not claim whether this algorithm is superior to classical ones or not. However, we hope this paper serves as a foundational reference for researchers interested in exploring actuarial computations using quantum computers.
Author Contributions
M.T. developed the quantum methodology and wrote draft version of the manuscript. M.C. reviewed and edited the manuscript. All authors have read and agreed to the final version of the manuscript.
Funding
This research received no external funding.
Informed Consent Statement
Not applicable.
Data Availability Statement
Not applicable.
Acknowledgments
This research was conducted by the Antares Global Research and Development team. We thank Antares Global for their support.
Conflicts of Interest
The authors declare no conflict of interest.
References
- Reynolds, F.; Richard, F.; Schraub, D.; Rudolph, M.; Shang, K.; Akhtari, D.; Hossen, Z.; Leiser, B.; Kerbeshian, J. 12th Annual Survey of Emerging Risks. 2019. Available online: https://www.soa.org/globalassets/assets/library/newsletters/risk-management-newsletter/2019/september/rm-2019-iss-45.pdf (accessed on 10 August 2023).
- IBM. Available online: https://www.ibm.com/quantum/roadmap (accessed on 10 August 2023).
- Tamturk, M.; Utev, S. Ruin probability via quantum mechanics approach. Insur. Math. Econ. 2018, 79, 69–74. [Google Scholar]
- Goovaerts, M.J.; De Vylder, F.; Kaas, R. A stochastic approach to insurance cycles. Insur. Math. Econ. 1992, 11, 97–107. [Google Scholar] [CrossRef]
- Tamturk, M.; Utev, S. Optimal reinsurance via Dirac-Feynman approach. Methodol. Comput. Appl. Probab. 2019, 21, 647–659. [Google Scholar] [CrossRef]
- Tamturk, M. Quantum Computing in Insurance Capital Modelling. Mathematics 2023, 11, 658. [Google Scholar] [CrossRef]
- Jacquier, A.; Kondratyev, O. Quantum Machine Learning and Optimisation in Finance: On the Road to Quantum Advantage; Packt Publishing Ltd.: Birmingham, UK, 2022. [Google Scholar]
- Schuld, M.; Petruccione, F. Machine Learning with Quantum Computers; Springer: Cham, Switzerland, 2021. [Google Scholar]
- Nicolas, G.; Ribordy, G.; Tittel, W.; Zbinden, H. Quantum cryptography. Rev. Mod. Phys. 2002, 74, 145. [Google Scholar]
- Martin, V.; Brito, J.P.; Escribano, C.; Menchetti, M.; White, C.; Lord, A.; Wissel, F.; Gunkel, M.; Gavignet, P.; Genay, N.; et al. Quantum technologies in the telecommunications industry. EPJ Quantum Technol. 2021, 8, 19. [Google Scholar]
- Nature. Available online: https://www.nature.com/articles/d41586-023-01663-0 (accessed on 10 August 2023).
- Bowers, N.; Gerber, H.; Hickman, J.; Jones, D.; Nesbitt, C. Actuarial Mathematics; Society of Actuaries: Itasca, IL, USA, 1986. [Google Scholar]
- Dickson, D.C. Insurance Risk and Ruin; Cambridge University Press: Cambridge, UK, 2016. [Google Scholar]
- Chang, K.L. Mathematical Structures of Quantum Mechanics; World Scientific: Singapore, 2012. [Google Scholar]
- Baaquie, B.E. Quantum Finance: Path Integrals and Hamiltonians for Options and Interest Rates; Cambridge University Press: Cambridge, UK, 2007. [Google Scholar]
- Feynman, R.P. Space-time approach to non-relativistic quantum mechanics. Rev. Mod. Phys. 1948, 20, 367. [Google Scholar] [CrossRef]
- Feynman, R.P.; Hibbs, A.R.; Styer, D.F. Quantum Mechanics and Path Integrals; Courier Corporation: New York, NY, USA, 2010. [Google Scholar]
- Dirac, P.A. The Lagrangian in Quantum Mechanics; World Scientific Publishing Co.: Singapore, 2005; pp. 111–119. [Google Scholar]
- Feynman, R.P. Simulating physics with computers. In Feynman and Computation; CRC Press: Boca Raton, FL, USA, 2018; pp. 133–153. [Google Scholar]
- Hidary, J.D. Quantum Computing: An Applied Approach; Springer: Cham, Switzerland, 2019; Volume 1. [Google Scholar]
- Loredo, R. Learn Quantum Computing with Python and IBM Quantum Experience: A Hands-On Introduction to Quantum Computing and Writing Your Own Quantum Programs with Python; Packt Publishing Ltd.: Birmingham, UK, 2020. [Google Scholar]
- Sutor, R.S. Dancing with Qubits: How Quantum Computing Works and How It Can Change the World; Packt Publishing Ltd.: Birmingham, UK, 2019. [Google Scholar]
- IBM. Available online: https://quantum-computing.ibm.com/ (accessed on 10 August 2023).
- Nie, C.; Dickson, D.C.; Li, S. Minimizing the ruin probability through capital injections. Ann. Actuar. Sci. 2011, 5, 195–209. [Google Scholar] [CrossRef]
- Nie, C.; Dickson, D.C.; Li, S. The finite time ruin probability in a risk model with capital injections. Scand. Actuar. J. 2015, 2015, 301–318. [Google Scholar] [CrossRef]
Disclaimer/Publisher’s Note: The statements, opinions and data contained in all publications are solely those of the individual author(s) and contributor(s) and not of MDPI and/or the editor(s). MDPI and/or the editor(s) disclaim responsibility for any injury to people or property resulting from any ideas, methods, instructions or products referred to in the content. |
© 2023 by the authors. Licensee MDPI, Basel, Switzerland. This article is an open access article distributed under the terms and conditions of the Creative Commons Attribution (CC BY) license (https://creativecommons.org/licenses/by/4.0/).


