Next Article in Journal
Evaluation of Agriculture-Related Climate Indices in Hindcast COSMO-CLM Simulations over Central Europe
Previous Article in Journal
Comparison of Capability of SAR and Optical Data in Mapping Forest above Ground Biomass Based on Machine Learning
 
 
Please note that, as of 4 December 2024, Environmental Sciences Proceedings has been renamed to Environmental and Earth Sciences Proceedings and is now published here.
Font Type:
Arial Georgia Verdana
Font Size:
Aa Aa Aa
Line Spacing:
Column Width:
Background:
Proceeding Paper

Wildland Fire Suppression with Water Assets from Nature †

by
Rositsa Velichkova
*,
Radostina A. Angelova
and
Iskra Simova
Centre for Research and Design in Human Comfort, Department of Hydroaerodynamics and Hydraulic Machines, Energy and Environment (CERDECEN), Technical University of Sofia, Sofia 1000, Bulgaria
*
Author to whom correspondence should be addressed.
Presented at the 3rd International Electronic Conference on Geosciences, 7–13 December 2020; Available online: https://iecg2020.sciforum.net/.
Environ. Sci. Proc. 2021, 5(1), 14; https://doi.org/10.3390/IECG2020-08905
Published: 7 December 2020

Abstract

:
Wildland fires frequently happen and develop in hard-to-reach regions, fast covering large areas due to the presence of ignitable matters together with beneficial meteorological circumstances. Human actions and natural events are the main reasons for the appearance of wildland fires. Our study focusses on the idea of using natural resources, namely water assets on the fire-affected territory. Since fire suppression is primarily performed with water, the provision of sufficient water sources in the proximity of the burning area is critical. An investigation of the hydrological characteristics of the territory is needed, especially in the driest months, when most of the wildfire events are expected to occur. The construction of a support point for fire-fighting water supplies in the wildland territories is also a requirement for building a network of water assets in the wildland territories.

1. Introduction

Wildland fires are recognised as a critical disaster for the environment and humans, as they destroy woodlands and forests, emitting an enormous quantity of greenhouse gasses [1]. Due to human activity and climate changes, uncontrolled wildland fires have increased over the past 30 years [2].
The forecasting of forest fires, or early warning, has become more and more necessary [3,4]. Several models for the prediction of wildland fire danger ratings have been developed and used, e.g., McArthur Mark 5 Forest Fire Danger Meter [5], Fosberg Fire Weather Index (FFWI) [6], McArthur Mark 4 Grassland Fire Danger Meter (GFDI4) and McArthur Mark 5 Grassland Fire Danger Meter (GFDI5) [7]. The use of these tools could allow not only the early discovery of fires occurring but the prediction of the dynamics of their spread and the magnitude of the possible damage [8]. It would provide the possibility of optimised fire-fighting strategies and choice of the most appropriate measures to be taken by the fire-fighting teams. In addition, the prediction of wildland fire danger ratings can be used for the education of target groups, like firefighters, foresters and volunteers. Numerous scientific studies have been conducted throughout the world, both for the timely detection of wildland fires and the modelling of processes related to the dynamics of fire and smoke spread [9,10,11,12,13].
The prediction or early warning of wildland fires, however, should be followed by appropriate measures for the suppression of the fire. A possible solution for early suppression measures for the Bulgarian territories prone to fires could be the construction of a network of special water sources (reservoirs). Our paper deals with the idea of using water assets in the wildland territory, connected in a network. The construction of a support point for fire water supply in the wildland territories is presented. The need for an investigation of the hydrological characteristics of the wildland areas is needed, especially in the driest months, is highlighted. A case study of the Dzherman river, situated in Southwestern Bulgaria, is presented.

2. Network of Water Sources

The network of water spots should assure sufficient flow rate year-round. According to [14], 2 km is the maximum distance for water transportation away from the water source to the presumed location of the fire. Assuming a circle with a radius of 2 km, a single water spot from the network would cover an area of 1256 ha. The required water debit of fire suppression measures, according to [15], is 800 L/min or 13.33 L/s.
The coverage area of the water spot network can be easily visualised by drawing a circle with a radius of two kilometres around each water source in the map. The area of the uncovered (unsecured) zone with water debit fun can be determined by:
f u n = d f = i = 1 n Δ f i
where f is the area of the territories with no water debit, and Δfi is the elementary area.
The good organisation and creation of support posts would lead to a reduction of the wildland forests as a number and area. The respective instructions and regulations in the country also need to be updated. An in-depth study of the forest maps and the construction of additional water supply reservoirs with sufficient flow rate would increase the fire resistance in the mountain areas. It is necessary to keep in mind the decrement of water content in nature in summer. Grass, shrubs and trees become dryer compared to winter and spring and can quickly burn. At the same time, the human activity in the wildland increases; there are many holiday resorts, chalets, farm buildings, children’s camps, villa areas and wood-processing enterprises in the mountain areas, which could be a potential cause for the appearance of ignition points. From a fire-fighting point of view, these areas need to be carefully guarded, because a large number of tourists is combined with limited water sources, limited access to them and lack of dry pipe suction devices [16]. Besides, the mountain roads set limits to the use of fire-fighting trucks or heavy machines in case of necessity.

3. Construction of a Support Point for Fire Water Supply

Water transportation through rugged mountainous terrain is unjustifiable in the presence of rivers, irrigation channels and underground water. It is especially valid if closed or open channels for hydropower stations (with a length of 10–15 m) or water catchments to them are available nearby.
In our study, we propose the construction of a support point for fire water supply using dry pipe suction with motor pumps, electric pumps or fire trucks. The support point can be built using ready-to-use reinforced concrete structures, or built on-site. It has to be set on the straight section of a river or an inner bend, so as not to become clogged during floods. Groundwater in appropriate locations may also be used.
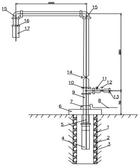
The construction of the proposed support point for fire water supply is shown in Figure 1.
The pipe (3) with perforation is lowered into a hole (1) using a drill. Drainage felt is placed between the hole (1) and the pipe (3) to avoid clogging of the perforation. The pump (4) is lowered into the pipe (3) about 500 mm from the bottom of the hole (1). The pipeline (5) is used for the pump attachment.
At 0 elevation, i.e., at the upper end of the hole (1), a small concrete slab (6) is made in order to protect the hole (1) from dirt and debris. At the upper end of the slab (6) a deviation with a T-holder (10) is fixed via fastening plates (7). Shut-off taps (12 and 14) are mounted at the outlet ends of the T-holder (10). A connector (13) for connecting a hose line is mounted directly on the tap (12). The manometer (11) monitors the water pressure.
From the outlet of the tap (14), the water supply continues at a height of 2800 mm. A deviation is made by the knee (15), where the connector (16) is mounted, and a soft connection (17) is fixed. The pump is supplied with electricity through the cable (8).
The construction of the proposed support point for fire water supply requires a preliminary assessment of the terrain conditions. The optimal spots should be plotted on a map. The network of water sources should be arranged so that water can be drawn for three hours with a minimum flow rate of 800 L/min. The volume Vp (m3) of the source (reservoir) is calculated using Equation (2):
V p = Q r . τ
where Qr is the required flow rate for fire suspension, m3/h and τ is the time for the fire extinguishing, h.
Forestry farms should also be involved in the construction of the proposed support point for fire water supply. They should also take primary care for the fire-fighting sources near rivers, lakes, swamps and ponds. Water sources along roads or roads that are passable for fire-fighting trucks are particularly suitable for involvement in the network of water sources.
If there is a danger of temporary drying, the water source is only conditionally usable. This should be especially noted in the water source documents (maps). All natural water sources should have at least three access points from where water can be drawn at the same time.
The proposed support point for fire water supply can also be built in the areas with pipelines for residential buildings, industrial or agricultural enterprises. An arrangement with the water supply services is necessary. The optimal distance between the points then would be 0.5 km.
In the high mountain forests with a lack of water sources, the support points for fire water supply can be constructed together with artificial ponds. A standard pond must have a minimum volume of 50 m2. It should provide 50 m3 (140 L/min) of water for six hours.

4. The Case Study of the Dzherman River

Dzherman (Figure 2) is a river in Southwestern Bulgaria, a left tributary of the Struma River. It crosses the town of Dupnitsa in the East-West direction.
Dzherman originates from the Seven Rila Lakes at the foot of Mount Kalin in the Rila mountain and, more precisely, from the last, the Lower Lake (Figure 3). The river passes through the towns of Sapareva Banya and Dupnitsa and flows into the Struma River near the town of Boboshevo.
The length of the Dzherman river is 47.8 km, and the average slope is 35%. The catchment area of the river is 275 km2.
In order to investigate the possibility of using the waters of the Dzherman river for fire-fighting purposes, it is necessary to assess the river flow and how it changes during the different months of the year. The risk of the river drying up in the summer, when the risk of wildland fires is most significant, must be assessed. The accessibility of the river and its banks must also be evaluated.
For this purpose, a period of 3 years (from 2015 to 2017) was considered. Data from the hydrological station at Dzherman river, located at an elevation of 1039 m, were analysed. The results are shown in Figure 4.
The analysis of the average monthly outflow of the Dzherman river shows that it is fed mainly by melting snow during the spring months. The runoff regime of the river is characterised by a pronounced spring flood (months April–June), which depends on the water supply in the snow and the intensity of snowmelt.
The lowest value of the water runoff, calculated on the basis of the measured data during the observed period, was 0.047 m3/s. The river’s flow rate must be at least 800 L/s or 0.01336 m3/s to be used for fire extinguishing. Therefore, even in the months with a water minimum, the river can be applied for fire-fighting purposes as its flow rate is many times higher than the minimum required.
To use rivers for wildland fire suppression, it is necessary to build approaches to them, to construct dikes, to strengthen the banks, to provide scraping of mud and to perform several other preparatory activities.
At an elevation of 1052 m on the Dzherman river an equalization mini-hydropower station “Dzherman” has been built. The hydropower station meets all the requirements for being used as a water source for wildland fire suppression. The volume of its reservoir is 5000 m3. The reservoir is filled by the waters of the Dzherman river for 24 h and maintains a level of 2.5 m. Three independent roads lead to the hydropower station, each of them is 4.5 m wide. There is a bridge over the Perushtitsa river on one of the roads, strengthened additionally to withstand load capacity of 12.5 tons.

5. Conclusions

The response to any forest fire is essential to pursue broader goals that affect both nature and society. It is of paramount concern for the protection of human life, homes, infrastructure and businesses against forest fires. In this article, we highlight several specific topics for fire-fighting and engineering to be explored and promoted. They can provide a solid basis for developing guidelines and regulations in the field of forest fires. The hydrological study of rivers and other water sources in wildland areas, the construction of artificial reservoirs, the connection of water assets in a network and the construction of points for access of fire trucks to water are among the useful and workable measures presented. They can lead to appropriate targeting of fire prevention and management policy in Bulgaria and even in the countries of Southern Europe, which annually face the problem of wildland fires.

Author Contributions

Conceptualisation, R.V.; methodology, R.V.; formal analysis, R.V. and R.A.A.; resources, I.S.; data curation, R.V. and I.S.; writing—original draft preparation, R.V.; writing—review and editing, R.A.A.; visualisation, R.V. and R.A.A.; project administration, R.V.; funding acquisition, R.V. All authors have read and agreed to the published version of the manuscript.

Acknowledgments

This work has been carried out in the framework of the National Science Program “Environmental Protection and Reduction of Risks of Adverse Events and Natural Disasters”, approved by the Resolution of the Council of Ministers № 577/17.08.2018 and supported by the Ministry of Education and Science (MES) of Bulgaria (Agreement № ДO-230/06-12-2018).

Conflicts of Interest

The authors declare no conflict of interest.

References

  1. Bowman, D.M.J.S.; Kolden, C.A.; Abatzoglou, J.T.; Johnston, F.H.; Van Der Werf, G.R.; Flannigan, M. Vegetation fires in the Anthropocene. Nat. Rev. Earth Environ. 2020, 1, 500–515. [Google Scholar] [CrossRef]
  2. Wang, L.; Zhao, Q.; Wen, Z.; Qu, J. RAFFIA: Short-term Forest Fire Danger Rating Prediction via Multiclass Logistic Regression. Sustainability 2018, 10, 4620. [Google Scholar] [CrossRef]
  3. De Groot, W.J.; Wotton, B.M.; Flannigan, M.D. Wildland Fire Danger Rating and Early Warning Systems. In Wildfire Hazards, Risks and Disasters; Elsevier: Amsterdam, The Netherlands, 2015; pp. 207–228. [Google Scholar]
  4. Di Giuseppe, F.; Pappenberger, F.; Wetterhall, F.; Krzeminski, B.; Camia, A.; Libertá, G.; San Miguel, J. The poten-tial predictability of fire danger provided by numerical weather prediction. J. Appl. Meteorol. Climatol. 2016, 55, 2469–2491. [Google Scholar] [CrossRef]
  5. Noble, I.R.; Gill, A.M.; Bary, G.A.V. McArthur’s fire-danger meters expressed as equations. Austral Ecol. 1980, 5, 201–203. [Google Scholar] [CrossRef]
  6. Goodrick, S.L. Modification of the Fosberg fire weather index to include drought. Int. J. Wildland Fire 2002, 11, 205–211. [Google Scholar] [CrossRef]
  7. Sharples, J.; McRae, R.; Weber, R.; Gill, A. A simple index for assessing fire danger rating. Environ. Model. Softw. 2009, 24, 764–774. [Google Scholar] [CrossRef]
  8. Antonov, I.S.; Krastanska, T.; Terziev, A.; Nam, N.T.; Lien, H.D. A numerical investigation of forest fire under winds. In Proceedings of the 8th Conference On Science and Technology, HCM City, Vietnam, 25–26 April 2002; pp. 25–30. [Google Scholar]
  9. Quang, V.D.; Nam, N.T.; Lien, H.D.; Antonov, I.S.; Krastanska, T.T. A model of spreading forest fires, Vietnam. J. Mech. 2003, 25, 186–192. [Google Scholar]
  10. Hefeeda, M.; Bagheri, M. Wireless Sensor Networks for Early Detection of Forest Fires. In Proceedings of the 2007 IEEE Internatonal Conference on Mobile Adhoc and Sensor Systems, Pisa, Italy, 8–11 October 2007; IEEE, 2007; pp. 1–6. [Google Scholar]
  11. Cruz, M.G.; Kidnie, S.; Matthews, S.; Hurley, R.J.; Slijepcevic, A.; Nichols, D.; Gould, J.S. Evaluation of the pre-dictive capacity of dead fuel moisture models for Eastern Australia grasslands. Int. J. Wildland Fire 2016, 25, 995–1001. [Google Scholar] [CrossRef]
  12. Antonov, S.; Antonov, I.; Grozdanov, K. Modelling and Simulation of Fire; Sofia: Kennedy Town, Bulgaria, 2018. [Google Scholar]
  13. Khastagir, A.; Jayasuriya, N.; Bhuyian, M.A. Assessment of fire danger vulnerability using McArthur’s forest and grass fire danger indices. Nat. Hazards 2018, 94, 1277–1291. [Google Scholar] [CrossRef]
  14. Nesterov, Y. Introductory Lectures on Convex Optimization: A Basic Course; Kluwer Academic Publishers: Dordrecht, The Netherlands, 2004; ISBN 978-1402075537. [Google Scholar]
  15. Jones, A.M. Fire Protection Systems; Jones & Bartlett Publishers: Sudbury, MA, USA, 2016. [Google Scholar]
  16. Chochev, V. Operational Fire-Fighting Tactics; Sofia: Kennedy Town, Bulgaria, 2016. [Google Scholar]
Figure 1. The proposed support point for fire water supply.
Figure 1. The proposed support point for fire water supply.
Environsciproc 05 00014 g001
Figure 2. Dzherman river landscape.
Figure 2. Dzherman river landscape.
Environsciproc 05 00014 g002
Figure 3. Dzherman river map and relief.
Figure 3. Dzherman river map and relief.
Environsciproc 05 00014 g003
Figure 4. Dzherman river runoff for the period 2015–2017.
Figure 4. Dzherman river runoff for the period 2015–2017.
Environsciproc 05 00014 g004
Publisher’s Note: MDPI stays neutral with regard to jurisdictional claims in published maps and institutional affiliations.

Share and Cite

MDPI and ACS Style

Velichkova, R.; Angelova, R.A.; Simova, I. Wildland Fire Suppression with Water Assets from Nature. Environ. Sci. Proc. 2021, 5, 14. https://doi.org/10.3390/IECG2020-08905

AMA Style

Velichkova R, Angelova RA, Simova I. Wildland Fire Suppression with Water Assets from Nature. Environmental Sciences Proceedings. 2021; 5(1):14. https://doi.org/10.3390/IECG2020-08905

Chicago/Turabian Style

Velichkova, Rositsa, Radostina A. Angelova, and Iskra Simova. 2021. "Wildland Fire Suppression with Water Assets from Nature" Environmental Sciences Proceedings 5, no. 1: 14. https://doi.org/10.3390/IECG2020-08905

APA Style

Velichkova, R., Angelova, R. A., & Simova, I. (2021). Wildland Fire Suppression with Water Assets from Nature. Environmental Sciences Proceedings, 5(1), 14. https://doi.org/10.3390/IECG2020-08905

Article Metrics

Back to TopTop