Enhanced Optimization-Based PV Hosting Capacity Method for Improved Planning of Real Distribution Networks
Abstract
1. Introduction
1.1. Literature Review
1.2. Contributions
- An optimization model for PV-HC estimation that uses an MIQCP formulation without linearizing approximations enforces the operating limits and planning constraints relevant to the DSO and yields accurate PV-HC solutions. The model includes configurable constraints to assess the impact of per-unit generation caps, power exchange with upstream grids, and other factors. This method is formulated to determine the HC without considering investments in new operational functionalities that increase DG integration.
- A new PV–HC methodology that introduces sparse and non-sparse solution classes. Unlike the common practice that reports only the global optimum, this method explores a set of interconnection-feasible PV–HC solutions. Feasibility is defined relative to the global optimum (): a solution x is feasible if , with a user-specified threshold
- We propose the index for joint analysis of energy-loss and exported-energy metrics under an optimally determined HC solution. The interpretation of this index is consistent with the DSO planning perspective, which evaluates each network in the context of the upstream grid and interconnected networks rather than as an isolated unit.
- We introduce a strategy to select worst-case scenarios from the zonal HC solutions computed for the network. These worst-case scenarios are used in the performance evaluation environment to bound the operating metrics, given the multiple PV integration schemes that may materialize in the network.
1.3. Paper Organization
2. MIQCP Model for HC Estimation
2.1. Power Flow in Distribution Networks
2.2. Objective Function
2.3. Power Flow Constraints
2.4. Operational Limits of the Network
3. HC Estimation Methodology and Distribution Planning
- Constraint on PV locations: This constraint evaluates the impact of excluding selected network zones from PV interconnections and its effect on the HC solution. The binary variable in (24) acts as an activation flag for the candidate PV nodes: ensures that node j is not available for PV integration. In addition, the parameter limits the number of candidate nodes that can host PV systems. For example, this setting is useful when the planner seeks to determine the HC associated with a single PV system interconnected at a single node within a feasible candidate set.Figure 2 shows a radial distribution network with one main feeder and two laterals. All nodes are at the MV level. Three candidate node configurations (in green) are illustrated for HC estimation. In Figure 2a, candidate nodes lie along the main feeder; Figure 2b considers only nodes on a lateral feeder; and Figure 2c includes both main- and lateral-feeder nodes, a typical case when potential interconnection points for distributed generation projects have been identified. An analysis of the HC estimate with zone restrictions can be useful for planning protection device upgrades when certain PV system locations impact protection coordination.Figure 2. Candidate nodes (green) for PV interconnection in three scenarios: (a) All nodes on the main feeder. (b) All nodes on the lateral feeder. (c) Selected nodes based on the PV interconnection potential.Figure 2. Candidate nodes (green) for PV interconnection in three scenarios: (a) All nodes on the main feeder. (b) All nodes on the lateral feeder. (c) Selected nodes based on the PV interconnection potential.
- Constraint on power exchange with the upstream grid: The active power at the slack bus can be constrained to the reference value selected by the planning team. In Figure 3, represents the active power injected into the slack bus from the upstream grid. From Equation (23), . Figure 3 shows three feasible intervals for . For instance, selecting = (Interval 1: (, ]), where denotes the rated power of the element connected to the slack bus, yields a solution limited by the feeder export capability. Setting = (Interval 2: (−, 0)) causes constraint (23) to become binding before reaching the maximum export capability . Finally, choosing = 0 (Interval 3: [0, )) limits active power export to the upstream grid, which is relevant when planners identify the operating conditions under which export must be avoided. In general, tuning enables the assessment of the impact of active power export constraints on HC results and overall network performance.Figure 3. Possible settings of the upstream-grid power-exchange constraint.
- PV unit capacity constraint: Variable is limited by the parameter in (24). This enables the analysis of scenarios with many small-scale projects versus scenarios with fewer, higher-capacity projects. In Colombia, for example, regulation distinguishes between distributed generators below 1000 kW and plants with a capacity greater than or equal to 1000 kW. This framework has led to a preference for PV systems below 1000 kW, given the less-demanding permitting processes. Therefore, for planning teams, it is relevant to assess how this constraint affects HC in their distribution networks.Figure 4 illustrates two PV integration scenarios. In Figure 4a, the HC solution does not impose a per-unit capacity limit within the candidate node set, and a total of 5 MW is obtained with two interconnected PV systems. In Figure 4b, the HC is also 5 MW, but five PV systems are interconnected because each unit is constrained to have a capacity below 1000 kW. Although the total HC is 5 MW in both cases, the locations and number of PV units can affect the distribution network performance in different ways, for example, in the resulting energy losses.
- PV system power factor constraint: The parameter in constraint (25) can be set to different values to assess the impact of allowing reactive power flow at PV terminals. This is useful for quantifying the benefits of reactive power management as an operational control mechanism to increase HC in the network, as reported in the literature.
- 1.
- An optimization environment that integrates Python and AMPL to formulate and solve the MIQCP optimization problem defined in (10)–(26), thereby providing the HC solutions. This environment can produce two types of HC solutions: sparse and non-sparse. In addition, the set of DSO-constraints is configured by the user according to the type of analysis to be performed, as previously discussed.
- 2.
- A probabilistic network evaluation environment that uses Monte Carlo simulations in a Python–OpenDSS co-simulation platform was used to analyze the power flows in the distribution network based on the HC solutions computed in the optimization module. This environment provides performance metrics for network operations under different PV integration scenarios.

3.1. Input Data
- Line and transformer impedance parameters.
- Rated current capacities of lines and transformers.
- Network nominal voltage and slack-bus reference voltage.
- Rated capacities and locations of reactive power compensation devices.
- Probabilistic model of solar irradiance in the feeder’s area of influence.
- Probabilistic model of equivalent demand at the three-phase nodes of MV level.
3.2. Sparse HC Solution
- 1.
- The input data comprise the network model, historical active and reactive demand, and solar irradiance records. The demand and irradiance time series must be time-aligned over the analysis window.
- 2.
- The multiperiod model is used to determine the worst-case scenario applied in the optimization problem. An equivalent demand level at the MV nodes is computed to feed the optimization. When direct measurements at the MV nodes are not available, the state estimation of the demand at unmetered nodes can also be formulated as an optimization problem.
- 3.
- The DSO configures the set of DSO-constraints according to the analysis objectives. For nodes that are not candidates for PV interconnection, the variable is fixed. For the remaining constraints, the parameters , , and pf are specified.
- 4.
- The optimization problem is solved using the network model, multiperiod model, objective function in (10), and constraint set in (11)–(26). The HC solution is given by the sum of all the PV capacities obtained, identifying each MV node with a PV installation and its corresponding maximum injectable power.
- 5.
- The resulting HC solution is assessed by the DSO planning team. The same HC solution, defined by PV locations and injection capacities, is then used in a probabilistic evaluation based on Monte Carlo simulations, which analyze power flows under demand and irradiance uncertainty. This probabilistic evaluation yields metrics that verify compliance with voltage and current limits at all nodes and elements and provides central-tendency values for exported energy and energy losses.
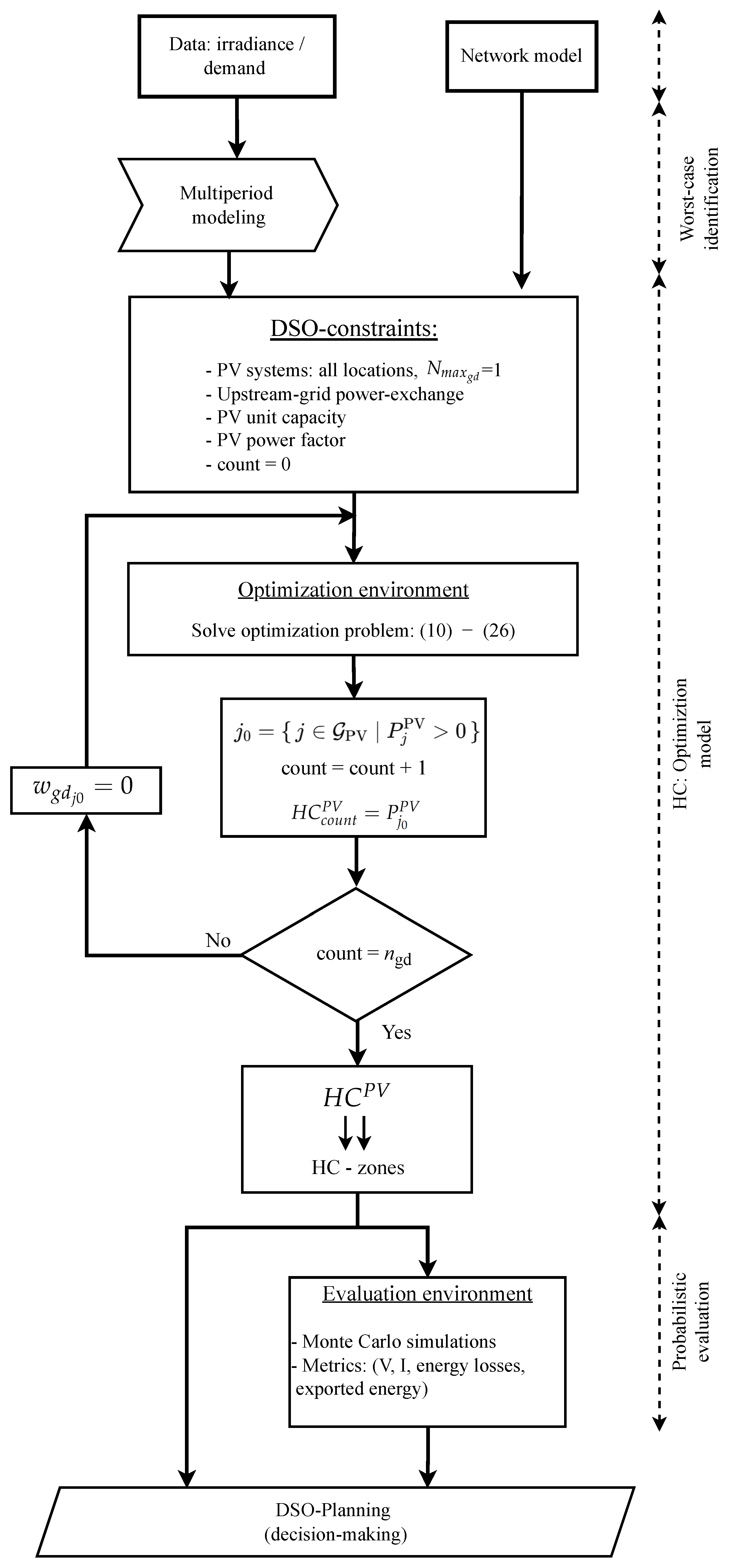
3.3. Non-Sparse HC Solution
- 1.
- The input data and worst-case identification follow the same assumptions used in the sparse HC flowchart shown in Figure 5.
- 2.
- The DSO specifies nodes that are unavailable for PV interconnection by setting at each node. For the remaining constraints, the parameters , , and are set. In addition, the parameter is imposed such that each optimization run considers a single PV system. Under these restrictions, each solution corresponds to the LHC because HC is computed independently at each network node [9,11].
- 3.
- The optimization problem is solved using the network model, the multiperiod model, the objective function in (10), and the constraint set in (11)–(26). The variable count ensures that all candidate nodes in are explored, simultaneously solving for the optimal integration of one PV system. Therefore, the problem is solved times. In each iteration, the node corresponding to the optimal PV interconnection point is identified, and the optimal PV capacity is stored in the vector . At the end of each iteration, node is removed from the candidate set by fixing such that it cannot be selected in subsequent runs.Figure 5. Flowchart of sparse HC estimation in a distribution network with three-phase PV systems.Figure 6. Flowchart of non-sparse HC estimation in a distribution network with three-phase PV systems.Figure 6. Flowchart of non-sparse HC estimation in a distribution network with three-phase PV systems.
- 4.
- The entries of are then used to construct non-sparse HC solutions. A non-sparse HC solution corresponds to an HC value for a zone defined by a group of nodes. The procedure first identifies zones whose nodes have similar LHC values and then assigns a single conservative HC value to each zone. Figure 7a illustrates an example of the LHC results for five candidate nodes. The data show a maximum LHC of and a minimum of , where the minimum is of the maximum. The conservative zonal HC is taken as the minimum LHC in the group, provided that this minimum is not lower than of the maximum. The threshold is user-defined and reflects the desired level of conservatism. In Figure 7a, the conservative solution is , which applies to the zone formed by the five nodes, as shown in Figure 7b.
- 5.
- The non-sparse HC solutions are then analyzed by the DSO planning team. The solutions are interpreted as follows:
- (a)
- The HC value of a given zone is the maximum capacity that can be integrated either by a single PV system at a single node or by the aggregate capacity of projects connected to several nodes within the same zone. Therefore, all nodes in the zone are candidate locations for safe PV integration up to the zonal HC value.
- (b)
- It is not valid to define an HC solution that simultaneously combines the PV locations and capacities from two or more zones. Because zones are defined from LHC values, any integration scheme to be implemented or evaluated must place PV systems within a single zone.
- (c)
- PV interconnection studies can proceed sequentially by analyzing each project individually. After a project is connected, zonal HC values are recomputed by considering the installed PV capacity. In this way, the non-sparse HC solutions are updated as PV systems are added, and the zones evolve in terms of both the HC value and spatial extent.Figure 7. Construction of a non-sparse HC solution: (a) LHC values at five nodes. (b) Non- sparse HC solution for the five-node zone.Figure 7. Construction of a non-sparse HC solution: (a) LHC values at five nodes. (b) Non- sparse HC solution for the five-node zone.
- 6.
- Non-sparse HC solutions can also be evaluated in the operational context of the distribution network. For each proposed PV integration scheme, the evaluation environment is used to compute performance metrics, such as exported energy and changes in energy losses. This enables planners to compare candidate integration schemes and select those with better performance, for example, with lower energy losses.
4. Cases Study, Results, and Discussion
4.1. IEEE 33-Bus Distribution Test Network
4.2. Description of the Real Distribution Network
4.2.1. Load Modeling
4.2.2. Solar Irradiance Modeling
4.2.3. Multiperiod Modeling
4.3. Results and Discussion
4.3.1. Sparse HC Results
4.3.2. Non-Sparse HC Results




4.3.3. Discussion
5. Conclusions
Author Contributions
Funding
Institutional Review Board Statement
Informed Consent Statement
Data Availability Statement
Acknowledgments
Conflicts of Interest
Abbreviations
| Symbol | Description |
| Sets | |
| set of feeder branches | |
| candidate nodes for PV interconnection | |
| Parameters | |
| active power demand at node j at nominal voltage (1 p.u.) | |
| reactive power demand at node j aat nominal voltage (1 p.u.) | |
| series resistance of branch | |
| series reactance of branch | |
| Power factor of the PV systems | |
| series conductance of branch | |
| series susceptance of branch | |
| current rating of branch | |
| minimum permissible voltage magnitude | |
| maximum permissible voltage magnitude | |
| maximum apparent power at the slack bus | |
| , , and | ZIP load model parameters |
| Limit on the active power entering the slack bus from the upstream grid | |
| PV unit capacity limit | |
| Maximum number of candidate nodes that can host PV systems | |
| Equivalent voltage magnitude at the slack bus | |
| Variables | |
| Active power injected by the PV system at node j | |
| Reactive power injected by the PV system at node j | |
| Active power injected at the slack bus | |
| Reactive power injected at the slack bus | |
| Active-power flow in branch | |
| Reactive-power flow in branch | |
| Equivalent voltage magnitude at node j | |
| Squared current magnitude in branch | |
| Binary variable indicating the interconnection of a PV system at node j | |
| Variable equivalent to | |
| Variable equivalent to |
References
- Mousa, H.H.H.; Mahmoud, K.; Lehtonen, M. A Comprehensive Review on Recent Developments of Hosting Capacity Estimation and Optimization for Active Distribution Networks. IEEE Access 2024, 12, 18545–18593. [Google Scholar] [CrossRef]
- Qamar, N.; Arshad, A.; Mahmoud, K.; Lehtonen, M. Hosting capacity in distribution grids: A review of definitions, performance indices, determination methodologies, and enhancement techniques. Energy Sci. Eng. 2023, 11, 1536–1559. [Google Scholar] [CrossRef]
- Comisión de Regulación de Energía y Gas (CREG). Resolución CREG 174 de 2021. 2021. Available online: https://gestornormativo.creg.gov.co/gestor/entorno/docs/resolucion_creg_0174_2021.htm (accessed on 21 October 2025).
- National Laboratory of the Rockies (NRL). Advanced Hosting Capacity Analysis. 2024. Available online: https://www.nrel.gov/solar/market-research-analysis/advanced-hosting-capacity-analysis (accessed on 11 November 2025).
- Qammar, N.; Arshad, A.; Miller, R.J.; Mahmoud, K.; Lehtonen, M. Probabilistic hosting capacity assessment towards efficient PV-rich low-voltage distribution networks. Electr. Power Syst. Res. 2024, 226, 109940. [Google Scholar] [CrossRef]
- Mulenga, E.; Lulea, N.E. Multiple distribution networks hosting capacity assessment using a stochastic approach. Sustain. Energy Grids Netw. 2023, 36, 101170. [Google Scholar] [CrossRef]
- Hanjalic, M.; Melic, E.; Saric, M.; Hivziefendic, J. Hosting Capacity Assessment in Electrical Power Distribution Systems Using Genetic Algorithm. Electr. Power Compon. Syst. 2023, 51, 2354–2366. [Google Scholar] [CrossRef]
- Mulenga, E. Solar PV Stochastic Hosting Capacity Assessment Considering Epistemic (E) Probability Distribution Function (PDF). Electricity 2022, 3, 586–599. [Google Scholar] [CrossRef]
- Ul Hassan, S.J.; Gush, T.; Kim, C.H. Maximum Hosting Capacity Assessment of Distribution Systems with Multitype DERs Using Analytical OPF Method. IEEE Access 2022, 10, 100665–100674. [Google Scholar] [CrossRef]
- Abad, M.S.S.; Ma, J.; Mang, D.; Ahmadyar, A.S.; Marzooghi, H. Probabilistic Assessment of Hosting Capacity in Radial Distribution Systems. IEEE Trans. Sustain. Energy 2018, 9, 1935–1947. [Google Scholar] [CrossRef]
- Pereira, O.; Parajeles, M.; Zúñiga, B.; Quirós-Tortós, J.; Valverde, G. Hosting Capacity Estimation for Behind-the-Meter Distributed Generation. IEEE Trans. Power Syst. 2024, 39, 4911–4923. [Google Scholar] [CrossRef]
- Carmelito, B.E.; de Carvalho Filho, J.M. Hosting Capacity of Electric Vehicles on LV/MV Distribution Grids-A New Methodology Assessment. Energies 2023, 16, 1509. [Google Scholar] [CrossRef]
- Zenhom, Z.M.; Aleem, S.H.E.A.; Zobaa, A.F.; Boghdady, T.A. A Comprehensive Review of Renewables and Electric Vehicles Hosting Capacity in Active Distribution Networks. IEEE Access 2024, 12, 3672–3699. [Google Scholar] [CrossRef]
- Alturki, M.; Khodaei, A.; Paaso, A.; Bahramirad, S. Optimization-based distribution grid hosting capacity calculations. Appl. Energy 2018, 219, 350–360. [Google Scholar] [CrossRef]
- Wu, H.; Yuan, Y.; Zhang, X.; Miao, A.; Zhu, J. Robust comprehensive PV hosting capacity assessment model for active distribution networks with spatiotemporal correlation. Appl. Energy 2022, 323, 119558. [Google Scholar] [CrossRef]
- Takenobu, Y.; Yasuda, N.; Minato, S.i.; Hayashi, Y. Scalable enumeration approach for maximizing hosting capacity of distributed generation. Int. J. Electr. Power Energy Syst. 2019, 105, 867–876. [Google Scholar] [CrossRef]
- Solat, S.; Aminifar, F.; Shayanfar, H. Distributed generation hosting capacity in electric distribution network in the presence of correlated uncertainties. IET Gener. Transm. Distrib. 2021, 15, 836–848. [Google Scholar] [CrossRef]
- Jabr, R.A. Radial distribution load flow using conic programming. IEEE Trans. Power Syst. 2006, 21, 1458–1459. [Google Scholar] [CrossRef]
- Home-Ortiz, J.M.; Macedo, L.H.; Vargas, R.; Romero, R.; Mantovani, J.R.S.; Catalao, J.P.S. Increasing RES Hosting Capacity in Distribution Networks Through Closed-Loop Reconfiguration and Volt/VAr Control. IEEE Trans. Ind. Appl. 2022, 58, 4424–4435. [Google Scholar] [CrossRef]
- Fourer, R.; Gay, D.M.; Kernighan, B.W. AMPL: A Modeling Language for Mathematical Programming; Boyd & Fraser Publishing Company: Boston, MA, USA, 1993. [Google Scholar]
- Capitanescu, F.; Ochoa, L.F.; Margossian, H.; Hatziargyriou, N.D. Assessing the Potential of Network Reconfiguration to Improve Distributed Generation Hosting Capacity in Active Distribution Systems. IEEE Trans. Power Syst. 2015, 30, 346–356. [Google Scholar] [CrossRef]
- Venkatesh, B.; Ranjan, R.; Gooi, H. Optimal reconfiguration of radial distribution systems to maximize loadability. IEEE Trans. Power Syst. 2004, 19, 260–266. [Google Scholar] [CrossRef]
- Short, T.A.; Mee, R.W. Voltage reduction field trials on distributions circuits. In Proceedings of the 2012 IEEE PES Transmission and Distribution Conf. Expo. (T&D), Orlando, FL, USA, 7–10 May 2012. [Google Scholar] [CrossRef]
- Dugan, R.C.; McDermott, T.E. OpenDSS Manual: The Open Distribution System Simulator; Electric Power Research Institute (EPRI): Palo Alto, CA, USA, 2012; Available online: https://sourceforge.net/projects/electricdss/ (accessed on 1 March 2024).







| Method | Scenario 1 | Scenario 2 | ||||
|---|---|---|---|---|---|---|
| HC (kW) | Constraint activated | Computing Times (s) | HC (kW) | Constraint Activated | Computing Times (s) | |
| [14] | 8484 | Power export | 21 | 8484 | Power export | NR a |
| Proposed method | 9262 | Power export | 8546 | Power export | ||
| Characteristic | Real Distribution Network |
|---|---|
| CENS 1428-bus | |
| Length, km | 38.7 |
| Nominal voltage, kV | 13.8 |
| Peak load, kW | 5600 |
| MV / LV transformers | 236 |
| Customers | 9829 |
| Operating condition | Radial/unbalanced |
| Value | Period | ||||||||||||
|---|---|---|---|---|---|---|---|---|---|---|---|---|---|
| 5 | 6 | 7 | 8 | 9 | 10 | 11 | 12 | 13 | 14 | 15 | 16 | 17 | |
| Min | 0 | 7 | 9 | 29 | 39 | 50 | 182 | 97 | 15 | 22 | 36 | 0 | 0 |
| 25th | 0 | 52 | 152 | 305 | 450 | 552 | 613 | 602 | 535 | 429 | 272 | 101 | 21 |
| 50th | 7 | 78 | 229 | 419 | 593 | 710 | 781 | 768 | 693 | 561 | 378 | 177 | 39 |
| 75th | 12 | 108 | 317 | 545 | 753 | 881 | 992 | 977 | 845 | 695 | 475 | 252 | 57 |
| 95th | 17 | 156 | 422 | 680 | 907 | 1058 | 1126 | 1113 | 1004 | 818 | 588 | 316 | 82 |
| Max | 30 | 201 | 469 | 728 | 946 | 1101 | 1176 | 1149 | 1042 | 864 | 637 | 372 | 114 |
| Parameter | Value |
|---|---|
| Slack bus voltage | 1.0 p.u. |
| Maximum voltage | 1.075 p.u. |
| Minimum voltage | 0.925 p.u. |
| Maximum line loading | 80% |
| Maximum transformer loading | 80% |
| Power factor of | 1 |
| Nodes | (G): Unconstrained (DG): Constraint < 1000 kW HC (kW), (kWh), (kWh) | ||||||||
|---|---|---|---|---|---|---|---|---|---|
| HC (kW) | Computing times (s) | # PVs Max/Min | V | I | |||||
| E1(G) | 7830 | 42 | 7 3655/31 | ✓ | ✓ | 11,652 | 761 | +249% | 21 |
| E1(DG) | 7807 | 30 | 8 1000/827 | ✓ | ✓ | 11,471 | 656 | +201% | 26 |
| E2(G) | 7798 | 29 | 4 3682/20 | ✓ | ✓ | 11,583 | 602 | +176% | 30 |
| E2(DG) | 7506 | 28 | 8 1000/680 | ✓ | ✓ | 10,466 | 544 | +150% | 32 |
| E3(G) | 7776 | 12 | 7 2841/35 | ✓ | ✓ | 11,457 | 656 | +201% | 26 |
| E3(DG) | 7014 | 14 | 8 1000/270 | ✓ | ✓ | 8897 | 602 | +176% | 23 |
| Nodes | (G): Unconstrained (DG): Constraint < 1000 kW | |||||||
|---|---|---|---|---|---|---|---|---|
| HC | Computing times (s) | # PVs Max/Min | V | I | ||||
| E1(G) | 1844 | 8 | 2 1817/27 | ✓ | ✓ | 0 | 212 | −3% |
| E1(DG) | 1844 | 7 | 3 1000/27 | ✓ | ✓ | 0 | 251 | +15% |
| E2(G) | 1844 | 4 | 1 1844/– | ✓ | ✓ | 0 | 214 | −2% |
| E2(DG) | 1843 | 15 | 2 1000/843 | ✓ | ✓ | 0 | 209 | −4% |
| E3(G) | 1845 | 3 | 1 1845/– | ✓ | ✓ | 0 | 254 | +17% |
| E3(DG) | 1844 | 3 | 3 1000/110 | ✓ | ✓ | 0 | 251 | +15% |
| Laterals Originating From: | Number of Zones | Min | 25th | 50th | 75th | 95th | Max |
|---|---|---|---|---|---|---|---|
| 1- | 50 | 2309 | 3555 | 3589 | 3870 | 4747 | 6452 |
| 1- | 23 | 2338 | 3570 | 4682 | 4707 | 4891 | 4977 |
| HC Solution | V | I | ||||
|---|---|---|---|---|---|---|
| ✓ | ✓ | 6918 | 170 | 41 | ||
| ✓ | ✓ | 6651 | 312 | −94 | 71 | |
| ✓ | ✓ | 6759 | 145 | 47 | ||
| ✓ | ✓ | 6732 | 198 | 34 |
Disclaimer/Publisher’s Note: The statements, opinions and data contained in all publications are solely those of the individual author(s) and contributor(s) and not of MDPI and/or the editor(s). MDPI and/or the editor(s) disclaim responsibility for any injury to people or property resulting from any ideas, methods, instructions or products referred to in the content. |
© 2026 by the authors. Licensee MDPI, Basel, Switzerland. This article is an open access article distributed under the terms and conditions of the Creative Commons Attribution (CC BY) license.
Share and Cite
Blanco-Solano, J.; Chacón Molina, D.J.; Chaustre Cárdenas, D.L. Enhanced Optimization-Based PV Hosting Capacity Method for Improved Planning of Real Distribution Networks. Electricity 2026, 7, 12. https://doi.org/10.3390/electricity7010012
Blanco-Solano J, Chacón Molina DJ, Chaustre Cárdenas DL. Enhanced Optimization-Based PV Hosting Capacity Method for Improved Planning of Real Distribution Networks. Electricity. 2026; 7(1):12. https://doi.org/10.3390/electricity7010012
Chicago/Turabian StyleBlanco-Solano, Jairo, Diego José Chacón Molina, and Diana Liseth Chaustre Cárdenas. 2026. "Enhanced Optimization-Based PV Hosting Capacity Method for Improved Planning of Real Distribution Networks" Electricity 7, no. 1: 12. https://doi.org/10.3390/electricity7010012
APA StyleBlanco-Solano, J., Chacón Molina, D. J., & Chaustre Cárdenas, D. L. (2026). Enhanced Optimization-Based PV Hosting Capacity Method for Improved Planning of Real Distribution Networks. Electricity, 7(1), 12. https://doi.org/10.3390/electricity7010012

