PSO-Based PID Tuning for PMSM-Quadrotor UAV System †
Abstract
1. Introduction
2. Methodology
2.1. System Model
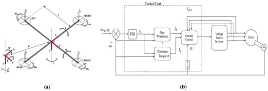
2.1.1. Quadrotor UAV Model
2.1.2. PMSM Model
2.2. System Control Model
2.2.1. Quadrotor UAV Control Model
2.2.2. PMSM Control Model
2.3. PSO Algorithm
2.4. Implementing the PSO Approach
2.5. Simulation Settings
3. Simulation Results
4. Conclusions
Author Contributions
Funding
Institutional Review Board Statement
Informed Consent Statement
Data Availability Statement
Acknowledgments
Conflicts of Interest
References
- Panov, I.; Ul Haq, A. A Critical Review of Information Provision for U-Space Traffic Autonomous Guidance. Aerospace 2024, 11, 471. [Google Scholar] [CrossRef]
- Rinaldi, M.; Primatesta, S.; Guglieri, G.; Rizzo, A. Auction-based Task Allocation for Safe and Energy Efficient UAS Parcel Transportation. Transp. Res. Procedia 2022, 65, 60–69. [Google Scholar] [CrossRef]
- Rinaldi, M.; Primatesta, S. Comprehensive Task Optimization Architecture for Urban UAV-Based Intelligent Transportation System. Drones 2024, 8, 473. [Google Scholar] [CrossRef]
- Rinaldi, M.; Primatesta, S.; Guglieri, G.; Rizzo, A. Multi-Auctioneer Market-based Task Scheduling for Persistent Drone Delivery. In Proceedings of the 2023 International Conference on Unmanned Aircraft Systems (ICUAS), Warsaw, PL, USA, 6–9 June 2023. [Google Scholar]
- Rinaldi, M.; Primatesta, S.; Bugaj, M.; Rostáš, J.; Guglieri, G. Development of Heuristic Approaches for Last-Mile Delivery TSP with a Truck and Multiple Drones. Drones 2023, 7, 407. [Google Scholar] [CrossRef]
- Tomasicchio, G.; Cedrone, A.; Fiorini, F.; Esposito, L.; Scardapane, G.; Filipponi, F.; Rinaldi, M.; Primatesta, S. Resilient Drone Mission Management and Route Optimization in Drone Delivery Context. In Proceedings of the 28th Ka and Broadband Communications Conference (Ka), Bradford, UK, 23–26 October 2023. [Google Scholar]
- Rinaldi, M.; Primatesta, S.; Bugaj, M.; Rostáš, J.; Guglieri, G. Urban Air Logistics with Unmanned Aerial Vehicles (UAVs): Double-Chromosome Genetic Task Scheduling with Safe Route Planning. Smart Cities 2024, 7, 2842–2860. [Google Scholar] [CrossRef]
- Idrissi, M.; Salami, M.R.; Annaz, F. A Review of Quadrotor Unmanned Aerial Vehicles: Applications, Architectural Design and Control Algorithms. J. Intell. Robot. Syst. 2022, 104, 22. [Google Scholar] [CrossRef]
- Özçiflikçi, O.E.; Koç, M.; Bahçeci, S.; Emiroğlu, S. Overview of PMSM control strategies in electric vehicles: A review. Int. J. Dyn. Control 2024, 12, 2093–2107. [Google Scholar] [CrossRef]
- Rodriguez, E.X.; Lu, Q. Tuning PID Controller for Quadrotor Using Particle Swarm Optimization. In Proceedings of the 2024 21st International Conference on Ubiquitous Robots (UR), New York, NY, USA, 24–27 June 2024. [Google Scholar]
- Jing, X.; Wang, X. PSO algorithm tuning PI_ PID controller parameters of quad-rotor UAV. J. Phys. Conf. Ser. 2022, 2228, 012017. [Google Scholar] [CrossRef]
- El Gmili, N.; Mjahed, M.; El Kari, A.; Ayad, H. Particle Swarm Optimization and Cuckoo Search-Based Approaches for Quadrotor Control and Trajectory Tracking. Appl. Sci. 2019, 9, 1719. [Google Scholar] [CrossRef]
- Lu, X.; Zhang, X.; Jia, S.; Shan, J. Design of Quadrotor Hovering Controller Based on Improved Particle Swarm Optimization. In Proceedings of the 2017 10th International Symposium on Computational Intelligence and Design (ISCID), Hangzhou, China, 9–10 December 2017. [Google Scholar]
- Noordin, A.; Basri, M.A.; Mohamed, Z.; Abidin, A.F. Modelling and PSO fine-tuned PID control of quadrotor UAV. Int. J. Adv. Sci. Eng. Inf. Technol. 2017, 7, 1367–1373. [Google Scholar] [CrossRef]
- Gmili, N.E.; Mjahed, M.; Kari, A.E.; Ayad, H. Intelligent PSO-based PDs/PIDs controllers for an unmanned quadrotor. Int. J. Intell. Eng. Inform. 2018, 6, 548–568. [Google Scholar] [CrossRef]
- Abro, G.E.M.; Abdallah, A.M. Digital Twins and Control Theory: A Critical Review on Revolutionizing Quadrotor UAVs. IEEE Access 2024, 12, 43291–43307. [Google Scholar] [CrossRef]
- Rinaldi, M.; Primatesta, S.; Guglieri, G. A Comparative Study for Control of Quadrotor UAVs. Appl. Sci. 2023, 13, 3464. [Google Scholar] [CrossRef]
- Gad, A.G. Particle Swarm Optimization Algorithm and Its Applications: A Systematic Review. Arch. Comput. Methods Eng. 2022, 29, 2531–2561. [Google Scholar] [CrossRef]
- Umar, R.; Mohammed, F.; Deriche, M.; Sheikh, A.U. Hybrid cooperative energy detection techniques in cognitive radio networks. In Handbook of Research on Software-Defined and Cognitive Radio Technologies for Dynamic Spectrum Management; IGI Global: Hershey, PA, USA, 2015; pp. 1–37. [Google Scholar]




| Optimization Algorithm | Parameter | Value |
|---|---|---|
| PSO | Number of Variables | 16 |
| Limitation of Border | [0.1, 1000] | |
| Maximum Number of Iterations | 5 | |
| Population Size | 8 | |
| Inertia Coefficient | 1 | |
| Damping Ratio of Inner Coefficient | 0.99 |
| PMSM Parameter | Value/Type |
|---|---|
| Phase Number | 3 |
| Back EMF Waveform | Sinusoidal |
| Rotor Type | Round |
| Mechanical Input | Torque |
| Stator Phase Resistance | |
| Armature Inductance | |
| Flux Linkage | |
| Rotor Inertia |
| Optimized H | Non-Optimized H | Optimized M | Non-Optimized M |
|---|---|---|---|
Disclaimer/Publisher’s Note: The statements, opinions and data contained in all publications are solely those of the individual author(s) and contributor(s) and not of MDPI and/or the editor(s). MDPI and/or the editor(s) disclaim responsibility for any injury to people or property resulting from any ideas, methods, instructions or products referred to in the content. |
© 2025 by the authors. Licensee MDPI, Basel, Switzerland. This article is an open access article distributed under the terms and conditions of the Creative Commons Attribution (CC BY) license (https://creativecommons.org/licenses/by/4.0/).
Share and Cite
Rinaldi, M.; Moslehi, M.; Guglieri, G.; Primatesta, S. PSO-Based PID Tuning for PMSM-Quadrotor UAV System. Eng. Proc. 2025, 90, 2. https://doi.org/10.3390/engproc2025090002
Rinaldi M, Moslehi M, Guglieri G, Primatesta S. PSO-Based PID Tuning for PMSM-Quadrotor UAV System. Engineering Proceedings. 2025; 90(1):2. https://doi.org/10.3390/engproc2025090002
Chicago/Turabian StyleRinaldi, Marco, Morteza Moslehi, Giorgio Guglieri, and Stefano Primatesta. 2025. "PSO-Based PID Tuning for PMSM-Quadrotor UAV System" Engineering Proceedings 90, no. 1: 2. https://doi.org/10.3390/engproc2025090002
APA StyleRinaldi, M., Moslehi, M., Guglieri, G., & Primatesta, S. (2025). PSO-Based PID Tuning for PMSM-Quadrotor UAV System. Engineering Proceedings, 90(1), 2. https://doi.org/10.3390/engproc2025090002

