Next Article in Journal
Week-Ahead Water Demand Forecasting Using Convolutional Neural Network on Multi-Channel Wavelet Scalogram
Previous Article in Journal
Compensation of Backlash for High Precision Tracking Control of Inverted Pendulum by Drive-Anti Drive Mechanisms
 
 
Font Type:
Arial Georgia Verdana
Font Size:
Aa Aa Aa
Line Spacing:
Column Width:
Background:
Proceeding Paper

Recent Advances in Membrane Technologies for Biogas Upgrading †

by
Gabriella Aguilloso
1,
Kimberly Arpia
1,
Morzina Khan
1,
Zachary Alijah Sapico
1 and
Edgar Clyde Repato Lopez
2,3,*
1
Chemical Engineering Department, Adamson University, 900 San Marcelino St., Ermita, Manila 1000, Philippines
2
Nanotechnology Research Laboratory, Department of Chemical Engineering, University of the Philippines Diliman, Quezon City 1101, Philippines
3
Department of Chemical Engineering, University of Santo Tomas, España Blvd., Sampaloc, Manila 1015, Philippines
*
Author to whom correspondence should be addressed.
Presented at the 3rd International Electronic Conference on Processes—Green and Sustainable Process Engineering and Process Systems Engineering (ECP 2024), 29–31 May 2024; Available online: https://sciforum.net/event/ECP2024.
Eng. Proc. 2024, 67(1), 57; https://doi.org/10.3390/engproc2024067057
Published: 30 September 2024
(This article belongs to the Proceedings of The 3rd International Electronic Conference on Processes)

Abstract

The pressing environmental and energy challenges of today are driven by the depletion of fossil fuels and a surge in greenhouse gas emissions, particularly carbon dioxide. This situation highlights the critical need for sustainable energy solutions. While carbon capture and storage (CCS) technologies offer hope, they face economic challenges at the scale needed to significantly reduce carbon dioxide emissions. Biogas, produced mainly through the anaerobic digestion of various biomass sources like agricultural waste, municipal solid waste, and wastewater, presents a renewable alternative. Composed largely of methane and carbon dioxide, biogas can be upgraded to bio-methane, serving as an eco-friendly replacement for natural gas. Technological advancements, particularly in membrane separation, have made biogas purification more efficient and cost-effective. Anaerobic digestion, a key process in biogas production, breaks down organic matter into simpler compounds, which are then transformed into gases like methane and carbon dioxide. The composition of biogas depends on the feedstock and digestion conditions, with methane being a valuable but challenging component to separate due to its greenhouse gas properties. Several purification technologies have been developed, including absorption, adsorption, cryogenic separation, and membrane separation, each with unique benefits and drawbacks. Membrane separation is particularly promising for its environmental benefits and scalability. However, the biogas industry faces challenges, especially in developing countries, due to high costs and limited research and development. Overcoming these obstacles requires collaboration among various stakeholders. Looking ahead, the future of biogas technology is bright, with advances in membrane materials and integrated refining processes. Integrating biogas into sectors like waste management and agriculture is crucial for its development and for meeting global renewable energy goals. Biogas technology not only reduces dependence on fossil fuels but also plays a vital role in the transition to sustainable energy.

1. Introduction

The inevitable depletion of fossil resources and the continuous increase in greenhouse gas emissions are two of the most pressing problems in today’s world. The most frequent of these emissions is carbon dioxide [1]. Human activities like burning fossil fuels for energy and transportation (most notably coal, gas, and petroleum), using certain chemicals in manufacturing, and shifts in land use account for most of this greenhouse gas. Therefore, it immediately impacts a few meteorological variables, such as air temperature, precipitation, and sea level. In addition to endangering people’s health, agriculture, coastal regions, forests, animals, and water sources are all in danger. As a result, minimizing stress’s adverse effects on the natural world is a priority.
Several advances in carbon capture and storage technology have occurred during the last decade. However, the massive amounts needed to cut carbon dioxide emissions have economic restrictions that this technique cannot meet. In this sense, only a combination of renewable and traditional energy sources may provide a practical answer in the near term. Biogas from the anaerobic degradation of biomass is expected to be used as a renewable energy source. Biogas is mainly composed of methane and carbon dioxide and may be converted into bio-methane, a viable alternative to conventional natural gas. Among the available upgrades to biogas plants, membrane separation provides the lowest overall costs and acceptable efficiency [2].
In recent years, the field of biogas upgrading has witnessed transformative advancements, largely driven by the continuous evolution of membrane technologies. Membrane separation processes, initially developed in the 1980s for CO2 removal from natural gas, have progressively gained prominence in the biogas sector. This evolution reflects a broader trend towards optimizing resource efficiency and environmental sustainability in energy production. The Netherlands’ early adoption of membrane technology in 1990 for commercial biogas upgrading marked a pivotal moment, demonstrating the practical application and efficacy of this approach. Since then, the technology has evolved significantly, leading to substantial improvements in performance, cost-effectiveness, and operational simplicity.
The importance of membrane-based systems in biogas upgrading cannot be overstated. These technologies offer a range of advantages over traditional methods, including high energy efficiency, compact system design, and minimal environmental impact. As biogas production scales up globally, driven by the need for renewable energy sources and waste management solutions, the demand for effective upgrading technologies has surged. Membrane technologies have responded to this demand by providing efficient means to enhance the quality of biogas, making it more suitable for injection into natural gas grids or use as a vehicle fuel.
One of the primary reasons for the growing adoption of membrane technologies is their impressive energy efficiency. Unlike conventional upgrading methods, such as water scrubbing and chemical absorption, membrane processes do not require extensive energy inputs for the regeneration or disposal of spent chemicals. This efficiency is particularly advantageous in the context of large-scale biogas facilities, where energy consumption can significantly impact operational costs and overall sustainability. The compact design of membrane systems further enhances their appeal. Membranes can be packed densely into modules, allowing for high processing capacities within relatively small physical footprints. This space-saving feature is crucial for optimizing plant layouts and minimizing infrastructure requirements, which can translate into reduced capital expenditures.
Another significant advantage of membrane technologies is their minimal environmental impact. Traditional upgrading methods often generate waste products that require careful handling and disposal, posing potential environmental hazards. In contrast, membrane processes produce minimal waste, and any by-products are typically less hazardous. This characteristic aligns well with the broader goals of sustainable development and environmental stewardship, making membrane technologies an attractive option for modern biogas upgrading.
Operational simplicity is another key factor contributing to the growing popularity of membrane systems. These technologies are generally straightforward to operate and maintain, requiring less supervision compared to more complex processes like Pressure Swing Adsorption (PSA) or chemical absorption. This ease of operation not only reduces labor costs but also enhances the reliability and stability of biogas upgrading facilities. Operators can often manage membrane systems with minimal technical expertise, making them accessible for a broader range of applications and locations.
Despite their advantages, membrane technologies are not without challenges. The performance and longevity of membranes can be affected by various factors, including feed gas composition, temperature, and pressure conditions. Recent research and technological innovations have focused on addressing these issues by developing advanced membrane materials and configurations. For example, researchers are exploring new polymeric and inorganic membrane materials that offer improved resistance to fouling and degradation. Additionally, advances in membrane module design aim to enhance gas permeability and selectivity, further optimizing the upgrading process.
The increased adoption of membrane technologies in biogas upgrading is also supported by ongoing research and innovation. Researchers and industry experts are working on various fronts to enhance membrane performance, reduce costs, and improve overall system efficiency. For instance, innovative approaches are being explored to address the challenge of membrane fouling, which can impact long-term performance and maintenance requirements. Advances in membrane cleaning and regeneration techniques are being developed to mitigate fouling effects and extend membrane lifespan.
Moreover, technological advancements are enabling more efficient integration of membrane systems with other upgrading technologies, such as PSA and chemical absorption. This hybrid approach allows for the optimization of each technology’s strengths, resulting in more effective and economically viable upgrading solutions. The combination of membrane technologies with complementary methods can enhance overall process performance and provide tailored solutions for specific biogas upgrading needs.
As the biogas industry continues to evolve, the role of membrane technologies in upgrading processes will likely become even more central. The continuous advancement of materials, design, and integration techniques will drive further improvements in system performance and cost-effectiveness. The ongoing research and development efforts are expected to address current limitations and unlock new possibilities for biogas upgrading, contributing to the broader goals of renewable energy production and sustainable waste management.
This paper aims to review the recent advances in membrane technologies that have significantly transformed the field of biogas upgrading. The development of more efficient, compact, and environmentally friendly membrane systems has positioned them as a leading choice for enhancing biogas quality. As the demand for renewable energy solutions grows, the role of membrane technologies in biogas upgrading will likely expand, driven by ongoing research, innovation, and market growth. The continued evolution of these technologies promises to deliver even greater benefits in terms of energy efficiency, environmental impact, and operational simplicity, reinforcing their importance in the future of renewable energy and sustainable development.

2. Biogas

Biogas, unlike fossil fuels, is produced from renewable sources such as municipal solid waste, animal waste, wastewater, and agricultural waste, which combine to form a biomass that stores the sun’s energy through photosynthesis [3]. This sustainable energy source is produced by anaerobic digestion of organic matter and consists of carbon dioxide, methane, and some trace chemicals [4].
Its principal component, methane, considerably contributes to global warming. Methane has been a vital fossil fuel for several decades, generating energy, transportation, and heating. Natural gas resources account for most methane consumption and utilization, while bio-methane production through waste recovery techniques has grown significantly. From 2010 to 2018, its production capacity increased by 4% during the last nine years. Around 3.5 Mtoe of bio-methane is produced globally, while the production potential surpasses 700 Mtoe. This does not suggest that converting natural resources to methane is viable. Biogas plants rely heavily on specialized equipment and conveniently accessible management and control systems. As a result, it would be possible to build and implement a sector that generates renewable energy from clean and sustainable resources [3].

2.1. History

Membrane gas separation technology, originally developed in the 1980s for the extraction of carbon dioxide (CO2) from natural gas, has seen substantial growth and widespread adoption in recent years. The Netherlands was at the forefront of this advancement, pioneering the commercial application of membrane technology for biogas upgrading with the installation of systems in 1990. As the demand for sustainable energy sources continues to escalate, the significance of membrane-based gas separation is projected to grow dramatically. The market for biogas upgrading membranes is expected to increase from USD 525.8 million in 2022 to USD 1,495.91 million by 2028, reflecting an impressive compound annual growth rate (CAGR) of 19.04%.
Membrane processes are gaining preference for several reasons, including their remarkable energy efficiency, lack of toxic waste generation, compact system design, reliability, and low initial capital investment. Additionally, these systems are relatively straightforward to operate, typically requiring minimal supervision, which enhances their appeal to operators [5].
Since the early 2000s, numerous commercially viable biogas upgrading systems have been introduced. Current research efforts are concentrated on improving process efficiency while simultaneously reducing both capital and operational costs. In the early stages of biomethane plant development, water scrubbing was the preferred method due to its technological simplicity and low operational costs. However, advancements in technology have led to a marked increase in the adoption of alternative systems, such as chemical cleaning, membrane technologies, and Pressure Swing Adsorption (PSA) over the past few decades [1].
Membrane technology, in particular, is highly attractive for applications with lower gas flow rates, where it competes favorably with PSA systems. For small-scale biogas production facilities, the operational costs of membrane technology and PSA systems are generally comparable. However, for plants with capacities of up to 300 m3/h, membrane technology demonstrates greater cost-effectiveness, positioning it as a viable solution for a wide range of applications [2].

2.2. Anaerobic Digestion

Biogas, a renewable biofuel, is increasingly being produced through the process of anaerobic digestion, which is gaining traction in several countries, particularly the United Kingdom, Germany, and Denmark [5]. This bioprocess offers a sustainable solution to pressing environmental issues, such as the accumulation of greenhouse gases in the atmosphere and the effective disposal of organic waste. By converting organic materials into biogas, anaerobic digestion contributes to environmental preservation and the conservation of natural resources.
The byproducts of this process are equally valuable; the liquid fraction of the digestate can be utilized as a nutrient-rich fertilizer, while the solid fraction can be transformed into ligninolytic enzymes or biofuels, such as lignocellulosic ethanol and syngas [3,5].
The anaerobic digestion process involves several key stages. During the hydrolysis phase, complex organic materials are broken down into simpler sugars, alcohols, and other small molecules. This is followed by acidogenesis or acetogenesis, where these elementary molecules are further converted into more complex compounds like acetic acid, carbon dioxide, and hydrogen.
To evaluate the effectiveness of an anaerobic digestion system, various parameters are monitored, including volatile fatty acids (VFAs), alkalinity, the VFA/alkalinity ratio, biogas production rate, methane concentration, carbon dioxide (CO2) levels, pH, and chemical oxygen demand (COD). Collectively, these indicators provide valuable insights into the performance and efficiency of the anaerobic digestion process, enabling operators to optimize conditions for maximum biogas production [4].

2.3. Composition

Biogas primarily consists of two major components: methane (CH4) and carbon dioxide (CO2). However, this gas mixture can also contain trace amounts of various other gases, including ammonia (NH3), hydrogen sulfide (H2S), hydrogen (H2), nitrogen (N2), carbon monoxide (CO), oxygen (O2), as well as various saturated and halogenated hydrocarbons. Additionally, biogas may contain small quantities of water vapor and, on occasion, solid particles and siloxanes, which are silicon-based compounds [5].
The production of biogas occurs through anaerobic digestion, a biological process in which anaerobic bacteria break down organic matter in the absence of oxygen. The composition of biogas is influenced by several factors, including the type of feedstock used and the specific conditions within the anaerobic digester, leading to variations in its composition over time [6].
A critical factor in determining the energy content of biogas is its methane concentration. For optimal performance in internal combustion engines, biogas should contain a methane concentration exceeding 90%. Elevated levels of CO2 can dilute the energy content, which may result in reduced power output from engines or generators that rely on internal combustion. Additionally, the presence of water vapor in biogas poses a risk of corrosion in pipelines, while gases such as H2S and CO2 can corrode metal components, including exhaust systems, valves, and gears. Sulfur Stress Cracking (SSC) is a common form of corrosion associated with metals exposed to H2S [4].
Biogas is a leading source of gaseous bioenergy due to its rapid production from a variety of organic feedstocks and its potential to significantly reduce the fossil carbon footprint of the energy sector. Unlike fossil fuels, biogas utilizes biodegradable waste, resulting in minimal adverse environmental impacts, particularly in terms of air quality [6].
When biogas undergoes upgrading to become bio-methane, CO2 and other contaminants are removed, making it suitable for applications akin to those of natural gas. For example, heating boilers require biogas with H2S concentrations below 1,000 ppm. Gas engines used in combined heat and power (CHP) systems necessitate even lower H2S levels to optimize performance while minimizing water vapor to prevent condensation. Moreover, organic silicon compounds such as siloxanes can cause abrasive wear on metallic surfaces due to silica deposition [4].
In the transportation sector, biogas can be utilized in natural gas engines. To achieve optimal performance and ensure safety, it is essential to remove particles, water, and other trace components from the gas. Different countries have established specific quality standards for biogas used as vehicle fuel and for its integration into natural gas infrastructure [4].
Recent years have seen a surge in interest in biogas production and its applications in power generation and transportation, largely due to its potential use in internally combusted engines. By converting biogas into bio-methane through the removal of CO2 and pollutants, it becomes suitable for applications in internal combustion engines and natural gas systems. The high-octane rating and elevated auto-ignition temperature of biogas further enhance its viability as an engine fuel. Recent studies indicate that biogas performs well in dual-fuel compression-ignition engines and homogeneously charged compression-ignition engines, benefiting from its high-octane rating, which is particularly advantageous for spark-ignition engines [7].

3. Biogas Purification Technologies

The majority of biogas upgrading technology is derived from the gas refining sector. Separation and sorption techniques are used in these approaches. The following sections will go into absorption, adsorption, cryogenic separation, and membrane separation. The majority of biogas upgrading technologies have their roots in the gas refining sector, where various separation and sorption techniques have been employed to purify gases and remove impurities. These technologies have been adapted to enhance the quality of biogas, making it suitable for a wider range of applications, such as transportation fuel and energy production. In the following sections, we will discuss the four primary methods of biogas upgrading: absorption, adsorption, cryogenic separation, and membrane separation.

3.1. Absorption

Absorption is a process that involves converting a gas component into a soluble liquid, effectively capturing gases from their gaseous state and transferring them into a liquid phase (Figure 1). Among the various technologies for improving biogas, chemical CO2 absorption has emerged as a key method for enhancing the quality of biogas by increasing its methane content. This technique has been successfully applied in various settings to transform biogas into a methane-rich product, which is essential for meeting the standards required for its use as renewable natural gas (RNG) or for injection into natural gas grids.
Chemical CO2 absorption primarily utilizes amine and caustic scrubbing techniques to selectively remove carbon dioxide from biogas. Amine scrubbing involves the use of amine solutions, which chemically react with CO2 to form stable compounds that can be subsequently regenerated by applying heat, releasing purified CO2 and allowing the amine solution to be reused. Caustic scrubbing, on the other hand, employs alkaline solutions to react with CO2, also facilitating its capture and removal.
Despite the established effectiveness of these chemical absorption methods, further investigation is necessary to optimize their application specifically for biogas upgrading. Current research should focus on critical aspects such as the energy consumption of each absorption technique and its environmental implications during the biogas upgrading process. This includes evaluating the energy input required for both the absorption phase and the subsequent regeneration of the absorbent.
In addition, it is essential to explore strategies to minimize the environmental impact associated with these methods. A comprehensive analysis of all variables affecting the absorption-regeneration cycle is necessary to identify opportunities for improvement. Factors such as temperature, pressure, flow rates, and the choice of absorbent materials can significantly influence the efficiency and sustainability of the process. By optimizing these variables, the goal is to enhance the overall energy efficiency and reduce the carbon footprint associated with biogas upgrading through chemical absorption techniques, thereby contributing to more sustainable energy solutions [8].
Figure 1. Biogas upgrading by chemical absorption of CO2. Reprinted with permission from [9]. Copyright Springer.
Figure 1. Biogas upgrading by chemical absorption of CO2. Reprinted with permission from [9]. Copyright Springer.
Engproc 67 00057 g001

3.2. Adsorption

The adsorption technique primarily relies on porous adsorbents as its fundamental components. These adsorbents, which include zeolites, silica gel, activated carbon, activated alumina, and various polymeric materials, offer precise and selective surfaces that favor the preferential adsorption of carbon dioxide (CO2) over methane (CH4). This selective affinity is crucial for efficiently upgrading biogas, as the removal of CO2 enhances the methane concentration, making the biogas more suitable for use as a renewable energy source.
Pressure Swing Adsorption (PSA), illustrated in Figure 2, is a widely employed technique for various biogas applications, particularly effective at flow rates below 2000 Nm3/h. The performance of PSA systems is heavily influenced by the properties of the chosen adsorbent material, which plays a critical role in determining the overall efficacy of the process. Factors such as surface area, pore size, and chemical affinity for specific gases can significantly affect the rate and capacity of CO2 adsorption.
Currently, PSA is the most extensively utilized method among the available gas separation technologies. Typical PSA systems are configured with three, four, or six parallel vessels designed to maintain continuous operation. Each vessel operates through a cyclical process that includes stages of pressurization, adsorption, depressurization, and desorption. This cyclic operation allows for efficient separation of gases, as while one vessel is in the adsorption phase, others can be in the depressurization or desorption phases, thus ensuring a steady output of upgraded biogas.
While PSA is effective, there is also a variant known as Vacuum Pressure Swing Adsorption (VPSA). The VPSA process operates similarly to PSA; however, it incorporates a vacuum pump that enables the desorption of adsorbates under vacuum conditions. This modification can enhance the efficiency of the desorption phase, potentially leading to higher recovery rates of the target gas and improved overall process performance. The choice between PSA and VPSA will depend on specific operational requirements, including desired gas purity, recovery rates, and economic considerations [10].

3.3. Cryogenic Separation

Cryogenic separation (see Figure 3) is a widely utilized commercial method that efficiently separates gaseous components by liquefying them at low temperatures. The process begins with the compression of the feed gas, which is then subjected to additional cooling to achieve the necessary low temperatures for effective operation. This cooling phase allows for the liquefaction of carbon dioxide (CO2) and its subsequent separation from other gas components in the mixture.
Cryogenic distillation is particularly common in the natural gas sweetening process, where it is employed to remove undesirable impurities such as CO2 from natural gas streams. The technique effectively dissolves and freezes CO2 in the natural gas, making it possible to separate the components based on their differing boiling points. One of the primary advantages of cryogenic distillation is its ability to produce liquid CO2 that is both pure and suitable for transportation and storage, facilitating various applications, including carbon capture and enhanced oil recovery.
This method is especially effective for gas streams with high CO2 concentrations, as it can handle larger volumes of impurities without significant efficiency losses. However, despite its effectiveness, cryogenic separation comes with several notable drawbacks. One of the most significant challenges is the high energy requirement for the regeneration process. The need for substantial energy input to maintain the low temperatures necessary for the process can result in elevated operational costs, making it less economical compared to alternative gas separation techniques.
Additionally, the running costs associated with cryogenic separation can be substantial due to the complexity of the equipment and the need for continuous maintenance and monitoring. There is also a considerable risk of obstruction within the system, particularly if operational parameters are not meticulously controlled. Ice formation or other blockages can disrupt the separation process, potentially leading to costly downtime and operational inefficiencies.
In terms of operational configurations, cryogenic distillation is the most prevalent method for upgrading biogas. Several transport techniques can be employed in this context, including flash, single-column, double-column, two-column, and three-column systems. These configurations allow for flexibility in handling different gas mixtures and achieving optimal separation. Cryogenic separation is capable of removing CO2 in both liquid and solid forms, depending on the specific application and operational conditions.
To achieve effective liquefaction of the different gaseous components, the feed gas is typically compressed to pressures ranging from 18 to 30 bars and then cooled to temperatures between −45 to −59 degrees Celsius using heat exchangers. Notably, at these higher pressures, CO2 does not sublimate, allowing for efficient separation. Once liquefied, methane can be effectively separated from gaseous oxygen and nitrogen, capitalizing on the variations in component volatility and their respective distillation properties. Overall, while cryogenic separation presents several advantages for upgrading biogas and natural gas sweetening, its operational costs and risks require careful consideration and management [11].

3.4. Membrane Separation

Membrane separation (see Figure 4) is an advanced technique utilized to selectively separate the components of a system by permitting certain substances to pass through a semi-permeable membrane while rejecting others. This method relies on the principle of differential permeability, allowing the composition of the solution to be altered based on the relative penetration rates of various components. In essence, the membrane functions as a barrier that can either inhibit or facilitate the movement of specific molecules, thus enhancing the efficiency of the separation process.
The performance of a membrane, defined as its ability to control and regulate the passage of molecules, is influenced by several key factors. One of the most critical factors is the driving force behind the separation process, typically provided by pressure differentials or concentration gradients. The effectiveness of the membrane is also contingent upon the size and shape of the molecules involved; larger molecules may encounter greater resistance when attempting to pass through the membrane compared to smaller ones. Consequently, the proportional sizes of both the permeant (the substance being separated) and the retentate (the substances being rejected) are vital considerations in the design and application of membrane separation technology.
In addition to physical characteristics, the chemical composition of the permeant plays a significant role in the separation process. For instance, interactions between the permeant and the membrane material can affect permeability, selectivity, and the overall efficiency of separation. Likewise, the material properties of the membrane itself—such as its porosity, thickness, and surface chemistry—are crucial determinants of its performance limits.
To optimize the membrane separation process, it is essential to carefully plan the operational conditions, taking into account the specific characteristics of both the feed solution and the desired products. These conditions include factors such as temperature, pressure, and flow rates, all of which can significantly impact the membrane’s effectiveness. By understanding and manipulating these variables, engineers can maximize separation efficiency and achieve desired outcomes in various applications such as in biogas upgrading [12].
A summary of the different technologies for biogas upgrading is shown in Table 1. Among these technologies, membrane separation offers several key advantages for biogas upgrading, making it an attractive option for many biogas producers. The technology is known for its simplicity and compact design, which requires minimal equipment and space compared to other upgrading methods. This modular setup allows for easy scalability, making membrane systems suitable for both small and large biogas plants. One of the primary benefits is the energy efficiency of membrane separation. It operates at relatively low energy consumption, particularly when compared to methods like cryogenic separation or pressure swing adsorption. Additionally, membrane systems do not require the use of chemical reagents, making them environmentally friendly and reducing the need for chemical handling or disposal. Membrane separation also offers a high degree of flexibility, enabling operators to fine-tune the system based on the composition of the biogas feed and desired methane purity. The process is quick to start and stop, which is useful for plants with fluctuating gas flows. Another significant advantage is the high methane recovery rate, typically over 90%, which minimizes methane losses and increases the efficiency of the biogas upgrading process. Furthermore, membrane systems can be designed to remove both carbon dioxide and other impurities such as water vapor and hydrogen sulfide, leading to cleaner biomethane. Lastly, with fewer moving parts and no chemicals involved, membrane separation systems have lower operating and maintenance costs compared to more complex technologies.

4. Membrane Technology for Biogas Upgrading

Membrane technology presents a promising alternative to traditional biogas upgrading methods, such as pressure swing adsorption and water scrubbing. Gas permeation membranes, commonly employed in the natural gas industry for the removal of contaminants, offer an innovative approach to upgrading biogas. This section primarily discusses the fundamental principles of gas permeation, with a particular emphasis on the effective removal of carbon dioxide (CO2) from biogas.

4.1. Membrane Materials

Membrane technology is a widely adopted method for gas permeation, particularly within the natural gas industry, where it is employed to purify gas streams by removing impurities. This application can be expanded to enhance biogas quality, making it more suitable for various energy applications. For membranes to be effective in biogas upgrading, they must be resistant to contamination from components such as ammonia and hydrogen sulfide, which are common in biogas. Additionally, the materials used must withstand high pressures, typically ranging from 20 to 25 bars.
The most frequently utilized membrane materials include inorganic, polymeric, and composite membranes. While research into composite membranes is still in its infancy and primarily conducted in laboratory settings, significant advancements have been made in the use of inorganic and polymeric membranes. Inorganic membranes, such as those made from alumina and zeolites, offer superior gas separation capabilities along with excellent chemical and thermal stability. However, these membranes face notable challenges, including high manufacturing costs and limited mechanical strength. Ceramic membranes, while highly selective, permeable, and chemically stable, are also subject to performance issues caused by intercrystalline defects, known as phenomenon faults, which can hinder their effectiveness.
Carbon molecular sieve membranes exhibit exceptional performance characteristics, particularly in selectivity and permeability. However, their brittleness poses challenges when scaling up for industrial applications. To address these challenges, ongoing research aims to enhance the affordability and financial viability of carbon molecular sieve membranes during the production process.
On the other hand, polymeric membranes are the most popular choice in the industry due to their cost-effectiveness, ease of use, and ability to maintain stability and performance under high pressure. These attributes make polymeric membranes a practical option for biogas upgrading, facilitating the transition to cleaner energy sources while addressing the specific challenges associated with biogas impurities [5].

4.1.1. Polymeric Membranes

The use of polymeric membranes in industrial applications began in the 1970s, with a significant focus on their role in biogas upgrading. For effective biogas upgrading, membranes must have high selectivity for separating CO2 from CH4 and exhibit good permeability to CO2. Given the versatility of polymers, their selection for gas separation membranes hinges on several crucial factors: selectivity and permeability, chemical, mechanical, and thermal stability, glass transition temperature (Tg), high critical CO2 pressure for sorption capacity, processability and filmability, and cost.
Tg plays a vital role in determining the suitability of a polymer for membrane fabrication. Polymers are categorized into glassy polymers, which have a Tg higher than room temperature, and rubbery polymers, which have a Tg lower than room temperature. The type of penetrant also impacts polymer selection. In glassy polymers, the rigidity below Tg affects the mobility of gas molecules, influencing permeability and selectivity for gases such as CO2 and CH4. Real gas mixtures, like biogas, interact differently with the polymer compared to pure gases due to factors like plasticizing components and membrane swelling. This makes swelling resistance a crucial property of the membrane.
Polymeric membranes are generally divided into porous and non-porous types. Porous membranes’ performance depends on the pore size distribution and permeate characteristics, offering high flux but lower separation factors. Non-porous membranes use a solution-diffusion process for gas separation, where gases dissolve in the polymer and then diffuse through it. The permeability of these membranes is determined by the product of gas diffusion and solubility. Ideal selectivity, which is the ratio of permeabilities for different gases, is influenced by both diffusivity and solubility selectivities. This highlights a trade-off between selectivity and permeability, which must be carefully considered in membrane design [13].

4.1.2. Inorganic Membranes

Significant advancements have been made in the development of inorganic membranes for biogas upgrading. However, challenges such as high costs, low selectivity under specific conditions, long production times, particle agglomeration, and structural defects have limited their effectiveness in gas separation. Addressing these issues requires careful control of membrane drying times and the particle size of the membrane materials, which are crucial for achieving a defect-free structure that influences pore size and permeability. Effective techniques for producing non-agglomerated particles with sizes less than 10 μm include micro-emulsion, sonochemical methods, and controlled precipitation.
In addition, several methods have been proposed to enhance the structure of inorganic membranes and mitigate grain boundary defects. For instance, rapid thermal processing (RTP) is a near-surface treatment that improves membrane effectiveness by reducing calcination time, thereby refining the microstructure. Asymmetric membrane structures and the use of additives also contribute to improved performance. Asymmetric membranes feature a thin top layer with smaller pores for high permeability, supported by a thicker layer with larger pores for mechanical stability. This design approach can overcome the limitations of thick symmetric membranes, which often have lower permeabilities.
Materials like carbon molecular sieves and zeolites, though traditionally challenging to produce inhomogeneous, defect-free forms, can be effectively utilized in asymmetric structures for gas separation. High-flux membranes made from alumina, ceramics, and ceramic composites are additional examples of successful applications. The incorporation of additives, such as polyvinyl alcohol (PVA) in the dip coating solution for γ-alumina membranes, can further enhance membrane performance by reducing defects and narrowing pore size distribution [13].

4.1.3. Mixed Matrix Membranes (MMMs)

Despite the advancements in polymeric and inorganic membranes for gas separation, both types have limitations that hinder their effectiveness. Polymeric membranes, known for their high selectivity, often suffer from reduced permeability, while inorganic membranes, despite their high permeability, struggle with lower selectivity. To leverage the advantages of both types while minimizing their drawbacks, significant research has focused on developing Mixed Matrix Membranes (MMMs) over the past fifty years. MMMs are created by embedding small particles, such as carbon nanotubes or zeolites, into a polymer matrix. This approach aims to combine the high selectivity of inorganic fillers with the processability and cost-effectiveness of polymers.
Mixed matrix membranes can operate effectively at the nanoscale, although they do not always retain the intrinsic properties of the individual components. This is due to complex interactions between the polymer and the particles, which alter the final properties of the membrane. The interaction between the polymer and fillers involves various forces, including covalent bonds, hydrogen bonds, van der Waals forces, and coordination bonds.
Incorporating inorganic particles into the polymer matrix enhances the membrane’s performance while reducing costs compared to using purely inorganic membranes. The high selectivity of inorganic fillers combined with the cost-effective, easily processed polymers results in MMMs that offer improved separation performance and lower costs. Additionally, the presence of inorganic particles enhances the mechanical and thermal stability of the membrane, enabling it to operate under more demanding conditions. The increased active surface area due to these particles also improves gas diffusion, thereby enhancing both selectivity and permeability.
Recent developments in using porous organic fillers in MMMs have shown effectiveness in addressing issues of filler-polymer phase compatibility and reducing non-selective voids at the interface. These organic fillers offer modifiable pore sizes and improved chemical and thermal stability.
Key parameters for selecting appropriate fillers and polymers include the selectivity and permeability of the polymer, the particle size of the filler, and the potential for sedimentation and agglomeration of filler particles. Smaller particles tend to interact more with the polymer matrix, enhancing separation capabilities. However, sedimentation and agglomeration can lead to non-uniform phases and non-selective defects in the membrane. The morphology of the interface between the polymer and filler also impacts performance, with weak interfacial interactions potentially leading to various structural issues within the MMMs [13].

4.2. Membrane Modules

The upgrading of biogas consists of three parts. Spirals and hollow fiber modules are examples of commercially available extended variants: wound modules and envelope modules. Vendors (like Air Liquide or Evonik) favor the utilization of hollow fiber modules. Spiral wound membrane modules are nevertheless being made available for purchase. The other vendors include MTF. It is derived that membrane module operating difficulties exist. Polarization and the Joule–Thomson effect are two examples of physical phenomena brought on by forces like pressure losses and concentration. These problems bring on a reduced driving force. The flowing media in the fiber causes pressure loss. Pressure decreases due to the transmembrane’s action, and biogas molecules work better. A recognized accumulation known as polarization in concentration occurs over the membrane surface. This fact prompts the population to decrease in transfer along the membrane surface. The Joule–Thomson effect is caused by changes in temperature at which gas expands from areas of more significant pressure to those of lower pressure while maintaining a constant enthalpy [1].
Generally speaking, there are two primary gas-gas arrangements. There are now a variety of modules available on the market, including single-pass membrane modules and additional multiphase internal alternative recycling systems for membrane modules. Due to the inadvertent infusion of CH4 at high pressure, the main issue with this method’s low CH4 recovery rate is caused by this. Therefore, a one-pass device can achieve the best CH4 recovery (92%) achievable. The last module of the gas-gas system has a gaseous component on both sides; CO2 and H2S are in a state of gaseousness. Atoms disperse into fluidity on the other side of the gap. Raw biogas is often compressed in a gas-gas module at 20–40 bar of pressure, which causes the building of retentate at the input, which is over 97% pure bio-methane at atmospheric pressure. It can be produced by decompressing into low-pressure setting levels by reusing a portion of the water saturated with CO2 and residual CH4 [13].

4.3. Design of Membrane System for Biogas Upgrading

The following subsections will explore the four gas permeation processes: single step, two steps, three steps, and hybrid gas permeation processes.

4.3.1. Single-Step Gas Permeation Processes

The one-step membrane device offers an economically viable solution for biogas upgrading, particularly for gas wells producing relatively low volumes, typically in the range of 1–2 MMscfd (Million Standard Cubic Feet per Day) (Figure 5). Due to its low initial capital investment and minimal ongoing operational costs, it presents a cost-effective option for small to medium-sized biogas operations. This system utilizes a single membrane module that efficiently separates methane (CH4) from carbon dioxide (CO2) and other impurities in the biogas stream. A key feature of this configuration is the partial recycling of the permeate stream. In this method, a portion of the CO2-rich gas that permeates through the membrane is directed back into the system for additional processing, rather than being vented or discarded. This recycling of the permeate significantly improves methane recovery, enabling higher CH4 concentrations in the final product. As a result, the methane injection rate into the grid is greatly enhanced, ensuring that the gas meets the required standards for grid injection.
However, the process of partial permeate recycling introduces certain challenges. One major issue is the increase in flow rate through the compressor. When the recycled permeate is reintroduced into the system, it adds to the overall volume of gas that must be compressed. This increase in gas flow through the compressor leads to a corresponding rise in the energy demand required to maintain adequate pressure for the separation process. As a consequence, while partial recycling boosts methane recovery, it also increases the energy consumption of the system.
In terms of performance, the one-step membrane device can achieve a maximum methane recovery rate of 95%, meaning that nearly all of the methane in the biogas feed is retained in the upgraded gas. However, this falls just short of the 96% methane purity typically required for injection into natural gas grids. Thus, while the system is effective at upgrading biogas, additional steps or adjustments may be necessary to meet stringent grid specifications [5].

4.3.2. Two-Step Gas Permeation Processes

To enhance biogas upgrading through membrane separation, various two-step gas permeation techniques have been developed, each with distinct configurations for gas flow and compression requirements (Figure 6). In the first approach, a two-step membrane system is utilized, with only one compressor required to drive the process. The permeate gas from the second membrane stage is recycled back into the first stage, ensuring that methane is recovered efficiently, while CO2 and other impurities are progressively removed. This recycling of the second-stage permeate helps to improve methane recovery without needing additional compression, thereby optimizing energy use.
In the second approach, a more complex system is proposed, requiring two compressors. The key feature of this method is the recycling of the retentate from the second membrane stage back into the system, rather than the permeate. By reintroducing the retentate from the second step, this approach aims to maximize methane recovery and further reduce the concentration of carbon dioxide in the final product. The use of two compressors allows for greater control over gas flow and pressure in each stage, enabling more precise separation and improving the overall efficiency of the upgrading process.
The third configuration is an extension of the second process and also involves two compressors. In this setup, the retentate from the second membrane stage is combined with the retentate from the first stage. By merging the streams, this approach seeks to further concentrate methane in the final product, while maintaining efficient CO2 removal. The two compressors ensure that both stages of the system operate at the required pressures to optimize gas separation. This configuration enhances the overall performance of the membrane system by leveraging the strengths of both stages in tandem.
In the fourth approach, a single compressor is again employed, similar to the first technique, but with an additional feature: the feed gas is used as a sweep gas on the permeate side of the second membrane module. This sweep stream helps to reduce the permeation of CO2 in the second module, particularly when the permeation rate of CO2 surpasses that of the feed gas. The use of the sweep stream ensures that CO2 is more effectively removed without compromising methane recovery. As a result, this technique can optimize the separation process while maintaining lower energy requirements by utilizing only one compressor [5].

4.3.3. Three-Step Gas Permeation Processes

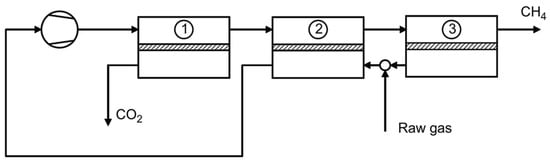
To optimize the membrane-based upgrading process, a three-step membrane approach may be used (Figure 7). In this system, the unpressurized raw biogas is combined with the permeate from the third membrane module and then fed into the permeate side of the second module. This configuration is designed to reduce the CO2 concentration in the permeate stream, thus improving the overall separation efficiency. By recycling the permeate in this way, the system requires a smaller membrane surface area to achieve the same level of methane recovery, which significantly reduces the system’s complexity and cost without expanding the recycling stream [14].
This three-step approach is particularly effective in minimizing methane losses in the permeate stream, which is often considered the waste gas. Methane loss is a critical issue in conventional membrane processes, as it reduces the economic efficiency of biogas upgrading. By employing a multi-stage system and carefully controlling gas flows and membrane performance, this approach significantly reduces excessive methane losses, enhancing overall methane recovery.
Several operating factors influence the performance of the membrane in separating gases. These include the composition and flow rate of the feed gas, the pressure differential across the membrane, gas temperature, the active membrane surface area, and the required product gas specifications. Each of these variables must be optimized to ensure efficient separation and minimal methane loss [5].
Further improvements to the three-stage gas permeation process were achieved by incorporating pressurized water cleaning. This method was found to be the most cost-effective modification, as it maintained membrane efficiency by preventing fouling and contamination over time. This cleaning process contributed to the long-term reliability and affordability of membrane-based biogas upgrading, ensuring consistent performance with minimal operational interruptions [15].

4.3.4. Hybrid Gas Permeation Processes

A comprehensive procedure for upgrading biogas involves the use of a membrane unit specifically designed for carbon dioxide (CO2) removal, complemented by an adsorption stage aimed at eliminating hazardous trace components, such as chlorofluorocarbons (CFCs). Despite the high purity of the resulting methane, a few contaminants were detected in the nearly pure methane produced. To ensure its suitability for use as motor fuel or for injection into the nearby natural gas grid, the methane is stored at high pressure at distribution points. For trace component removal, activated carbon was chosen due to its effectiveness, achieving residual concentrations of harmful substances, including hydrogen sulfide (H2S) and CFCs, below 2 mg/m3 (standard temperature and pressure).
In a different approach, a novel hybrid technique combining membrane separation with diethanolamine (DEA) absorption was employed for natural gas containing up to 40% carbon dioxide and 1% hydrogen sulfide. In this configuration, asymmetric cellulose acetate (CA) membrane modules were utilized to efficiently remove CO2, which is classified as an acid gas. The CA membranes demonstrated impressive selectivity, achieving a CO2 to CH4 selectivity of 21 and a CO2 to H2S selectivity of 19. Operating under a feed pressure of 800 psia and a permeate pressure of 20 psia, these membranes, with a thickness of 0.394 mm, are designed for durability, boasting a lifespan of approximately three years. Any residual acid gases remaining after membrane separation were effectively eliminated using an aqueous DEA solution.
Further research introduced a combination membrane system featuring two distinct membrane separation phases for biogas upgrading and desulfurization. This system employs a flexible membrane for separation alongside a glassy membrane for selective permeation. The authors suggest that this dual-membrane configuration could significantly enhance biogas quality. Additionally, they propose the incorporation of rubber membranes with high selectivity for H2S over CH4 into the system, which could further improve performance. If the system can achieve low energy consumption while ensuring adequate methane recovery, the resultant biogas would meet the stringent requirements for natural gas grid injection.
Importantly, the design of the membrane system used for upgrading biogas is largely independent of the biogas’s source, composition, and specifications. This flexibility indicates that multiple membrane techniques exist for improving biogas quality, allowing for tailored solutions to meet specific needs. Integrating membrane separation technology within a multi-stage process is generally more effective than single-step approaches, as these configurations tend to exhibit lower operational costs and enhanced upgrading efficiency. By optimizing the design and arrangement of membrane stages, operators can achieve better overall performance in biogas upgrading, ultimately enhancing the viability of biogas as a renewable energy source [5].

4.4. Commercialization of Membrane Technology for Biogas Upgrading

In recent years, membrane technology has garnered significant attention in the market due to its impressive selectivity for gas separation. Specifically, membrane separation technology has emerged as a promising alternative for upgrading biogas, showcasing substantial advancements over the past three decades. The Netherlands pioneered the industrial application of this technology in 1990, paving the way for its adoption in countries such as the USA, Canada, and Australia. Today, more than 30 industrial units worldwide utilize membrane processes for biogas upgrading, highlighting the growing reliance on this innovative technology.
A critical factor in the successful application of membrane technology is the optimization of membrane permeability and selectivity, along with ensuring the commercial viability of the chosen materials. Each type of membrane—polymeric, inorganic, and mixed matrix—presents its own set of advantages and drawbacks. For instance, inorganic membranes offer exceptional thermal and chemical resistance, making them suitable for harsh conditions. However, they often come with high costs and limited mechanical durability, which restricts their widespread industrial use. In contrast, polymeric membranes are more commonly favored in industrial settings due to their affordability, scalability, robust mechanical strength, and high selectivity. Widely used polymers for biogas upgrading include cellulose acetate (CA), polyimide (PI), polysulfone (PSf), and polydimethylsiloxane (PDMS).
Among these, CA membranes were early adopters in the industry due to their cost-effectiveness and renewable nature. However, they are susceptible to CO2 plasticization, which diminishes the CH4/CO2 selectivity at pressures exceeding 8 bar. PDMS membranes are noted for their high permeability but demonstrate reduced resistance to pressure conditions. On the other hand, Matrimid, a type of industrial polyimide, performs admirably under challenging conditions due to its thermal resistance, although it too is affected by CO2 plasticization.
The selection of membrane material is also influenced by the specific gas components that need to be separated. For instance, glassy polymers such as CA and PI are preferred for CO2 separation, while rubbery polymers, including ether-amide block copolymers, are utilized for hydrogen sulfide (H2S) removal. In the case of nitrogen (N2) and larger hydrocarbons (C3+), perfluoro polymers and silicon rubber are particularly effective.
In addition to polymeric options, inorganic membranes made from materials like carbon, silica, zeolite, and palladium alloys are also employed in biogas upgrading. These inorganic membranes can be categorized into dense and porous types. Porous inorganic membranes are generally more suited for industrial applications due to their higher permeability compared to dense membranes, which are primarily used for specialized applications like hydrogen purification. Commercially available inorganic membranes include ceramic membranes produced through sol-gel methods, as well as aluminum oxide (Al2O3), titanium dioxide (TiO2), zirconium dioxide (ZrO2), glass, and carbon membranes. Notably, carbon membranes excel at separating gases with molecular sizes smaller than 4–4.5 Å, making them less effective for larger gas mixtures.
Inorganic membranes come in various configurations, including flat (disk or sheet), tube, and multi-channel/honeycomb designs. Flat configurations are typically utilized for small-scale applications, such as in medical and laboratory settings, while multi-channel or honeycomb designs are preferred for large-scale commercial applications due to their enhanced mechanical strength and packing density. The diversity in membrane types and configurations underscores the flexibility and adaptability of membrane technology for biogas upgrading, facilitating the optimization of performance and cost-effectiveness in various industrial contexts [13].

5. Research Gaps

Membrane-based biogas upgrading presents a promising alternative to traditional methods for enhancing the quality of biogas, yet several research gaps must be addressed to realize its full potential. One critical area requiring further exploration is the development of advanced membrane materials. Although current membranes show promise, there remains a substantial need for materials that offer superior selectivity and permeability for the target gases, particularly carbon dioxide (CO2) and methane (CH4). Existing membranes often face challenges in terms of fouling resistance, mechanical stability, and long-term durability under biogas conditions. Research into new membrane materials that can better withstand harsh conditions while maintaining high performance is essential for improving overall efficiency.
Fouling and cleaning mechanisms are another significant research gap. Biogas often contain impurities such as siloxanes, hydrogen sulfide (H2S), and water vapor, which can adversely affect membrane performance. Understanding the fundamental processes of fouling, including how these contaminants interact with membrane surfaces and the impact of fouling on separation efficiency, is crucial. Additionally, developing effective cleaning protocols to restore membrane performance and extend its lifespan remains a challenge. There is a need for research to design membranes that are more resistant to fouling and to establish cleaning methods that are both effective and sustainable.
The stability and longevity of membranes are also areas that require further investigation. Membranes exposed to biogas impurities and fluctuating temperatures may experience degradation over time, which affects their performance and increases operational costs. Research into improving the durability of membranes under these harsh conditions, as well as strategies for mitigating degradation, is necessary for enhancing the reliability and cost-effectiveness of membrane-based upgrading systems.
Energy efficiency is another critical aspect that needs optimization. Membrane-based systems often require significant energy for pressurization and regeneration processes. Reducing the energy consumption of these systems while maintaining high performance is essential for making membrane-based upgrading more economically viable. Research into energy-efficient designs and operational strategies could help lower the overall energy footprint.
The integration of membrane technology with other upgrading processes presents both opportunities and challenges. Combining membranes with techniques such as Pressure Swing Adsorption (PSA) or chemical absorption could potentially improve the overall efficiency of the upgrading process. However, research is needed to understand how best to integrate these technologies, optimize their combined performance, and evaluate the cost-effectiveness of such hybrid systems.
Scalability and industrial application of membrane-based upgrading technologies pose additional research challenges. Transitioning from pilot-scale to full-scale industrial applications involves addressing issues related to cost implications, module design, and system integration. Research focused on scaling up membrane-based systems, optimizing module designs for industrial use, and ensuring smooth integration with existing infrastructure is crucial for realizing the practical application of these technologies.
The environmental impact of membrane-based biogas upgrading systems is another important area requiring attention. Comprehensive studies are needed to assess the lifecycle impacts of these systems, including the environmental footprint of membrane production, operation, and disposal. Evaluating the sustainability of membrane-based upgrading technologies and developing strategies to minimize their environmental impact will be essential for promoting their adoption in environmentally-conscious applications.
Exploration of new membrane designs and configurations could also enhance the performance and practicality of these systems. Innovative membrane module designs that improve separation efficiency, reduce space requirements, and offer greater operational flexibility could lead to more effective and adaptable systems. Research into novel designs and configurations could contribute to the development of more compact and efficient upgrading solutions.
Economic feasibility is a crucial consideration for the widespread adoption of membrane-based biogas upgrading technologies. Detailed economic analyses are needed to evaluate the capital and operational costs, maintenance requirements, and potential revenue from upgraded biogas. Understanding the economic implications and conducting cost-benefit analyses will help determine the financial viability of membrane-based systems and guide investment decisions.
Finally, regulatory and standardization issues present ongoing challenges for the development and implementation of membrane-based upgrading technologies. The establishment of industry standards and regulations is necessary to ensure the safety, performance, and quality of these systems across different applications and regions. Research into developing and harmonizing standards, as well as addressing regulatory requirements, will be important for facilitating the adoption and acceptance of membrane-based upgrading technologies in the marketplace.
Addressing these research gaps will be critical for advancing membrane-based biogas upgrading technologies, making them more efficient, cost-effective, and suitable for large-scale applications. By focusing on these areas, researchers and industry professionals can contribute to the development of more effective and sustainable solutions for biogas upgrading, ultimately supporting the growth of the biogas industry and its contribution to renewable energy and environmental sustainability.

6. Future Outlook

The future outlook for membrane-based biogas upgrading is marked by an exciting trajectory of innovation and potential that promises to significantly enhance the efficiency and sustainability of biogas processing technologies. As the global demand for renewable energy sources escalates and environmental considerations increasingly drive technological advancements, membrane-based upgrading systems are set to play a pivotal role in optimizing biogas utilization. One of the foremost areas of progress is the development of advanced membrane materials, which will be crucial for improving the selectivity and permeability of gas separation. Researchers are actively exploring new materials, including high-performance polymers, inorganic membranes, and composite structures, that offer enhanced resistance to fouling, greater durability, and improved separation efficiency. Innovations such as nanomaterials and advanced coating techniques are expected to revolutionize membrane fabrication, leading to membranes that can better endure the harsh conditions encountered in biogas processing while maintaining high performance over prolonged operational periods.
Addressing fouling, a significant challenge in membrane-based systems, will also be a key focus of future research. Advances in membrane technology are anticipated to lead to materials with superior fouling resistance capable of withstanding the impact of contaminants like siloxanes, hydrogen sulfide, and water vapor. The development of more effective and sustainable cleaning methods will be integral to maintaining membrane performance and extending system lifespans. Innovations in antifouling coatings and cleaning agents, coupled with the implementation of automated and efficient cleaning protocols, will enhance the reliability and operational efficiency of membrane-based upgrading systems.
The integration of membrane technology with other upgrading processes, such as Pressure Swing Adsorption (PSA), chemical absorption, or cryogenic separation, represents a promising avenue for improving overall system performance. Hybrid systems that combine membranes with complementary technologies could potentially achieve higher methane recovery rates and reduced energy consumption. Future research will likely focus on optimizing these hybrid approaches, evaluating their economic feasibility, and tailoring configurations to suit various biogas feedstocks and applications. This integration will enable more flexible and efficient upgrading solutions, contributing to the broader adoption of membrane-based technologies.
Energy efficiency remains a critical consideration for the practical deployment of membrane-based biogas upgrading systems. The future will likely see advancements aimed at reducing the energy requirements associated with membrane processes. Innovations in system design, such as low-energy membrane processes and the integration of renewable energy sources, will play a crucial role in lowering operational costs. By enhancing energy efficiency, membrane-based upgrading systems can become more economically viable, making them an attractive option for large-scale biogas processing.
The scalability and industrial application of membrane-based technologies will also be a significant focus moving forward. Research will be directed toward overcoming challenges associated with scaling up from pilot to industrial-scale operations, including cost implications, module design, and system integration. Developing scalable, cost-effective membrane modules and optimizing their integration with existing infrastructure will be essential for realizing the practical application of these technologies on a larger scale.
Environmental sustainability will remain a central theme in the future development of membrane-based biogas upgrading systems. Comprehensive lifecycle assessments will be crucial for understanding the environmental impact of these technologies, including the production, operation, and disposal of membranes. Research aimed at minimizing the environmental footprint of membrane-based systems and promoting sustainable practices will support the broader adoption of these technologies and their contribution to renewable energy goals.
Innovative membrane designs and configurations will also drive future advancements in biogas upgrading. Research into novel membrane module designs that enhance separation efficiency, reduce space requirements, and offer greater operational flexibility will contribute to more effective and adaptable upgrading solutions. These innovations will address the diverse needs of various biogas applications and improve the overall practicality of membrane-based systems.
Economic feasibility will be a key factor influencing the future of membrane-based biogas upgrading. Detailed economic analyses, including capital and operational cost assessments, maintenance considerations, and potential revenue from upgraded biogas, will help determine the financial viability of these technologies. Understanding the economic implications and conducting thorough cost-benefit analyses will guide investment decisions and support the development of commercially viable membrane-based systems.
Lastly, addressing regulatory and standardization issues will be essential for the successful deployment of membrane-based biogas upgrading technologies. The establishment of industry standards and regulations will ensure the safety, performance, and quality of these systems across different applications and regions. Research into developing and harmonizing standards, as well as addressing regulatory requirements, will facilitate the adoption and acceptance of membrane-based upgrading technologies in the marketplace.
The future of membrane-based biogas upgrading holds significant promise as advancements in materials, fouling resistance, energy efficiency, and system integration continue to evolve. By addressing key research gaps and focusing on sustainability, scalability, and economic feasibility, membrane-based technologies are poised to play a crucial role in optimizing biogas processing and contributing to renewable energy goals. The ongoing development and refinement of these technologies will enhance their effectiveness, reduce operational costs, and support the broader adoption of biogas as a valuable renewable energy resource.

Author Contributions

Conceptualization, E.C.R.L.; writing—original draft preparation, G.A., K.A., M.K., Z.A.S. and E.C.R.L.; writing—review and editing, E.C.R.L.; supervision, E.C.R.L.; project administration, E.C.R.L. All authors have read and agreed to the published version of the manuscript.

Funding

This research received no external funding.

Institutional Review Board Statement

Not applicable.

Informed Consent Statement

Not applicable.

Data Availability Statement

No new data were created.

Conflicts of Interest

The authors declare no conflicts of interest.

References

  1. Baena-Moreno, F.M.; le Saché, E.; Pastor-Pérez, L.; Reina, T.R. Membrane-based technologies for biogas upgrading: A review. Environ. Chem. Lett. 2020, 18, 1649–1658. [Google Scholar] [CrossRef]
  2. Baena-Moreno, F.M.; le Saché, E.; Pastor-Pérez, L.; Reina, T.R. Biogas as a Renewable Energy Source: Focusing on Principles and Recent Advances of Membrane-Based Technologies for Biogas Upgrading. In Membranes for Environmental Applications. Environmental Chemistry for a Sustainable World; Springer: Cham, Switzerland, 2020; Volume 42, pp. 95–120. [Google Scholar] [CrossRef]
  3. Abanades, S.; Abbaspour, H.; Ahmadi, A.; Das, B.; Ehyaei, M.A.; Esmaeilion, F.; El Haj Assad, M.; Hajilounezhad, T.; Jamali, D.H.; Hmida, A.; et al. A critical review of biogas production and usage with legislations framework across the globe. Int. J. Environ. Sci. Technol. 2022, 19, 3377–3400. [Google Scholar] [CrossRef] [PubMed]
  4. Li, Y.; Alaimo, C.P.; Kim, M.; Kado, N.Y.; Peppers, J.; Xue, J.; Wan, C.; Green, P.G.; Zhang, R.; Jenkins, B.M.; et al. Composition and Toxicity of Biogas Produced from Different Feedstocks in California. Environ. Sci Technol. 2019, 53, 11569–11579. [Google Scholar] [CrossRef] [PubMed]
  5. Chen, X.Y.; Vinh-Thang, H.; Ramirez, A.A.; Rodrigue, D.; Kaliaguine, S. Membrane gas separation technologies for biogas upgrading. RSC Adv. 2015, 5, 24399–24448. [Google Scholar] [CrossRef]
  6. Gupta, P.; Kurien, C.; Mittal, M. Biogas (a promising bioenergy source): A critical review on the potential of biogas as a sustainable energy source for gaseous fuelled spark ignition engines. Int. J. Hydrogen Energy 2023, 48, 7747–7769. [Google Scholar] [CrossRef]
  7. Qian, Y.; Sun, S.; Ju, D.; Shan, X.; Lu, X. Review of the state-of-the-art of biogas combustion mechanisms and applications in internal combustion engines. Renew. Sustain. Energy Rev. 2017, 69, 50–58. [Google Scholar] [CrossRef]
  8. Abdeen, F.R.H.; Mel, M.; Jami, M.S.; Ihsan, S.I.; Ismail, A.F. A review of chemical absorption of carbon dioxide for biogas upgrading. Chin. J. Chem. Eng. 2016, 24, 693–702. [Google Scholar] [CrossRef]
  9. Awe, O.W.; Zhao, Y.; Nzihou, A.; Minh, D.P.; Lyczko, N. A Review of Biogas Utilisation, Purification and Upgrading Technologies. Waste Biomass Valorization 2017, 8, 267–283. [Google Scholar] [CrossRef]
  10. Abd, A.A.; Othman, M.R.; Naji, S.Z.; Hashim, A.S. Methane enrichment in biogas mixture using pressure swing adsorption: Process fundamental and design parameters. Mater. Today Sustain. 2021, 11–12, 100063. [Google Scholar] [CrossRef]
  11. Ghasemian, M.; Rahimpour, E. Application of computational fluid dynamics technique in dialysis processes. In Current Trends and Future Developments on (Bio-) Membranes: Techniques of Computational Fluid Dynamic (CFD) for Development of Membrane Technology; Elsevier Inc.: Amsterdam, The Netherlands, 2021; pp. 209–245. [Google Scholar] [CrossRef]
  12. Saleh, T.A.; Gupta, V.K. Nanomaterial and Polymer Membranes: Synthesis, Characterization, and Applications. Nanomaterial and Polymer Membranes: Synthesis, Characterization, and Applications; Elsevier Inc.: Amsterdam, The Netherlands, 2016; pp. 1–272. [Google Scholar] [CrossRef]
  13. Ahmed, S.F.; Mofijur, M.; Tarannum, K.; Chowdhury, A.T.; Rafa, N.; Nuzhat, S.; Kumar, P.S.; Vo, D.V.N.; Lichtfouse, E.; Mahlia, T.M.I. Biogas upgrading, economy and utilization: A review. Environ. Chem. Lett. 2021, 19, 4137–4164. [Google Scholar] [CrossRef]
  14. Gkotsis, P.; Kougias, P.; Mitrakas, M.; Zouboulis, A. Biogas upgrading technologies—Recent advances in membrane-based processes. Int. J. Hydrogen Energy 2023, 48, 3965–3993. [Google Scholar] [CrossRef]
  15. Chmielewski, A.G.; Urbaniak, A.; Palige, J.; Roubinek, O.; Wawryniuk, K.; Dobrowolski, A. Membrane installation for biogas enrichment-Field tests and system simulation. Chem. Process Eng. 2019, 40, 235–260. [Google Scholar] [CrossRef]
Figure 2. Pressure Swing Adsorption. Reprinted with permission from [10]. Copyright Elsevier.
Figure 2. Pressure Swing Adsorption. Reprinted with permission from [10]. Copyright Elsevier.
Engproc 67 00057 g002
Figure 3. Cryogenic separation process diagram. Reprinted with permission from [10]. Copyright Elsevier.
Figure 3. Cryogenic separation process diagram. Reprinted with permission from [10]. Copyright Elsevier.
Engproc 67 00057 g003
Figure 4. Membrane separation process for biogas upgrading. Reprinted with permission from [10]. Copyright Elsevier.
Figure 4. Membrane separation process for biogas upgrading. Reprinted with permission from [10]. Copyright Elsevier.
Engproc 67 00057 g004
Figure 5. Single-stage membrane-based biogas upgrading process. Process (a) the permeate flows to the ambient. Process (b) the permeate is partially recycled to enhance the CH4 recovery. Reprinted with permission from [5]. Copyright The Royal Society of Chemistry.
Figure 5. Single-stage membrane-based biogas upgrading process. Process (a) the permeate flows to the ambient. Process (b) the permeate is partially recycled to enhance the CH4 recovery. Reprinted with permission from [5]. Copyright The Royal Society of Chemistry.
Engproc 67 00057 g005
Figure 6. Two-stage gas permeation process for biogas upgrading. Process (a) only needs one compressor and recycles the permeate of the second step. Process (b) needs two compressors and recycles the retentate of the second step. In Process (c), two compressors are needed, and the retentate of the second step is mixed with the one coming from the first step. In process (d), the feed gas is used as a sweep gas on the permeate side of the second module. Reprinted with permission from [5]. Copyright The Royal Society of Chemistry.
Figure 6. Two-stage gas permeation process for biogas upgrading. Process (a) only needs one compressor and recycles the permeate of the second step. Process (b) needs two compressors and recycles the retentate of the second step. In Process (c), two compressors are needed, and the retentate of the second step is mixed with the one coming from the first step. In process (d), the feed gas is used as a sweep gas on the permeate side of the second module. Reprinted with permission from [5]. Copyright The Royal Society of Chemistry.
Engproc 67 00057 g006
Figure 7. Three-stage gas permeation process for biogas upgrading. Reprinted with permission from [5]. Copyright The Royal Society of Chemistry.
Figure 7. Three-stage gas permeation process for biogas upgrading. Reprinted with permission from [5]. Copyright The Royal Society of Chemistry.
Engproc 67 00057 g007
Table 1. Characteristics of biogas technologies.
Table 1. Characteristics of biogas technologies.
Upgrading TechnologyDescriptionMain AdvantagesMain Disadvantages
Pressure Swing AdsorptionA gas separation technology that leverages differences in adsorption properties of gases on solid surfaces. The process is based on the principle that gases can be selectively adsorbed at high pressures and desorbed at lower pressures.PSA operates under relatively low temperatures, typically near ambient, making it less energy-intensive than thermal processesWhen dealing with complex mixtures containing many gases with similar adsorption properties, the efficiency and purity of the target gas may be reduced.
ScrubbingInvolves the absorption or chemical reaction of gaseous pollutants with the scrubbing liquid, typically water or a solution containing chemical reagents.The efficiency of the scrubbing process can be optimized by controlling factors like gas-liquid contact time, liquid-to-gas ratio, and the composition of the scrubbing solution.The liquid used in scrubbing becomes contaminated with pollutants and must be treated or disposed of properly, generating significant volumes of wastewater that can be costly to manage.
Membrane SeparationUses selective permeability of membranes to allow certain gases to pass through while retaining others, resulting in a concentrated stream of methane.Membrane upgrading generally has lower maintenance costs since it involves fewer moving parts and no chemical reagents or solvents are needed.Over time, membranes can degrade due to exposure to contaminants in raw biogas, such as H2S and water vapor. This degradation reduces the efficiency of gas separation and requires periodic membrane replacement.
Cryogenic SeparationLeverages extremely low temperatures to separate the components of biogas, particularly methane (CH4) and carbon dioxide (CO2), based on their differing condensation and freezing points. By cooling the biogas to cryogenic temperatures (typically below −100 °C), carbon dioxide condenses or freezes, allowing methane to be purified and separated.Cryogenic separation is capable of producing very high methane purity (up to 99% or more) without the need for multiple separation stages, making it ideal for applications that require high-quality biomethane.Cryogenic processes require significant energy input to cool the biogas to extremely low temperatures. This high energy demand, often supplied by electricity or other external energy sources, can increase operational costs significantly.
Disclaimer/Publisher’s Note: The statements, opinions and data contained in all publications are solely those of the individual author(s) and contributor(s) and not of MDPI and/or the editor(s). MDPI and/or the editor(s) disclaim responsibility for any injury to people or property resulting from any ideas, methods, instructions or products referred to in the content.

Share and Cite

MDPI and ACS Style

Aguilloso, G.; Arpia, K.; Khan, M.; Sapico, Z.A.; Lopez, E.C.R. Recent Advances in Membrane Technologies for Biogas Upgrading. Eng. Proc. 2024, 67, 57. https://doi.org/10.3390/engproc2024067057

AMA Style

Aguilloso G, Arpia K, Khan M, Sapico ZA, Lopez ECR. Recent Advances in Membrane Technologies for Biogas Upgrading. Engineering Proceedings. 2024; 67(1):57. https://doi.org/10.3390/engproc2024067057

Chicago/Turabian Style

Aguilloso, Gabriella, Kimberly Arpia, Morzina Khan, Zachary Alijah Sapico, and Edgar Clyde Repato Lopez. 2024. "Recent Advances in Membrane Technologies for Biogas Upgrading" Engineering Proceedings 67, no. 1: 57. https://doi.org/10.3390/engproc2024067057

APA Style

Aguilloso, G., Arpia, K., Khan, M., Sapico, Z. A., & Lopez, E. C. R. (2024). Recent Advances in Membrane Technologies for Biogas Upgrading. Engineering Proceedings, 67(1), 57. https://doi.org/10.3390/engproc2024067057

Article Metrics

Back to TopTop