Next Article in Journal
Antimicrobial Aluminum Surfaces for Curbing Healthcare-Associated Infections—A Short Review
Previous Article in Journal
Experimental Investigation of the Effect of Different Static Mechanical Properties and Inclined Welding on the Fatigue Strength of Welded Aluminum Details
 
 
Font Type:
Arial Georgia Verdana
Font Size:
Aa Aa Aa
Line Spacing:
Column Width:
Background:
Proceeding Paper

Friction Stir Welding Parameters Development of AA6061-T6 Extruded Alloy Using a Bobbin Tool †

by
Kenza Marianne Sipereh Tinguery
1,2,*,
Ahmed Rahem
1,2,
François Nadeau
3 and
Mario Fafard
2,4,5
1
Département des Sciences Appliquées, Université du Québec à Chicoutimi, Saguenay, QC G7H 2B1, Canada
2
Aluminium Research Centre—REGAL, Québec, QC G1V 0A6, Canada
3
Aluminium Technology Centre, National Research Council of Canada; Saguenay, QC G7H 8C3, Canada
4
AluQuebec, Montréal, QC H3A 1K2, Canada
5
Department of Civil and Water Engineering, Laval University, Québec, QC G1V 0A6, Canada
*
Author to whom correspondence should be addressed.
Presented at the 15th International Aluminium Conference, Québec, QC, Canada, 11–13 October 2023.
Eng. Proc. 2023, 43(1), 50; https://doi.org/10.3390/engproc2023043050
Published: 9 October 2023
(This article belongs to the Proceedings of The 15th International Aluminium Conference)

Abstract

:
Bobbin tool friction stir welding (BT-FSW), or self-reacting tool friction stir welding (SR-FSW), refers to a solid-state welding process which that uses two opposing rotating shoulders (top and lower of the workpiece) connected with a fully penetrated pin. In fact, the bottom shoulder in the BT-FSW design replaced the backing plate used in the conventional tool friction stir welding (CT-FSW) to promote symmetrical solid-state joints. Compared to CT-FSW, the BT-FSW process has many advantages over the use of a conventional tool such as the welded structure is symmetric in thickness, low distortion of weld joint can be obtained, the elimination of root for welds, a backing plate is not required, and high force is not required for fixing the weld plates and possibility welding a closed or a hollow section (U and H shapes). The welding parameters of BT-FSW, such as tool pin profile, rotational speed, welding speed, and axial force, have a considerable effect on the microstructure and the mechanical properties of the resulting assembly. In the current study, two extrusions of aluminum alloy 6061-T6 with 8 mm were joined by the BT-FSW technique with a tool pin with threads and eight different welding parameters (tool rotation speed and welding speed). The maximum value of tensile strength was achieved using optimum welding conditions of a tool rotation speed of 850 rpm/min and a welding speed of 650 mm/min. The study also investigated the joint efficiency of the friction stir welded joint, defects at the weld zone, and fatigue life of BT-FSW samples at the optimized level.

1. Introduction

Friction stir welding (FSW) is an effective solid-state welding process that uses frictional heat generated by a rotating tool to join materials. FSW is mainly used in industry to join aluminum alloys of all grades. Several studies focus on so-called standard or conventional tool friction stir welding (CT-FSW) using a combination of single-sided tools with a backing anvil under the workpiece or by providing an integrated backing in the extruded hollow section (U and H shapes). Another FSW variant, namely called bobbin or self-reacting tool (BT-FSW), was developed, which significantly reduces the applied downward force used for fixing the weld plates in butt joints configuration during FSW. In the BT-FSW, instead of using a backing plate to support the parts to be welded, another shoulder on the bottom side allows for self-supporting [1]. Figure 1 illustrates the fixture setup configuration to join two facing workpieces, the rotational and tangential motion of the tool, and the advanced (ADV) and retracting (RE) sides.
Bobbin tool design promotes symmetric heat generation during material processing and produces high-quality welds with superior mechanical properties. The additional shoulder on the bottom side instead of the fixed backing plate allows for self-supporting, which reduces the complexity of the welding fixtures and helps to eliminate the root defects that may occur in the conventional friction stir welded joints by enhancing the thermo-mechanical cycle. As in CT-FSW, BT-FSW has some defects, such as flash, void, or tunnel lack of penetration, which influences the mechanical and metallurgical properties. The microstructure of the BT-FSW butt joint is represented by four different zones, which are shown in Figure 2: the base material, which is not affected; the thermo-mechanical affected zone (TMAZ) is the area where there is partial dynamic recrystallization and elongation of grains due to insufficient heating during the process, the heat affected zone (HAZ) is that area of metal that has not been melted and has undergone changes in properties as a result of being exposed to relatively high temperatures during welding and central weld nugget region is that shear zone material adjacent to the pin containing the onion-ring flow-pattern and the most severely deformed region.
Not easily avoidable, the HAZ stays problematic in FSW butt welding. It is the weakest region, meaning of low hardness, of the joint because this zone experiences a high-temperature increase without the material flow resulting from the stirring of the pin tool in the workpiece material. The objective of this study is to optimize the BT-FSW parameters (transverse and rotation speed) toward high travel speeds of 8.0 mm thick AA6061-T6 extrusions that highlight the quality of welds by non-destructive immersed bath ultrasound inspection, bending, tensile, and fatigue tests. The results showed an increase in tensile strength and a fatigue performance improvement in butt joint configuration in comparison with other welding processes. This paper will discuss the methodology of qualifying the welding and how to choose nominal parameters that are compliant with the applicable standards and codes.

2. Material and Methods

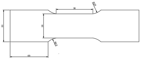
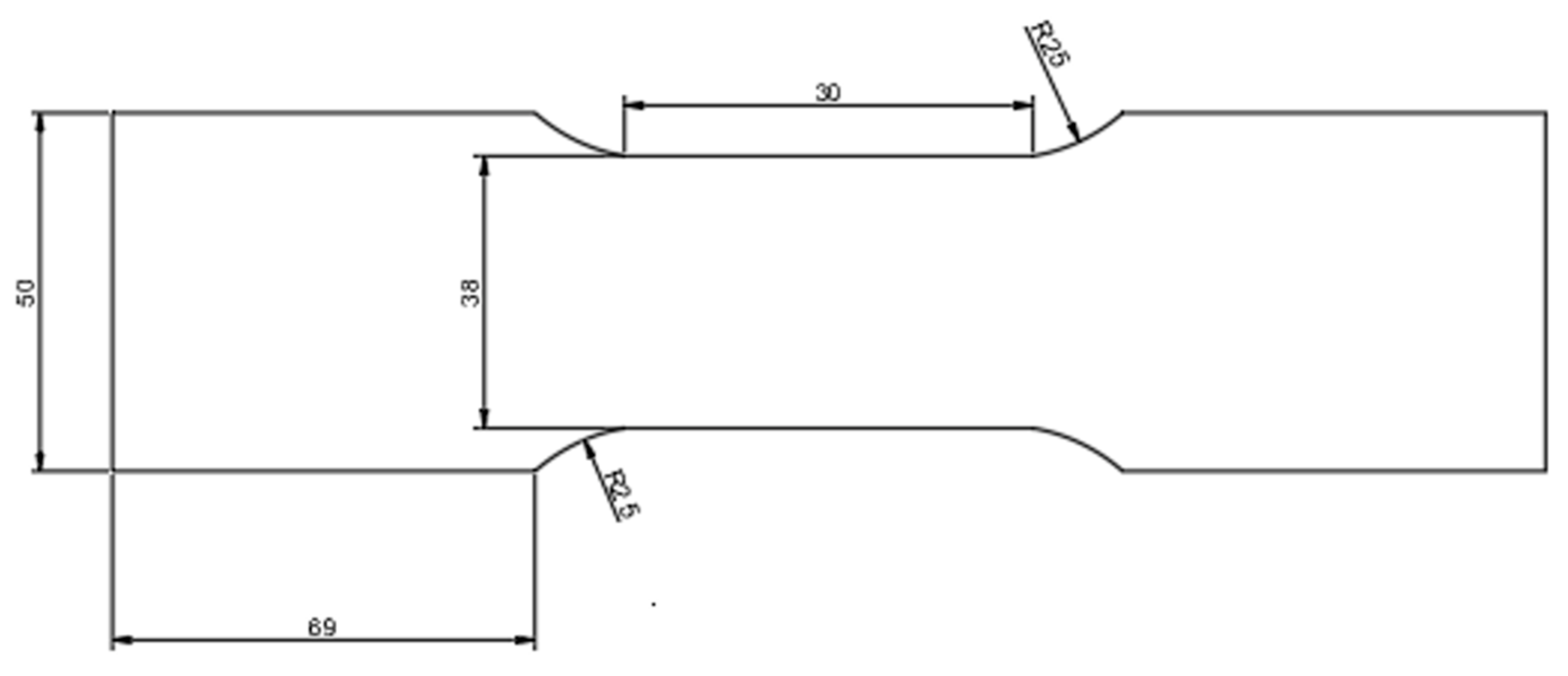
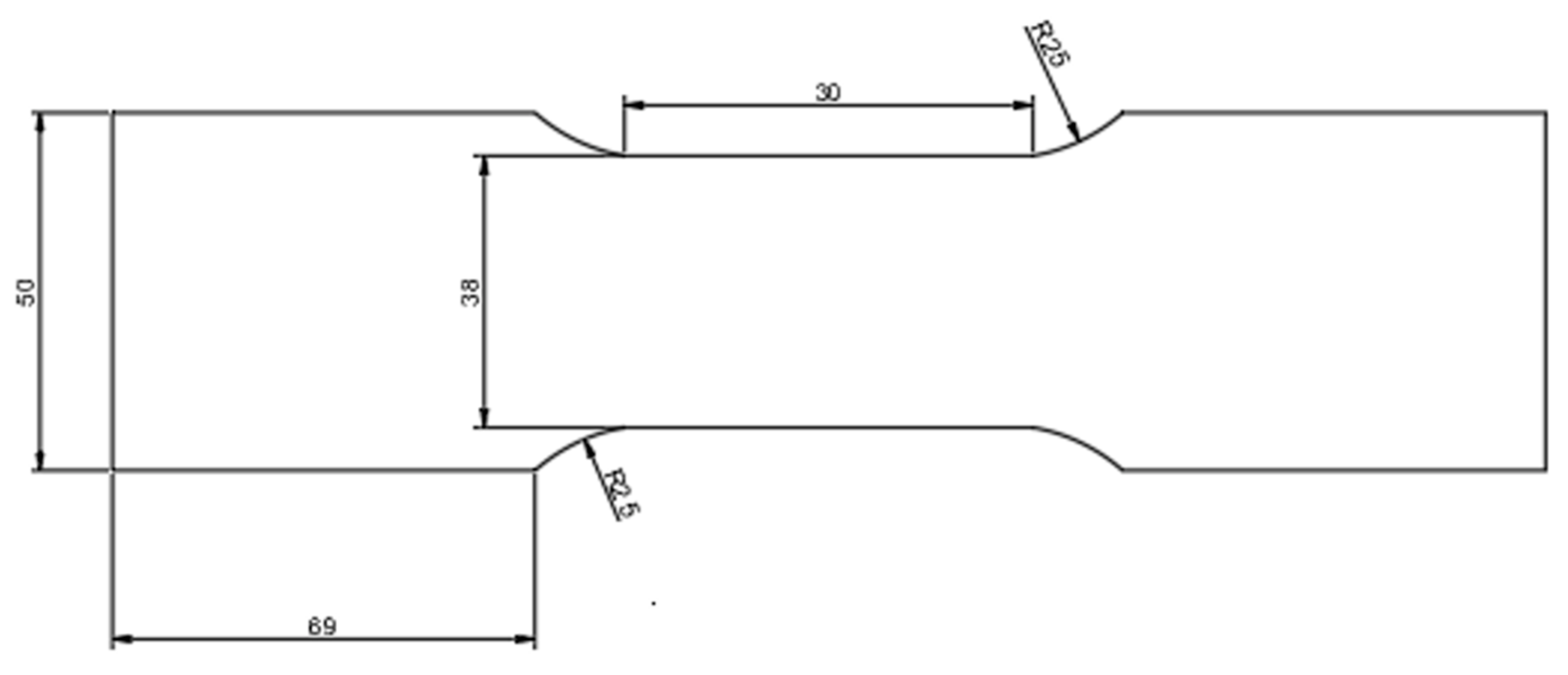
BT-FSW was conducted at the CSFM-UQAC University on extrusions of 8.0 mm thick aluminum alloy AA6061-T6 using a four-axis gantry style FSW machine. The machine has a work envelope of 18 m long × 3.5 m wide × 1 m high and can run linear and circumferential welds on specimens of all aluminum alloys in thickness up to 15 mm and beyond. In this study, 8 experiments were performed using a bobbin tool that can weld up to 12 mm thick aluminum sheets. The pin used is a threaded conical pin with a pin diameter of 8 mm and a shoulder diameter of 25 mm. A view of the tool geometry used for welding is presented in Figure 3. The investigated combinations of rotation speed/traverse speed are depicted in Table 1. In addition, the samples from base material and welded joints for static and fatigue tests, with geometry shown in Figure 4 and Figure 5, were prepared according to ASTM E8-04 and ASTM E466 standards. Figure 4 is a representation of the samples used for the fatigue test and Figure 5 is a representation of the sample used for the tensile test.
The different combinations of rotation and traverse speed were selected based on the literature (Table 2). There are not many studies investigating the optimal parameters for a thickness of 8 mm using a bobbin tool. The joint quality in bobbin tool friction stir welding depends on the selection of process parameters [3]. The main consideration is to select the best parameters to produce defect-free joints, which depend on the material thickness, the joint configuration, and the aluminum alloy.
The friction stir welded specimens were cut from two butt-welded extrusions, as shown in Figure 6. Each extrusion is an AA6061-T6 aluminum H-shaped profile with dimensions 101 mm × 101 mm × 8 mm. Before welding; the surfaces were cleaned with ethanol to remove the oil before clamping the extrusion to the welding table. In addition, the linear mismatch was measured to investigate its impact on welding quality, as the received extrusions showed some degree of distortion. After welding, a visual inspection and a non-destructive immersed bath ultrasonic evaluation using a 2D automated Tecscan system equipped with a 10 MHz focalized probe were realized to identify surface or internal defects. The specimens were then cut in the transverse welding direction to perform the qualifying tests. The tensile tests were performed to compare the base material and weld mechanical properties (yield and ultimate stresses, elongation at fracture). Three-point bend tests using a 50 mm diameter punch were also used to validate if a root defect was visible. After passing qualifying tests, the fatigue tests were performed with the optimum FSW parameters using an INSTRON 8801 servo-hydraulic machine by applying a harmonic load with constant amplitude and a frequency of 30 Hz at various nominal stress ranges from 100 MPa to 145 MPa and a targeted number of cycles from 500,000 to 25 million cycles using a stress ratio (R) of 0.1. The fatigue test parameters are shown in Table 3.

3. Results and Discussions

3.1. Visual Inspection

In order to reveal the presence of surface and/or volume defects, such as macro crack, mismatch, or excessive flash, the welded joints were first subjected to visual examination. Table 4 shows the appearance of the weld surface after BT-FSW and the associated mismatch. It is possible to observe flash defects in weld 1, 2, and 7 resulting from the linear mismatch and the high heat input. High heat input at low-welding speed produces a material flow out of the joint area as the tool begins to move, which is known as entry loss or in the form of flash [3]. This defect can be minimized by increasing the linear travel speed and reducing the rotational speed. Hence, optimum process parameters are essential to generate sufficient frictional heat to plasticize the material.

3.2. Bending Tests and Immersed Bath Non-Destructive Ultrasonic Tests

The bend test is a test that highlights surface cracks or discontinuities, mainly at the root side, and the ultrasonic inspection provides insight into internal defects. In our case, internal defects were detected in the welds 4, 5, and 7. Figure 7 is a representation of ultrasonic inspection results on weld 4 and Figure 8 is the bending test result on weld 4.
In Figure 7, there are three parts, A-scan, B-scan, C-scan. A-scan is a graphical representation of amplitude of the ultrasound wave versus time, B-scan is a visual representation of A-scan, C-scan is a longitudinal representation of the weld where it is possible to see the weld edges and the internal detection. The interpretation of the C-scan is that the change in color uniformity between the edges of the weld indicates that there is a possible internal defect.
For these welds, either a high travel speed or mismatch value is observed, which causes internal defects. According to the ISO 25239 standard, for class B (the most severe class), the value of the acceptable linear mismatch is 0.8 mm. For the welds 4 and 7, the value of the linear mismatch is under the acceptance level. It was noticed that for the high-speed welding parameters (800 mm/min), the welding machine started to vibrate, which indicates that the maximum acceptable travel speed using our tooling configuration was reached. The results of bending test and ultrasonic inspection are summarized in Table 5.

3.3. Tensile Test

The mechanical properties of the base material and of the BT-FSW samples obtained are shown in Table 6 and Table 7, respectively. The tensile test was performed with the MTS machine (100 KN) with a speed of 1.5 mm/min.
The yield strength was measured using the offset method at 0.2% in accordance with the ASTM E8. It is observed that welds 3, 6, and 8 give the best joint efficiency, which is a gain of 14% compared to the minimum value in ISO 25239-20, which is 60% [9].
The fracture was located near the welding zone between the thermo-mechanically affected zone (TMAZ) and the heat-affected zone (HAZ) in Figure 9.
Table 7 summarizes the tensile tests results of welded samples.
There is not a significant difference between the values of ultimate strength and yield strength. The study of Rouis, M. [8] on the behavior of bobbin tool friction stir welding butt joint got 183.7 MPa for the ultimate strength with 300 rpm–100 mm/min. Hence, increasing the welding speed, allowing an increase in the cooling rate, favors higher mechanical properties.

3.4. Fatigue Results

The fatigue test was carried out based on the ASTM E466 standard using the optimal process parameters in the weld at 850 rpm and 650 mm/min. In this test, the fatigue resistance of metallic materials is obtained in a fatigue regime where the deformations are elastic both during the initial loading and throughout the test. Figure 10 presents the S-N curve, where thirteen specimens were tested at stress values between 100 MPa and 145 MPa.
Several causes may affect the fatigue performance of FSW joints, such as the minimum hardness values in the HAZ or geometrical defects (e.g., underfill, flash). Fatigue failure usually occurs due to geometric defects such as linear mismatch or flatness defects of the sample, which creates bending stresses during fatigue tests and propagates the fatigue-initiated crack. In our case, for 80% of the sample, the fatigue failure occurred at the weakest zone of the welded joint, which is at almost the same position as tensile failures, meaning between TMAZ and HAZ (Figure 11). The study of Gariepy et al. about the investigation on the fatigue fracture for friction stir welding joints concluded that the cracks were found to initiate in the thermos-mechanically affected zone because the complex microstructural state in this region could contribute to the joint performance [10].
The failure facies illustrated in Figure 12 shows that the cracks started in the surface zone and propagated inside. Generally, the fatigue crack starts at the surface of the weld because FSW welds with optimized parameters do not contain internal defects [11]. Moreover, the initiation site is mainly located between the TMAZ and the HAZ, which are affected by temperature and plastic deformation [11].
The other 20% of samples failed in the nugget zone, as in Figure 13.
It is noticed that there is not an apparent link between the applied stress and the location of the failure in the fatigue test. Every BT-FSW fatigue specimen (13 in total) sustains over 100 MPa in fatigue life, up to 30,000,000 cycles. This fatigue-life is generally higher when compared to other studies using conventional FSW on AA6061-T6 aluminum alloys, where high cycles fatigue values between 70–80 MPa are reported [12,13].

4. Conclusions

This work studies the optimization of the bobbin tool butt joint in terms of the productivity of AA6061-T6 extruded aluminum alloy and its impact on the static and fatigue mechanical properties. This allows us to highlight:
  • The optimal parameters were 850 rpm rotation speed and 650 mm/min welding speed, which gave the best welding quality without internal defects;
  • The weld joint efficiency peaked at 74%, which represents an increase of 14% compared to the minimum value (60%) from the ISO 25239 standard;
  • All the welded samples failed in the HAZ during the tensile tests;
  • The fatigue properties of BT-FSW joints, in comparison to the CSA S6 (Category B) standard, are much higher, reaching approximately 125 MPa at 2,000,000 cycles;
  • Fatigue samples failed on the TMAZ/HAZ and in the nugget zone: the crack initiated in the surface and propagated inside.
As the fatigue life data for bobbin tool FSW butt joint in the literature is limited, this study provides initial values using a production-based FSW system that could eventually serve as guidelines toward FSW implementation in civil engineering design codes.

Author Contributions

Conceptualization, K.M.S.T., A.R., F.N. and M.F.; methodology K.M.S.T., A.R. and F.N.; software K.M.S.T.; validation, K.M.S.T., A.R., F.N. and M.F.; formal analysis, K.M.S.T.; investigation, K.M.S.T.; resources, K.M.S.T., A.R., F.N. and M.F.; data curation, K.M.S.T.; writing—original draft preparation, K.M.S.T.; writing—review and editing, K.M.S.T., A.R., F.N. and M.F.; visualization, K.M.S.T.; supervision, A.R. and M.F.; project administration, A.R. and M.F; funding acquisition, A.R., F.N. and M.F. All authors have read and agreed to the published version of the manuscript.

Funding

This research was funded by MITACS and AluQuébec. Grant number IT35750.

Institutional Review Board Statement

Not applicable.

Informed Consent Statement

Not applicable.

Data Availability Statement

The data presented in this study are available on request from the corresponding author. The data are not publicly available due to due to the fact that it is university data.

Acknowledgments

The thanks are addressed to Aluminium Research Centre-REGAL (Université Laval and University of Quebec in Chicoutimi) and The National Research Council of Canada (NRC).

Conflicts of Interest

The authors declare no conflict of interest.

References

  1. Liu, Z.; Guan, W.; Li, H.; Wang, D.; Cui, L. Study on the relationship between welding force and defects in bobbin tool friction stir welding. J. Manuf. Process. 2022, 84, 1122–1132. [Google Scholar] [CrossRef]
  2. Trueba, L., Jr.; Torres, M.A.; Johannes, L.B.; Rybicki, D. Process optimization in the self-reacting stir welding of aluminum 6061-T6. Int. J. Mater. Form. 2018, 11, 559–570. [Google Scholar] [CrossRef]
  3. Fuse, K.; Badheka, V. Bobbin tool friction stir welding: A review. Sci. Technolologie Weld. Join. 2019, 24, 277–304. [Google Scholar] [CrossRef]
  4. Elangovan, K.; Balasubramanian, V. Influence of post-weld heat treatment on tensile properties of friction stir-welded AA6061 aluminum alloy joints. Mater. Charact. 2008, 59, 1168–1177. [Google Scholar] [CrossRef]
  5. Liu, H.; Fujii, H.; Maeda, M.; Nogi, K. Tensile properties and fracture locations of friction stir welded joints of 6061-T6 aluminum. J. Mater. Sci. Lett. 2003, 22, 1061–1063. [Google Scholar] [CrossRef]
  6. Esmaily, M.; Mortazavi, N.; Osikowicz, W.; Hindsefelt, H.; Svensson, J.E.; Halvarsson, M.; Martin, J.; Johansson, L.G. Bobbin and conventional friction stir welding of the thick extruded AA6005-T6 profiles. Mater. Des. 2016, 108, 114–125. [Google Scholar] [CrossRef]
  7. Chen, S.; Li, H.; Lu, S.; Ni, R.; Dong, J. Temperature measurement and control of bobbin tool friction stir welding. Int. J. Adv. Manuf. Technol. 2016, 86, 337–346. [Google Scholar] [CrossRef]
  8. Rouis, M. Mechanical Behavior in Friction Stir Butt Welding with Bobbin Tool of 6061-T6 Aluminum Extrusions. Master’s Thesis, University of Quebec at Chicoutimi, Saguenay, QC, Canada, 2021. [Google Scholar]
  9. ISO-25239:2020; Aluminum Friction Stir Welding. International Organization for Standardization: Geneva, Swiss, 2020.
  10. Gariépy, A.; Gambou-Bosca, A.; Grégoire, H.; Nadeau, F. Investigation on the fatigue fracture characteristics between friction-stir welded aluminum overlap joints with different alloys and tools. In Proceedings of the 12th International Symposium on FSW, Chicoutmi, QC, Canada, 26–28 June 2018. [Google Scholar]
  11. Li, H.; Gao, J.; Li, Q. Fatigue of friction stir welded aluminum alloy joints: A review. Appl. Sci. 2018, 8, 2626. [Google Scholar] [CrossRef]
  12. He, C.; Liu, Y.; Dong, J.; Wang, Q.; Wagner, D.; Bathias, C. Through thickness property variations in friction stir welded AA6061 joint fatigued in very high cycle fatigue regime. Int. J. Fatigue 2016, 82, 379–386. [Google Scholar] [CrossRef]
  13. Jain, N.; Kumar, R. Fatigue analysis of the friction stir welded AA6061-T6 aluminum alloy. Mater. Res. Express 2020, 8, 016501. [Google Scholar] [CrossRef]
Figure 1. Self-reacting or bobbin tool configuration [2].
Figure 1. Self-reacting or bobbin tool configuration [2].
Engproc 43 00050 g001
Figure 2. Welded zones of bobbin tool friction stir welding [2].
Figure 2. Welded zones of bobbin tool friction stir welding [2].
Engproc 43 00050 g002
Figure 3. Bobbin tool (Kenza, 2022).
Figure 3. Bobbin tool (Kenza, 2022).
Engproc 43 00050 g003
Figure 4. Dimensions of specimens for fatigue test.
Figure 4. Dimensions of specimens for fatigue test.
Engproc 43 00050 g004
Figure 5. Dimensions of specimens for tensile test.
Figure 5. Dimensions of specimens for tensile test.
Engproc 43 00050 g005
Figure 6. Butt weld extrusions.
Figure 6. Butt weld extrusions.
Engproc 43 00050 g006
Figure 7. Ultrasonic inspection results on weld 4.
Figure 7. Ultrasonic inspection results on weld 4.
Engproc 43 00050 g007
Figure 8. Bending test results on weld 4.
Figure 8. Bending test results on weld 4.
Engproc 43 00050 g008
Figure 9. Tensile fracture locations of AA6061-T6 FSW welds.
Figure 9. Tensile fracture locations of AA6061-T6 FSW welds.
Engproc 43 00050 g009
Figure 10. BT-FSW fatigue S-Ncurve compared to the CSA S6 standard curve (the dotted line is the line obtained by linear regression of the fatigue curve).
Figure 10. BT-FSW fatigue S-Ncurve compared to the CSA S6 standard curve (the dotted line is the line obtained by linear regression of the fatigue curve).
Engproc 43 00050 g010
Figure 11. Fatigue fracture located in the TMAZ/HAZ of AA6061-T6 BT-FSW weld.
Figure 11. Fatigue fracture located in the TMAZ/HAZ of AA6061-T6 BT-FSW weld.
Engproc 43 00050 g011
Figure 12. Failure facies of AA6061-T6 BT-FSW weld.
Figure 12. Failure facies of AA6061-T6 BT-FSW weld.
Engproc 43 00050 g012
Figure 13. Fatigue fracture located in the nugget zone of AA6061-T6 BT-FSW weld.
Figure 13. Fatigue fracture located in the nugget zone of AA6061-T6 BT-FSW weld.
Engproc 43 00050 g013
Table 1. Experimental welding parameters.
Table 1. Experimental welding parameters.
WeldRotational Speed (rpm)Traverse Speed (mm/min)
1400400
2500500
3600600
4800800
5800800
6850650
7850650
8500500
Table 2. Friction stir weld parameters in the literature.
Table 2. Friction stir weld parameters in the literature.
AuthorsAlloyThickness (mm)Rotational Speed (rpm/min)Traverse Speed (mm/min)
Elangovan and Balasubramanian [4]6061-T66120070
Trueba et al. [2]6061-T68450508
Liu et al. [5]6061-T651500800
Esmaily et al. [6]AA600510500–900500–1200
Chen S et al. [7]6061-T68350–70010–170
Mohammed S [8]6061-T68300–600100–200
Zhe Liu et al. [1]6061-T68200–60060–500
Table 3. Fatigue test parameters.
Table 3. Fatigue test parameters.
Maximum Stress (MPa)Force Max
(KN)
Force Min
(KN)
Stress Amplitude (MPa)
10011.21.145.0
11012.31.249.5
11012.31.249.5
11512.91.351.8
11512.91.351.8
12013.41.354.0
12013.41.354.0
12514.01.456.3
13014.61.558.5
13515.11.560.8
14015.71.663.0
14015.71.663.0
14516.21.665.3
Table 4. Visual appearance.
Table 4. Visual appearance.
Weld12345678
Weld parameters (rpm-mm/min)400–400500–500600–600800–800800–800850–650850–650500–500
Linear mismatch (mm)0.40.70.51.40.50.51.250.5
Visual appearanceEngproc 43 00050 i001Engproc 43 00050 i002Engproc 43 00050 i003Engproc 43 00050 i004Engproc 43 00050 i005Engproc 43 00050 i006Engproc 43 00050 i007Engproc 43 00050 i008
Table 5. Bending and ultrasonic test results resume.
Table 5. Bending and ultrasonic test results resume.
WeldBending Test ResultsUltrasonic Inspection ResultsLinear Mismatch (mm)
1No defectsNo defects0.4
2No defectsNo defects0.7
3No defectsNo defects0.5
4Root crackInternal indication1.4
5No defectsInternal indication0.5
6No defectsNo defects0.5
7No defectsInternal indication1.25
8No defectsNo defects0.5
Table 6. Mechanical properties of the AA6061-T6 extruded base material.
Table 6. Mechanical properties of the AA6061-T6 extruded base material.
Yield Strength (MPa)Ultimate Limit (MPa)Young Modulus (MPa)Elongation at Fracture (%)
28029470,34518
Table 7. Result of tensile tests.
Table 7. Result of tensile tests.
Weld Parameters
(Rpm-mm/min)
Average Yield
Strength (MPa)
Average Ultimate Limit (MPa)Joint Efficiency (%)Elongation (%)
1400–4001212057014
2500–5001242067011
3600–6001382197413
4800–8001302067011
5800–8001282137211
6850–6501362177411
7850–6501242087113
8500–5001242177413
Disclaimer/Publisher’s Note: The statements, opinions and data contained in all publications are solely those of the individual author(s) and contributor(s) and not of MDPI and/or the editor(s). MDPI and/or the editor(s) disclaim responsibility for any injury to people or property resulting from any ideas, methods, instructions or products referred to in the content.

Share and Cite

MDPI and ACS Style

Tinguery, K.M.S.; Rahem, A.; Nadeau, F.; Fafard, M. Friction Stir Welding Parameters Development of AA6061-T6 Extruded Alloy Using a Bobbin Tool. Eng. Proc. 2023, 43, 50. https://doi.org/10.3390/engproc2023043050

AMA Style

Tinguery KMS, Rahem A, Nadeau F, Fafard M. Friction Stir Welding Parameters Development of AA6061-T6 Extruded Alloy Using a Bobbin Tool. Engineering Proceedings. 2023; 43(1):50. https://doi.org/10.3390/engproc2023043050

Chicago/Turabian Style

Tinguery, Kenza Marianne Sipereh, Ahmed Rahem, François Nadeau, and Mario Fafard. 2023. "Friction Stir Welding Parameters Development of AA6061-T6 Extruded Alloy Using a Bobbin Tool" Engineering Proceedings 43, no. 1: 50. https://doi.org/10.3390/engproc2023043050

APA Style

Tinguery, K. M. S., Rahem, A., Nadeau, F., & Fafard, M. (2023). Friction Stir Welding Parameters Development of AA6061-T6 Extruded Alloy Using a Bobbin Tool. Engineering Proceedings, 43(1), 50. https://doi.org/10.3390/engproc2023043050

Article Metrics

Back to TopTop