Advances in Type IV Tanks for Safe Hydrogen Storage: Materials, Technologies and Challenges
Abstract
1. Introduction
Work Contribution
2. Hydrogen Storage Methodologies
2.1. Gaseous Hydrogen Storage
2.2. Liquid Hydrogen Storage
2.3. Solid Hydrogen Storage
3. Tank Typologies for the Gas Hydrogen Storage Based on Compression
3.1. Type I: Full Metal Tanks
3.2. Type II: Tanks with Metallic Layer and Composite Hoop Wrap
3.3. Type III: Tanks with Metallic Layer and Composite Full Wrap
3.4. Type IV: Tanks with a Polymeric Layer and Composite Full Wrap
3.5. Type V: Full Composite Tanks
4. Type IV Hydrogen Tanks and Their Applications
4.1. Why Type IV Tanks?
4.2. Structure and Materials
- Inner liner. Made of high-density polymers such as HDPE (high-density polyethylene), it provides an effective barrier against hydrogen permeability. This material is chosen for its high chemical resistance and good mechanical properties, ensuring a long operational life [66,67]. Other polymers, such as polyamide (PA) and polypropylene (PP), can be used to optimize thermal resistance or reduce costs [72,73].
- Outer shell. Composed of carbon fibers impregnated with epoxy resin, the outer shell provides high mechanical resistance, capable of withstanding stresses of up to 2000 MPa. Carbon fibers also offer weight savings of up to 70% compared to metal tanks [74,75]. In some configurations, glass fibers or aramid fibers can be used to improve impact resistance or further reduce costs [76].
4.3. Geometry and Dimensions
- In light vehicles, such as cars, the most common tanks have a capacity between 50 and 150 L, with a diameter of 40–50 cm and a length of 0.8–1.2 m. A 100 L tank at 700 bar can store 5.7 kg of hydrogen.
- In heavy-duty vehicles, such as trucks and buses, tanks can reach a capacity of 300 L per single tank, with the adoption of modules to ensure autonomy of over 1000 km.
- For stationary storage, tanks can have a capacity of 500 L, with operating pressures ranging from 350 to 700 bar. They are often used in modular configurations to optimize storage capacity.
4.4. Applications
5. Properties and Problems of Materials for Type IV Tanks
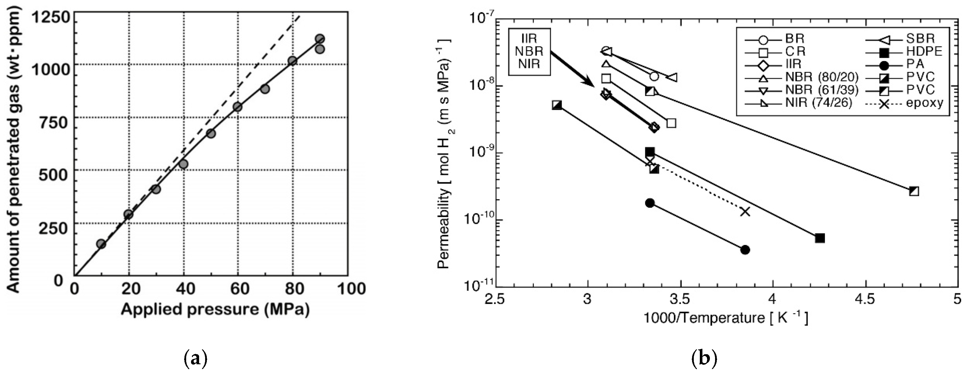
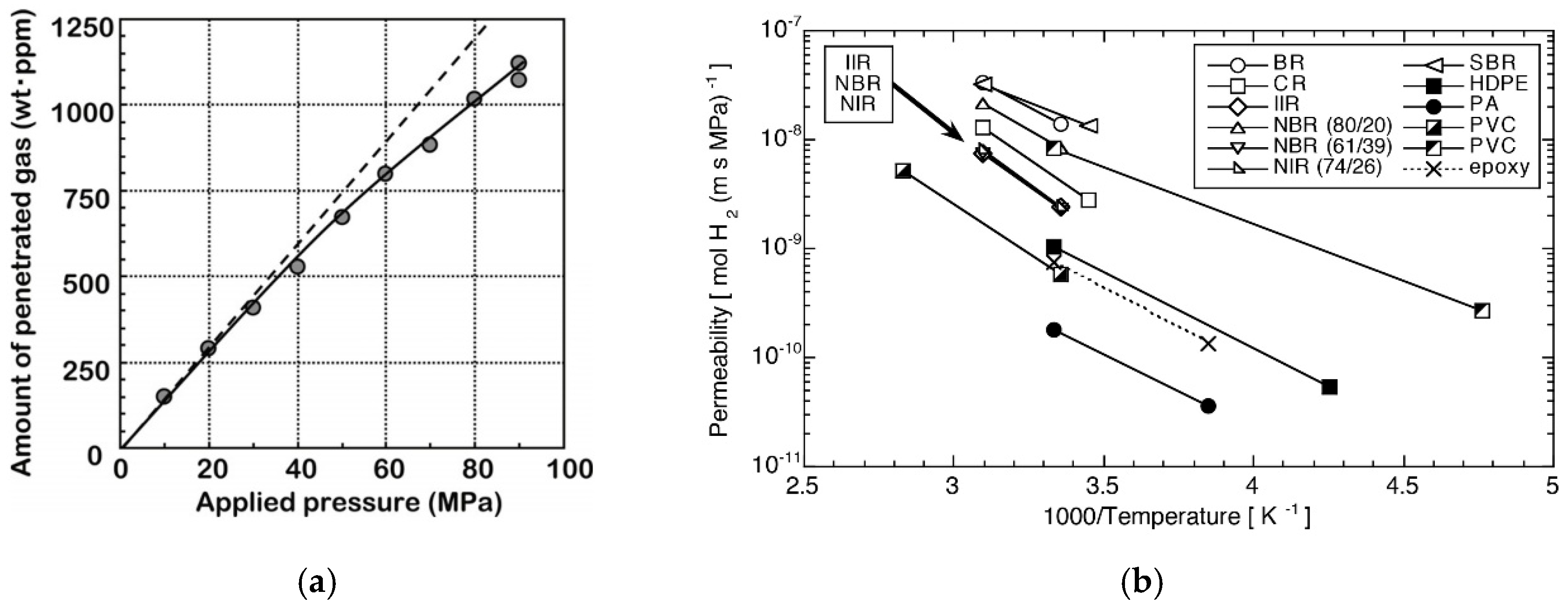
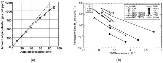
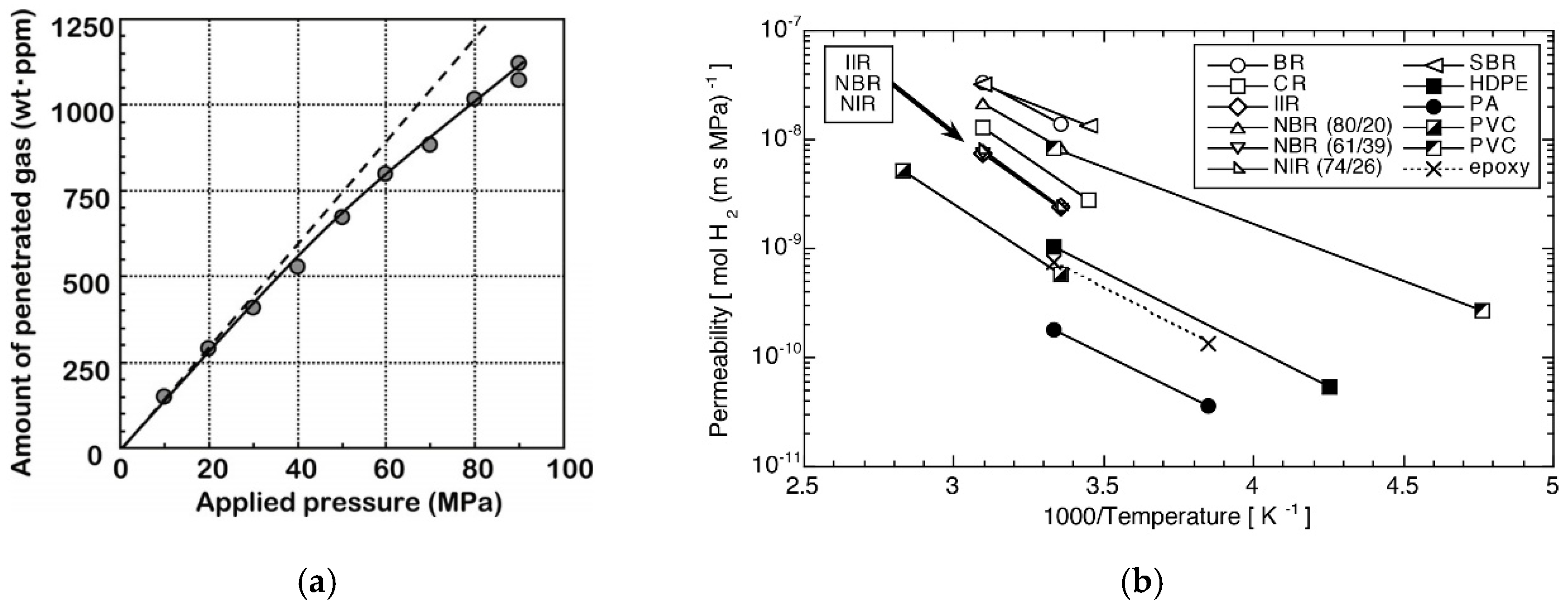
5.1. Permeability
5.1.1. Physical Laws That Govern Permeability
- Adsorption: Hydrogen molecules are absorbed by the inner surface of the liner.
- Diffusion: Molecules move through the polymer matrix.
- Desorption: Hydrogen is released from the outer surface of the liner [85].
5.1.2. Problems Arising from High Permeability
- Hydrogen leakage and reduced efficiency. Continuous leakage of hydrogen through the liner can significantly reduce the amount of gas available and, consequently, the operational efficiency of the tank. This issue is particularly critical in mobile applications, where the amount of hydrogen stored determines the range of the vehicle. In stationary applications, hydrogen leakage increases operating costs [31].
- Compromised tank durability. Hydrogen leaking through the liner can reach the composite shell and degrade the mechanical properties of the carbon fibers or epoxy resin, compromising the structural strength of the tank in the long term.
- Influence on mechanical behavior. Prolonged exposure to hydrogen can lead to embrittlement of the composite shell. The accumulation of microcracks and gas pockets can reduce the ability of the vessel to withstand high pressures, resulting in a risk of failure during repeated load cycles.
5.1.3. Strategies to Reduce Permeability
- Multilayer composites. The use of multilayer liners that combine different polymers with different barrier properties is an effective solution. Each layer provides an additional barrier, forcing hydrogen molecules to travel a longer path and reducing the overall permeability [91].
- Nanomaterial integration. The addition of graphene or graphene oxide nanoparticles to polymer liners creates a tortuous path that hinders the movement of hydrogen molecules, reducing the permeation rate. This technique offers significant benefits without increasing the weight of the tank [91].
- Chemical modifications of polymers. Modifying the molecular structure of polymers, such as by cross-linking or adding additives, can reduce hydrogen solubility and improve barrier properties without compromising the mechanical properties of the material [91].
5.1.4. Other Relevant Aspects
- Effects of variable temperature and pressure. Recent studies have highlighted that those dynamic variations in temperature and pressure, typical of loading and unloading operations, can accelerate permeation processes and must be managed with thermal control technologies [62].
- Effects of external agents. UV radiation and chemicals present in the environment can accelerate the degradation of polymeric liners, increasing permeability over time [92].
- Real-time monitoring. Emerging technologies such as real-time hydrogen leakage monitoring sensors are proving to be crucial to prevent tank degradation and improve operational safety [93].
5.2. Blistering
5.2.1. Causes of Blistering
5.2.2. Blistering Mechanism
5.2.3. Consequences of Blistering
5.2.4. Interaction with Hydrogen Fragilization
5.2.5. Effects of Rapid Charging Cycles
5.2.6. More Resistant Polymers
5.2.7. Strategies to Mitigate Blistering
- Use of more resistant materials. The adoption of highly crystalline polymers, such as PA6, PEEK and PAI, together with nanocomposites, improves permeation resistance and reduces the risk of gas cavity formation [31].
- Optimization of pressure cycles. More gradual decompression cycles allow hydrogen to diffuse slowly, preventing the accumulation of trapped gas. Experimental tests have shown that slower decompression significantly reduces the risk of blistering [61].
- Multilayer liners. The use of multilayer liners, which combine materials with different barrier properties, reduces hydrogen permeation and, consequently, the risk of blistering. Multilayer structures act as physical barriers that hinder the diffusion of gas [67].
- Production Control. Improving liner manufacturing processes to eliminate defects such as inhomogeneities or inclusions reduces the risk of blistering. A controlled manufacturing process ensures greater uniformity of the material, decreasing gas accumulation points.
- Control of Operating Temperatures. Temperature control during refill cycles is crucial. Rapid refills and high temperatures increase the risk of blistering, therefore it is essential to implement strict thermal control during tank operation [103].
5.2.8. Detection and Control Technologies

5.3. Structural Strength and Adhesion
5.3.1. Structural Strength
5.3.2. Fatigue Breaks
5.3.3. Thermal and Thermo-Mechanical Effects
5.3.4. Creep Phenomena
5.3.5. Adhesion
5.3.6. Monitoring and Advanced Techniques
5.3.7. Prevention and Improvement Strategies
- Initial Phase: Rapid damage accumulation marked by matrix microcrack formation and propagation along off-axis fiber directions under tensile stresses.
- Intermediate Phase: Stabilized damage growth where matrix crack density increases progressively across multiple plies until reaching the Characteristic Damage State (CDS)—a saturation point where crack spacing stabilizes due to stress redistribution.
- Final Phase: Accelerated damage accumulation featuring:
- ○
- Delamination initiation driven by interlaminar stress concentrations (free-edge effects)
- ○
- Synergistic interaction between existing matrix cracks and fiber fractures
- ○
- Progressive delamination propagation under continued cyclic loading
5.4. Thermal Effects in Refueling Processes
5.4.1. Heat Distribution and Thermal Challenges
5.4.2. Thermal Effects on Materials and Degradation
5.4.3. Interaction with Blistering and Hydrogen Fragilization Phenomena
5.4.4. Mitigation Solutions and Strategies
- Constant hydrogen inlet temperature: 233 K (−40 °C)
- Varied filling parameters: Cases P1–P6 (detailed in Table 3)
- Linear pressure rise (P1);
- Fast–slow linear pressure rise (P2);
- Slow–fast linear pressure rise (P3);
- Single 60 s pressure hold (P4);
- Two 30 s pressure holds (P5);
- Three 20 s pressure holds (P6).
6. Structural Design and Optimization of Type IV Hydrogen Tanks
7. Type IV Tank Manufacturing Processes
7.1. Composite Shell Production
7.2. Polymer Liner Production
7.3. Sealing the Metal Boss
7.4. Post-Process Control and Maintenance Techniques
7.5. International Standards and Certifications
8. Reliability Analysis, Safety Considerations and Ecological Assessments
8.1. Reliability Analysis
- Polymer liner failures. The polymer liner, which plays a crucial role in preventing hydrogen permeation, can deteriorate due to blistering or cracking. These failures can be triggered by manufacturing defects, thermal cycling or long-term interaction with hydrogen at high pressures [97,114]. ISO 11114-4:2017 establishes requirements for material compatibility with hydrogen gas, providing guidelines to minimize these risks [137]. At high pressures and temperatures, the polymer liner can develop microcracks that compromise its sealing [36,70].
- Composite shell delamination. The composite shell is made of resin-impregnated fiber layers. Repeated stress causes delamination, or separation of the fiber layers, especially in the transition zones between the cylindrical body and the hemispherical domes. Delamination reduces the tank’s ability to withstand high pressures [100,138]. ISO/TS 15869:2009 requires that tanks used in hydrogen vehicles be tested to withstand repeated cycles without structural failure. Specifically, the standard mandates that fuel tanks be designed for 11,250 fill cycles, representing a 15-year service life for commercial heavy-duty vehicles. Alternatively, a reduced number of 5500 filling cycles may be specified for the lifetime of the vehicle, provided that a tamper-proof counter system is used to record the number of filling cycles and terminates usage of the fuel tank before the reduced number is exceeded [139]. Studies on delamination in Type IV tanks have shown that these critical issues are more evident in areas subjected to repeated stress cycles [22,140].
- Deformation and leakage in the metal boss. The metal boss, which connects the tank to the filling and exhaust systems, is a critical point of potential failure. Deformation of the boss under thermal or mechanical stress can lead to significant leakage, jeopardizing the integrity of the tank [89,141]. UNECE R134 regulates the safety of connections in hydrogen systems, with technical specifications for the mechanical resistance of metal components [132].
8.2. Security Considerations
- Safety valves and relief systems. Type IV tanks are equipped with safety valves designed to gradually release the gas in the event of overpressure, thus preventing explosions or catastrophic failures [21,85]. UNECE R134 specifies safety procedures for hydrogen-powered vehicles and includes systems such as the Thermally Activated Pressure Relief Device (TPRD-less), which allows the controlled release of hydrogen in the event of a fire without the need for additional release valves [132].
- Fire Protection. Another vulnerability concerns the behavior of tanks in fire conditions. When exposed to intense flames, tanks can experience degradation of the composite shell and liner, leading to structural failure and potentially hydrogen release [143,144]. Fire-resistant materials, such as ceramic fiber-reinforced composites, increase the resistance of Type IV tanks to high temperatures, providing a temporary barrier in the event of a fire [100,143]. DOT CFR 49—Part 178 establishes fire and impact resistance requirements, ensuring that tanks maintain structural integrity even during prolonged exposure to flames [145]. Shen et al., in [146], investigated the consequences associated with the explosion due to high-pressure tank rupture during fire tests. They analyzed the hazard range of the fireball for both humans and structures. The results, shown in Figure 18, indicate that humans are only safe beyond 140 m, while structures are protected at distances greater than 52 m.
8.3. Ecological Assessments
- Production of high-impact materials. The production of carbon fibers and polymer liners requires energy-intensive industrial processes. Currently, the energy consumption in carbon fiber manufacturing is between 100 and 900 MJ per kilogram of fiber produced, which is much higher than that of energy-intensive industries like steel production (20–30 MJ/kg). Improving energy efficiency in carbon fiber production is essential to enhance its economic viability. Potential improvements can be made at various levels of manufacturing, including the process level, virtual machine level and plant level [147].
- End-of-life and recycling. One of the main challenges related to Type IV tanks is the difficulty in recycling composite materials. Hydrogen tanks, together with fuel cells, have a marked environmental impact, more than 50% in hydrogen-based vehicles [148]. Unlike other materials, carbon fibers and polymer liners are not easily recyclable, creating disposal problems. Using recycled carbon fiber for hydrogen tanks could significantly lower environmental impacts, highlighting the need for overcoming uncertainties regarding recycled fiber use. There are three main methods for recycling carbon fiber composites, as shown in Figure 19: mechanical, thermal, and chemical. Mechanical recycling produces chopped composite materials, while thermal and chemical methods aim to recover intact fibers. Among thermal methods, pyrolysis is the most common, yielding fibers with good mechanical properties when optimized, along with by-products like fillers and hydrocarbon compounds. Chemical recycling recovers fibers by breaking down the polymer matrix through processes like solvolysis, hydrolysis, and glycolysis [149].
9. Emerging Solutions and Future Developments of Type IV Tanks
9.1. Innovative Materials

9.2. Intelligent Production, Monitoring and Maintenance
9.3. Impact of Environmental Conditions on Different Applications
9.4. Safety and Standards
9.5. Remarks and Technical Discussion
10. Conclusions
Author Contributions
Funding
Data Availability Statement
Acknowledgments
Conflicts of Interest
References
- Dragassi, M.C.; Royon, L.; Redolfi, M.; Ammar, S. Hydrogen Storage as a Key Energy Vector for Car Transportation: A Tutorial Review. Hydrogen 2023, 4, 831–861. [Google Scholar] [CrossRef]
- Nayebossadri, S.; Walsh, M.; Smailes, M. An Overview of the Green Hydrogen Value Chain Technologies and Their Challenges for a Net-Zero Future. Hydrogen 2025, 6, 26. [Google Scholar] [CrossRef]
- James, N.; Menzies, M. Distributional Trends in the Generation and End-Use Sector of Low-Carbon Hydrogen Plants. Hydrogen 2023, 4, 174–189. [Google Scholar] [CrossRef]
- Hydrogen Council. Hydrogen for Net-Zero A Critical Cost-Competitive Energy Vector; Hydrogen Council: Brussels, Belgium, 2021. [Google Scholar]
- Pathak, P.K.; Yadav, A.K.; Padmanaban, S. Transition toward Emission-Free Energy Systems by 2050: Potential Role of Hydrogen. Int. J. Hydrogen Energy 2023, 48, 9921–9927. [Google Scholar] [CrossRef]
- Franco, A. Green Hydrogen and the Energy Transition: Hopes, Challenges, and Realistic Opportunities. Hydrogen 2025, 6, 28. [Google Scholar] [CrossRef]
- Corigliano, O.; Fragiacomo, P. Energy-Environmental Analysis of an H2PEM Power Station Assisted by a Dynamic Simulation Tool. Sustain. Energy Fuels 2025, 9, 2433–2465. [Google Scholar] [CrossRef]
- Zhou, H.; Wang, Q.; Su, Z.; Zhou, Z.; Pan, Y.; Pan, S.; Cui, D.; Bai, J.; Wu, S. Current Research, Reaction Mechanisms, and Future Prospects of Non-Precious Metal Catalysts for Ammonia Decomposition. Int. J. Hydrogen Energy 2025, 168, 150925. [Google Scholar] [CrossRef]
- Chemical Processing STUDY: Green Hydrogen Could Spur Economic and Job Growth Across Europe. Available online: https://www.chemicalprocessing.com/industrynews/news/33018751/study-green-hydrogen-could-spur-economic-and-job-growth-across-europe (accessed on 16 May 2025).
- Xie, Z.; Jin, Q.; Su, G.; Lu, W. A Review of Hydrogen Storage and Transportation: Progresses and Challenges. Energies 2024, 17, 4070. [Google Scholar] [CrossRef]
- IEA. Global Hydrogen Review 2024; IEA: Paris, France, 2024. [Google Scholar]
- Mekonnin, A.S.; Wacławiak, K.; Humayun, M.; Zhang, S.; Ullah, H. Hydrogen Storage Technology, and Its Challenges: A Review. Catalysts 2025, 15, 260. [Google Scholar] [CrossRef]
- AlZohbi, G.; Almoaikel, A.; AlShuhail, L. An Overview on the Technologies Used to Store Hydrogen. Energy Rep. 2023, 9, 28–34. [Google Scholar] [CrossRef]
- Bosu, S.; Rajamohan, N. Recent Advancements in Hydrogen Storage—Comparative Review on Methods, Operating Conditions and Challenges. Int. J. Hydrogen Energy 2024, 52, 352–370. [Google Scholar] [CrossRef]
- Nemukula, E.; Mtshali, C.B.; Nemangwele, F. Metal Hydrides for Sustainable Hydrogen Storage: A Review. Int. J. Energy Res. 2025, 2025, 6300225. [Google Scholar] [CrossRef]
- Scarpati, G.; Frasci, E.; Di Ilio, G.; Jannelli, E. A Comprehensive Review on Metal Hydrides-Based Hydrogen Storage Systems for Mobile Applications. J. Energy Storage 2024, 102, 113934. [Google Scholar] [CrossRef]
- Bellosta von Colbe, J.; Ares, J.-R.; Barale, J.; Baricco, M.; Buckley, C.; Capurso, G.; Gallandat, N.; Grant, D.M.; Guzik, M.N.; Jacob, I.; et al. Application of Hydrides in Hydrogen Storage and Compression: Achievements, Outlook and Perspectives. Int. J. Hydrogen Energy 2019, 44, 7780–7808. [Google Scholar] [CrossRef]
- Miocic, J.; Heinemann, N.; Edlmann, K.; Scafidi, J.; Molaei, F.; Alcalde, J. Underground Hydrogen Storage: A Review. Geol. Soc. Lond. Spec. Publ. 2023, 528, 73–86. [Google Scholar] [CrossRef]
- Cheng, L.; Qi, L.; Tang, X.; Li, X.; Chen, L.; Min, W.; Mei, Z.; Gao, R.; Sun, M.; Xiao, J.; et al. Effects of Hydrogen Cycling on the Performance of 70 MPa High-Pressure Hydrogen Storage Tank Liners Formed by Different Processes. Int. J. Hydrogen Energy 2024, 83, 499–511. [Google Scholar] [CrossRef]
- Ost, L.; Seidlitz, H.; Ulke-Winter, L.; Kuke, F. Development of a Spherical High-Pressure Tank for Hydrogen Storage in Mobile and Stationary Applications. Energy Technol. 2025, 13, 2300942. [Google Scholar] [CrossRef]
- Orlova, S.; Mezeckis, N.; Vasudev, V.P.K. Compression of Hydrogen Gas for Energy Storage: A Review. Latv. J. Phys. Tech. Sci. 2023, 60, 4–16. [Google Scholar] [CrossRef]
- Cheng, Q.; Zhang, R.; Shi, Z.; Lin, J. Review of Common Hydrogen Storage Tanks and Current Manufacturing Methods for Aluminium Alloy Tank Liners. Int. J. Lightweight Mater. Manuf. 2024, 7, 269–284. [Google Scholar] [CrossRef]
- Zhang, X.; Zhai, L.; Li, H.; Qi, G.; Gao, X.; Yang, W. Molecular Simulation Study on the Hydrogen Permeation Behavior and Mechanism of Common Polymers. Polymers 2024, 16, 953. [Google Scholar] [CrossRef]
- Fang, Q.; Ji, D. Molecular Simulation of Hydrogen Permeation Behavior in Liner Polymer Materials of Type IV Hydrogen Storage Vessels. Mater. Today Commun. 2023, 35, 106302. [Google Scholar] [CrossRef]
- Li, H.; Cao, X.; Liu, Y.; Shao, Y.; Nan, Z.; Teng, L.; Peng, W.; Bian, J. Safety of Hydrogen Storage and Transportation: An Overview on Mechanisms, Techniques, and Challenges. Energy Rep. 2022, 8, 6258–6269. [Google Scholar] [CrossRef]
- Magliano, A.; Perez Carrera, C.; Pappalardo, C.M.; Guida, D.; Berardi, V.P. A Comprehensive Literature Review on Hydrogen Tanks: Storage, Safety, and Structural Integrity. Appl. Sci. 2024, 14, 9348. [Google Scholar] [CrossRef]
- Jaber, M.; Yahya, A.; Arif, A.F.; Jaber, H.; Alkhedher, M. Burst Pressure Performance Comparison of Type V Hydrogen Tanks: Evaluating Various Shapes and Materials. Int. J. Hydrogen Energy 2024, 81, 906–917. [Google Scholar] [CrossRef]
- Zhang, Y.; Gu, J.; Li, Z.; Ruan, S.; Shen, C. Data-Driven Lay-up Design of a Type IV Hydrogen Storage Vessel Based on Physics-Constrained Generative Adversarial Networks (PCGANs). J. Energy Storage 2024, 98, 113130. [Google Scholar] [CrossRef]
- Ilyushechkin, A.; Schoeman, L.; Carter, L.; Hla, S.S. Material Challenges and Hydrogen Embrittlement Assessment for Hydrogen Utilisation in Industrial Scale. Hydrogen 2023, 4, 599–619. [Google Scholar] [CrossRef]
- Muthukumar, P.; Kumar, A.; Afzal, M.; Bhogilla, S.; Sharma, P.; Parida, A.; Jana, S.; Kumar, E.A.; Pai, R.K.; Jain, I.P. Review on Large-Scale Hydrogen Storage Systems for Better Sustainability. Int. J. Hydrogen Energy 2023, 48, 33223–33259. [Google Scholar] [CrossRef]
- Patel, S.K.S.; Gupta, R.K.; Rohit, M.V.; Lee, J.K. Recent Developments in Hydrogen Production, Storage, and Transportation: Challenges, Opportunities, and Perspectives. Fire 2024, 7, 233. [Google Scholar] [CrossRef]
- Abdalla, A.M.; Hossain, S.; Nisfindy, O.B.; Azad, A.T.; Dawood, M.; Azad, A.K. Hydrogen Production, Storage, Transportation and Key Challenges with Applications: A Review. Energy Convers. Manag. 2018, 165, 602–627. [Google Scholar] [CrossRef]
- Huot, J.; Lu, Z.-H.; Franco, A.; Giovannini, C. Hydrogen Gas Compression for Efficient Storage: Balancing Energy and Increasing Density. Hydrogen 2024, 5, 293–311. [Google Scholar] [CrossRef]
- Benitez, A.; Wulf, C.; de Palmenaer, A.; Lengersdorf, M.; Röding, T.; Grube, T.; Robinius, M.; Stolten, D.; Kuckshinrichs, W. Ecological Assessment of Fuel Cell Electric Vehicles with Special Focus on Type IV Carbon Fiber Hydrogen Tank. J. Clean. Prod. 2021, 278, 123277. [Google Scholar] [CrossRef]
- Rivard, E.; Trudeau, M.; Zaghib, K. Hydrogen Storage for Mobility: A Review. Materials 2019, 12, 1973. [Google Scholar] [CrossRef] [PubMed]
- Air, A.; Oromiehie, E.; Prusty, B.G. Design and Manufacture of a Type V Composite Pressure Vessel Using Automated Fibre Placement. Compos. B Eng. 2023, 266, 111027. [Google Scholar] [CrossRef]
- Air, A.; Shamsuddoha, M.; Gangadhara Prusty, B. A Review of Type V Composite Pressure Vessels and Automated Fibre Placement Based Manufacturing. Compos. B Eng. 2023, 253, 110573. [Google Scholar] [CrossRef]
- Hassan, I.A.; Ramadan, H.S.; Saleh, M.A.; Hissel, D. Hydrogen Storage Technologies for Stationary and Mobile Applications: Review, Analysis and Perspectives. Renew. Sustain. Energy Rev. 2021, 149, 111311. [Google Scholar] [CrossRef]
- Wang, H.; Gao, Y.; Wang, B.; Pan, Q.; Gan, Z. Perspective for the Safe and High-Efficiency Storage of Liquid Hydrogen: Thermal Behaviors and Insulation. Hydrogen 2024, 5, 559–573. [Google Scholar] [CrossRef]
- Zhang, T.; Uratani, J.; Huang, Y.; Xu, L.; Griffiths, S.; Ding, Y. Hydrogen Liquefaction and Storage: Recent Progress and Perspectives. Renew. Sustain. Energy Rev. 2023, 176, 113204. [Google Scholar] [CrossRef]
- Naquash, A.; Agarwal, N.; Lee, M. A Review on Liquid Hydrogen Storage: Current Status, Challenges and Future Directions. Sustainability 2024, 16, 8270. [Google Scholar] [CrossRef]
- Pistidda, C. Solid-State Hydrogen Storage for a Decarbonized Society. Hydrogen 2021, 2, 428–443. [Google Scholar] [CrossRef]
- Chanchetti, L.F.; Leiva, D.R.; Lopes de Faria, L.I.; Ishikawa, T.T. A Scientometric Review of Research in Hydrogen Storage Materials. Int. J. Hydrogen Energy 2020, 45, 5356–5366. [Google Scholar] [CrossRef]
- Siddiqui, M.J.; Balguri, P.K.; Haripriya, K.; Rajendran, A.R.; Patil, I.V. Analysis of Type IV Hydrogen Pressure Vessel with S-Glass, Carbon Fiber T700 and Kevlar Composite Materials. Mater. Today Proc. 2023, in press. [CrossRef]
- Reynolds, J.; Ali, D.; Njuguna, J.; Amadhe, F. The State of the Art in Hydrogen Storage. Green Energy Environ. Technol. 2024, 3, 1–40. [Google Scholar] [CrossRef]
- Faraj, K.; Khaled, M.; Faraj, J.; Faraj, A.; Castelain, C. Thermal Management Techniques for Enhancing Hydrogen Adsorption and Desorption in Metal Hydride Reactors: A Short Recent Review. J. Phys. Conf. Ser. 2024, 2754, 012030. [Google Scholar] [CrossRef]
- Beyazit, N.İ. Comparative Study of Hydrogen Storage and Metal Hydride Systems: Future Energy Storage Solutions. Processes 2025, 13, 1506. [Google Scholar] [CrossRef]
- Usman, M.R. Hydrogen Storage Methods: Review and Current Status. Renew. Sustain. Energy Rev. 2022, 167, 112743. [Google Scholar] [CrossRef]
- Yang, M.; Hunger, R.; Berrettoni, S.; Sprecher, B.; Wang, B. A Review of Hydrogen Storage and Transport Technologies. Clean Energy 2023, 7, 190–216. [Google Scholar] [CrossRef]
- Hua, T.Q.; Roh, H.-S.; Ahluwalia, R.K. Performance Assessment of 700-Bar Compressed Hydrogen Storage for Light Duty Fuel Cell Vehicles. Int. J. Hydrogen Energy 2017, 42, 25121–25129. [Google Scholar] [CrossRef]
- Pereira, R.; Monteiro, V.; Afonso, J.L.; Teixeira, J. Hydrogen Refueling Stations: A Review of the Technology Involved from Key Energy Consumption Processes to Related Energy Management Strategies. Energies 2024, 17, 4906. [Google Scholar] [CrossRef]
- Shin, H.K.; Ha, S.K. A Review on the Cost Analysis of Hydrogen Gas Storage Tanks for Fuel Cell Vehicles. Energies 2023, 16, 5233. [Google Scholar] [CrossRef]
- Møller, K.T.; Jensen, T.R.; Akiba, E.; Li, H. Hydrogen—A Sustainable Energy Carrier. Prog. Nat. Sci. Mater. Int. 2017, 27, 34–40. [Google Scholar] [CrossRef]
- Center for Sustainable Systems, U. of Michigan. Hydrogen Factsheet (Pub. No. CSS23-07). Available online: https://css.umich.edu/publications/factsheets/energy/hydrogen-factsheet (accessed on 17 May 2025).
- Esposito, L.; van der Wiel, M.; Acar, C. Hydrogen Storage Solutions for Residential Heating: A Thermodynamic and Economic Analysis with Scale-up Potential. Int. J. Hydrogen Energy 2024, 79, 579–593. [Google Scholar] [CrossRef]
- Burke, A.; Ogden, J.; Fulton, L. Hydrogen Storage and Transport: Technologies and Costs; Reference No. UCD-ITS-RR-24-17; Institute of Transportation Studies: Berkeley, CA, USA, 2024. [Google Scholar]
- Abdin, Z.; Khalilpour, K.; Catchpole, K. Projecting the Levelized Cost of Large Scale Hydrogen Storage for Stationary Applications. Energy Convers. Manag. 2022, 270, 116241. [Google Scholar] [CrossRef]
- Klopčič, N.; Grimmer, I.; Winkler, F.; Sartory, M.; Trattner, A. A Review on Metal Hydride Materials for Hydrogen Storage. J. Energy Storage 2023, 72, 108456. [Google Scholar] [CrossRef]
- Danebergs, J.; Deledda, S. Can Hydrogen Storage in Metal Hydrides Be Economically Competitive with Compressed and Liquid Hydrogen Storage? A Techno-Economical Perspective for the Maritime Sector. Int. J. Hydrogen Energy 2024, 50, 1040–1054. [Google Scholar] [CrossRef]
- Nyamsi, S.N.; Lototskyy, M.; Tolj, I. Selection of Metal Hydrides-Based Thermal Energy Storage: Energy Storage Efficiency and Density Targets. Int. J. Hydrogen Energy 2018, 43, 22568–22583. [Google Scholar] [CrossRef]
- Ekpotu, W.F.; Akintola, J.; Obialor, M.C.; Philemon, U.; Ekpotu, W.F.; Akintola, J.; Obialor, M.C.; Philemon, U. Historical Review of Hydrogen Energy Storage Technology. World J. Eng. Technol. 2023, 11, 454–475. [Google Scholar] [CrossRef]
- Roh, H.S.; Hua, T.Q.; Ahluwalia, R.K. Optimization of Carbon Fiber Usage in Type 4 Hydrogen Storage Tanks for Fuel Cell Automobiles. Int. J. Hydrogen Energy 2013, 38, 12795–12802. [Google Scholar] [CrossRef]
- Sgambitterra, E.; Pagnotta, L. Permeability: The Driving Force That Influences the Mechanical Behavior of Polymers Used for Hydrogen Storage and Delivery. Energies 2024, 17, 2216. [Google Scholar] [CrossRef]
- Hong, J.-H.; Han, M.-G.; Chang, S.-H. Safety Evaluation of 70MPa-Capacity Type III Hydrogen Pressure Vessel Considering Material Degradation of Composites Due to Temperature Rise. Compos. Struct. 2014, 113, 127–133. [Google Scholar] [CrossRef]
- Comond, O.; Perreux, D.; Thiebaud, F.; Weber, M. Methodology to Improve the Lifetime of Type III HP Tank with a Steel Liner. Int. J. Hydrogen Energy 2009, 34, 3077–3090. [Google Scholar] [CrossRef]
- Yuan, K.; Liu, Z. A Structural Mechanics Analysis on a Type IV Hydrogen Storage Tank during Refueling and Discharging. Eng. Fail. Anal. 2024, 165, 108822. [Google Scholar] [CrossRef]
- Kadri, K.; Ben Abdallah, A.; Ballut, S. Hydrogen Storage Vessels of Type 4 and Type 5. In Hydrogen Technologies—Advances, Insights, and Applications; IntechOpen: London, UK, 2024. [Google Scholar]
- Liu, Z.; Yuan, K.; Li, X.; Yang, D. Thermal Behavior in a Type IV Hydrogen Storage Tank of Fuel Cell Electric Vehicles under Different Charging Conditions. Int. J. Hydrogen Energy 2025, 99, 517–527. [Google Scholar] [CrossRef]
- Meyer, K.; Pignagnoli, F.; Potts, D.; Hunter, G. Lightweighting Matters in Energy Storage. Reinf. Plast. 2014, 58, 20–23. [Google Scholar] [CrossRef]
- Balasooriya, W.; Clute, C.; Schrittesser, B.; Pinter, G. A Review on Applicability, Limitations, and Improvements of Polymeric Materials in High-Pressure Hydrogen Gas Atmospheres. Polym. Rev. 2022, 62, 175–209. [Google Scholar] [CrossRef]
- Gómez, J.A.; Santos, D.M.F. The Status of On-Board Hydrogen Storage in Fuel Cell Electric Vehicles. Designs 2023, 7, 97. [Google Scholar] [CrossRef]
- Jana, S.; Parthiban, A.; Rusli, W. Polymer Material Innovations for a Green Hydrogen Economy. Chem. Commun. 2025, 61, 3233–3249. [Google Scholar] [CrossRef]
- Li, X.; Huang, Q.; Liu, Y.; Zhao, B.; Li, J. Review of the Hydrogen Permeation Test of the Polymer Liner Material of Type IV On-Board Hydrogen Storage Cylinders. Materials 2023, 16, 5366. [Google Scholar] [CrossRef] [PubMed]
- Feki, I.; Shirinbayan, M.; Nouira, S.; Bi, R.T.; Maeso, J.-B.; Thomas, C.; Fitoussi, J. Composites in High-Pressure Hydrogen Storage: A Review of Multiscale Characterization and Mechanical Behavior. Compos. Part C Open Access 2025, 16, 100555. [Google Scholar] [CrossRef]
- Sharma, P.; Neogi, S. Performance-Based Design and Manufacturing of Filament Wound Type-4 Cylinders for Compressed Gas Storage. Compos. Struct. 2023, 309, 116710. [Google Scholar] [CrossRef]
- Eko, A.J.; Epaarachchi, J.; Jewewantha, J.; Zeng, X. A Review of Type IV Composite Overwrapped Pressure Vessels. Int. J. Hydrogen Energy 2025, 109, 551–573. [Google Scholar] [CrossRef]
- Sapre, S.; Pareek, K.; Vyas, M. Investigation of Structural Stability of Type IV Compressed Hydrogen Storage Tank during Refueling of Fuel Cell Vehicle. Energy Storage 2020, 2, e150. [Google Scholar] [CrossRef]
- Zhang, Q.; Xu, H.; Jia, X.; Zu, L.; Cheng, S.; Wang, H. Design of a 70 MPa Type IV Hydrogen Storage Vessel Using Accurate Modeling Techniques for Dome Thickness Prediction. Compos. Struct. 2020, 236, 111915. [Google Scholar] [CrossRef]
- Das, S. Design and Analysis of Type IV Hydrogen Storage Pressure Vessel . Available online: https://www.researchgate.net/publication/368756849_Design_and_Analysis_of_Type_IV_Hydrogen_Storage_Pressure_Vessel?channel=doi&linkId=63f87c5457495059453dc65c&showFulltext=true (accessed on 27 May 2025).
- Wu, D.; Ren, J.; Davies, H.; Shang, J.; Haas, O. Intelligent Hydrogen Fuel Cell Range Extender for Battery Electric Vehicles. World Electr. Veh. J. 2019, 10, 29. [Google Scholar] [CrossRef]
- Alves, M.P.; Gul, W.; Cimini Junior, C.A.; Ha, S.K. A Review on Industrial Perspectives and Challenges on Material, Manufacturing, Design and Development of Compressed Hydrogen Storage Tanks for the Transportation Sector. Energies 2022, 15, 5152. [Google Scholar] [CrossRef]
- HyKit HyKit® Modular Gas Storage High-Capacity, Mobile Hydrogen. Available online: https://hykit.com/products/hykit-modular-gas-storage/#:~:text=High%2DCapacity%20635%20bar%20Storage,to%20+46%C2%B0C (accessed on 27 May 2025).
- Su, Y.; Lv, H.; Zhou, W.; Zhang, C. Review of the Hydrogen Permeability of the Liner Material of Type IV On-Board Hydrogen Storage Tank. World Electr. Veh. J. 2021, 12, 130. [Google Scholar] [CrossRef]
- Bayle, J.; Perreux, D.; Chapelle, D.; ThiÈbaud, F.; Nardin, P. A Model to Predict the Permeation of Type IV Hydrogen Tanks. In Proceedings of the 18th World Hydrogen Energy Conference 2010—WHEC 2010, Essen, Germany, 16–21 May 2010; Stolten, D., Grube, T., Eds.; 2010. Available online: https://www.osti.gov/etdeweb/servlets/purl/21400913 (accessed on 27 May 2025).
- Hu, D.; Shao, W.; Lu, D.; Xu, Y.; Wang, J. Design and Material Optimization of Carbon Fiber Composite Winding Reinforcement Layer for Vehicle Type-IV Hydrogen Storage Vessels. J. Energy Storage 2024, 100, 113459. [Google Scholar] [CrossRef]
- Jin, Z.; Su, Y.; Lv, H.; Liu, M.; Li, W.; Zhang, C. Review of Decompression Damage of the Polymer Liner of the Type IV Hydrogen Storage Tank. Polymers 2023, 15, 2258. [Google Scholar] [CrossRef] [PubMed]
- Dong, C.; Liu, Y.; Li, J.; Bin, G.; Zhou, C.; Han, W.; Li, X. Hydrogen Permeability of Polyamide 6 Used as Liner Material for Type IV On-Board Hydrogen Storage Cylinders. Polymers 2023, 15, 3715. [Google Scholar] [CrossRef]
- Villalonga, S.; Thomas, C.; Nony, C.; Thiebaud, F.; Geli, M.; Lucas, A.; Knobloch, K.; Maugy, C. Applications of Full Thermoplastic Composite for Type IV 70 MPa High Pressure Vessels. In Proceedings of the 18th International Conference on Composite Mate, Jeju Island, Republic of Korea, 21–26 August 2011. [Google Scholar] [CrossRef]
- Park, G.; Jang, H.; Kim, C. Design of Composite Layer and Liner for Structure Safety of Hydrogen Pressure Vessel (Type 4). J. Mech. Sci. Technol. 2021, 35, 3507–3517. [Google Scholar] [CrossRef]
- Li, Y.; Barzagli, F.; Liu, P.; Zhang, X.; Yang, Z.; Xiao, M.; Huang, Y.; Luo, X.; Li, C.; Luo, H.; et al. Mechanism and Evaluation of Hydrogen Permeation Barriers: A Critical Review. Ind. Eng. Chem. Res. 2023, 62, 15752–15773. [Google Scholar] [CrossRef]
- Sun, Y.; Lv, H.; Zhou, W.; Zhang, C. Research on Hydrogen Permeability of Polyamide 6 as the Liner Material for Type IV Hydrogen Storage Tank. Int. J. Hydrogen Energy 2020, 45, 24980–24990. [Google Scholar] [CrossRef]
- Lu, T.; Solis-Ramos, E.; Yi, Y.; Kumosa, M. UV Degradation Model for Polymers and Polymer Matrix Composites. Polym. Degrad. Stab. 2018, 154, 203–210. [Google Scholar] [CrossRef]
- Karapanagiotis, C.; Breithaupt, M.; Duffner, E.; Schukar, M. Real-Time Monitoring of Hydrogen Composite Pressure Vessels Using Surface-Applied Distributed Fiber Optic Sensors. J. Phys. Photonics 2025, 7, 025016. [Google Scholar] [CrossRef]
- Maus, S.; Hapke, J.; Ranong, C.N.; Wüchner, E.; Friedlmeier, G.; Wenger, D. Filling Procedure for Vehicles with Compressed Hydrogen Tanks. Int. J. Hydrogen Energy 2008, 33, 4612–4621. [Google Scholar] [CrossRef]
- Pépin, J.; Lainé, E.; Grandidier, J.C.; Benoit, G.; Mellier, D.; Weber, M.; Langlois, C. Replication of Liner Collapse Phenomenon Observed in Hyperbaric Type IV Hydrogen Storage Vessel by Explosive Decompression Experiments. Int. J. Hydrogen Energy 2018, 43, 4671–4680. [Google Scholar] [CrossRef]
- Pepin, J.; Lainé, E.; Grandidier, J.-C.; Castagnet, S.; Blanc-vannet, P.; Papin, P.; Weber, M. Determination of Key Parameters Responsible for Polymeric Liner Collapse in Hyperbaric Type IV Hydrogen Storage Vessels. Int. J. Hydrogen Energy 2018, 43, 16386–16399. [Google Scholar] [CrossRef]
- Rondinella, A.; Capurso, G.; Zanocco, M.; Basso, F.; Calligaro, C.; Menotti, D.; Agnoletti, A.; Fedrizzi, L. Study of the Failure Mechanism of a High-Density Polyethylene Liner in a Type IV High-Pressure Storage Tank. Polymers 2024, 16, 779. [Google Scholar] [CrossRef]
- Hu, Z.; Chen, M.H.; Zu, L.; Jia, X.; Shen, A.; Yang, Q.; Xu, K. Investigation on Failure Behaviors of 70 MPa Type IV Carbon Fiber Overwound Hydrogen Storage Vessels. Compos. Struct. 2021, 259, 113387. [Google Scholar] [CrossRef]
- Kis, D.I.; Kókai, E. A Review on the Factors of Liner Collapse in Type IV Hydrogen Storage Vessels. Int. J. Hydrogen Energy 2024, 50, 236–253. [Google Scholar] [CrossRef]
- Bo, K.; Feng, H.; Jiang, Y.; Deng, G.; Wang, D.; Zhang, Y. Study of Blister Phenomena on Polymer Liner of Type IV Hydrogen Storage Cylinders. Int. J. Hydrogen Energy 2024, 54, 922–936. [Google Scholar] [CrossRef]
- Dwivedi, S.K.; Vishwakarma, M. Hydrogen Embrittlement in Different Materials: A Review. Int. J. Hydrogen Energy 2018, 43, 21603–21616. [Google Scholar] [CrossRef]
- Li, J.-Q.; Li, J.-C.L.; Park, K.; Kwon, J.-T. Investigation on the Changes of Pressure and Temperature in High Pressure Filling of Hydrogen Storage Tank. Case Stud. Therm. Eng. 2022, 37, 102143. [Google Scholar] [CrossRef]
- Liu, Z.; Yuan, K.; Cheng, L.; Li, X. Thermal Management on a Type IV Storage Tank of Hydrogen Fuel Cell Electric Vehicles during Rapid Charging. Renew. Energy 2025, 245, 122825. [Google Scholar] [CrossRef]
- Melideo, D.; Baraldi, D.; Acosta-Iborra, B.; Ortiz Cebolla, R.; Moretto, P. CFD Simulations of Filling and Emptying of Hydrogen Tanks. Int. J. Hydrogen Energy 2017, 42, 7304–7313. [Google Scholar] [CrossRef]
- Castagnet, S.; Grandidier, J.-C.; Comyn, M.; Benoît, G. Hydrogen Influence on the Tensile Properties of Mono and Multi-Layer Polymers for Gas Distribution. Int. J. Hydrogen Energy 2010, 35, 7633–7640. [Google Scholar] [CrossRef]
- Castagnet, S.; Grandidier, J.-C.; Comyn, M.; Benoît, G. Mechanical Testing of Polymers in Pressurized Hydrogen: Tension, Creep and Ductile Fracture. Exp. Mech. 2012, 52, 229–239. [Google Scholar] [CrossRef]
- Merah, N.; Saghir, F.; Khan, Z.; Bazoune, A. Effect of Temperature on Tensile Properties of HDPE Pipe Material. Plast. Rubber Compos. 2006, 35, 226–230. [Google Scholar] [CrossRef]
- Melnichuk, M.; Gardavaud, Q.; Thiébaud, F.; Perreux, D. Temperature Effect in Cavitation Risk Assessments of Polymers for Hydrogen Systems. Int. J. Hydrogen Energy 2020, 45, 23020–23026. [Google Scholar] [CrossRef]
- Yersak, T.A.; Baker, D.R.; Yanagisawa, Y.; Slavik, S.; Immel, R.; Mack-Gardner, A.; Herrmann, M.; Cai, M. Predictive Model for Depressurization-Induced Blistering of Type IV Tank Liners for Hydrogen Storage. Int. J. Hydrogen Energy 2017, 42, 28910–28917. [Google Scholar] [CrossRef]
- Melnichuk, M.; Thiébaud, F.; Perreux, D. Non-Dimensional Assessments to Estimate Decompression Failure in Polymers for Hydrogen Systems. Int. J. Hydrogen Energy 2020, 45, 6738–6744. [Google Scholar] [CrossRef]
- Schäkel, M.; Janssen, H.; Brecher, C. Process Analysis of Manufacturing Thermoplastic Type-IV Composite Pressure Vessels with Helical Winding Pattern. In Proceedings of the SAMPE neXus 2021, Virtual, 29 June–1 July 2021. [Google Scholar]
- Magneville, B.; Gentilleau, B.; Villalonga, S.; Nony, F.; Galiano, H. Modeling, Parameters Identification and Experimental Validation of Composite Materials Behavior Law Used in 700 Bar Type IV Hydrogen High Pressure Storage Vessel. Int. J. Hydrogen Energy 2015, 40, 13193–13205. [Google Scholar] [CrossRef]
- Alexis, F.; Castagnet, S.; Nadot-Martin, C.; Robert, G.; Havet, P. Effect of Severe Thermo-Oxidative Aging on the Mechanical Behavior and Fatigue Durability of Short Glass Fiber Reinforced PA6/6.6. Int. J. Fatigue 2023, 166, 107280. [Google Scholar] [CrossRef]
- Zhang, M.; Lv, H.; Kang, H.; Zhou, W.; Zhang, C. A Literature Review of Failure Prediction and Analysis Methods for Composite High-Pressure Hydrogen Storage Tanks. Int. J. Hydrogen Energy 2019, 44, 25777–25799. [Google Scholar] [CrossRef]
- Liu, G.; Yang, F.; Bai, Y.; Han, C.; Liu, W.; Guo, X.; Wang, P.; Wang, R. Enhancement of Bonding Strength between Polyethylene/Graphene Flakes Composites and Stainless Steel and Its Application in Type IV Storage Tanks. J. Energy Storage 2021, 42, 103142. [Google Scholar] [CrossRef]
- Wang, X.; Tian, M.; Chen, X.; Xie, P.; Yang, J.; Chen, J.; Yang, W. Advances on Materials Design and Manufacture Technology of Plastic Liner of Type IV Hydrogen Storage Vessel. Int. J. Hydrogen Energy 2022, 47, 8382–8408. [Google Scholar] [CrossRef]
- Berro Ramirez, J.P.; Halm, D.; Grandidier, J.-C.; Villalonga, S.; Nony, F. 700 Bar Type IV High Pressure Hydrogen Storage Vessel Burst—Simulation and Experimental Validation. Int. J. Hydrogen Energy 2015, 40, 13183–13192. [Google Scholar] [CrossRef]
- Gamstedt, E.K.; Sjögren, B.A. Micromechanisms in Tension-Compression Fatigue of Composite Laminates Containing Transverse Plies. Compos. Sci. Technol. 1999, 59, 167–178. [Google Scholar] [CrossRef]
- de Miguel, N.; Acosta, B.; Baraldi, D.; Melideo, R.; Ortiz Cebolla, R.; Moretto, P. The Role of Initial Tank Temperature on Refuelling of On-Board Hydrogen Tanks. Int. J. Hydrogen Energy 2016, 41, 8606–8615. [Google Scholar] [CrossRef]
- Sapre, S.; Pareek, K.; Rohan, R.; Singh, P.K. Investigation of Compressed Hydrogen Refueling Process of 60 L Type IV Tank Used in Fuel Cell Vehicles. Energy Storage 2019, 1, e91. [Google Scholar] [CrossRef]
- Saferna, A.; Saferna, P.; Kuczyński, S.; Łaciak, M.; Szurlej, A.; Włodek, T. Thermodynamic Analysis of CNG Fast Filling Process of Composite Cylinder Type IV. Energies 2021, 14, 5568. [Google Scholar] [CrossRef]
- Lamari, F.; Weinberger, B.; Langlois, P.; Fruchart, D. Instances of Safety-Related Advances in Hydrogen as Regards Its Gaseous Transport and Buffer Storage and Its Solid-State Storage. Hydrogen 2024, 5, 387–402. [Google Scholar] [CrossRef]
- Zhu, J.; Li, Y.; Cao, W.; Li, Y.; Gao, Z. Failure Analysis of Novel BOSS Structures for Type IV Hydrogen Storage Vessels. Energies 2023, 16, 4005. [Google Scholar] [CrossRef]
- Moradi, R.; Groth, K.M. Hydrogen Storage and Delivery: Review of the State of the Art Technologies and Risk and Reliability Analysis. Int. J. Hydrogen Energy 2019, 44, 12254–12269. [Google Scholar] [CrossRef]
- Gupta, C.; Kumar, S.; Poonia, S.; Pareek, K. Refueling Analysis of Type IV Composite Tank as per SAEJ2601 with Refueling Station Configuration. Int. J. Hydrogen Energy 2024, 78, 970–983. [Google Scholar] [CrossRef]
- Li, J.; Liu, J.; Zhao, B.; Wang, D.; Guo, S.; Song, J.; Li, X. Research on Temperature Rise of Type IV Composite Hydrogen Storage Cylinders in Hydrogen Fast-Filling Process. Energies 2023, 16, 2918. [Google Scholar] [CrossRef]
- Huang, Q.; Li, X.; Li, J.; Liu, Y.; Li, X.; Zhu, C. Overview of Standards on Pressure Cycling Test for On-Board Composite Hydrogen Storage Cylinders. In Proceedings of the ASME 2022 Pressure Vessels & Piping Conference, Las Vegas, NV, USA, 17–22 July 2022; American Society of Mechanical Engineers, Pressure Vessels and Piping Division (Publication) PVP: West Conshohocken, PA, USA, 2022; Volume 1. [Google Scholar] [CrossRef]
- Błachut, A.; Wollmann, T.; Panek, M.; Vater, M.; Kaleta, J.; Detyna, J.; Hoschützky, S.; Gude, M. Influence of Fiber Tension during Filament Winding on the Mechanical Properties of Composite Pressure Vessels. Compos. Struct. 2023, 304, 116337. [Google Scholar] [CrossRef]
- Wang, D.; Liao, B.; Hao, C.; Wen, A.; Zheng, J.; Jiang, P.; Gu, C.; Xu, P.; Huang, Q. Acoustic Emission Characteristics of Used 70 MPa Type IV Hydrogen Storage Tanks during Hydrostatic Burst Tests. Int. J. Hydrogen Energy 2021, 46, 12605–12614. [Google Scholar] [CrossRef]
- Pritchard, A.; McCourt, M.; Martin, P.; Kearns, M. The Encapsulation of Metal Boss Components within Rotomoulded Liners for Type IV H2 Tanks. AIP Conf. Proc. 2023, 2884, 230001. [Google Scholar] [CrossRef]
- ISO/DIS 19884 (En); Gaseous Hydrogen—Cylinders and Tubes for Stationary Storage. International Organization for Standardization: Geneva, Switzerland, 2018. Available online: https://www.iso.org/obp/ui/#iso:std:iso:19884:dis:ed-1:v1:en (accessed on 9 June 2025).
- Ufficio delle Pubblicazioni dell’Unione Europea. Regolamento n. 134 della Commissione Economica per l’Europa delle Nazioni Unite (UNECE)—Disposizioni Uniformi Concernenti L’omologazione dei Veicoli a Motore e dei Relativi Componenti per Quanto Riguarda le Prestazioni in Termini di Sicurezza dei Veicoli Alimentati a Idrogeno (HFCV) [2019/795], 2019. Available online: https://op.europa.eu/it/publication-detail/-/publication/8aad3d19-7870-11e9-9f05-01aa75ed71a1/language-it (accessed on 27 May 2025).
- ISO 11439:2013; Gas Cylinders—High Pressure Cylinders for the on-Board Storage of Natural Gas as a Fuel for Automotive Vehicles. International Organization for Standardization: Geneva, Switzerland, 2013. Available online: https://www.iso.org/standard/44755.html (accessed on 9 June 2025).
- UNI EN 12245:2022; UNI Ente Italiano Di Normazione. UNI: Milan, Italy, 2022. Available online: https://store.uni.com/uni-en-12245-2022 (accessed on 9 June 2025).
- ISO 19881:2018; Gaseous Hydrogen—Land Vehicle Fuel Containers. International Organization for Standardization: Geneva, Switzerland, 2018. Available online: https://www.iso.org/standard/65029.html (accessed on 9 June 2025).
- J2579_202301; Standard for Fuel Systems in Fuel Cell and Other Hydrogen Vehicles. SAE International: Warrendale, PA, USA, 2023. [CrossRef]
- ISO 11114-4:2017; Transportable Gas Cylinders—Compatibility of Cylinder and Valve Materials with Gas Contents—Part 4: Test Methods for Selecting Steels Resistant to Hydrogen Embrittlement. International Organization for Standardization: Geneva, Switzerland, 2017. Available online: https://www.iso.org/standard/64587.html (accessed on 9 June 2025).
- Hokine, A.; Ghouaoula, A.; Achira, F.K.; Medjdoub, S.M. Analysis of Failure Pressures of Composite Cylinders with a Polymer Liner of Type IV CNG Vessels. Int. J. Mech. Aerosp. Ind. Mechatron. Eng. 2013, 7, 148–152. [Google Scholar]
- ISO/TS 15869:2009; Gaseous Hydrogen and Hydrogen Blends—Land Vehicle Fuel Tanks. International Organization for Standardization: Geneva, Switzerland, 2009. Available online: https://www.iso.org/standard/52871.html (accessed on 10 June 2025).
- Bouhala, L.; Koutsawa, Y.; Karatrantos, A.; Bayreuther, C. Design of Type-IV Composite Pressure Vessel Based on Comparative Analysis of Numerical Methods for Modeling Type-III Vessels. J. Compos. Sci. 2024, 8, 40. [Google Scholar] [CrossRef]
- Leh, D.; Saffré, P.; Francescato, P.; Arrieux, R.; Villalonga, S. A Progressive Failure Analysis of a 700-Bar Type IV Hydrogen Composite Pressure Vessel. Int. J. Hydrogen Energy 2015, 40, 13206–13214. [Google Scholar] [CrossRef]
- Munzke, D.; Duffner, E.; Eisermann, R.; Schukar, M.; Schoppa, A.; Szczepaniak, M.; Strohhäcker, J.; Mair, G. Monitoring of Type IV Composite Pressure Vessels with Multilayer Fully Integrated Optical Fiber Based Distributed Strain Sensing. Mater. Today Proc. 2021, 34, 217–223. [Google Scholar] [CrossRef]
- Molkov, V.; Kashkarov, S.; Makarov, D.; Fletcher, J.; Rattigan, W. Explosion Free in Fire Self-Venting (TPRD-Less) Type IV Tanks: Validation under Extreme Impinging 70 MPa Hydrogen Jet Fire Conditions. Int. J. Hydrogen Energy 2023, 48, 40117–40126. [Google Scholar] [CrossRef]
- Kashkarov, S.; Makarov, D.; Molkov, V. Performance of Hydrogen Storage Tanks of Type IV in a Fire: Effect of the State of Charge. Hydrogen 2021, 2, 386–398. [Google Scholar] [CrossRef]
- ECFR: 49 CFR Part 178—Specifications for Packagings. Available online: https://www.ecfr.gov/current/title-49/subtitle-B/chapter-I/subchapter-C/part-178 (accessed on 12 June 2025).
- Shen, C.; Ma, L.; Huang, G.; Wu, Y.; Zheng, J.; Liu, Y.; Hu, J. Consequence Assessment of High-Pressure Hydrogen Storage Tank Rupture during Fire Test. J. Loss Prev. Process Ind. 2018, 55, 223–231. [Google Scholar] [CrossRef]
- Khayyam, H.; Naebe, M.; Milani, A.S.; Fakhrhoseini, S.M.; Date, A.; Shabani, B.; Atkiss, S.; Ramakrishna, S.; Fox, B.; Jazar, R.N. Improving Energy Efficiency of Carbon Fiber Manufacturing through Waste Heat Recovery: A Circular Economy Approach with Machine Learning. Energy 2021, 225, 120113. [Google Scholar] [CrossRef]
- Miotti, M.; Hofer, J.; Bauer, C. Integrated Environmental and Economic Assessment of Current and Future Fuel Cell Vehicles. Int. J. Life Cycle Assess. 2017, 22, 94–110. [Google Scholar] [CrossRef]
- Butenegro, J.A.; Bahrami, M.; Abenojar, J.; Martínez, M.Á. Recent Progress in Carbon Fiber Reinforced Polymers Recycling: A Review of Recycling Methods and Reuse of Carbon Fibers. Materials 2021, 14, 6401. [Google Scholar] [CrossRef] [PubMed]
- Johnson, K.; Veenstra, M.J.; Gotthold, D.; Simmons, K.; Alvine, K.; Hobein, B.; Houston, D.; Newhouse, N.; Yeggy, B.; Vaipan, A.; et al. Advancements and Opportunities for On-Board 700 Bar Compressed Hydrogen Tanks in the Progression Towards the Commercialization of Fuel Cell Vehicles. SAE Int. J. Altern. Powertrains 2017, 6, 201–218. [Google Scholar] [CrossRef]
- Amadi, A.; Mohyaldinn, M.; Moses, P.R.; Benaarbia, A. Hydrogen-Resistant Materials: A Review Exploring Shape Memory Alloys, Medium and High Entropy Alloys to Project the Potentials of a High Entropy Shape Memory Alloy. J. Alloys Compd. Commun. 2025, 6, 100054. [Google Scholar] [CrossRef]
- Yuan, S.; Sun, Y.; Yang, C.; Zhang, Y.; Cong, C.; Yuan, Y.; Lin, D.; Pei, L.; Zhu, Y.; Wang, H. A Novel Dual-Functional Epoxy-Based Composite Coating with Exceptional Anti-Corrosion and Enhanced Hydrogen Gas Barrier Properties. Chem. Eng. J. 2022, 449, 137876. [Google Scholar] [CrossRef]
- Froudakis, G.E. Hydrogen Storage in Nanotubes & Nanostructures. Mater. Today 2011, 14, 324–328. [Google Scholar] [CrossRef]
- Kreider, M.C.; Sefa, M.; Fedchak, J.A.; Scherschligt, J.; Bible, M.; Natarajan, B.; Klimov, N.N.; Miller, A.E.; Ahmed, Z.; Hartings, M.R. Toward 3D Printed Hydrogen Storage Materials Made with ABS-MOF Composites. Polym. Adv. Technol. 2018, 29, 867–873. [Google Scholar] [CrossRef] [PubMed]
- Lee, C.Y.; Shen, C.C.; Chiu, C.W.; Hsieh, H. Te Real-Time Micro-Monitoring of Surface Temperature and Strain of Magnesium Hydrogen Tank through Self-Made Two-In-One Flexible High-Temperature Micro-Sensor. Micromachines 2022, 13, 1370. [Google Scholar] [CrossRef] [PubMed]
- Priya, M.P.A.; Karthikeyani, P.; Arunfred, N.; Hariharan, M.; Ramyadevi, K.; Murugan, S. IoT and Hydrogen Transport: Revolutionizing Fuel Cell Vehicle Infrastructure. In Proceedings of the 4th International Conference on Innovative Practices in Technology and Management 2024, ICIPTM 2024, Noida, India, 21–23 February 2024. [Google Scholar] [CrossRef]
- Lee, C.Y.; Shen, C.C.; Lee, S.J.; Chiu, C.W.; Lin, H.T. Real-Time Microscopic Monitoring of Temperature and Strain on the Surface of Magnesium Hydrogen Storage Tank by High Temperature Resistant Flexible Integrated Microsensor. Int. J. Hydrogen Energy 2022, 47, 12815–12821. [Google Scholar] [CrossRef]
- Nakashima, K.; Morillo, C.; Kurono, Y.; Sawae, Y.; Sugimura, J. Wear Mechanisms of Ptfe in Humidified Hydrogen Gas. In American Society of Mechanical Engineers, Tribology Division, TRIB, Proceedings of the ASME/STLE 2011 International Joint Tribology Conference, Los Angeles, CA, USA, 24–26 October 2011; ASME: New York, NY, USA, 2011; pp. 229–231. [Google Scholar] [CrossRef]
- The Future of Hydrogen—Analysis—IEA. Available online: https://www.iea.org/reports/the-future-of-hydrogen (accessed on 9 April 2025).
- Li, J.-C.; Xu, H.; Zhou, K.; Li, J.-Q. A Review on the Research Progress and Application of Compressed Hydrogen in the Marine Hydrogen Fuel Cell Power System. Heliyon 2024, 10, e25304. [Google Scholar] [CrossRef] [PubMed]
- Ye, X.; Yang, Y.; Feng, Y.; Zhou, L. Development and Deployment of Standards for Hydrogen Energy Storage Systems. In Proceedings of the 2024 4th International Conference on Smart Grid and Energy Internet, SGEI 2024, Shenyang, China, 13–15 December 2024; pp. 89–94. [Google Scholar] [CrossRef]























| Storage Method | Pros | Cons |
|---|---|---|
| Gaseous Hydrogen Storage |
|
|
| Liquid Hydrogen Storage |
|
|
| Solid Hydrogen Storage (e.g., Metal Hydrides, MOFs) |
|
|
| Characteristics | ICEV | FCEV | BEV |
|---|---|---|---|
| Reference vehicle | Volkswagen Golf VI | Honda FCX Clarity | Nissan Leaf |
| Fuel weight (kg) | 40.8 | 4.1 | 171 |
| Storage capacity (kWh) | 500 | 137 | 24 |
| Specific energy—fuel (Wh primary/kg) | 12,264 | 33,320 | 140 |
| Storage system weight (kg) | 48 | 93 | 300 |
| Specific energy—fuel + storage (Wh primary/kg) | 10,408 | 1469 | 80 |
| Net power (kW) | 90 | 100 | 80 |
| Power plant and auxiliary weight (kg) | 233 | 222 | 100 |
| Specific energy—total equipment (Wh primary/kg) | 1782 | 315 | 60 |
| Average conversion efficiency | 21% | 60% | 92% |
| Effective storage capacity (kWh usable) | 105.0 | 82.0 | 22.1 |
| Specific usable energy—total equipment (Wh usable/kg) | 374 | 260 | 55 |
| Case | Volume [L] | Initial Pressure [MPa] | Ending Pressure [MPa] | Ambient Temperature [K] | Hydrogen Inlet Temperature [K] | Filling Time [s] |
|---|---|---|---|---|---|---|
| P1–P6 | 367 | 5 | 95% SOC | 288 | 233 | 198 s |
| Aspect | Phenomena | Main Problems | Challenges |
|---|---|---|---|
| Permeability | Hydrogen diffusion in polymer liners (HDPE, PA6, multilayer solutions). | Gas leakage, efficiency loss and composite degradation. | Developing advanced liners (nanocomposites, multilayers) with lower permeation while maintaining low weight and cost. |
| Blistering | Gas cavities form under rapid decompression or thermal cycling. | Internal stresses, cracks and liner delamination. | Increasing liner purity, optimizing decompression protocols and integrating early detection methods. |
| Structural Strength and Adhesion | Tank integrity depends on liner–composite bonding and fiber–resin performance. | Delamination, microcracks, creep and adhesion loss. | Enhancing bonding with nanoparticles, multilayer concepts and stricter manufacturing control. |
| Thermal Effects in Refueling | Fast filling raises temperature (>85 °C), inducing local stresses. | Blistering, delamination and accelerated material fatigue. | Managing heat via pre-cooled H2, active cooling systems, advanced sensors and thermo-mechanical modeling. |
| Standard | Main Objective |
|---|---|
| UNECE R134 | Establishes uniform provisions concerning the approval of hydrogen and fuel-cell vehicles with regard to the safety of their hydrogen systems. |
| ISO 11439 | Provides requirements for the design, construction, and testing of high-pressure cylinders for the on-board storage of natural gas as a fuel for automotive vehicles. |
| ISO 19884 | Specifies safety requirements for gaseous hydrogen refueling stations, including design, construction, operation, and maintenance aspects. |
| UNI EN 12245 | Specifies requirements for fully wrapped composite cylinders for the storage of gases under pressure, including design, construction, and testing. |
| ISO 19881 | Defines requirements for the material, design, manufacture, marking, and testing of refillable containers intended for the storage of compressed hydrogen gas for land vehicle operation. |
| SAE J2579 | Outlines design, construction, operational, and maintenance requirements for hydrogen fuel storage and handling systems in on-road vehicles, emphasizing performance-based testing. |
Disclaimer/Publisher’s Note: The statements, opinions and data contained in all publications are solely those of the individual author(s) and contributor(s) and not of MDPI and/or the editor(s). MDPI and/or the editor(s) disclaim responsibility for any injury to people or property resulting from any ideas, methods, instructions or products referred to in the content. |
© 2025 by the authors. Licensee MDPI, Basel, Switzerland. This article is an open access article distributed under the terms and conditions of the Creative Commons Attribution (CC BY) license (https://creativecommons.org/licenses/by/4.0/).
Share and Cite
Piraino, F.; Pagnotta, L.; Corigliano, O.; Genovese, M.; Fragiacomo, P. Advances in Type IV Tanks for Safe Hydrogen Storage: Materials, Technologies and Challenges. Hydrogen 2025, 6, 80. https://doi.org/10.3390/hydrogen6040080
Piraino F, Pagnotta L, Corigliano O, Genovese M, Fragiacomo P. Advances in Type IV Tanks for Safe Hydrogen Storage: Materials, Technologies and Challenges. Hydrogen. 2025; 6(4):80. https://doi.org/10.3390/hydrogen6040080
Chicago/Turabian StylePiraino, Francesco, Leonardo Pagnotta, Orlando Corigliano, Matteo Genovese, and Petronilla Fragiacomo. 2025. "Advances in Type IV Tanks for Safe Hydrogen Storage: Materials, Technologies and Challenges" Hydrogen 6, no. 4: 80. https://doi.org/10.3390/hydrogen6040080
APA StylePiraino, F., Pagnotta, L., Corigliano, O., Genovese, M., & Fragiacomo, P. (2025). Advances in Type IV Tanks for Safe Hydrogen Storage: Materials, Technologies and Challenges. Hydrogen, 6(4), 80. https://doi.org/10.3390/hydrogen6040080

