Adaptive Hybrid Control for Bridge Cranes Under Model Mismatch and Wind Disturbance
Abstract
1. Introduction
- (1)
- Safety-Aware Dynamic Gain Scheduling: Distinct from conventional SMC strategies, a novel gain scheduling mechanism is designed within the SMC law. By introducing a swing-angle-based suppression factor, the controller dynamically attenuates the position tracking gain while boosting the anti-swing gain when the swing angle is substantial. This mechanism prioritizes system safety over positioning speed during transient disturbances, thereby physically constraining the swing amplitude.
- (2)
- Residual Compensation for Model Mismatch: Parameter uncertainty is addressed by employing the SMC as a baseline controller operating on nominal parameters. A TD3 agent is trained to observe state deviations arising from discrepancies between the nominal model and the physical environment (e.g., varying payload masses and friction). Subsequently, the agent generates compensatory control actions to eliminate steady-state errors and suppress continuous external wind disturbances.
- (3)
- Frequency-Domain Decoupling of Control Tasks: The proposed architecture achieves a decoupling of control objectives in the frequency domain. The high-gain SMC component dominates the transient phase, providing rapid response to suppress high-frequency oscillations and prevent the violation of maximum swing angle constraints. Conversely, the TD3 agent dominates the steady-state phase, offering precise low-frequency compensation against persistent wind disturbances and parameter drifts. This complementary mechanism reconciles the inherent conflict between the high gain required for disturbance rejection and the gentle actions necessary for precise positioning.
2. Model Establishment
3. Formulation of the Hybrid Control Strategy
3.1. Safety-Aware Dynamic Gain Sliding Mode Controller (DG-SMC)
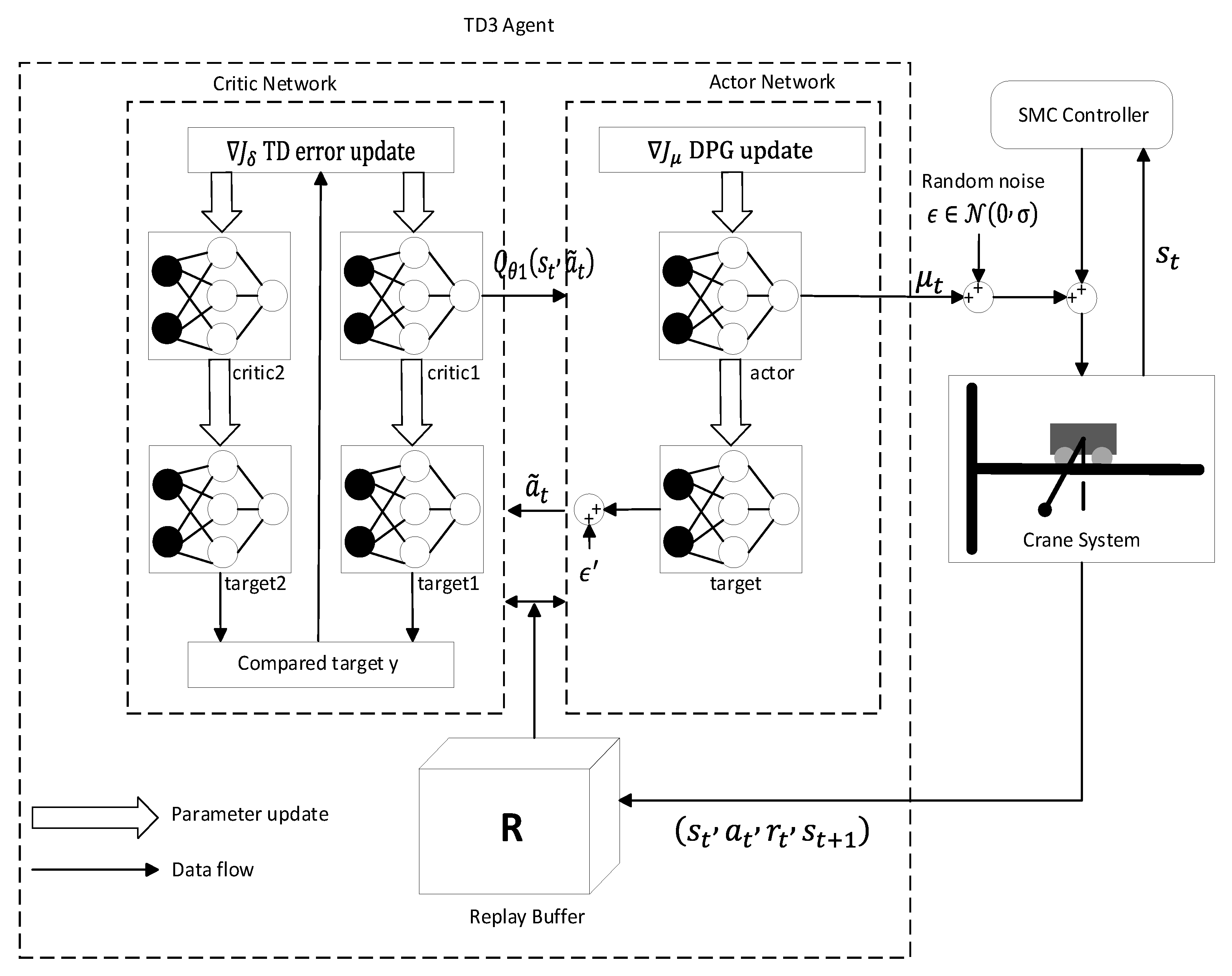
3.2. Design of a TD3-Based Intelligent Residual Compensator
3.3. Hybrid Control Architecture
- (1)
- Controller Setup: The DG-SMC is initialized with fixed nominal parameters.
- (2)
- Environment Randomization: Physical environment parameters are sampled from uniform distributions to simulate model mismatches.
- (3)
- External Disturbances: Random wind forces containing both mean components and Gaussian noise are continuously applied.
4. Simulation Experiments and Results Analysis
4.1. Simulation Setup
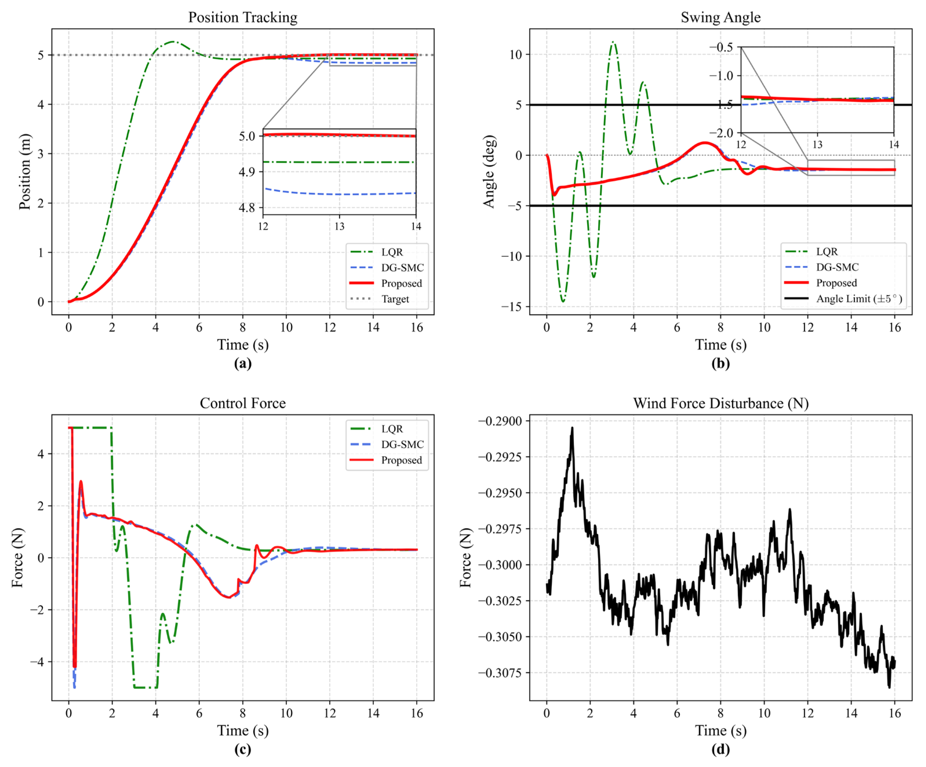
4.2. Performance at a Heavier Load and a Weaker Wind Disturbance
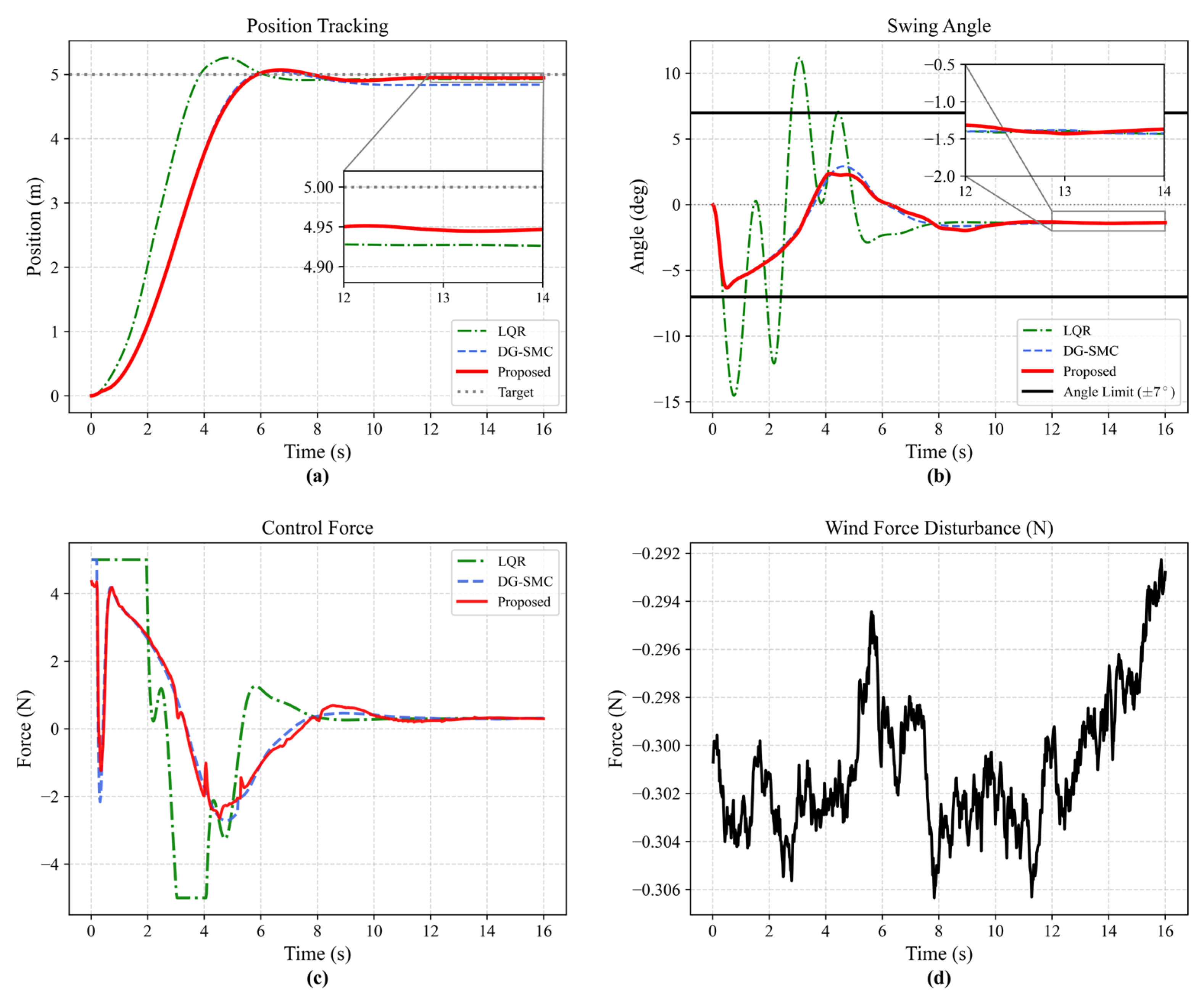
4.3. Performance at a Lighter Load and a Stronger Wind Disturbance
4.4. Sensitivity Analysis Under Different Payload Masses and Cable Lengths
4.5. Performance at a Tighten Swing Angle of ±5°
5. Conclusions
Author Contributions
Funding
Data Availability Statement
Acknowledgments
Conflicts of Interest
References
- Abdel-Rahman, E.M.; Nayfeh, A.H.; Masoud, Z.N. Dynamics and Control of Cranes: A Review. J. Vib. Control 2003, 9, 863–908. [Google Scholar]
- Ramli, L.; Mohamed, Z.; Abdullahi, A.M.; Jaafar, H.; Lazim, I.M. Control strategies for crane systems: A comprehensive review. Mech. Syst. Signal Process. 2017, 95, 1–23. [Google Scholar] [CrossRef]
- Fantoni, I.; Lozano, R. Non-Linear Control for Underactuated Mechanical Systems; Springer: New York, NY, USA, 2002. [Google Scholar]
- Sun, N.; Fang, Y.; Chen, H. A New Antiswing Control Method for Underactuated Cranes with Unmodeled Uncertainties: Theoretical Design and Hardware Experiments. IEEE Trans. Ind. Electron. 2015, 62, 453–465. [Google Scholar] [CrossRef]
- Yu, Z.; Niu, W. Flatness-based backstepping antisway control of underactuated crane systems under wind disturbance. Electronics 2023, 12, 244. [Google Scholar] [CrossRef]
- Tuan, L.A.; Lee, S.-G. Sliding mode controls of double-pendulum crane systems. J. Mech. Sci. Technol. 2013, 27, 1863–1873. [Google Scholar] [CrossRef]
- Zhihong, M.; O’Day, M.; Yu, X. A Robust Adaptive Terminal Sliding Mode Control for Rigid Robotic Manipulators. J. Intell. Robot. Syst. 1999, 24, 23–41. [Google Scholar] [CrossRef]
- Zhang, K.; Niu, W.; Zhang, K. Phase Plane Trajectory Planning for Double Pendulum Crane Anti-Sway Control. Algorithms 2025, 18, 246. [Google Scholar] [CrossRef]
- Huang, W.; Niu, W.; Gu, W. Double-step Acceleration Input Shaping Anti-sway Control Based on Phase Plane Trajectory Planning. Int. J. Control Autom. Syst. 2024, 22, 419–429. [Google Scholar] [CrossRef]
- Abdulhamid, I.B.; Muhammad, M.; Khaleel, A.I. Control of a Double Pendulum Crane System Using PSO-Tuned LQR; IEEE: Piscataway, NJ, USA, 2019. [Google Scholar] [CrossRef]
- Huang, W.; Lu, B.; Weng, C.; Niu, W. Improved waveform command shaping anti-sway control for arbitrary initial and terminal conditions. Mech. Syst. Signal Process. 2025, 241, 113547. [Google Scholar] [CrossRef]
- Solihin, M.I.; Akmeliawati, R.; Legowo, A. Robust feedback control design using PSO-based optimisation: A case study in gantry crane control. Int. J. Mechatron. Autom. 2011, 1, 121–131. [Google Scholar]
- Chen, H.; Fang, Y.; Sun, N. Optimal trajectory planning and tracking control method for overhead cranes. IET Control Theory Appl. 2016, 10, 692–699. [Google Scholar] [CrossRef]
- Huang, W.; Lu, B.; Weng, C.; Niu, W. Active disturbance rejection control with phase plane trajectory planning for overhead cranes. J. Sound Vib. 2025, 621, 119451. [Google Scholar] [CrossRef]
- Huang, W.; Niu, W.; Zhou, X.; Gu, W. Anti-sway control of variable rope length container crane based on phase plane trajectory planning. J. Vib. Control 2024, 30, 1227–1240. [Google Scholar]
- Ngo, Q.H. Adaptive sliding mode control of container cranes. IET Control Theory Appl. 2012, 6, 662–668. [Google Scholar] [CrossRef]
- Wang, P.-C.; Fang, Y.-C.; Jiang, Z.-Y. A Direct Swing Constraint-based Trajectory Planning Method for Underactuated Overhead Cranes. Acta Autom. Sin. 2014, 40, 2414–2419. [Google Scholar] [CrossRef]
- Lillicrap, T.P.; Hunt, J.J.; Pritzel, A.; Heess, N.; Erez, T.; Tassa, Y.; Silver, D. Continuous control with deep reinforcement learning. J. Intell. Learn. Syst. 2015, 8, A187. [Google Scholar] [CrossRef]
- Fujimoto, S.; Van Hoof, H.; Meger, D. Addressing Function Approximation Error in Actor-Critic Methods. arXiv 2018. [Google Scholar] [CrossRef]
- García, J.; Fernández, F. A comprehensive survey on safe reinforcement learning. J. Mach. Learn. Res. 2015, 16, 1437−1480. [Google Scholar]
- Berkenkamp, F.; Turchetta, M.; Schoellig, A.P.; Krause, A. Safe Model-based Reinforcement Learning with Stability Guarantees. arXiv 2017. [Google Scholar] [CrossRef]
- Hewing, L.; Wabersich, K.P.; Menner, M.; Zeilinger, M.N. Learning-Based Model Predictive Control: Toward Safe Learning in Control. Annu. Rev. Control Robot. Auton. Syst. 2020, 3, 269–296. [Google Scholar] [CrossRef]
- Johannink, T.; Bahl, S.; Nair, A.; Luo, J.; Kumar, A.; Loskyll, M.; Ojea, J.A.; Solowjow, E.; Levine, S. Residual Reinforcement Learning for Robot Control. arXiv 2018. [Google Scholar] [CrossRef]
- Silver, T.; Allen, K.; Tenenbaum, J.; Kaelbling, L. Residual Policy Learning. arXiv 2018. [Google Scholar] [CrossRef]








| Metric | DG-SMC | Proposed | Improvement |
|---|---|---|---|
| 0.1780 | 0.0623 | ||
| 0.3518 | 0.3096 | ||
| 11.86 | 10.58 | ||
| 2.1564 | 2.0982 |
Disclaimer/Publisher’s Note: The statements, opinions and data contained in all publications are solely those of the individual author(s) and contributor(s) and not of MDPI and/or the editor(s). MDPI and/or the editor(s) disclaim responsibility for any injury to people or property resulting from any ideas, methods, instructions or products referred to in the content. |
© 2026 by the authors. Licensee MDPI, Basel, Switzerland. This article is an open access article distributed under the terms and conditions of the Creative Commons Attribution (CC BY) license.
Share and Cite
Qiu, Y.; Xu, W.; Niu, W. Adaptive Hybrid Control for Bridge Cranes Under Model Mismatch and Wind Disturbance. Modelling 2026, 7, 37. https://doi.org/10.3390/modelling7010037
Qiu Y, Xu W, Niu W. Adaptive Hybrid Control for Bridge Cranes Under Model Mismatch and Wind Disturbance. Modelling. 2026; 7(1):37. https://doi.org/10.3390/modelling7010037
Chicago/Turabian StyleQiu, Yulong, Weimin Xu, and Wangqiang Niu. 2026. "Adaptive Hybrid Control for Bridge Cranes Under Model Mismatch and Wind Disturbance" Modelling 7, no. 1: 37. https://doi.org/10.3390/modelling7010037
APA StyleQiu, Y., Xu, W., & Niu, W. (2026). Adaptive Hybrid Control for Bridge Cranes Under Model Mismatch and Wind Disturbance. Modelling, 7(1), 37. https://doi.org/10.3390/modelling7010037

