Numerical and Geometric Analysis of Side-Wall Inclination Angle Effects on Longitudinal Hat-Stiffeners in Steel Plates
Abstract
1. Introduction
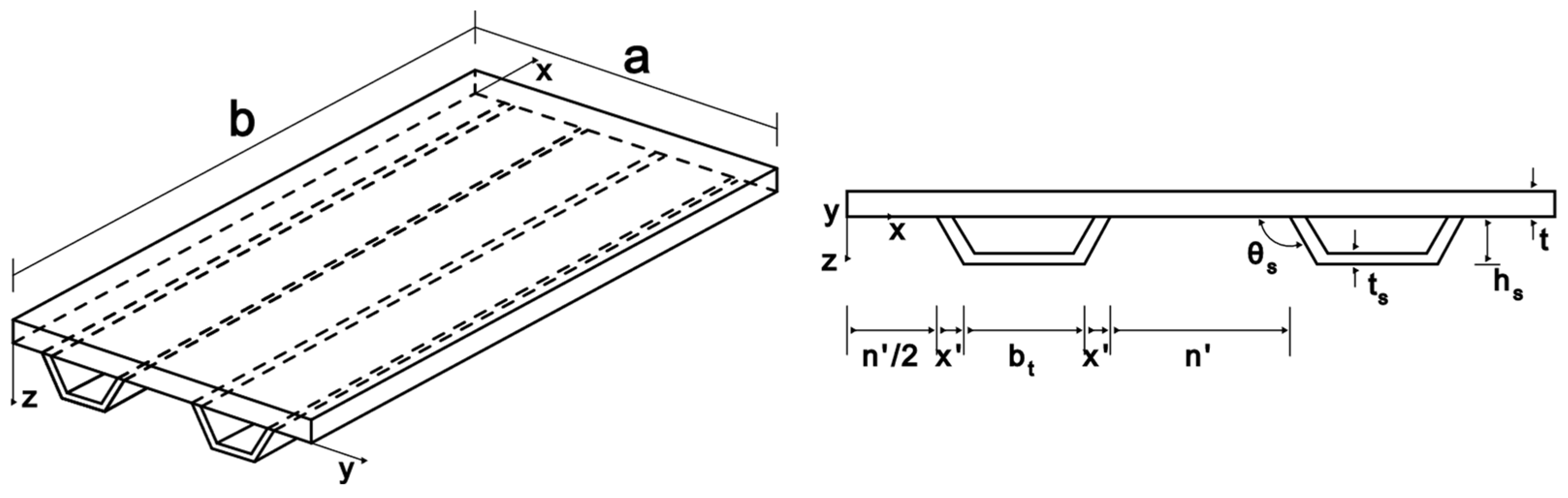
2. Materials and Methods
2.1. Materials
2.2. Methods
3. Results
3.1. Results of Validation and Verification of Computational Model
3.2. Results of Case Study
4. Discussion
4.1. Discussion of Validation and Verification of Computational Model
4.2. Discussion of Case Study
4.3. Comparison with Results Reported by Alves et al. [22]
4.4. The Study of the Moment of Inertia of the Geometries Found
5. Conclusions
- The application of the Constructal Design method together with exhaustive search proved to be an important tool for the evaluation and optimization of structures. While Constructal Design generates the search space (possible geometric configurations given the constraints and degrees of freedom), exhaustive search identifies the geometry that yields the best performance.
- The inclination angle of the side-wall of the hat-stiffener can influence its performance. Alves et al. [22] adopted θs = 120° and defined height levels. This difference allowed for a direct comparison of the results. The investigation developed in the present work identified a geometry that achieved an approximate 7.5% improvement over the best result obtained by Alves et al. [22] relative to the reference plate.
- The moment of inertia of the structure also strongly influences its performance regarding maximum displacements. Configurations exhibiting larger moments of inertia presented smaller deflections and taller stiffeners.
- Stiffener height emerges as an important parameter, since it shifts the structure’s centroid upward, enhancing the contribution of the minor base and the plate to the overall structural stiffness.
- A higher moment of inertia alone does not guarantee the best mechanical performance; while a sufficiently high value is important, other geometric characteristics of the hat-stiffened plate also play a crucial role in determining its overall behavior.
- The ideal combination of these factors leads to superior performance by promoting a more uniform distribution of displacements, which is in agreement with the Constructal principle.
- A significant increase in the mechanical resistance of steel plates was obtained by converting 30% of their volume into stiffeners. In this study, the improvement corresponded to a 93.72% reduction in the maximum deflections.
- Increasing the resistance to deflection of plates without increasing the amount of material can lead to cost reduction.
Author Contributions
Funding
Institutional Review Board Statement
Informed Consent Statement
Data Availability Statement
Acknowledgments
Conflicts of Interest
Appendix A
| θs (mm) | ts (mm) | y′ (mm) | hs (mm) | (mm) |
RD (%) | Ix (mm4) |
|---|---|---|---|---|---|---|
| 90 | 4.75 | 0 | 611.5789 | 0.0778 | −88.85 | 4.82 × 109 |
| 95 | 4.75 | 53.3026 | 609.2517 | 0.0654 | −90.63 | 5.02 × 109 |
| 100 | 4.75 | 106.1996 | 602.2877 | 0.0471 | −93.25 | 5.10 × 109 |
| 105 | 4.75 | 158.2883 | 590.7399 | 0.0438 | −93.72 | 5.06 × 109 |
| 110 | 4.75 | 209.1723 | 574.6962 | 0.0863 | −87.64 | 4.90 × 109 |
| 115 | 4.75 | 258.4644 | 554.2788 | 0.1549 | −77.79 | 4.64 × 109 |
| 120 | 4.75 | 305.7895 | 529.6429 | 0.2580 | −63.01 | 4.29 × 109 |
| 125 | 4.75 | 350.7873 | 500.9761 | 0.4166 | −40.27 | 3.86 × 109 |
| 130 | 4.75 | 393.1154 | 468.4967 | 0.6946 | −0.43 | 3.37 × 109 |
| 135 | 4.75 | 432.4516 | 432.4516 | 1.2555 | 79.98 | 2.85 × 109 |
| 140 | 4.75 | 468.4967 | 393.1154 | 1.8840 | 170.08 | 2.33 × 109 |
| 90 | 6.35 | 0 | 452.4409 | 0.0830 | −88.10 | 2.66 × 109 |
| 95 | 6.35 | 39.4328 | 450.7193 | 0.0739 | −89.40 | 2.77 × 109 |
| 100 | 6.35 | 78.5655 | 445.5674 | 0.0610 | −91.25 | 2.81 × 109 |
| 105 | 6.35 | 117.1003 | 437.0244 | 0.0489 | −92.99 | 2.79 × 109 |
| 110 | 6.35 | 154.7439 | 425.1554 | 0.0537 | −92.30 | 2.70 × 109 |
| 115 | 6.35 | 191.2098 | 410.0508 | 0.0842 | −87.93 | 2.56 × 109 |
| 120 | 6.35 | 226.2205 | 391.8254 | 0.1288 | −81.54 | 2.36 × 109 |
| 125 | 6.35 | 259.5095 | 370.6179 | 0.1900 | −72.76 | 2.12 × 109 |
| 130 | 6.35 | 290.8234 | 346.5899 | 0.2728 | −60.89 | 1.85 × 109 |
| 135 | 6.35 | 319.9241 | 319.9241 | 0.3851 | −44.79 | 1.57 × 109 |
| 140 | 6.35 | 346.5899 | 290.8234 | 0.5409 | −22.47 | 1.28 × 109 |
| 145 | 6.35 | 370.6179 | 259.5095 | 0.7559 | 8.37 | 9.95 × 108 |
| 90 | 8 | 0 | 355.0000 | 0.0899 | −87.11 | 1.65 × 109 |
| 95 | 8 | 30.9403 | 353.6491 | 0.0827 | −88.14 | 1.71 × 109 |
| 100 | 8 | 61.6451 | 349.6068 | 0.0733 | −89.49 | 1.74 × 109 |
| 105 | 8 | 91.8808 | 342.9037 | 0.0643 | −90.78 | 1.72 × 109 |
| 110 | 8 | 121.4172 | 333.5909 | 0.0576 | −91.74 | 1.67 × 109 |
| 115 | 8 | 150.0295 | 321.7393 | 0.0699 | −89.98 | 1.58 × 109 |
| 120 | 8 | 177.5000 | 307.4390 | 0.0950 | −86.38 | 1.46 × 109 |
| 125 | 8 | 203.6196 | 290.7990 | 0.1295 | −81.43 | 1.31 × 109 |
| 130 | 8 | 228.1896 | 271.9458 | 0.1750 | −74.91 | 1.14 × 109 |
| 135 | 8 | 251.0229 | 251.0229 | 0.2329 | −66.61 | 9.66 × 108 |
| 140 | 8 | 271.9458 | 228.1896 | 0.3098 | −55.59 | 7.86 × 108 |
| 145 | 8 | 290.7990 | 203.6196 | 0.4076 | −41.57 | 6.11 × 108 |
| 150 | 8 | 307.4390 | 177.5000 | 0.5321 | −23.72 | 4.50 × 108 |
| 90 | 9.53 | 0 | 294.7954 | 0.0978 | −85.98 | 1.14 × 109 |
| 95 | 9.53 | 25.6931 | 293.6736 | 0.0916 | −86.87 | 1.19 × 109 |
| 100 | 9.53 | 51.1907 | 290.3168 | 0.0844 | −87.91 | 1.20 × 109 |
| 105 | 9.53 | 76.2987 | 284.7505 | 0.0777 | −88.86 | 1.19 × 109 |
| 110 | 9.53 | 100.8260 | 277.0170 | 0.0731 | −89.52 | 1.15 × 109 |
| 115 | 9.53 | 124.5859 | 267.1754 | 0.0746 | −89.30 | 1.09 × 109 |
| 120 | 9.53 | 147.3977 | 255.3003 | 0.0924 | −86.76 | 1.01 × 109 |
| 125 | 9.53 | 169.0877 | 241.4822 | 0.1166 | −83.29 | 9.04 × 108 |
| 130 | 9.53 | 189.4908 | 225.8264 | 0.1483 | −78.74 | 7.88 × 108 |
| 135 | 9.53 | 208.4518 | 208.4518 | 0.1893 | −72.86 | 6.65 × 108 |
| 140 | 9.53 | 225.8264 | 189.4908 | 0.2417 | −65.35 | 5.41 × 108 |
| 145 | 9.53 | 241.4822 | 169.0877 | 0.3084 | −55.79 | 4.20 × 108 |
| 150 | 9.53 | 255.3003 | 147.3977 | 0.3929 | −43.68 | 3.09 × 108 |
| 90 | 12.7 | 0 | 216.2205 | 0.1188 | −82.98 | 6.15 × 108 |
| 95 | 12.7 | 18.8449 | 215.3977 | 0.1138 | −83.68 | 6.39 × 108 |
| 100 | 12.7 | 37.5463 | 212.9356 | 0.1096 | −84.29 | 6.48 × 108 |
| 105 | 12.7 | 55.9620 | 208.8529 | 0.1068 | −84.69 | 6.42 × 108 |
| 110 | 12.7 | 73.9518 | 203.1808 | 0.1063 | −84.76 | 6.21 × 108 |
| 115 | 12.7 | 91.3787 | 195.9623 | 0.1090 | −84.38 | 5.86 × 108 |
| 120 | 12.7 | 108.1102 | 187.2524 | 0.1188 | −82.97 | 5.40 × 108 |
| 125 | 12.7 | 124.0190 | 177.1174 | 0.1363 | −80.46 | 4.84 × 108 |
| 130 | 12.7 | 138.9838 | 165.6345 | 0.1589 | −77.22 | 4.21 × 108 |
| 135 | 12.7 | 152.8910 | 152.8910 | 0.1879 | −73.07 | 3.55 × 108 |
| 140 | 12.7 | 165.6345 | 138.9838 | 0.2247 | −67.79 | 2.87 × 108 |
| 145 | 12.7 | 177.1174 | 124.0190 | 0.2713 | −61.11 | 2.22 × 108 |
| 150 | 12.7 | 187.2524 | 108.1102 | 0.3301 | −52.68 | 1.63 × 108 |
| θs (mm) | ts (mm) | y′ (mm) | hs (mm) | (mm) |
RD (%) | Ix (mm4) |
|---|---|---|---|---|---|---|
| 90 | 4.75 | 0 | 295.7895 | 0.1347 | −80.69 | 1.22 × 109 |
| 95 | 4.75 | 25.7798 | 294.6639 | 0.1119 | −83.96 | 1.27 × 109 |
| 100 | 4.75 | 51.3633 | 291.2958 | 0.0936 | −86.59 | 1.29 × 109 |
| 105 | 4.75 | 76.5559 | 285.7107 | 0.0827 | −88.14 | 1.28 × 109 |
| 110 | 4.75 | 101.1660 | 277.9512 | 0.0800 | −88.53 | 1.24 × 109 |
| 115 | 4.75 | 125.0060 | 268.0763 | 0.0923 | −86.77 | 1.17 × 109 |
| 120 | 4.75 | 147.8947 | 256.1612 | 0.1065 | −84.74 | 1.08 × 109 |
| 125 | 4.75 | 169.6579 | 242.2966 | 0.1188 | −82.96 | 9.70 × 108 |
| 130 | 4.75 | 190.1298 | 226.5879 | 0.1248 | −82.11 | 8.46 × 108 |
| 135 | 4.75 | 209.1547 | 209.1547 | 0.1224 | −82.45 | 7.14 × 108 |
| 140 | 4.75 | 226.5879 | 190.1298 | 0.1190 | −82.94 | 5.80 × 108 |
| 90 | 6.35 | 0 | 216.2205 | 0.1755 | −74.84 | 6.63 × 108 |
| 95 | 6.35 | 18.8449 | 215.3977 | 0.1525 | −78.14 | 6.88 × 108 |
| 100 | 6.35 | 37.5463 | 212.9356 | 0.1346 | −80.70 | 6.98 × 108 |
| 105 | 6.35 | 55.9620 | 208.8529 | 0.1236 | −82.27 | 6.92 × 108 |
| 110 | 6.35 | 73.9518 | 203.1808 | 0.1174 | −83.17 | 6.69 × 108 |
| 115 | 6.35 | 91.3787 | 195.9623 | 0.1147 | −83.56 | 6.32 × 108 |
| 120 | 6.35 | 108.1102 | 187.2524 | 0.1210 | −82.66 | 5.82 × 108 |
| 125 | 6.35 | 124.0190 | 177.1174 | 0.1308 | −81.25 | 5.22 × 108 |
| 130 | 6.35 | 138.9838 | 165.6345 | 0.1407 | −79.83 | 4.55 × 108 |
| 135 | 6.35 | 152.8910 | 152.8910 | 0.1500 | −78.50 | 3.83 × 108 |
| 140 | 6.35 | 165.6345 | 138.9838 | 0.1589 | −77.22 | 3.11 × 108 |
| 145 | 6.35 | 177.1174 | 124.0190 | 0.1691 | −75.75 | 2.41 × 108 |
| 150 | 6.35 | 187.2524 | 108.1102 | 0.1846 | −73.54 | 1.76 × 108 |
| 90 | 8 | 0 | 167.5000 | 0.2222 | −68.15 | 4.02 × 108 |
| 95 | 8 | 14.5986 | 166.8626 | 0.2000 | −71.34 | 4.17 × 108 |
| 100 | 8 | 29.0861 | 164.9553 | 0.1821 | −73.90 | 4.23 × 108 |
| 105 | 8 | 43.3522 | 161.7926 | 0.1707 | −75.53 | 4.19 × 108 |
| 110 | 8 | 57.2884 | 157.3985 | 0.1639 | −76.51 | 4.05 × 108 |
| 115 | 8 | 70.7886 | 151.8066 | 0.1606 | −76.97 | 3.82 × 108 |
| 120 | 8 | 83.7500 | 145.0593 | 0.1602 | −77.03 | 3.51 × 108 |
| 125 | 8 | 96.0741 | 137.2080 | 0.1623 | −76.73 | 3.15 × 108 |
| 130 | 8 | 107.6669 | 128.3124 | 0.1669 | −76.08 | 2.73 × 108 |
| 135 | 8 | 118.4404 | 118.4404 | 0.1743 | −75.01 | 2.30 × 108 |
| 140 | 8 | 128.3124 | 107.6669 | 0.1859 | −73.36 | 1.86 × 108 |
| 145 | 8 | 137.2080 | 96.0741 | 0.2029 | −70.91 | 1.44 × 108 |
| 150 | 8 | 145.0593 | 83.7500 | 0.2294 | −67.12 | 1.05 × 108 |
| 90 | 9.53 | 0 | 137.3977 | 0.2688 | −61.46 | 2.72 × 108 |
| 95 | 9.53 | 11.9750 | 136.8749 | 0.2469 | −64.61 | 2.82 × 108 |
| 100 | 9.53 | 23.8589 | 135.3103 | 0.2288 | −67.20 | 2.86 × 108 |
| 105 | 9.53 | 35.5611 | 132.7160 | 0.2168 | −68.92 | 2.83 × 108 |
| 110 | 9.53 | 46.9928 | 129.1116 | 0.2096 | −69.96 | 2.73 × 108 |
| 115 | 9.53 | 58.0668 | 124.5246 | 0.2060 | −70.47 | 2.57 × 108 |
| 120 | 9.53 | 68.6988 | 118.9899 | 0.2055 | −70.54 | 2.37 × 108 |
| 125 | 9.53 | 78.8081 | 112.5496 | 0.2080 | −70.19 | 2.12 × 108 |
| 130 | 9.53 | 88.3175 | 105.2527 | 0.2134 | −69.40 | 1.84 × 108 |
| 135 | 9.53 | 97.1548 | 97.1548 | 0.2225 | −68.10 | 1.54 × 108 |
| 140 | 9.53 | 105.2527 | 88.3175 | 0.2365 | −66.09 | 1.24 × 108 |
| 145 | 9.53 | 112.5496 | 78.8081 | 0.2574 | −63.10 | 9.55 × 107 |
| 150 | 9.53 | 118.9899 | 68.6988 | 0.2885 | −58.65 | 6.92 × 107 |
| 85 | 12.7 | −8.5509 | 97.7369 | 0.3937 | −43.56 | 1.31 × 108 |
| 90 | 12.7 | 0 | 98.1102 | 0.3681 | −47.23 | 1.39 × 108 |
| 95 | 12.7 | 8.5509 | 97.7369 | 0.3459 | −50.42 | 1.44 × 108 |
| 100 | 12.7 | 17.0367 | 96.6197 | 0.3277 | −53.02 | 1.46 × 108 |
| 105 | 12.7 | 25.3928 | 94.7672 | 0.3147 | −54.89 | 1.44 × 108 |
| 110 | 12.7 | 33.5557 | 92.1935 | 0.3065 | −56.07 | 1.39 × 108 |
| 115 | 12.7 | 41.4632 | 88.9181 | 0.3025 | −56.63 | 1.30 × 108 |
| 120 | 12.7 | 49.0551 | 84.9660 | 0.3023 | −56.66 | 1.19 × 108 |
| 125 | 12.7 | 56.2737 | 80.3672 | 0.3060 | −56.13 | 1.06 × 108 |
| 130 | 12.7 | 63.0640 | 75.1568 | 0.3141 | −54.98 | 9.20 × 107 |
| 135 | 12.7 | 69.3744 | 69.3744 | 0.3271 | −53.11 | 7.67 × 107 |
| 140 | 12.7 | 75.1568 | 63.0640 | 0.3466 | −50.31 | 6.14 × 107 |
| 145 | 12.7 | 80.3672 | 56.2737 | 0.3746 | −46.30 | 4.68 × 107 |
| 150 | 12.7 | 84.9660 | 49.0551 | 0.4143 | −40.61 | 3.35 × 107 |
| θs (mm) | ts (mm) | y′ (mm) | hs (mm) | (mm) |
RD (%) | Ix (mm4) |
|---|---|---|---|---|---|---|
| 90 | 4.75 | 0 | 190.5263 | 0.1616 | −76.83 | 5.50 × 108 |
| 95 | 4.75 | 16.6055 | 189.8013 | 0.1517 | −78.26 | 5.72 × 108 |
| 100 | 4.75 | 33.0845 | 187.6318 | 0.1423 | −79.60 | 5.80 × 108 |
| 105 | 4.75 | 49.3118 | 184.0343 | 0.1355 | −80.58 | 5.75 × 108 |
| 110 | 4.75 | 65.1638 | 179.0362 | 0.1303 | −81.33 | 5.56 × 108 |
| 115 | 4.75 | 80.5199 | 172.6755 | 0.1259 | −81.96 | 5.26 × 108 |
| 120 | 4.75 | 95.2632 | 165.0006 | 0.1219 | −82.53 | 4.84 × 108 |
| 125 | 4.75 | 109.2814 | 156.0700 | 0.1183 | −83.04 | 4.34 × 108 |
| 130 | 4.75 | 122.4680 | 145.9516 | 0.1163 | −83.32 | 3.78 × 108 |
| 135 | 4.75 | 134.7224 | 134.7224 | 0.1183 | −83.05 | 3.18 × 108 |
| 85 | 6.35 | −11.9822 | 136.9572 | 0.2568 | −63.19 | 2.76 × 108 |
| 90 | 6.35 | 0 | 137.4803 | 0.2461 | −64.72 | 2.93 × 108 |
| 95 | 6.35 | 11.9822 | 136.9572 | 0.2295 | −67.10 | 3.04 × 108 |
| 100 | 6.35 | 23.8732 | 135.3917 | 0.2135 | −69.39 | 3.08 × 108 |
| 105 | 6.35 | 35.5825 | 132.7958 | 0.2015 | −71.11 | 3.05 × 108 |
| 110 | 6.35 | 47.0210 | 129.1892 | 0.1928 | −72.36 | 2.95 × 108 |
| 115 | 6.35 | 58.1017 | 124.5995 | 0.1867 | −73.24 | 2.78 × 108 |
| 120 | 6.35 | 68.7402 | 119.0614 | 0.1828 | −73.79 | 2.56 × 108 |
| 125 | 6.35 | 78.8555 | 112.6173 | 0.1815 | −73.98 | 2.29 × 108 |
| 130 | 6.35 | 88.3706 | 105.3160 | 0.1833 | −73.72 | 1.99 × 108 |
| 135 | 6.35 | 97.2133 | 97.2133 | 0.1893 | −72.87 | 1.67 × 108 |
| 140 | 6.35 | 105.3160 | 88.3706 | 0.2009 | −71.20 | 1.35 × 108 |
| 145 | 6.35 | 112.6173 | 78.8555 | 0.2209 | −68.34 | 1.04 × 108 |
| 150 | 6.35 | 119.0614 | 68.7402 | 0.2530 | −63.73 | 7.53 × 107 |
| 85 | 8 | −9.1514 | 104.6004 | 0.3493 | −49.93 | 1.64 × 108 |
| 90 | 8 | 0 | 105.0000 | 0.3306 | −52.60 | 1.74 × 108 |
| 95 | 8 | 9.1514 | 104.6004 | 0.3090 | −55.70 | 1.80 × 108 |
| 100 | 8 | 18.2331 | 103.4048 | 0.2884 | −58.66 | 1.83 × 108 |
| 105 | 8 | 27.1760 | 101.4222 | 0.2724 | −60.95 | 1.80 × 108 |
| 110 | 8 | 35.9121 | 98.6677 | 0.2608 | −62.62 | 1.74 × 108 |
| 115 | 8 | 44.3749 | 95.1623 | 0.2529 | −63.75 | 1.64 × 108 |
| 120 | 8 | 52.5000 | 90.9327 | 0.2487 | −64.35 | 1.50 × 108 |
| 125 | 8 | 60.2255 | 86.0110 | 0.2483 | −64.41 | 1.34 × 108 |
| 130 | 8 | 67.4927 | 80.4347 | 0.2521 | −63.86 | 1.16 × 108 |
| 135 | 8 | 74.2462 | 74.2462 | 0.2613 | −62.54 | 9.73 × 107 |
| 140 | 8 | 80.4347 | 67.4927 | 0.2772 | −60.26 | 7.82 × 107 |
| 145 | 8 | 86.0110 | 60.2255 | 0.3022 | −56.68 | 5.99 × 107 |
| 150 | 8 | 90.9327 | 52.5000 | 0.3394 | −51.35 | 4.32 × 107 |
| 85 | 9.53 | −7.4023 | 84.6086 | 0.4281 | −38.63 | 1.09 × 108 |
| 90 | 9.53 | 0 | 84.9318 | 0.4031 | −42.21 | 1.15 × 108 |
| 95 | 9.53 | 7.4023 | 84.6086 | 0.3781 | −45.80 | 1.19 × 108 |
| 100 | 9.53 | 14.7483 | 83.6415 | 0.3552 | −49.08 | 1.21 × 108 |
| 105 | 9.53 | 21.9820 | 82.0378 | 0.3369 | −51.71 | 1.19 × 108 |
| 110 | 9.53 | 29.0484 | 79.8098 | 0.3235 | −53.63 | 1.15 × 108 |
| 115 | 9.53 | 35.8937 | 76.9743 | 0.3146 | −54.89 | 1.08 × 108 |
| 120 | 9.53 | 42.4659 | 73.5531 | 0.3102 | −55.53 | 9.87 × 107 |
| 125 | 9.53 | 48.7149 | 69.5721 | 0.3104 | −55.50 | 8.79 × 107 |
| 130 | 9.53 | 54.5931 | 65.0615 | 0.3157 | −54.75 | 7.59 × 107 |
| 135 | 9.53 | 60.0558 | 60.0558 | 0.3270 | −53.12 | 6.33 × 107 |
| 140 | 9.53 | 65.0615 | 54.5931 | 0.3457 | −50.45 | 5.06 × 107 |
| 145 | 9.53 | 69.5721 | 48.7149 | 0.3737 | −46.43 | 3.85 × 107 |
| 150 | 9.53 | 73.5531 | 42.4659 | 0.4138 | −40.68 | 2.76 × 107 |
| 80 | 12.7 | −10.2001 | 57.8478 | 0.6005 | −13.91 | 4.84 × 107 |
| 85 | 12.7 | −5.1195 | 58.5166 | 0.5636 | −19.21 | 5.26 × 107 |
| 90 | 12.7 | 0 | 58.7402 | 0.5319 | −23.75 | 5.56 × 107 |
| 95 | 12.7 | 5.1195 | 58.5166 | 0.5041 | −27.74 | 5.74 × 107 |
| 100 | 12.7 | 10.2001 | 57.8478 | 0.4803 | −31.15 | 5.79 × 107 |
| 105 | 12.7 | 15.2031 | 56.7386 | 0.4613 | −33.87 | 5.70 × 107 |
| 110 | 12.7 | 20.0903 | 55.1977 | 0.4474 | −35.86 | 5.47 × 107 |
| 115 | 12.7 | 24.8247 | 53.2367 | 0.4389 | −37.09 | 5.13 × 107 |
| 120 | 12.7 | 29.3701 | 50.8705 | 0.4356 | −37.56 | 4.67 × 107 |
| 125 | 12.7 | 33.6920 | 48.1171 | 0.4379 | −37.23 | 4.14 × 107 |
| 130 | 12.7 | 37.7574 | 44.9976 | 0.4463 | −36.03 | 3.55 × 107 |
| 135 | 12.7 | 41.5356 | 41.5356 | 0.4613 | −33.87 | 2.93 × 107 |
| 140 | 12.7 | 44.9976 | 37.7574 | 0.4842 | −30.59 | 2.32 × 107 |
| 145 | 12.7 | 48.1171 | 33.6920 | 0.5164 | −25.98 | 1.74 × 107 |
| 150 | 12.7 | 50.8705 | 29.3701 | 0.5594 | −19.81 | 1.22 × 107 |
| θs (mm) | ts (mm) | y′ (mm) | hs (mm) | (mm) |
RD (%) | Ix (mm4) |
|---|---|---|---|---|---|---|
| 90 | 4.75 | 0 | 137.8947 | 0.2501 | −64.15 | 3.08 × 108 |
| 95 | 4.75 | 12.0183 | 137.3700 | 0.2294 | −67.11 | 3.20 × 108 |
| 100 | 4.75 | 23.9452 | 135.7998 | 0.2079 | −70.20 | 3.25 × 108 |
| 105 | 4.75 | 35.6898 | 133.1961 | 0.1902 | −72.73 | 3.22 × 108 |
| 110 | 4.75 | 47.1628 | 129.5787 | 0.1761 | −74.75 | 3.11 × 108 |
| 115 | 4.75 | 58.2768 | 124.9751 | 0.1653 | −76.31 | 2.94 × 108 |
| 120 | 4.75 | 68.9474 | 119.4203 | 0.1577 | −77.39 | 2.70 × 108 |
| 125 | 4.75 | 79.0932 | 112.9568 | 0.1539 | −77.94 | 2.42 × 108 |
| 130 | 4.75 | 88.6370 | 105.6335 | 0.1548 | −77.81 | 2.10 × 108 |
| 135 | 4.75 | 97.5063 | 97.5063 | 0.1619 | −76.79 | 1.76 × 108 |
| 85 | 6.35 | −8.5509 | 97.7369 | 0.3779 | −45.83 | 1.52 × 108 |
| 90 | 6.35 | 0 | 98.1102 | 0.3564 | −48.91 | 1.61 × 108 |
| 95 | 6.35 | 8.5509 | 97.7369 | 0.3280 | −52.98 | 1.67 × 108 |
| 100 | 6.35 | 17.0367 | 96.6197 | 0.3002 | −56.97 | 1.69 × 108 |
| 105 | 6.35 | 25.3928 | 94.7672 | 0.2779 | −60.16 | 1.67 × 108 |
| 110 | 6.35 | 33.5557 | 92.1935 | 0.2610 | −62.58 | 1.61 × 108 |
| 115 | 6.35 | 41.4632 | 88.9181 | 0.2492 | −64.28 | 1.52 × 108 |
| 120 | 6.35 | 49.0551 | 84.9660 | 0.2422 | −65.28 | 1.40 × 108 |
| 125 | 6.35 | 56.2737 | 80.3672 | 0.2402 | −65.57 | 1.25 × 108 |
| 130 | 6.35 | 63.0640 | 75.1568 | 0.2437 | −65.07 | 1.08 × 108 |
| 135 | 6.35 | 69.3744 | 69.3744 | 0.2537 | −63.63 | 9.02 × 107 |
| 140 | 6.35 | 75.1568 | 63.0640 | 0.2717 | −61.05 | 7.25 × 107 |
| 145 | 6.35 | 80.3672 | 56.2737 | 0.3001 | −56.97 | 5.55 × 107 |
| 150 | 6.35 | 84.9660 | 49.0551 | 0.3425 | −50.90 | 4.00 × 107 |
| 80 | 8 | −12.8066 | 72.6296 | 0.5194 | −25.55 | 8.15 × 107 |
| 85 | 8 | −6.4277 | 73.4694 | 0.4834 | −30.70 | 8.85 × 107 |
| 90 | 8 | 0 | 73.7500 | 0.4524 | −35.14 | 9.38 × 107 |
| 95 | 8 | 6.4277 | 73.4694 | 0.4206 | −39.70 | 9.70 × 107 |
| 100 | 8 | 12.8066 | 72.6296 | 0.3912 | −43.92 | 9.79 × 107 |
| 105 | 8 | 19.0879 | 71.2370 | 0.3673 | −47.35 | 9.66 × 107 |
| 110 | 8 | 25.2240 | 69.3023 | 0.3496 | −49.88 | 9.30 × 107 |
| 115 | 8 | 31.1681 | 66.8402 | 0.3378 | −51.58 | 8.74 × 107 |
| 120 | 8 | 36.8750 | 63.8694 | 0.3318 | −52.43 | 8.00 × 107 |
| 125 | 8 | 42.3013 | 60.4125 | 0.3317 | −52.45 | 7.12 × 107 |
| 130 | 8 | 47.4056 | 56.4958 | 0.3381 | −51.54 | 6.14 × 107 |
| 135 | 8 | 52.1491 | 52.1491 | 0.3515 | −49.60 | 5.11 × 107 |
| 140 | 8 | 56.4958 | 47.4056 | 0.3736 | −46.44 | 4.08 × 107 |
| 145 | 8 | 60.4125 | 42.3013 | 0.4062 | −41.77 | 3.10 × 107 |
| 150 | 8 | 63.8694 | 36.8750 | 0.4515 | −35.27 | 2.21 × 107 |
| 80 | 9.53 | −10.1929 | 57.8071 | 0.6060 | −13.13 | 5.28 × 107 |
| 85 | 9.53 | −5.1159 | 58.4755 | 0.5657 | −18.91 | 5.73 × 107 |
| 90 | 9.53 | 0 | 58.6988 | 0.5305 | −23.96 | 6.06 × 107 |
| 95 | 9.53 | 5.1159 | 58.4755 | 0.4979 | −28.63 | 6.25 × 107 |
| 100 | 9.53 | 10.1929 | 57.8071 | 0.4692 | −32.74 | 6.30 × 107 |
| 105 | 9.53 | 15.1924 | 56.6987 | 0.4459 | −36.07 | 6.21 × 107 |
| 110 | 9.53 | 20.0762 | 55.1589 | 0.4289 | −38.52 | 5.96 × 107 |
| 115 | 9.53 | 24.8072 | 53.1992 | 0.4181 | −40.07 | 5.59 × 107 |
| 120 | 9.53 | 29.3494 | 50.8347 | 0.4133 | −40.76 | 5.10 × 107 |
| 125 | 9.53 | 33.6683 | 48.0833 | 0.4149 | −40.52 | 4.53 × 107 |
| 130 | 9.53 | 37.7309 | 44.9659 | 0.4233 | −39.33 | 3.89 × 107 |
| 135 | 9.53 | 41.5064 | 41.5064 | 0.4389 | −37.08 | 3.22 × 107 |
| 140 | 9.53 | 44.9659 | 37.7309 | 0.4632 | −33.61 | 2.56 × 107 |
| 145 | 9.53 | 48.0833 | 33.6683 | 0.4973 | −28.70 | 1.93 × 107 |
| 150 | 9.53 | 50.8347 | 29.3494 | 0.5430 | −22.15 | 1.36 × 107 |
| 75 | 12.7 | −10.1082 | 37.7243 | 0.7834 | 12.30 | 2.17 × 107 |
| 80 | 12.7 | −6.7819 | 38.4618 | 0.7377 | 5.75 | 2.41 × 107 |
| 85 | 12.7 | −3.4039 | 38.9065 | 0.6982 | 0.09 | 2.61 × 107 |
| 90 | 12.7 | 0 | 39.0551 | 0.6643 | −4.78 | 2.75 × 107 |
| 95 | 12.7 | 3.4039 | 38.9065 | 0.6350 | −8.97 | 2.83 × 107 |
| 100 | 12.7 | 6.7819 | 38.4618 | 0.6109 | −12.42 | 2.84 × 107 |
| 105 | 12.7 | 10.1082 | 37.7243 | 0.5923 | −15.09 | 2.79 × 107 |
| 110 | 12.7 | 13.3576 | 36.6998 | 0.5792 | −16.98 | 2.67 × 107 |
| 115 | 12.7 | 16.5054 | 35.3960 | 0.5717 | −18.04 | 2.48 × 107 |
| 120 | 12.7 | 19.5276 | 33.8227 | 0.5704 | −18.24 | 2.25 × 107 |
| 125 | 12.7 | 22.4011 | 31.9921 | 0.5753 | −17.53 | 1.98 × 107 |
| 130 | 12.7 | 25.1041 | 29.9180 | 0.5866 | −15.91 | 1.69 × 107 |
| 135 | 12.7 | 27.6161 | 27.6161 | 0.6047 | −13.32 | 1.38 × 107 |
| 140 | 12.7 | 29.9180 | 25.1041 | 0.6304 | −9.63 | 1.08 × 107 |
| 145 | 12.7 | 31.9921 | 22.4011 | 0.6642 | −4.78 | 8.01 × 106 |
| 150 | 12.7 | 33.8227 | 19.5276 | 0.7070 | 1.35 | 5.53 × 106 |
| θs (mm) | ts (mm) | y′ (mm) | hs (mm) | (mm) |
RD (%) | Ix (mm4) |
|---|---|---|---|---|---|---|
| 85 | 4.75 | −9.2660 | 105.9112 | 0.350849 | −49.70 | 1.83 × 108 |
| 90 | 4.75 | 0 | 106.3158 | 0.335148 | −51.96 | 1.95 × 108 |
| 95 | 4.75 | 9.2660 | 105.9112 | 0.3055 | −56.20 | 2.02 × 108 |
| 100 | 4.75 | 18.4615 | 104.7006 | 0.2755 | −60.51 | 2.05 × 108 |
| 105 | 4.75 | 27.5166 | 102.6932 | 0.2513 | −63.98 | 2.02 × 108 |
| 110 | 4.75 | 36.3621 | 99.9042 | 0.2327 | −66.65 | 1.96 × 108 |
| 115 | 4.75 | 44.9310 | 96.3548 | 0.2191 | −68.59 | 1.84 × 108 |
| 120 | 4.75 | 53.1579 | 92.0722 | 0.2106 | −69.81 | 1.69 × 108 |
| 125 | 4.75 | 60.9802 | 87.0888 | 0.2074 | −70.27 | 1.51 × 108 |
| 130 | 4.75 | 68.3385 | 81.4426 | 0.2101 | −69.88 | 1.31 × 108 |
| 135 | 4.75 | 75.1766 | 75.1766 | 0.2204 | −68.41 | 1.10 × 108 |
| 80 | 6.35 | −12.9347 | 73.3565 | 0.5189 | −25.61 | 8.68 × 107 |
| 85 | 6.35 | −6.4921 | 74.2047 | 0.4838 | −30.64 | 9.44 × 107 |
| 90 | 6.35 | 0 | 74.4882 | 0.4529 | −35.08 | 1.00 × 108 |
| 95 | 6.35 | 6.4921 | 74.2047 | 0.4176 | −40.13 | 1.03 × 108 |
| 100 | 6.35 | 12.9347 | 73.3565 | 0.3842 | −44.92 | 1.05 × 108 |
| 105 | 6.35 | 19.2790 | 71.9501 | 0.3572 | −48.80 | 1.03 × 108 |
| 110 | 6.35 | 25.4765 | 69.9960 | 0.3371 | −51.67 | 9.94 × 107 |
| 115 | 6.35 | 31.4801 | 67.5092 | 0.3235 | −53.63 | 9.34 × 107 |
| 120 | 6.35 | 37.2441 | 64.5087 | 0.3161 | −54.68 | 8.56 × 107 |
| 125 | 6.35 | 42.7247 | 61.0172 | 0.3150 | −54.84 | 7.62 × 107 |
| 130 | 6.35 | 47.8801 | 57.0613 | 0.3207 | −54.02 | 6.58 × 107 |
| 135 | 6.35 | 52.6711 | 52.6711 | 0.3340 | −52.12 | 5.48 × 107 |
| 140 | 6.35 | 57.0613 | 47.8801 | 0.3563 | −48.93 | 4.39 × 107 |
| 145 | 6.35 | 61.0172 | 42.7247 | 0.3896 | −44.14 | 3.34 × 107 |
| 150 | 6.35 | 64.5087 | 37.2441 | 0.4368 | −37.38 | 2.39 × 107 |
| 80 | 8 | −9.5506 | 54.1644 | 0.6345 | −9.04 | 4.95 × 107 |
| 85 | 8 | −4.7936 | 54.7907 | 0.5919 | −15.15 | 5.36 × 107 |
| 90 | 8 | 0 | 55.0000 | 0.5539 | −20.59 | 5.67 × 107 |
| 95 | 8 | 4.7936 | 54.7907 | 0.5179 | −25.75 | 5.85 × 107 |
| 100 | 8 | 9.5506 | 54.1644 | 0.4859 | −30.35 | 5.90 × 107 |
| 105 | 8 | 14.2350 | 53.1259 | 0.4599 | −34.07 | 5.80 × 107 |
| 110 | 8 | 18.8111 | 51.6831 | 0.4406 | −36.84 | 5.58 × 107 |
| 115 | 8 | 23.2440 | 49.8469 | 0.4282 | −38.62 | 5.23 × 107 |
| 120 | 8 | 27.5000 | 47.6314 | 0.4223 | −39.47 | 4.77 × 107 |
| 125 | 8 | 31.5467 | 45.0534 | 0.4230 | −39.35 | 4.23 × 107 |
| 130 | 8 | 35.3533 | 42.1324 | 0.4310 | −38.22 | 3.63 × 107 |
| 135 | 8 | 38.8909 | 38.8909 | 0.4465 | −35.99 | 3.01 × 107 |
| 140 | 8 | 42.1324 | 35.3533 | 0.4706 | −32.53 | 2.39 × 107 |
| 145 | 8 | 45.0534 | 31.5467 | 0.5046 | −27.67 | 1.80 × 107 |
| 150 | 8 | 47.6314 | 27.5000 | 0.5498 | −21.18 | 1.28 × 107 |
| 75 | 9.53 | −11.1186 | 41.4953 | 0.7668 | 9.92 | 2.82 × 107 |
| 80 | 9.53 | −7.4598 | 42.3064 | 0.7161 | 2.66 | 3.13 × 107 |
| 85 | 9.53 | −3.7441 | 42.7956 | 0.6721 | −3.65 | 3.38 × 107 |
| 90 | 9.53 | 0 | 42.9591 | 0.6335 | −9.19 | 3.57 × 107 |
| 95 | 9.53 | 3.7441 | 42.7956 | 0.5992 | −14.11 | 3.67 × 107 |
| 100 | 9.53 | 7.4598 | 42.3064 | 0.5698 | −18.32 | 3.69 × 107 |
| 105 | 9.53 | 11.1186 | 41.4953 | 0.5463 | −21.69 | 3.63 × 107 |
| 110 | 9.53 | 14.6929 | 40.3683 | 0.5290 | −24.16 | 3.47 × 107 |
| 115 | 9.53 | 18.1553 | 38.9341 | 0.5181 | −25.72 | 3.25 × 107 |
| 120 | 9.53 | 21.4795 | 37.2037 | 0.5137 | −26.36 | 2.95 × 107 |
| 125 | 9.53 | 24.6403 | 35.1900 | 0.5159 | −26.05 | 2.61 × 107 |
| 130 | 9.53 | 27.6136 | 32.9086 | 0.5248 | −24.77 | 2.23 × 107 |
| 135 | 9.53 | 30.3767 | 30.3767 | 0.5408 | −22.47 | 1.84 × 107 |
| 140 | 9.53 | 32.9086 | 27.6136 | 0.5647 | −19.05 | 1.45 × 107 |
| 145 | 9.53 | 35.1900 | 24.6403 | 0.5971 | −14.40 | 1.08 × 107 |
| 150 | 9.53 | 37.2037 | 21.4795 | 0.6387 | −8.44 | 7.55 × 106 |
| 75 | 12.7 | −7.0513 | 26.3158 | 0.8760 | 25.57 | 1.21 × 107 |
| 80 | 12.7 | −4.7309 | 26.8302 | 0.8340 | 19.56 | 1.34 × 107 |
| 85 | 12.7 | −2.3745 | 27.1404 | 0.7973 | 14.30 | 1.44 × 107 |
| 90 | 12.7 | 0 | 27.2441 | 0.7656 | 9.76 | 1.51 × 107 |
| 95 | 12.7 | 2.3745 | 27.1404 | 0.7388 | 5.90 | 1.55 × 107 |
| 100 | 12.7 | 4.7309 | 26.8302 | 0.7167 | 2.75 | 1.55 × 107 |
| 105 | 12.7 | 7.0513 | 26.3158 | 0.6998 | 0.31 | 1.52 × 107 |
| 110 | 12.7 | 9.3180 | 25.6011 | 0.6879 | −1.38 | 1.45 × 107 |
| 115 | 12.7 | 11.5139 | 24.6915 | 0.6814 | −2.32 | 1.34 × 107 |
| 120 | 12.7 | 13.6220 | 23.5941 | 0.6802 | −2.50 | 1.21 × 107 |
| 125 | 12.7 | 15.6266 | 22.3171 | 0.6844 | −1.88 | 1.06 × 107 |
| 130 | 12.7 | 17.5122 | 20.8702 | 0.6943 | −0.47 | 8.93 × 106 |
| 135 | 12.7 | 19.2645 | 19.2645 | 0.7099 | 1.77 | 7.25 × 106 |
| 140 | 12.7 | 20.8702 | 17.5122 | 0.7315 | 4.86 | 5.62 × 106 |
| 145 | 12.7 | 22.3171 | 15.6266 | 0.7592 | 8.83 | 4.12 × 106 |
| 150 | 12.7 | 23.5941 | 13.6220 | 0.7930 | 13.68 | 2.83 × 106 |
References
- Szilard, R. Theories and Applications of Plate Analysis: Classical, Numerical and Engineering Methods; Wiley: Hoboken, NJ, USA, 2004. [Google Scholar] [CrossRef]
- Li, B.; Gong, Y.; Gao, Y.; Hou, M.; Li, L. Failure Analysis of Hat-Stringer-Stiffened Aircraft Composite Panels under Four-Point Bending Loading. Materials 2022, 15, 2430. [Google Scholar] [CrossRef] [PubMed]
- Ventsel, E.; Krauthammer, T. Thin Plates and Shells: Theory: Analysis, and Applications; CRC Press: Boca Raton, FL, USA, 2001. [Google Scholar] [CrossRef]
- Bedair, O.K. A Contribution to the Stability of Stiffened Plates under Uniform Compression. Comput. Struct. 1998, 66, 535–570. [Google Scholar] [CrossRef]
- Wu, H.; Liew, A.; Van Mele, T.; Block, P. Analysis and Optimisation of a Rib-Stiffened Vaulted Floor for Dynamic Performance. Eng. Struct. 2020, 213, 110577. [Google Scholar] [CrossRef]
- Lukas, I.; Timmers, R.; Lang, R. Eurocode-Based Design Proposal for Non-Continuously Stiffened Steel Panels Subjected to Uniform Compression. J. Constr. Steel Res. 2025, 228, 109423. [Google Scholar] [CrossRef]
- Rodrigues, F.; Vellasco, P.C.G.d.S.; de Lima, L.R.O.; da Silva, A.T. Structural Assessment of Stainless Steel Stiffened Panels. Structures 2023, 57, 105162. [Google Scholar] [CrossRef]
- Soares, S.C.R.; Silva, G.C.; Fonseca, E.M.M. Computational Methodology for the Development of Wrinkled Tubes by Plastic Deformation. Appl. Sci. 2024, 14, 11126. [Google Scholar] [CrossRef]
- Gudmundsson, S. Aircraft Structural Layout. In General Aviation Aircraft Design; Butterworth-Heinemann: Oxford, UK, 2022; pp. 113–146. [Google Scholar]
- Straffelini, G. Sheet Metal Forming Operations. In Ductility and Formability of Metals; Springer: Cham, Switzerland, 2023; pp. 377–404. [Google Scholar]
- Starman, B.; Cafuta, G.; Mole, N. A Method for Simultaneous Optimization of Blank Shape and Forming Tool Geometry in Sheet Metal Forming Simulations. Metals 2021, 11, 544. [Google Scholar] [CrossRef]
- Mithu, M.A.H.; Karim, M.A.; Taj, F.A.; Rahman, A. Predicting Springback in V-Bending: Effects of Load, Load Holding Time, and Heat Treatment on Common Sheet-Metal Forming Operations. Mater. Today Commun. 2025, 43, 111668. [Google Scholar] [CrossRef]
- Shi, G.-J.; Ji, Y.-H.; Xu, J.-B.; Wang, D.-Y.; Xu, Z.-T. Experimental Study of Structural Failure and Ultimate Strength of GFRP Girder with Hat Stiffeners and Foams under Bending Load. Mar. Struct. 2024, 96, 103607. [Google Scholar] [CrossRef]
- Gan, L.; Zong, Z.; Lin, J.; Chen, Y.; Xia, M.; Chen, L. Influence of U-Shaped Stiffeners on the Blast-Resistance Performance of Steel Plates. J. Constr. Steel Res. 2022, 188, 107046. [Google Scholar] [CrossRef]
- Wang, R.; Ju, J.; Li, Y.; Cheng, S. Ultimate Strength Assessment of Randomly Pitted Stiffened Panels Considering Stiffener Corrosion. J. Constr. Steel Res. 2024, 223, 109060. [Google Scholar] [CrossRef]
- Bejan, A. Constructal-Theory Network of Conducting Paths for Cooling a Heat Generating Volume. Int. J. Heat Mass Transf. 1997, 40, 799–816. [Google Scholar] [CrossRef]
- Bejan, A. Shape and Structure, from Engineering to Nature; Cambridge University Press: New York, NY, USA, 2000. [Google Scholar] [CrossRef]
- Bejan, A.; Lorente, S. Design with Constructal Theory; John Wiley & Sons: Hoboken, NJ, USA, 2008. [Google Scholar] [CrossRef]
- Bejan, A.; Zane, J.P. Design in Nature: How the Constructal Law Governs Evolution in Biology, Physics, Technology, and Social Organization; Anchor Books: New York, NY, USA, 2013. [Google Scholar]
- Bejan, A. The Physics of Life: The Evolution of Everything; St. Martin’s Press: New York, NY, USA, 2024. [Google Scholar]
- da Silveira, T.; Pinto, V.; Neufeld, J.P.; Pavlovic, A.; Rocha, L.; dos Santos, E.; Isoldi, L.A. Applicability Evidence of Constructal Design in Structural Engineering: Case Study of Biaxial Elasto-Plastic Buckling of Square Steel Plates with Elliptical Cutout. J. Appl. Comput. Mech. 2021, 7, 922–934. [Google Scholar] [CrossRef]
- Alves, M.A.; Rodrigues, E.M.; Pinto, V.T.; Rocha, L.A.O.; dos Santos, E.D.; Isoldi, L.A. Numerical Simulation, Constructal Design, and Systematic Search Applied to the Geometrical Evaluation of Hat-Stiffened Plates under Bending. Res. Eng. Struct. Mater. 2025, 11, 1–19. [Google Scholar] [CrossRef]
- Alves, M.A.; Rodrigues, E.M.; Rocha, L.A.O.; dos Santos, E.D.; Almeida, W.R.; Isoldi, L.A. Numerical and Geometrical Evaluation of Steel Plates with Transverse Hat-Stiffeners Under Bending. Metals 2025, 15, 647. [Google Scholar] [CrossRef]
- Reis, A.H. Constructal Theory: From Engineering to Physics, and How Flow Systems Develop Shape and Structure. Appl. Mech. Rev. 2006, 59, 269–282. [Google Scholar] [CrossRef]
- Dos Santos, E.D.; Isoldi, L.A.; Gomes, M.N.; Rocha, L.A.O. The Constructal Design Applied to Renewable Energy Systems. In Sustainable Energy Technologies; Rincón-Mejía, E., Heras, A., Eds.; CRC Press—Taylor and Francis: Boca Raton, FL, USA, 2017; pp. 63–87. [Google Scholar]
- Troina, G.; Cunha, M.; Pinto, V.; Rocha, L.; dos Santos, E.; Fragassa, C.; Isoldi, L. Computational Modeling and Constructal Design Theory Applied to the Geometric Optimization of Thin Steel Plates with Stiffeners Subjected to Uniform Transverse Load. Metals 2020, 10, 220. [Google Scholar] [CrossRef]
- Nogueira, C.M.; Pinto, V.T.; Rocha, L.A.O.; Santos, E.D.D.; Isoldi, L.A. Numerical Simulation and Constructal Design Applied to Plates with Different Heights of Traverse and Longitudinal Stiffeners. Eng. Solid Mech. 2021, 9, 221–238. [Google Scholar] [CrossRef]
- Pinto, V.T.; Rocha, L.A.O.; Fragassa, C.; dos Santos, E.D.; Isoldi, L.A. Multiobjective Geometric Analysis of Stiffened Plates under Bending through Constructal Design Method. J. Appl. Comput. Mech. 2020, 6, 1438–1449. [Google Scholar] [CrossRef]
- Kucharski, D.M.P.; Pinto, V.T.; Rocha, L.A.O.; dos Santos, E.D.; Fragassa, C.; Isoldi, L.A. Geometric analysis by Constructal Design of stiffened steel plates under bending with transverse I-shaped or T-shaped stiffeners. Facta Univ. Ser. Mech. Eng. 2022, 20, 617–632. [Google Scholar] [CrossRef]
- Lima, J.P.S.; Cunha, M.L.; dos Santos, E.D.; Rocha, L.A.O.; Real, M.V.; Isoldi, L.A. Constructal Design for the ultimate buckling stress improvement of stiffened plates submitted to uniaxial compressive load. Eng. Struct. 2020, 203, 109883. [Google Scholar] [CrossRef]
- Tharian, M.; Nandakumar, C.G. Superelement for Structural Analysis of Steel Bunkers. SSRN J. 2023. [Google Scholar] [CrossRef]
- Tharian, M.; Nandakumar, C.G. Hat stiffened plates for ship building. IJAERD 2014, 4, 43–52. [Google Scholar]
- Pal, A.K.; Harry, N.N.; Upadhyay, R.; Kushwaha, Y.K. Static Analysis of hat stiffened plate: A parametric study. Int. J. Res. Eng. Sci. Manag. (IJRESM) 2018, 1, 128–131. [Google Scholar]
- Virág, Z.; Szirbik, S. Modal Analysis of Optimized Trapezoidal Stiffened Plates under Lateral Pressure and Uniaxial Compression. Appl. Mech. 2021, 2, 681–693. [Google Scholar] [CrossRef]
- Filippatos, A.; Markatos, D.; Tzortzinis, G.; Abhyankar, K.; Malefaki, S.; Gude, M.; Pantelakis, S. Sustainability-Driven Design of Aircraft Composite Components. Aerospace 2024, 11, 86. [Google Scholar] [CrossRef]
- Raju; Prusty, B.G.; Kelly, D.W.; Lyons, D.; Peng, G.D. Top Hat Stiffeners: A Study on Keel Failures. Ocean Eng. 2010, 37, 1180–1192. [Google Scholar] [CrossRef]
- Sun, Z.; Lei, Z.; Zou, J.; Bai, R.; Jiang, H.; Yan, C. Prediction of failure behavior of composite hat-stiffened panels under in-plane shear using artificial neural network. Compos. Struct. 2021, 272, 114238. [Google Scholar] [CrossRef]
- Kumar, A.P.; Méndez, J.P.; Burela, R.G.; Bisagni, C.; Harursampath, D.; Ponnusami, S.A. Non-linear buckling analysis of delaminated hat-stringer panels using variational asymptotic method. Compos. Struct. 2024, 345, 118276. [Google Scholar] [CrossRef]
- Kumar, K.C.N.; Chavadaki, S.; Shaikh, A.; Singh, D.P.; Avikal, S. Weight optimization of a hat-stiffened panel of a typical transport aircraft composite wing. Mater. Today Proc. 2020, 26, 471–474. [Google Scholar] [CrossRef]
- Kumar, K.S.; Kumar, K.C.N.; Mandal, P.C. Finite element analysis of composite hat-stiffened panels subjected to edge compression load. Jordan J. Civ. Eng. 2020, 14, 235–248. Available online: https://jjce.just.edu.jo/Download.ashx?f=TPwTijWxts67XewIlzO%2bYusgpM1C4mdts%2b%2beETCq%2bh4%3d (accessed on 12 October 2025).
- Kumar, S.; Kumar, R.; Mandal, S. Experimental and numerical investigation of composite hat-stiffened panels under axial compression. Sādhanā 2020, 45, 130. [Google Scholar] [CrossRef]
- Kumar, S.; Suman, S.; Ranjan, A. A parametric study on composite panel subjected to compression load. J. Inst. Eng. Ser. A 2024, 105, 15–24. [Google Scholar] [CrossRef]
- Wang, Z.; Wang, B.; Bao, R.; Chen, X.; Liang, Q.; Yu, F. Buckling and post-buckling analysis of composite hat stiffened panels under axial compression loads. J. Phys. Conf. Ser. 2023, 2489, 012013. [Google Scholar] [CrossRef]
- Lei, A.; Zou, P.; Deng, F.; Chen, Y. Bending experimental study on composite single hat stiffener panel in different environments. In Proceedings of the 3rd International Conference on Advanced Electronic Materials, Computers and Software Engineering (AEMCSE 2020), Shenzhen, China, 24–26 April 2020; IEEE: Xi’an, China, 2020; pp. 625–629. [Google Scholar] [CrossRef]
- Liu, L.; Guan, Z. Effects of the fillers on the interface strength of the hat-stiffened composite panel. Polym. Polym. Compos. 2023, 31, 1–13. [Google Scholar] [CrossRef]
- Qiu, J. Equivalent stiffness calculation of composite hat-stiffened panels based on Classical Laminate Theory. Vibroeng. Procedia 2022, 47, 42–48. [Google Scholar] [CrossRef]
- Kim, G.-H.; Choi, J.-H.; Kweon, J.-H. Manufacture and Performance Evaluation of the Composite Hat-Stiffened Panel. Compos. Struct. 2010, 92, 2276–2284. [Google Scholar] [CrossRef]
- Jin, B.C.; Li, X.; Mier, R.; Pun, A.; Joshi, S.; Nutt, S. Parametric Modeling, Higher Order FEA and Experimental Investigation of Hat-Stiffened Composite Panels. Compos. Struct. 2015, 128, 207–220. [Google Scholar] [CrossRef]
- Yetman, J.E.; Sobey, A.J.; Blake, J.I.R.; Shenoi, R.A. Investigation into Skin Stiffener Debonding of Top-Hat Stiffened Composite Structures. Compos. Struct. 2015, 132, 1168–1181. [Google Scholar] [CrossRef]
- El Samrout, A.; Braydi, O.; Younes, R.; Trouchu, F.; Lafon, P. A New Hybrid Method to Solve the Multi-Objective Optimization Problem for a Composite Hat-Stiffened Panel. Stud. Comput. Intell. 2018, 774, 77–88. [Google Scholar] [CrossRef]
- Ram Murthy, V.; Annamalai, K.; Elango, M. Numerical Analysis of Hat Stiffened Composite Panels for Pre and Post Buckling Conditions. IOP Conf. Ser. Mater. Sci. Eng. 2021, 1128, 012021. [Google Scholar] [CrossRef]
- Shi, M.; Chen, P. Simulation of manufacture of the hat-stiffened composite plate based on multidisciplinary coupling. Acta Mater. Compos. Sin. 2021, 38, 4150–4160. [Google Scholar] [CrossRef]
- Wang, T.; Bai, R.; Wei, C.; Huang, X.; Bai, H. Interface Damage Analysis of Composite Hat-Stiffened Panels. J. Phys. Conf. Ser. 2021, 1948, 012139. [Google Scholar] [CrossRef]
- Wang, Z.; Liu, K.; Yu, T.; Zong, S.; Wang, X. Structural Deformation Mechanism of the Hat-Stiffened Plate Used in Marine Structures under Impact Load. Ocean Eng. 2022, 266, 112736. [Google Scholar] [CrossRef]
- Hochster, H.; Ranatunga, V.; Shemesh, N.N.; Haj-Ali, R. Surrogate PHFGMC Micromechanical Models for Multiscale Analysis: AI-Enhanced Low-Velocity Impact Analysis of Hat-Stiffened Composite Panels. J. Compos. Mater. 2024, 59, 305–320. [Google Scholar] [CrossRef]
- Liu, B.; Zhang, L.; Liu, A.; Guedes Soares, C. Integrated Design Method of Marine C/GFRP Hat-Stiffened Panels towards Ultimate Strength Optimisation. Ocean Eng. 2025, 317, 120052. [Google Scholar] [CrossRef]
- Yang, X.; Li, G.; Sun, C.; Niu, S.; Yang, Y.; Liu, X.; Shao, C. The Influence of High Toughness Resin Region on the Pull-off Failure Process of Hat-Stiffened Composite Structures. Eng. Fail. Anal. 2025, 169, 109214. [Google Scholar] [CrossRef]
- ASTM A36/A36M; Standard Specification for Carbon Structural Steel. ASTM International: West Conshohocken, PA, USA, 2019.
- ANSYS, Inc. Element Reference—Release 2021 R2. Southpointe, 2600 ANSYS Drive; ANSYS, Inc.: Canonsburg, PA, USA, 2021; Available online: https://pt.scribd.com/document/665578059/Ansys-Mechanical-APDL-Theory-Reference (accessed on 12 October 2025).
- Zienkiewicz, O.C. The Finite Element Method; McGraw-Hill: London, UK, 1986. [Google Scholar]
- Moaveni, S. Finite Element Analysis: Theory and Application with ANSYS, 3rd ed.; Pearson Prentice Hall: Hoboken, NJ, USA, 2008. [Google Scholar]
- JIS G 3101; Rolled Steels for General Structure. Japanese Standards Association (JSA): Tokyo, Japan, 2015.
- American Institute of Steel Construction (AISC). Steel Construction Manual, 15th ed.; American Institute of Steel Construction: Chicago, IL, USA, 2017; Table 2-1. [Google Scholar]
- Carrijo, E.C.; Paiva, J.B.; Giogo, J.S. A numerical and experimental study of stiffened plates in bending. TOMACS 1999, 21, 12–18. [Google Scholar]




















| Case | Thickness (T) | Shorter Base (A) | Longer Base (B) | Height (H) | Length (L) |
|---|---|---|---|---|---|
| 1 | 2 | 35 | 60 | 65 | 955.90 |
| 2 | 3 | 35 | 60 | 65 | 637.26 |
| 3 | 4 | 35 | 60 | 65 | 477.95 |
| 4 | 5 | 35 | 60 | 65 | 382.36 |
| 5 | 6 | 35 | 60 | 65 | 318.63 |
| 6 | 2 | 40 | 60 | 65 | 932.78 |
| 7 | 3 | 40 | 60 | 65 | 621.86 |
| 8 | 4 | 40 | 60 | 65 | 466.39 |
| 9 | 5 | 40 | 60 | 65 | 373.11 |
| 10 | 6 | 40 | 60 | 65 | 310.93 |
| 11 | 2 | 40 | 65 | 70 | 878.09 |
| 12 | 3 | 40 | 65 | 70 | 585.39 |
| 13 | 4 | 40 | 65 | 70 | 439.04 |
| 14 | 5 | 40 | 65 | 70 | 351.23 |
| 15 | 6 | 40 | 65 | 70 | 292.70 |
| 16 | 2 | 40 | 60 | 70 | 881.92 |
| 17 | 3 | 40 | 60 | 70 | 587.95 |
| 18 | 4 | 40 | 60 | 70 | 440.96 |
| 19 | 5 | 40 | 60 | 70 | 352.77 |
| 20 | 6 | 40 | 60 | 70 | 293.97 |
| 21 | 2 | 35 | 65 | 65 | 950.02 |
| 22 | 3 | 35 | 65 | 65 | 633.35 |
| 23 | 4 | 35 | 65 | 65 | 475.01 |
| 24 | 5 | 35 | 65 | 65 | 380.01 |
| 25 | 6 | 35 | 65 | 65 | 316.67 |
| Number of Hat-Stiffeners | θs (°) | ts (mm) | hs (mm) | (mm) | RD (%) | Ix (mm4) |
|---|---|---|---|---|---|---|
| 1 | 105 | 4.75 | 590.7399 | 0.0438 | −93.72 | 5.06 × 109 |
| 140 | 4.75 | 393.1154 | 1.8840 | 170.08 | 2.33 × 109 | |
| 2 | 110 | 4.75 | 277.9512 | 0.0800 | −88.53 | 1.24 × 109 |
| 150 | 12.7 | 49.0551 | 0.4143 | −40.61 | 3.35 × 107 | |
| 3 | 130 | 4.75 | 145.9516 | 0.1163 | −83.32 | 3.78 × 108 |
| 80 | 12.7 | 57.8478 | 0.6005 | −13.91 | 4.84 × 107 | |
| 4 | 125 | 4.75 | 112.9568 | 0.1539 | −77.94 | 2.42 × 108 |
| 75 | 12.7 | 37.7243 | 0.7834 | 12.30 | 2.17 × 107 | |
| 5 | 125 | 4.75 | 87.0888 | 0.2074 | −70.27 | 1.51 × 108 |
| 75 | 12.7 | 26.3158 | 0.8760 | 25.57 | 1.21 × 107 |
Disclaimer/Publisher’s Note: The statements, opinions and data contained in all publications are solely those of the individual author(s) and contributor(s) and not of MDPI and/or the editor(s). MDPI and/or the editor(s) disclaim responsibility for any injury to people or property resulting from any ideas, methods, instructions or products referred to in the content. |
© 2025 by the authors. Licensee MDPI, Basel, Switzerland. This article is an open access article distributed under the terms and conditions of the Creative Commons Attribution (CC BY) license (https://creativecommons.org/licenses/by/4.0/).
Share and Cite
Madsen, G.G.; Alves, M.A.; Rocha, L.A.O.; dos Santos, E.D.; Almeida, W.R.; Isoldi, L.A. Numerical and Geometric Analysis of Side-Wall Inclination Angle Effects on Longitudinal Hat-Stiffeners in Steel Plates. Appl. Mech. 2025, 6, 78. https://doi.org/10.3390/applmech6040078
Madsen GG, Alves MA, Rocha LAO, dos Santos ED, Almeida WR, Isoldi LA. Numerical and Geometric Analysis of Side-Wall Inclination Angle Effects on Longitudinal Hat-Stiffeners in Steel Plates. Applied Mechanics. 2025; 6(4):78. https://doi.org/10.3390/applmech6040078
Chicago/Turabian StyleMadsen, Guilherme Garcia, Mariana Alvarenga Alves, Luiz Alberto Oliveira Rocha, Elizaldo Domingues dos Santos, William Ramires Almeida, and Liércio André Isoldi. 2025. "Numerical and Geometric Analysis of Side-Wall Inclination Angle Effects on Longitudinal Hat-Stiffeners in Steel Plates" Applied Mechanics 6, no. 4: 78. https://doi.org/10.3390/applmech6040078
APA StyleMadsen, G. G., Alves, M. A., Rocha, L. A. O., dos Santos, E. D., Almeida, W. R., & Isoldi, L. A. (2025). Numerical and Geometric Analysis of Side-Wall Inclination Angle Effects on Longitudinal Hat-Stiffeners in Steel Plates. Applied Mechanics, 6(4), 78. https://doi.org/10.3390/applmech6040078

