Next Article in Journal
Language and Reasoning by Entropy Fractals
Previous Article in Journal
On the Quality of Deep Representations for Kepler Light Curves Using Variational Auto-Encoders
 
 
Font Type:
Arial Georgia Verdana
Font Size:
Aa Aa Aa
Line Spacing:
Column Width:
Background:
Article

IMU-Based Hand Gesture Interface Implementing a Sequence-Matching Algorithm for the Control of Assistive Technologies

by
Frédéric Schweitzer
1,2 and
Alexandre Campeau-Lecours
1,2,*
1
Department of Mechanical Engineering, Université Laval, Quebec City, QC G1V 0A6, Canada
2
Centre for Interdisciplinary Research in Rehabilitation and Social Integration (Cirris), CIUSSSCN, Quebec City, QC G1M 2S8, Canada
*
Author to whom correspondence should be addressed.
Signals 2021, 2(4), 729-753; https://doi.org/10.3390/signals2040043
Submission received: 27 April 2021 / Revised: 30 September 2021 / Accepted: 8 October 2021 / Published: 21 October 2021

Abstract

:
Assistive technologies (ATs) often have a high-dimensionality of possible movements (e.g., assistive robot with several degrees of freedom or a computer), but the users have to control them with low-dimensionality sensors and interfaces (e.g., switches). This paper presents the development of an open-source interface based on a sequence-matching algorithm for the control of ATs. Sequence matching allows the user to input several different commands with low-dimensionality sensors by not only recognizing their output, but also their sequential pattern through time, similarly to Morse code. In this paper, the algorithm is applied to the recognition of hand gestures, inputted using an inertial measurement unit worn by the user. An SVM-based algorithm, that is aimed to be robust, with small training sets (e.g., five examples per class) is developed to recognize gestures in real-time. Finally, the interface is applied to control a computer’s mouse and keyboard. The interface was compared against (and combined with) the head movement-based AssystMouse software. The hand gesture interface showed encouraging results for this application but could also be used with other body parts (e.g., head and feet) and could control various ATs (e.g., assistive robotic arm and prosthesis).

1. Introduction

Assistive technologies (ATs) are used all around the world by people living with all kinds of disabilities. For instance, the use of a robotic arm has been shown to help people living with upper limb disabilities with their daily tasks [1]. Another study on exoskeletons proved they have good potential for functional mobility in people with spinal cord injury [2]. While the emphasis is often put on the assistive device itself, such systems actually include three important parts: the user, the control interface, and the device (e.g., robotic arm and exoskeleton). In fact, this is the case for any human–machine interaction and more often than not, the interface, which links the device to the user, seems to be the key element in the system [3,4,5]. So, when it comes to design, it is worth spending time on developing a valuable interface, especially with ATs, on which the ability of a user to be independent in his or her daily living task may heavily rely on it. Besides, because of the specific abilities and needs being very unique, even for the same diagnosis, the control interface needs to be either tailor-made or flexible and adaptable.
Control interfaces are built using various sensors that may be combined with intelligent algorithms. Recently, many interfaces using different technologies have emerged, and they are yet being improved. The simplest interfaces like sip-and-puff or tongue control [6,7] are widely used in practice, due to the absence of complexity in their implementation and usage. Another popular instance is voice control. It has been shown that commercial voice assistants can help people in their daily tasks by providing functionalities to interact with their phone [8], handle lights, or simply play music [3]. Voice assistants often require an internet connection, but lighter versions can also be implemented offline [9]. Other options include electromyography (EMG) interfaces [10,11,12], which use electrical activity in muscles as input signals and control via inertial measurement units (IMUs) [13,14], which combine accelerometer and gyroscope signals. For instance, IMUs or EMGs can be positioned on a limb that a user can move easily (like the head, arms, or legs) and act as an input mechanism to control a robotic arm or the mouse of a computer.
One major and obvious issue to address with almost any interface–AT pair is that many interfaces have limited actual physical commands to efficiently control all of the functions of their corresponding AT. Indeed, controlling a high-dimensionality device with a low-dimensionality sensor (around which the interface is built) can be quite challenging. The dimensionality of components in this context can be interpreted as qualitative metrics to compare the work space of those components, in terms of degrees of freedom (DoF), number of functions, or some other physical restrictions, such as the number of actions a user can perform according to his or her abilities or the number of controls available. For instance, whereas a six-DoF assistive robotic arm may need 20 commands to operate (e.g., forward, backward, up, down, left, fingers, options, etc.), a computer may need 10 (mouse left, right, up, down, left click, right click, copy, paste, etc.). However, in both cases, the dimensionality of the control interface depends more on the abilities of the users (the actions they can perform and their reach). Therefore, many users only have access to basic devices, such as switches, to control the AT.
In any case, a common way to deal with the interface’s lower dimensionality is often to arrange the AT’s modes in sub-control groups. As shown in Figure 1, with this approach, accessing a mode can require a series of actions to browse through the nested groups [1,15,16]. Thus, a strategy needs to be implemented within the interface to either reduce the total number of modes, facilitate switching between them, or somehow artificially augment the dimensionality of the interface itself.
The easiest and most flexible strategy to employ is to use a scanning menu panel [17,18]. It can be implemented with or without a sub-groups architecture (as in Figure 1) by granting the user direct access to the modes. This may be used with a single switch interface and can accommodate virtually any number of modes. It also gives the developer the possibility to rearrange the modes in any architecture (number of sub-groups, number of modes by sub-group, height of the nested architecture, etc.). At each level, the modes are proposed to the user, one-by-one, and the user activates the switch when the mode they want is proposed. Although this strategy is quite robust (due to its simplicity) and, thus, commonly found in practice [19], it is time consuming and does not lead to a satisfactory user experience [15]. In the past few years, many attempts (many of them successful) have been made to try to do better. Among them, general ideas emerged, such as level coding [11], dynamic switching, and even automatic mode switching. Level coding can work well with analog sensors by dividing the range of the signals into multiple sub-ranges bounded by thresholds. Hence, what seemed to be a one-dimension interface (e.g., an ON/OFF switch) actually had a higher dimensionality (e.g., sensing the pressure on the switch). The thresholds can also be applied on the time axis (e.g., short click and long click). Of course, the divisibility of the signal’s magnitude depends on the user’s dexterity and the sensor. Dynamic switching, on the other hand, integrates machine learning models to predict or suggest the next move to the user [20]. So, when it comes the time to select a mode, this algorithm might suggest one of a few modes that the user is likely to select, according to his habits. Much like the auto-completion suggestions on a smartphone keyboard, this can save the user a lot of time. On the other hand, training a classifier may require much data, and, in the case of rehabilitation technology, this can be difficult. Indeed, to deploy such an interface, the users cannot be asked to build a large training dataset themselves. Thus, the development team should have access to such a dataset and make sure that the data reflects real-life situations (e.g., noise and imperfect inputs), which might prove difficult. Finally, another strategy is to focus on a complete trajectory to execute an action (e.g., pour a glass of water with a robotic arm). In this case, the algorithm is based on graph theory, rather than machine learning [4,21]. The aim is to find optimal trajectories for a given action using graph search algorithms, such as Dijkstra’s algorithm. This paradigm is robust for specific actions in closed environments, but the resulting interfaces may lack flexibility when it comes to real-life scenarios.
Recently, ref. [18] proposed a novel approach to deal with low-dimensionality interfaces with a sequence matching algorithm (SMA). The idea is to arrange simple signals received from digital sensors (e.g., ON/OFF switch) into a time sequence similar to Morse code. The algorithm takes advantage of simple devices, such as switches, which are already vastly used by people living with disabilities but to artificially increase the number of output states it can generate. While a single switch can only output two states (0 or 1), a switch with SMA can generate many outputs (e.g., more than 30, with three distinct states: 0, 1, and holding 1), which enables the user to express more commands rapidly with a single switch. Instead of grouping the modes, a unique sequence is inputted by the user. Each sequence is mapped to a command (mode) of the AT (e.g., forward). This algorithm was applied to a sip-and-puff interface to control a robotic arm and has proven to be effective for augmenting the dimensionality of currently used basic interfaces, thus enhancing the user’s control over the assistive device [18].
The objective of this paper is to build on the SMA in [18] by adapting the algorithm to analog signals, rather than digital signals, to further increase the output dimensionality and enable the use of analog sensors to lead to more intuitive interfaces. The proof of concept consists in the development, design, and implementation of an intuitive and robust IMU-based hand gesture interface to control any assistive technology (e.g., robotic arm, mouse, and keyboard). To that effect, a classification pipeline has been developed to detect and recognize hand gestures from IMU signals. This pipeline was then embedded into the SMA. With that system, we aim to answer the previously stated issue of the dimensionality difference between the interface and the assistive technology without relying on grouping the different modes, but rather by artificially augmenting the dimensionality of the interface itself. The goal is to help people living with upper or lower body incapacities in their daily life tasks.
This novel approach combines several key concepts of the multiple interface design paradigm (previously presented). First, the usage of wearable sensors, such as IMU and EMG, offers a high level of flexibility for the user, since they can be fixed on various body parts. Furthermore, in most cases, they are not cumbersome for the user. Then, the scanning menu panel strategy is intuitive and simple to use. The idea to have a display showing the modes to help the user navigate through them is effective but not necessarily fast. The SMA can then help speed up the usage. This work aims to show that combining those ideas adds value to the user experience and can definitely help some people.
This paper is structured as follows. First, the methods for the development are presented in Section 2, Section 3 and Section 4. This includes the development of an offline version of the algorithm, followed by a real-time version and, finally, the integration of the latter to the SMA. The experimental methods are presented in Section 5 and Section 6, with the description of the actual implementation of the interface and the experiments performed with it. Finally, the results are presented and discussed in Section 7.

2. Hand Gesture Recognition

The process of classifying hand gestures can be done with a trained machine learning model (classifier). Since artificial intelligence is now a blooming field of computer science and robotics, some classifiers have proven effective for specific applications. In the case of accelerometer and gyroscope signals for gesture recognition, the complexity of the models can go from a linear discriminant analysis (LDA) [12,22] to a convolution neural network (CNN) [23].
Many case studies for the gesture-recognition problem combine surface EMG sensors with IMUs. In [24], LDA is proven to be accurate enough to classify signals from a wrist-worn sensor device. A smartwatch could eventually house the sensors and the lightweight classifier and be very convenient for the user. In [25], an SVM-based recognition system is used and applied for rehabilitation purposes. Other simple, yet effective, classification models (such as Bayesian models) can also be used [26]. However, in the framework of this project, we aim to make use of only one IMU and focus on gestures that will take advantage of the accelerometers, such as tapping on a hard surface or making a circle in the air, rather than doing hand signs. Dynamic time warping is well-known and often used with IMUs to classify hand gestures [27,28,29], but may not be suitable for a real-time application, as it may not be fast enough [30].
Since the interface targets to users living with various incapacities, the classification models have to be fitted on each user’s sample data individually. Therefore, the training dataset has to be small. Consequently, we will focus on simpler algorithms, which are fast, robust, and usable on an embedded system. Other than LDA, options considered were support vector machines (SVM) [25], adaptive boosting (AdaBoost) [31], and k-nearest neighbors (kNN) [32].
The objective of this section is to propose an encapsulated procedure that takes a signal as an input and returns a predicted gesture. In the particular case of the experiments in this paper, the signals are received from an IMU, and the hand gestures will serve as individual actions to the SMA. This section presents the first of a twofold development. The first part is the offline development and the second part is the online implementation. For the offline development, the dataset is composed of 475 examples of 5 different gestures, recorded at 100 Hz for 0.9 s, from a single individual.
The classification pipeline includes multiple nodes. As seen in Figure 2, features are extracted from an input signal. Then, the classification model must determine which class (gesture) those features are most likely to represent. Since it is established that the training dataset will have more dimensions than training examples, the dimensionality of the data (i.e., the number of features) must be reduced before they are presented to the classifier. The model has to be fast (during evaluation), lightweight (for an implementation on an embedded system), and robust, even with a very small training dataset. The next subsections bring details on the development process and the final pipeline.

2.1. Input Signals

In the experiments, the algorithm’s inputs were obtained through an IMU and consisted of a first-order, low-pass filtered version of the acceleration norm ( a = a x 2 + a y 2 + a z 2 ) and angular velocity norm ( ω = ω x 2 + ω y 2 + ω z 2 ).
For the offline development of the classifier, five distinct hand gestures were studied: hand tap (on a table), thumb tap (on a table), hand tilt, swipe left and swipe right. The signals were chosen because they include completely distinct pairs (e.g., hand tap and hand tilt), as well as similar signals (e.g., swipe left, and swipe right), that a simple conditional statement cannot classify. Additionally, five gestures are enough for up to 30 commands to be mapped to an AT’s modes (with sequences of one or two gestures). This is explained in detail in Section 4.
The training set consists of 5 examples per class (25 examples total). The remaining of the balanced 475-example dataset will be used to tune the models and evaluate the performance.

2.2. Feature Extraction

The examples in the dataset are a time series. From those time series’ data, various metrics were computed to “describe” their nature to the statistical model. This process is known as feature extraction. Identifying what features to extract from a signal first requires having a general idea of what it looks like. From Figure 3, it is possible to infer that the means, medians, standard deviations, interquartile range, area under the curve, kurtosis, minima and maxima of accelerations, and angular velocities are simple, yet useful, metrics that allow the classification of gestures. Those metrics can be computed for the entire signal but also for parts of it. Indeed, in the Figure 3 gyroscope signals, the two main peaks have a different time lapse between them; so by dividing the signals into two equal parts, the peaks will be distinctly distributed among the parts. Thus, the previously stated metrics applied to the signal’s parts are distinct and offer valuable information to the classifier. It is determined empirically that dividing the signals into four parts offers the best results.
In addition to the metrics in the time domain, others can be extracted from the frequency domain. Figure 4 shows a fast, Fourier transform of the Figure 3 time signals. Even though those curves are not the clearest (due to the 100 Hz sample rate), they still offer clear patterns, and the median, maxima, and energy values of the FFTs are valuable for the classifier.
The final metrics extracted from the signals are the coefficients of a third-order, autoregressive model [33,34] and the correlation coefficients between the accelerometer and gyroscope signals. Finally, a total of 81 features were extracted, and all of them are scaled in a [ 1 , 1 ] range. A summary of all the features extracted is presented in Table 1.

2.3. Dimensionality Reduction

Let X be the n by d matrix containing all the feature data extracted from the train set, where n is the sample size (the number of examples) and d is the dimension (the number of features):
X = x 1 , 1 x 1 , 2 x 1 , d x 2 , 1 x 2 , 2 x 2 , d x n , 1 x n , 2 x n , d .
We have:
d = 81
n = 25 ,
since n < d , the columns of X (the variables for each example) are linearly dependent. This means that X contains redundant information and unnecessarily increases the dimensionality d of the dataset. So, most of the dimensions are not needed to describe the dataset. Furthermore, n is typically small, so the dimensionality must be reduced to avoid issues related to the curse of dimensionality [35] and maintain the robustness of the system. In order to do so, possible approaches include to either select the most significant features or to compute new features, via the linear projection of X 25 × 81 to X 25 × d * * , with d * n , the dimension of the new space. Here, the latter has been employed. The principal component analysis (PCA) offers a deterministic method to compute projected features from X in a lower-dimension space. The PCA allows reducing d to d * , while keeping most of the significant information. This fact is illustrated in Figure 5. The graphs on the figure are obtained by first applying the PCA to the training set (25 data points, perfectly balanced in five classes). This computes the transformation to apply to what is left of the dataset (the validation set, 450 data points). Thus, the figure shows the distribution of the validation set in the two- and three-dimensional spaces, after the transformation is applied. It is possible to observe that, even with d * = 2 or d * = 3 , and with the transformation computed on a very small dataset, the classes are still almost linearly separable, making it clear that most of the relevant information is still present in X * . In order to implement the PCA, the target dimension must not be more than n. In the context of this application, d * = n has been used.

2.4. Classification

The selection of the classification model is the part of the design, where the principal design requirements (fast, lightweight, and robust, with fewer examples) should really be taken into consideration. For the development, and in the framework of this paper, scikit-learn [36] was used.
In recent years, deep learning algorithms have received a lot of attention. However, one caveat is in order: they require vast amount of data. In our case, the fact that the quantity of data required to train such an algorithm is limited rules them out, due to the specificity of the applications. Therefore, the selection process focuses on more classic machine learning algorithms.
The studied models for this project are listed in Table 2, along with their advantages, specific to the design requirements.
In order to test each model (and to optimize them at the same time), the selection process consisted of a grid search with random data selection. Each model was tested on a dataset of 475 data points (95 per class, 5 classes) on i m a x iterations. The models were tested by first tuning their hyper-parameters and then retaining their best performance. For each model, a set of hyper-parameters was determined with a testing range associated with each one. At each iteration ( i = 0 , 1 , , i m a x 1 ), five data points of every class were selected (total of 25) to form the training set, and the remaining data constitutes the validation set (450 data points). Each model was trained with this training set and tested with the validation set once for every possible arrangement of hyper-parameters. After the i m a x iterations, the performances were analyzed and the best model with the best arrangement of hyper-parameters was retained. Having the size of the validation test far greater than the size of the training set allows for evaluating how the algorithm succeeds in generalizing and does not overfit on the small set of data it has been given. Table 3 presents the selected hyper-parameters for each model, the best configuration, and the best prediction score of the models associated with those configurations for i m a x = 10 .
The final choice for the prediction model is an SVM with a linear kernel. The satisfactory performance of the linear SVM implies that the data are almost linearly separable in the d dimensions space, even if similar gestures were chosen. This means that it should not be difficult to choose new gestures to add to the system. Figure 6a shows the normalized confusion matrices for the optimized SVM, with the dataset previously described.
Such matrices were obtained by choosing a training set at random (composed of 5 data points per class), similar to the optimization process, and by validating with the remaining 450 data points. This process was repeated 50 times. Finally, the results were inputted into the confusion matrix and normalized by row. Since most of the confusion results from the Swipe-left and Swipe-right gestures, it was possible to improve the performance of the system by simply removing the gestures that were too similar (and possibly adding some others). The result of this operation is shown in the matrix (b) of Figure 6. Referring to Section 4.1, four different gestures, with three gestures per sequence, allows 84 possible sequences, which is fairly sufficient to control an assistive technology.
This process simulates the workflow of a single user. The small random sample, acting as a training set at each iteration, represents the data points of the user. What is left of the dataset represents the gestures that the user will perform while using the system. Some overfitting is expected, but since all of the data are specific to one user, it does not affect the results negatively. The multiple iterations allows to validate the results and to ensure some randomness.

2.5. Final Pipeline

The final classification pipeline is the prediction system that takes IMU signals as inputs and returns predicted gestures. This section establishes its components. Figure 7 shows the explicit diagram of the classification process.

3. Real-Time Classification

The previous section proposed an offline machine learning model to recognize hand gestures from small fixed windows of IMU signals. To embed the Figure 7, the classification pipeline in a real-time application, it first needs to be combined with an algorithm that will trigger the classification process. There are (at least) two options to do that. The first option is to have a fixed-size sliding window and repeated classification routines at short, fixed intervals in this window. When tested, this method performed weakly (for multiple reasons). First, different gestures take different lengths of time to complete. Even if the gestures are supposed to be the same, they can be executed at different rates. Additionally, to prevent the classifier from predicting the same given gesture multiple times over the fixed sliding window (or to make an early (and incorrect) prediction), there has to be an algorithm that determines the moment at which the gesture begins and ends (the solution could also be to increase the time lapse between the intervals of classifications, but this would greatly increase the risk of missing significant windows of signals).
The other option is to use a sliding window over the signal (but this time to determine only the moments at which the gesture starts and ends); only then is the classification process triggered and a gesture predicted. As a result, this does not produce a fixed-size snapshot of the signal. Instead, the snapshot begins when the sliding window recognizes the beginning of a gesture and ends when the signal comes back to an idle state. The beginning and end of a gesture are determined for the signals’ variance and instantaneous slope (from the derivative). Indeed, none of the components in Figure 7 actually requires the input to always be of the same length. This procedure settles the previously stated issues (duplication of the prediction and variable length of the gestures) and allows for the execution of sequences of gestures in a fluid and efficient manner. Algorithm 1 presents the definition of DetectAction.
Algorithm 1 Definition of the real-time gesture recognition sub-routine.
1:
functionDetectAction( SensorReading r )
2:
    ▹ length ( r ) should be 1
3:
    ▹ s t a r t = e n d = NULL for the first function call
4:
     w i n d o w concatenate ( w i n d o w [ 1 . . . ] , r )                         ▹ slide w i n d o w
5:
    if  d d t w i n d o w δ > t h r e s h o l d d AND Var w i n d o w δ > t h r e s h o l d v a r  then
6:
        if  s t a r t == NULL then
7:
            s t a r t length ( w i n d o w ) δ
8:
            e n d NULL
9:
        else
10:
            s t a r t s t a r t 1                                                 ▹ slides with w i n d o w
11:
        end if
12:
    else
13:
         e n d length ( w i n d o w ) 1
14:
        if  s t a r t  NOT NULL then
15:
            a c t i o n = P r e d i c t ( w i n d o w [ s t a r t e n d ] )
16:
            s t a r t NULL
17:
        end if
18:
    end if
19:
    return  a c t i o n
20:
end function
The function takes r (a sensor reading) as an input. In the context of the experiments, r has two components, the accelerometer’s magnitude signal and the gyroscope’s magnitude signal. Using the magnitude does not constrain the IMU to be positioned in any specific orientation on the body of the user. The length of r should be 1, meaning it is only a single new point. This assumption simplifies Algorithm 1, but a validation could be added. The window sliding operation is then represented by Line 4, where r is appended to w i n d o w and the first length ( r ) elements of w i n d o w are removed.
To generalize, the w i n d o w would be a 2 × l w matrix, where l w is the length of the window and each row represents one component. So, the derivatives (computed with first order backward differences):
d d t w i n d o w i = w i n d o w i w i n d o w 1 1 f ,
where f is the signal sampling frequency, and the variances ( Var w i n d o w ) are computed from the rows of w i n d o w (i is an index in a row); t h r e s h o l d d and t h r e s h o l d v a r are heuristically chosen thresholds on each element of derivative matrix (in absolute value) and variance matrix values, respectively. Those thresholds represent the sensitivity of the algorithm to trigger the classification process. They can be modified manually for each user. Additionally, δ is an arbitrary offset on the sliding window to compensate the lag associated with the computation of the derivatives and variances on the tail of w i n d o w ( w i n d o w [ δ ] , which represents the latest δ points of the signals). When an element of d d t w i n d o w δ and Var w i n d o w δ crosses the respective thresholds, the condition in Line 5 is satisfied. This offset allows the algorithm to have a slightly larger window, with a few stable points before and after the signals pass the thresholds. It ensures that all significant data are given to the classification pipeline. In other words, it enlarges the signal snapshot by taking a few points before what is initially determined by the sliding window before serving it to the classifier. These newly added data points help catch the beginning of the gesture more clearly. Finally, the Predict function is the implementation of the pipeline.

4. Sequence-Matching Algorithm Review

For this project, the point in developing a real-time gesture recognition algorithm is that it can be integrated into a more general algorithm that aims to help the control over higher dimensionality ATs. Indeed, the previous sections established a machine learning classifier based on five different inputs. Choosing to implement it directly, in order for it to interface with an AT, could result in a usable system, but there would only be five distinct physical commands. Instead, the classifier is embedded in a sequence matching algorithm, in order to artificially increase the dimensionality of the interface. This section presents this sequence matching algorithm.

4.1. General Idea

The main objective of the SMA is to allow the user to gain degrees of control without increasing the number of actual physical controls (e.g., buttons, gestures, sensors, etc.). Figure 8 presents a flowchart of the general idea of the algorithm.
First, individual actions (gestures) are detected. They are stacked into a sequence. Then, the algorithm recognizes, in real-time, the sequence of actions and seeks to match it with a sequence that is among a set of sequences defined by the user. This set of user-defined sequences maps to a set of modes of an assistive technology (each sequence corresponds to a mode). Finally, the user can execute the commands that the mode offers. In the context of this project, hand gestures are considered individual actions, so the user-defined sequences are a short series of simple gestures. What follows is the mathematical formulation of the SMA using the previously developed gesture recognition with the five possible inputs. Let A be the set of all possible actions, then:   
A = 0 , 1 , 2 , 3 , 4
where the value of an integer a A is:
a = 0 , if hand tap 1 , if thump tap 2 , if tilt 3 , if swipe left 4 , if swipe right
Let s be the ordered sequence of individual actions performed by the user and S the set possible sequences defined by the user. Finally, let C be the set of different modes for the robotic arm and R the relation that maps S to C. This relation, or rather the set S, is dynamic and will narrow itself as the user inputs actions and s is built. For instance, if a user wants to control five modes on a computer, then arbitrarily:
C = { copy , paste , mouseright , mouseleft , click }
S = { ( 0 , 1 ) , ( 3 , 4 ) , ( 1 , 2 ) , ( 2 , 1 ) , ( 2 , 1 , 0 ) }
and the relation R with the initial S and C is represented by the following diagram:
Signals 02 00043 i001
If the user makes a tilt, the algorithm will detect it and set s = ( 2 ) . Simultaneously, the algorithm sorts out impossible sequences and the (8) becomes:
Signals 02 00043 i002
If, right after that, the user makes a thumb tap, then s = ( 2 , 1 ) , but the relation in (9) does not change, since both sequences of S begin with s. At this point, the user must wait one second if he or she wants to enter the mouse left mode or make a hand tap (i.e., a = 0 ) for the click mode to be automatically selected.
In this example, C only has five elements, but, in general, if the user chooses to have, at most, k actions in each sequence, then the cardinality of S:
| S | = i = 1 k ( | A | ) i
with | A | being the cardinality of A (i.e., the number of possible actions). If R is a bijection, then | C | = | S | . In practice, it is observed that k = 3 is suitable. Greater than that, the sequences become harder to execute correctly. Table 4 shows the values of | S | , in functions of | A | and k, obtained with Equation (10).
The last row of Table 4 illustrates the example above. This means that it would theoretically be possible to control a technology of 155 modes with a five-dimension interface. Of course, in practice, this number drops because the interface would become cumbersome with a number of controls too high; still, | S | 15 is feasible.

4.2. Pseudo-Code for the SMA

Now that the mathematical definitions have been established, the SMA can be presented in a more pragmatic form. The scheme written in Algorithm 2 presents the general algorithm of the SMA. It requires S, C, and R, as defined in the previous subsections. A look at the algorithm quickly reveals the five principal parts presented in Figure 8. The Detect step is conducted by the DetectAction subroutine. The Recognize and Match steps are processed inside the CheckCurrentSequence subroutine, the function to Map is R. Finally, Execute represents the execution of the command c ( execute ( c ) ) when found. Algorithm 3 details the procedure to ensure that the correct sequence is matched as fast as possible to a sequence in the library (S). Given the current sequence inputted by the user, it returns a boolean value ( s e q u e n c e M a t c h ) indicating whether or not the current sequence s is an element of the set S. The function also returns the current sequence itself, which may have been emptied if there was no possibility that it might lead to one of the sequences of S.
The DetectAction subroutine is defined in Algorithm 1. It takes a sensor’s signal as an input and returns an integer a, indicating the detected action. If this action is not in A (i.e., no action performed by the user), a will be given a zero value.
Algorithm 2 General sequence matching algorithm.
1:
functionSequenceMatchingLoop
2:
     t a c t i o n starttimer
3:
    loop
4:
         s ( )
5:
         s e q u e n c e M a t c h False
6:
        while  NOT s e q u e n c e M a t c h  do
7:
            r sensorreading
8:
            a D e t e c t A c t i o n ( r )
9:
           if  a NULL  then
10:
                append a to s
11:
                reset ( t a c t i o n )
12:
           end if
13:
            ( s e q u e n c e M a t c h , s ) C h e c k C u r r e n t S e q u e n c e ( s , t a c t i o n )
14:
        end while
15:
         t e x e c starttimer
16:
         S InitialState
17:
         c R ( s )
18:
         r sensorreading
19:
        while  r 0 OR t e x e c NOT timeout  do
20:
           if  r 0  then
21:
                reset ( t e x e c )
22:
                execute ( c )
23:
           end if
24:
        end while
25:
    end loop
26:
end function
Algorithm 3 Dynamic matching sub-routine of the SMA.
1:
functionCheckCurrentSequence( Sequence s , Timer t )
2:
    if  t NOT timeout  then
3:
         n S length ( S )
4:
        for  e l e m e n t in S  do
5:
           if  e l e m e n t [ 0 : n s ] s  then
6:
                S . r e m o v e ( e l e m e n t )
7:
           end if
8:
        end for
9:
        if  n S = = 0  then
10:
           return  False , ( )
11:
        else if  n S = = 1  then
12:
            s e q u e n c e M a t c h ( s S )
13:
           return  s e q u e n c e M a t c h , s
14:
        else
15:
           return  False , s
16:
        end if
17:
    else
18:
         s e q u e n c e M a t c h ( s S )
19:
        return  s e q u e n c e M a t c h , s
20:
    end if
21:
end function       ▹ boolean s e q u e n c e M a t c h , Sequence s

5. Experimental Implementation

Section 1 identified three parts in human–machine interactions: the user, the interface, and the device. This section will describe how the hand gesture recognition is embedded in the SMA in real-time, as well as an actual implementation. This system allows a user wearing an IMU to control a computer mouse and keyboard.

5.1. System Design

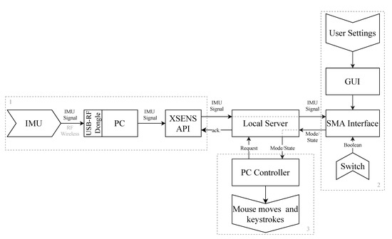
This subsection will elaborate on the entire system design, choices of technology and implementation. In order to maintain the modularity of the system, the latter has been divided into four parts. The first part manages the sensors (IMU), the second part is the actual interface, the third part manages the controlled device (mouse and keyboard), and, finally, those three elements are brought together by a local server on the PC that manages the information exchange among them. Figure 9 presents this architecture.

5.1.1. Sensors

The sensors used in the implementation are the XSENS MTw Awinda [37] wireless IMU. The data are read at 100 Hz and sent to the server.

5.1.2. Interface

The second piece of the system is the actual implementation of the SMA interface, with the addition of a graphical user interface (GUI) that allows the user to set the system up. Through this GUI, the user can record, edit, or delete gestures (defining A), modes (defining C), or sequences, as well as map the sequences to the modes of the controlled AT (defining R). The raw IMU signals dispatched by the local server are processed, according to Algorithm 2. This module takes a third input, which is a boolean value coming from a switch. The switch is simply an external button and is used to send the signal to execute a mode. It also acts as a safety feature, since nothing can be executed unless the switch is pressed. Indeed, if the AT were a robotic arm, this switch would be essential. It can be disabled for certain static modes (e.g., click, copy, and paste) if the user wishes to automatically execute when the sequence is executed. The module then returns the selected mode and switch state to the server.

5.1.3. Controlled Device

In this application, the controlled devices are the mouse and keyboard of a computer, so the modes are keyboard shortcuts (e.g., CTRL+C, CTRL+V, ATL+TAB, arrow keys, and etc.), mouse direction, and mouse clicks. A simple mouse-and-keyboard controller has been developed. It takes a mode and the state of the switch as inputs. This third module manages the final output of the system.

5.1.4. Local Server

Although the first three parts of the system would work independently, they would not offer much functionality without a central piece to bring them together. The local server is a TCP server socket and the three previous modules are client sockets. The server is programmed so that, at each reception of data, it sends a response to the client. The response differs according to the sender. This way, every client–server communication is a synchronous exchange of information, but the clients can be asynchronous from one another. So, if one part of the system crashes, it will not stop the others. Only the failing part will need to restart, reconnect to the server, and resume where the other parts are.
The server also allows the components to be linked easily, even if they are not written in the same language. For example, the API for the sensor and controlled device could be written in C++ and the interface in Python. In a final production environment, the modules can be merged into a single application, but the server’s presence for the development enhances the versatility and fluidity of the development.

5.2. Usage

The user’s experience with the system starts with the graphical interface. The GUI allows the user to set up the program and helps them familiarize themselves with the operation. Even if Equation (4) results in a large number of sequences and modes, there are often far less dimensions to manage, in practice, since most of ATs do not have more than 15 modes to control. Thus, the system stays easy to use. The user’s first steps with the interface (with the GUI) are as follows:
  • Record a first gesture (i.e., execute the gesture five times to train the algorithm).
  • Define a first sequence.
  • Map the sequence with a mode of the computer’s keyboard or mouse.
After these three steps, the user is ready to control the selected modes of the computer. To do so, they:
  • Perform the sequence associated with the desired mode.
  • When in the mode, use the switch to execute the mode (e.g., mode: mouse-up implies that the cursor will go up on activation of the switch).
  • When done, wait two seconds. The mode is left.
  • Perform a new sequence.
With the graphical interface, at any time, the user can also:
  • Record or delete gestures.
  • Create, edit or delete sequences.
  • Edit the mapping between the sequences and the modes.
  • Adjust the system sensitivity (the thresholds that trigger the gesture recognition algorithm as discussed in Section 3).
  • View the current mapping.
  • Have visual feedback of the current sequence and the individual actions performed.
Not having a large dataset has many disadvantages, but it allows the algorithm to train very quickly. This advantage is used every time the gestures or sequences change. When new gestures are added or removed, the recognition model is trained again in a matter of seconds. Additionally, the algorithm verifies which recorded gestures were used by the mapped sequences and only trains or re-trains the model on relevant gestures. This allows the classifier’s training to be optimal on the significant data.

5.3. Availability

The software developed for this project is open-source. It is available at [38].

6. Experiments

Following the development and the implementation presented in the previous sections, a series of tasks, involving the control of a computer mouse and keyboard, were designed to test the system in a real-life scenario. The hand gesture interface was compared against (and combined with) the AssystMouse [39], a head movement-based software, to control the mouse using a webcam. The first objective of the tests was to assess the performance of the hand gesture interface by first comparing it to the AssystMouse software. Then, the tests aimed to evaluate the usage of the hand gesture interface, when combined with the AssystMouse software. In this case, AssystMouse was used to control the mouse and the hand gestures, provided quick keyboard shortcuts (e.g., Tap to copy and tap-tap to paste). The experimental setup is presented in Figure 10. It includes an IMU to input gestures, a webcam required by the AssystMouse, and display monitors showing the graphical interface (displaying the modes, sequences, and options) and the actual workspace where the tasks were performed.
The experiments have been performed by five healthy participants (2 male and 3 female) between 24 and 35 years old. In order to assess the performance of the hand gesture interface, they had to execute two tasks. To set up the experiment, each participant had to record his or her own gestures, then build sequences and map them to specific control modes of the mouse and keyboard. They first recorded three distinct hand gestures:
  • Tap: a simple tap on the table.
  • Swipe: a swipe on or above the table.
  • Shake: wrist shake in the air.
To do so, the participants had to execute each gesture ten times.
The first task, shown in Figure 11, was to open a folder on the PC desktop, then open the spreadsheet in the folder and change the color of the yellow cell to red. This task required the participant to be precise with the mouse, as well as to execute single and double clicks. The participants had to complete this task using first the hand gesture interface and then the AssystMouse and they were timed for both interfaces. With the gestures, five sequences were created: Tap, Tap-Swipe, Shake, Shake-Swipe, and Swipe. Those sequences were mapped to the mouse modes left-click, up, down, left, and right. For this task, a button was used to activate the mode once in it. For instance, if the participant executed Tap-Swipe to enter the mouse-up mode, they had to press the button to actually make the cursor go up. Before the experiment, the participants had ten minutes to familiarize themselves with each interface.
The second task was performed in the spreadsheet. The participants first had to copy and paste a cell three times with the AssystMouse only. Then, they had to do the same thing but using both the Assystmouse and the hand gesture interface. The first three sequences were remapped to the modes click, copy, and paste. Thus, the gestures could be used as shortcuts and the mouse was still controlled with the AssystMouse. This aimed to evaluate the suitability of the hand gesture interface when used as a complement to other available AT control systems.
After the tests, the participants were asked to answer a questionnaire (which contained questions adapted from the QUEAD [40]) and to leave their comments.

7. Results and Discussion

For each task and each interface presented in the previous section, the completion times were noted. The distributions of these data are shown by the plots in Figure 12.
Figure 12 presents the data by task (mouse control and copy–paste) and interface (hand gesture and AssystMouse), shown in a boxplot. The boxplots are wrapped in a violin-like area that shows the estimated probability densities. The means of the completion times, plus or minus the standard deviations, are also displayed in the figure.
The distributions show that a webcam-based system, for the control of the mouse, is still much faster. However, the standard deviation of the times for the hand gesture mouse control task being relatively low indicates that the system is reliable and robust, since all the participants were able to complete the task in similar times. In other words, it does not seem to require any specific skills to work.
On the other hand, the copy–paste task’s data shows that the integration of the hand gesture interface with the AssystMouse consistently improved the participants’ time by 77%, on average. In addition, a one-tailed, non-parametric Wilcoxon signed-rank test also confirmed that the usage of the hand gesture interface significantly decreases the time to perform the second task (p-value = 0.043 < 0.050).
Another metric to look at for the experiments is the setup time for the first usage of the hand gesture interface. In general, the average time to record the three gestures was 99 s, and the time to set up the five sequences and map them to the five modes was about 69 s. These actions are only executed the first time a participant uses the interface. The participant’s data are then kept in memory. Therefore, it might be cumbersome to use the hand gesture solution the first time. However, because these actions are only required once (at the installation of the hand gesture interface) and are kept in memory from day to day, the payback increases rapidly with time.
Finally, some qualitative data has been gathered from the experiments, as the participants answered a questionnaire after completing the tasks. This allowed the participants to rate their appreciation of the system. The results of this questionnaire are presented in Figure 13.
The results show that the participants appreciated using the hand gesture interface. They felt that it would get easier to use with time, but still needed a fair level of concentration when using it. However, they did not find it cumbersome, counterintuitive, or difficult to use. They also noted in the comments that they especially liked using the hand gesture interface in combination with the AssystMouse, as it gave them quick access to shortcuts that were easy to execute.
The tasks chosen for the experiments aimed to evaluate the user’s control over the cursor, while being able to execute various commands (e.g., clicks). Many users living with muscular dystrophy or spinal cord injury, for instance, can move their wrist or fingers. However, they might not be able to move their arm enough to control a mouse, and it is even more difficult to lift the arm to control a keyboard. With the device, they can rest their arm on an armrest and move the wrist so the system can recognize different movement signatures, which can help them to control different shortcuts, such as those tested in the experiments. In a case where they can’t control their arm or wrist, the device can be installed on another body part such as a foot or the head.
The choice to compare the hand gesture interface against the AssystMouse technology also brings interesting results to the experiment. The AssystMouse is used in practice and is easily available; it represents a valid reference point to compare the hand gesture interface, since both interfaces may be used by the same population. The AssystMouse is also the type of interface that makes use of subgroups to organize its commands (e.g., clicks: right, left, and double; triggers: auto and eyebrows). Thus, the user has to go to the home menu of the interface every time he/she wants to switch modes. The SMA allows for bypassing those sub-groups and uses a command directly. This explains why the AssystMouse becomes much faster when combined with the hand gestures.
The main takeaway of this experiment is, perhaps, the efficiency of that combination. The interfaces complement each other very well, showing that the SMA could be combined with other devices, such as joysticks, and perform similarly.

8. Conclusions

This paper has presented the development of an interface to control an assistive technology efficiently and intuitively. The goal was to help people living with upper or lower limb disabilities in their daily tasks. More specifically, the objective was to develop an interface to easily control high-dimensionality ATs with low-dimensionality devices. To do so, a second application of the sequence matching algorithm, presented in [18], has been developed. The main advantage of the SMA is to navigate quickly among different modes of an AT (without having to cluster them into multiple sub-groups) while maintaining a robust system. The idea of the SMA was to combine simple actions into a sequence similar to Morse code.
For this project, the SMA has been applied to hand gestures recognized from IMU signals. This brought the problem of having to train a model to recognize those gestures with a dataset of a size significantly lower than that of a typical machine learning implementation. To answer the problem, four lightweight, yet robust, classification algorithms have been identified and tested against a five-class dataset. The classifiers were support vector machines, linear discriminant analysis, adaptative boosting, and K-nearest neighbors. The best performing classifier was the linear SVM, with 95% of the predictions correct on the offline data. Since the size of the training dataset was small, this score could be increased by simply having fewer classes (different gestures) or having gestures that are qualitatively more different. Fortunately, this can be done, since it is the principal advantage of the SMA to give many different instructions with limited physical inputs. The SVM algorithm was preceded by the extraction of the features on the raw accelerometer and gyroscope signals, as well as by a PCA to reduce the dimensionality of the features. These components established the classification pipeline that predicts gestures from inputted IMU signals. The pipeline had then been wrapped in a triggering algorithm and implemented in real-time, so that it would output a prediction quickly on any valid input.
In addition to the elaboration of the gesture recognition routine, a complete, actual application integrating the IMU, the SMA interface, and a controlled device has been developed. The architecture of the system consisted of these three components (sensor, interface, and device), implemented as independent modules and organized together with a local server as a central piece. In the development environment, this configuration has proven versatile and efficient. The sensor module was a wireless commercial IMU and the device was a computer’s mouse and keyboard (moves and shortcuts). Additionally, the user could interact with the system with a GUI to edit settings, gestures, sequences, and mappings, as well as to have visual feedback of the state of the actions performed.
The implementation has been tested in two scenarios. For the control of the computer mouse, when the hand gesture interface was compared against a head movement-based interface using a webcam, the latter seems superior. However, when combined, the hand gestures help participants increase their performance by 77%, by offering quick shortcuts accessible with the gestures’ sequences. Besides, even if the head movement interface offers better performance for the first half of the experiments, both interfaces may be better adapted to different populations and different scenarios.
Although the focus here is on an application of SMA with hand gestures, the interface is not limited to hands or to a computer as an AT. It could use head gestures (tilting) or lower limb moves (leg raise and foot stamps), as well. The application would not require any modifications. If the user wanted to control a robotic arm, instead of a computer, only the controlled-device module (Section 5.1.3) would need to be modified in the system. The control of an assistive robotic arm represents an interesting implementation for the SMA, as well as a useful development for people living with disabilities. Additionally, future work would be to continue to develop more intelligent algorithms, in order to increase the robustness of the system and to test the application with people living with disabilities executing more complex tasks, to further assess the versatility of the interface.

Author Contributions

Conceptualization, A.C.-L. and F.S.; software, F.S.; validation, F.S. and A.C.-L.; writing—original draft preparation, F.S.; writing—review and editing, F.S. and A.C.-L.; supervision, A.C.-L.; project administration, A.C.-L.; funding acquisition, A.C.-L. All authors have read and agreed to the published version of the manuscript.

Funding

This work is supported by Dr. Campeau-Lecours’ startup fund, allocated by the Centre for Interdisciplinary Research in Rehabilitation and Social Integration (Cirris).

Institutional Review Board Statement

The study was conducted according to the guidelines of the Declaration of Helsinki, and approved by the Institutional Ethics Committee of CIUSSS-CN (protocol code 2019-1603, RIS_2018-616 date of approval 2018-06-19).

Informed Consent Statement

Informed consent was obtained from all subjects involved in the study.

Data Availability Statement

The data presented in this study are available on request from the corresponding author. The data are not publicly available due to privacy.

Conflicts of Interest

The authors declare no conflict of interest.

Abbreviations

The following abbreviations are used in this manuscript:
APIApplication programming interface
ATAssistive technology
CNNConvolution neural network
DofDegrees of freedom
EMGElectromyography
FFTFast fourier transform
GUIGraphical user interface
IMUInertial measurement unit
kNN K-nearest neighbors
LDA Linear discriminant analysis
PCA Principal component analysis
SMA Sequence-matching algorithm
SVM Support vector machine
TCP Transmission control protocol

References

  1. Maheu, V.; Archambault, P.S.; Frappier, J.; Routhier, F. Evaluation of the JACO robotic arm: Clinico-economic study for powered wheelchair users with upper-extremity disabilities. In Proceedings of the IEEE International Conference on Rehabilitation Robotics, Zurich, Switzerland, 29 June–1 July 2011. [Google Scholar] [CrossRef]
  2. Lajeunesse, V.; Vincent, C.; Routhier, F.; Careau, E.; Michaud, F. Exoskeletons’ design and usefulness evidence according to a systematic review of lower limb exoskeletons used for functional mobility by people with spinal cord injury. Disabil. Rehabil. Assist. Technol. 2016, 11, 535–547. [Google Scholar] [CrossRef] [PubMed]
  3. Friedman, N.; Cuadra, A.; Patel, R.; Azenkot, S.; Stein, J.; Ju, W. Voice assistant strategies and opportunities for people with tetraplegia. In Proceedings of the ASSETS 2019—21st International ACM SIGACCESS Conference on Computers and Accessibility; Association for Computing Machinery, Inc.: New York, NY, USA, 2019; pp. 575–577. [Google Scholar] [CrossRef] [Green Version]
  4. Herlant, L.V.; Holladay, R.M.; Srinivasa, S.S. Assistive teleoperation of robot arms via automatic time-optimal mode switching. In Proceedings of the ACM/IEEE International Conference on Human-Robot Interaction, Christchurch, New Zealand, 7–10 March 2016; pp. 35–42. [Google Scholar] [CrossRef]
  5. Herlant, L.V.; Forlizzi, J.; Hcii, C.; Takayama, L.A.; Cruz, S. Algorithms, Implementation, and Studies on Eating with a Shared Control Robot Arm; Technical Report; Carnegie Mellon University: Pittsburgh, PA, USA, 2018. [Google Scholar] [CrossRef]
  6. Andreasen Struijk, L.N.; Egsgaard, L.L.; Lontis, R.; Gaihede, M.; Bentsen, B. Wireless intraoral tongue control of an assistive robotic arm for individuals with tetraplegia. J. Neuroeng. Rehabil. 2017, 14, 1–8. [Google Scholar] [CrossRef] [PubMed] [Green Version]
  7. Johansen, D.; Cipriani, C.; Popovic, D.B.; Struijk, L.N. Control of a Robotic Hand Using a Tongue Control System-A Prosthesis Application. IEEE Trans. Biomed. Eng. 2016, 63, 1368–1376. [Google Scholar] [CrossRef] [PubMed]
  8. Azenkot, S.; Lee, N.B. Exploring the use of speech input by blind people on mobile devices. In Proceedings of the 15th International ACM SIGACCESS Conference on Computers and Accessibility, ASSETS 2013, New York, NY, USA, 21–23 October 2013; ACM: New York, NY, USA, 2013; pp. 1–8. [Google Scholar] [CrossRef]
  9. Poirier, S.; Routhier, F.; Campeau-Lecours, A. Voice control interface prototype for assistive robots for people living with upper limb disabilities. In Proceedings of the IEEE International Conference on Rehabilitation Robotics, Toronto, ON, Canada, 24–28 June 2019; pp. 46–52. [Google Scholar] [CrossRef]
  10. Fall, C.L.; Gagnon-Turcotte, G.; Dube, J.F.; Gagne, J.S.; Delisle, Y.; Campeau-Lecours, A.; Gosselin, C.; Gosselin, B. Wireless sEMG-Based Body-Machine Interface for Assistive Technology Devices. IEEE J. Biomed. Health Inform. 2017, 21, 967–977. [Google Scholar] [CrossRef] [PubMed]
  11. Farina, D.; Jiang, N.; Rehbaum, H.; Holobar, A.; Graimann, B.; Dietl, H.; Aszmann, O.C. The extraction of neural information from the surface EMG for the control of upper-limb prostheses: Emerging avenues and challenges. IEEE Trans. Neural Syst. Rehabil. Eng. 2014, 22, 797–809. [Google Scholar] [CrossRef] [PubMed]
  12. Scheme, E.; Englehart, K. Electromyogram pattern recognition for control of powered upper-limb prostheses: State of the art and challenges for clinical use. J. Rehabil. Res. Dev. 2011, 48, 643–660. [Google Scholar] [CrossRef] [PubMed]
  13. Raya, R.; Roa, J.O.; Rocon, E.; Ceres, R.; Pons, J.L. Wearable inertial mouse for children with physical and cognitive impairments. Sens. Actuators A Phys. 2010, 162, 248–259. [Google Scholar] [CrossRef]
  14. Fall, C.L.; Turgeon, P.; Campeau-Lecours, A.; Maheu, V.; Boukadoum, M.; Roy, S.; Massicotte, D.; Gosselin, C.; Gosselin, B. Intuitive wireless control of a robotic arm for people living with an upper body disability. In Proceedings of the Annual International Conference of the IEEE Engineering in Medicine and Biology Society (EMBS), Milan, Italy, 25–29 August 2015; Institute of Electrical and Electronics Engineers Inc.: Piscataway, NJ, USA, 2015; pp. 4399–4402. [Google Scholar] [CrossRef]
  15. Lebrasseur, A.; Lettre, J.; Routhier, F.; Archambault, P.S.; Campeau-Lecours, A. Assistive robotic arm: Evaluation of the performance of intelligent algorithms. Assist. Technol. 2021, 33, 95–104. [Google Scholar] [CrossRef] [PubMed]
  16. Vu, D.S.; Allard, U.C.; Gosselin, C.; Routhier, F.; Gosselin, B.; Campeau-Lecours, A. Intuitive adaptive orientation control of assistive robots for people living with upper limb disabilities. In Proceedings of the IEEE International Conference on Rehabilitation Robotics, London, UK, 17–20 July 2017; pp. 795–800. [Google Scholar] [CrossRef]
  17. Simpson, T.; Broughton, C.; Gauthier, M.J.; Prochazka, A. Tooth-click control of a hands-free computer interface. IEEE Trans. Biomed. Eng. 2008, 55, 2050–2056. [Google Scholar] [CrossRef] [PubMed]
  18. Schweitzer, F.; Campeau-Lecours, A. Intuitive sequence matching algorithm applied to a sip-and-puff control interface for robotic assistive devices. arXiv 2020, arXiv:2010.07449. [Google Scholar]
  19. Wakita, Y.; Yamanobe, N.; Nagata, K.; Clerc, M. Customize function of single switch user interface for robot arm to help a daily life. In Proceedings of the 2008 IEEE International Conference on Robotics and Biomimetics, ROBIO 2008, Bangkok, Thailand, 22–25 February 2009; pp. 294–299. [Google Scholar] [CrossRef]
  20. Pilarski, P.M.; Dawson, M.R.; Degris, T.; Carey, J.P.; Sutton, R.S. Dynamic switching and real-time machine learning for improved human control of assistive biomedical robots. In Proceedings of the IEEE RAS and EMBS International Conference on Biomedical Robotics and Biomechatronics, Rome, Italy, 24–27 June 2012; pp. 296–302. [Google Scholar] [CrossRef]
  21. Bevilacqua, P.; Frego, M.; Bertolazzi, E.; Fontanelli, D.; Palopoli, L.; Biral, F. Path planning maximising human comfort for assistive robots. In Proceedings of the 2016 IEEE Conference on Control Applications, CCA 2016, Buenos Aires, Argentina, 19–22 September 2016; Institute of Electrical and Electronics Engineers Inc.: Piscataway, NJ, USA, 2016; pp. 1421–1427. [Google Scholar] [CrossRef]
  22. Kyranou, I.; Krasoulis, A.; Erden, M.S.; Nazarpour, K.; Vijayakumar, S. Real-Time classification of multi-modal sensory data for prosthetic hand control. In Proceedings of the IEEE RAS and EMBS International Conference on Biomedical Robotics and Biomechatronics, Singapore, 26–29 June 2016; pp. 536–541. [Google Scholar] [CrossRef] [Green Version]
  23. Qi, W.; Su, H.; Yang, C.; Ferrigno, G.; De Momi, E.; Aliverti, A. A Fast and Robust Deep Convolutional Neural Networks for Complex Human Activity Recognition Using Smartphone. Sensors 2019, 19, 3731. [Google Scholar] [CrossRef] [Green Version]
  24. Jiang, S.; Lv, B.; Guo, W.; Zhang, C.; Wang, H.; Sheng, X.; Shull, P.B. Feasibility of wrist-worn, real-time hand, and surface gesture recognition via sEMG and IMU Sensing. IEEE Trans. Ind. Inform. 2018, 14, 3376–3385. [Google Scholar] [CrossRef]
  25. Kundu, A.S.; Mazumder, O.; Lenka, P.K.; Bhaumik, S. Hand Gesture Recognition Based Omnidirectional Wheelchair Control Using IMU and EMG Sensors. J. Intell. Robot. Syst. Theory Appl. 2018, 91, 529–541. [Google Scholar] [CrossRef]
  26. Lu, Z.; Chen, X.; Li, Q.; Zhang, X.; Zhou, P. A hand gesture recognition framework and wearable gesture-based interaction prototype for mobile devices. IEEE Trans. Hum.-Mach. Syst. 2014, 44, 293–299. [Google Scholar] [CrossRef]
  27. Srivastava, R.; Sinha, P. Hand Movements and Gestures Characterization Using Quaternion Dynamic Time Warping Technique. IEEE Sens. J. 2016, 16, 1333–1341. [Google Scholar] [CrossRef]
  28. Hsu, Y.L.; Chu, C.L.; Tsai, Y.J.; Wang, J.S. An inertial pen with dynamic time warping recognizer for handwriting and gesture recognition. IEEE Sens. J. 2015, 15, 154–163. [Google Scholar] [CrossRef]
  29. Akl, A.; Feng, C.; Valaee, S. A novel accelerometer-based gesture recognition system. IEEE Trans. Signal Process. 2011, 59, 6197–6205. [Google Scholar] [CrossRef] [Green Version]
  30. Kim, M.; Cho, J.; Lee, S.; Jung, Y. IMU Sensor-Based Hand Gesture Recognition for Human-Machine Interfaces. Sensors 2019, 19, 3827. [Google Scholar] [CrossRef] [PubMed] [Green Version]
  31. Wang, X.; Xia, M.; Cai, H.; Gao, Y.; Cattani, C. Hidden-Markov-Models-based dynamic hand gesture recognition. Math. Probl. Eng. 2012, 2012. [Google Scholar] [CrossRef]
  32. McCall, C.; Reddy, K.K.; Shah, M. Macro-Class Selection for Hierarchical k-NN Classification of Inertial Sensor Data; Science and Technology Publications: Setúbal, Portugal, 2012; pp. 106–114. [Google Scholar] [CrossRef] [Green Version]
  33. Khan, A.M.; Lee, Y.K.; Kim, T.S. Accelerometer signal-based human activity recognition using augmented autoregressive model coefficients and artificial neural nets. In Proceedings of the 30th Annual International Conference of the IEEE Engineering in Medicine and Biology Society, EMBS’08—Personalized Healthcare through Technology, Vancouver, BC, Canada, 20–25 August 2008; pp. 5172–5175. [Google Scholar] [CrossRef]
  34. Estrada, E.; Nazeran, H.; Nava, P.; Behbehani, K.; Burk, J.; Lucas, E. EEG feature extraction for classification of sleep stages. In Proceedings of the 26th Annual International Conference of the IEEE Engineering in Medicine and Biolog, San Francisco, CA, USA, 1–5 September 2004; pp. 196–199. [Google Scholar] [CrossRef]
  35. Verleysen, M.; François, D. The Curse of Dimensionality in Data Mining and Time Series Prediction; Lecture Notes in Computer Science; Springer: Berlin, Germany, 2005; Volume 3512, pp. 758–770. [Google Scholar] [CrossRef]
  36. Pedregosa, F.; Varoquaux, G.; Gramfort, A.; Michel, V.; Thirion, B.; Grisel, O.; Blondel, M.; Prettenhofer, P.; Weiss, R.; Dubourg, V.; et al. Scikit-learn: Machine Learning in Python. J. Mach. Learn. Res. 2011, 12, 2825–2830. [Google Scholar]
  37. XSENS. MTw Awinda. Available online: https://www.xsens.com/products/mtw-awinda (accessed on 15 March 2021).
  38. Frederic Schweitzer. TeamAT IMU-Hand-Gestures. Available online: https://github.com/team-ingreadaptulaval/TeamAT_IMU-hand-gestures (accessed on 15 March 2021).
  39. Assistyv. AssystMouse. Available online: https://www.assistyv.com/ (accessed on 15 March 2021).
  40. Schmidtler, J.; Bengler, K.; Dimeas, F.; Campeau-Lecours, A. A questionnaire for the evaluation of physical assistive devices (quead): Testing usability and acceptance in physical human-robot interaction. In Proceedings of the 2017 IEEE International Conference on Systems, Man, and Cybernetics, SMC 2017, Banff, AB, Canada, 5–8 October 2017; Institute of Electrical and Electronics Engineers Inc.: Piscataway, NJ, USA, 2017; pp. 876–881. [Google Scholar] [CrossRef] [Green Version]
Figure 1. Graph of possible sub-control groups for an assistive robotic arm.
Figure 1. Graph of possible sub-control groups for an assistive robotic arm.
Signals 02 00043 g001
Figure 2. Symbolic diagram of the classification process (pipeline).
Figure 2. Symbolic diagram of the classification process (pipeline).
Signals 02 00043 g002
Figure 3. Input signal examples for (a) a hand tap acceleration, (b) a hand tap angular velocity, (c) a thumb tap acceleration, and (d) a thumb tap angular velocity.
Figure 3. Input signal examples for (a) a hand tap acceleration, (b) a hand tap angular velocity, (c) a thumb tap acceleration, and (d) a thumb tap angular velocity.
Signals 02 00043 g003
Figure 4. Fast Fourier transform examples for (a) a hand tap acceleration, (b) a hand tap angular velocity, (c) a thumb tap acceleration, and (d) a thumb tap angular velocity.
Figure 4. Fast Fourier transform examples for (a) a hand tap acceleration, (b) a hand tap angular velocity, (c) a thumb tap acceleration, and (d) a thumb tap angular velocity.
Signals 02 00043 g004
Figure 5. PCA’s linear projection of the dataset in two-dimensions (a) and three-dimensions (b).
Figure 5. PCA’s linear projection of the dataset in two-dimensions (a) and three-dimensions (b).
Signals 02 00043 g005
Figure 6. Normalized confusion matrices, resulting from the validation of the optimized SVM classifier for (a) five different gestures and (b) four different gestures.
Figure 6. Normalized confusion matrices, resulting from the validation of the optimized SVM classifier for (a) five different gestures and (b) four different gestures.
Signals 02 00043 g006
Figure 7. Final diagram of the classification process (pipeline).
Figure 7. Final diagram of the classification process (pipeline).
Signals 02 00043 g007
Figure 8. Simplified representation of the general idea behind the sequence matching algorithm.
Figure 8. Simplified representation of the general idea behind the sequence matching algorithm.
Signals 02 00043 g008
Figure 9. System architecture for implementing an SMA interface for the control of a computer mouse and keyboard. The dotted boxes represent the modular parts of the system. The chevron-shaped boxes represent the inputs and outputs of the system.
Figure 9. System architecture for implementing an SMA interface for the control of a computer mouse and keyboard. The dotted boxes represent the modular parts of the system. The chevron-shaped boxes represent the inputs and outputs of the system.
Signals 02 00043 g009
Figure 10. Experimental setup for the hand gesture interface evaluation.
Figure 10. Experimental setup for the hand gesture interface evaluation.
Signals 02 00043 g010
Figure 11. Five steps to execute with both the hand gesture interface and the AssystMouse to complete the first task.
Figure 11. Five steps to execute with both the hand gesture interface and the AssystMouse to complete the first task.
Signals 02 00043 g011
Figure 12. Distributions of the total completion times by task and interfaces.
Figure 12. Distributions of the total completion times by task and interfaces.
Signals 02 00043 g012
Figure 13. Post experiment questionnaire results.
Figure 13. Post experiment questionnaire results.
Signals 02 00043 g013
Table 1. Summary of the extracted features. The values indicate the number of features extracted for each signal metrics.
Table 1. Summary of the extracted features. The values indicate the number of features extracted for each signal metrics.
On AccelerometerOn GyroscopeBetween Both
Full signal window
Correlation coefficient 1
Mean11
Median11
Maximum11
Minimum11
Standard deviation11
Interquartile range11
Area under the curve11
FFT-median11
FFT-max11
FFT-energy11
Kurtosis11
Autoregressive coefficients33
Split signal window
Correlation coefficient 4
Mean44
Median44
Maximum44
Minimum44
Interquartile range44
Area under the curve44
Table 2. Studied machine learning classifiers and their advantages.
Table 2. Studied machine learning classifiers and their advantages.
ClassifierAdvantages
Support vector machines (SVM)Limits overfitting, robust
Linear discriminant analysis (LDA)Fast training, low memory usage, very easy to implement
Adaptative boosting (AdaBoost)Fast, works well on smaller datasets
K-nearest neighbors (KNN)Fast training, very easy to implement
Table 3. Evaluations of the machine learning models, in function of their hyper-parameters’ tuning. The value C > 0 is a regularization parameter, ϕ is the kernel function of the SVM (commonly, Gaussian, polynomial, or sigmoid). The solver of the LDA can be a singular value decomposition, least-square solution, or eigenvalue decomposition. The AdaBoost algorithm uses decision trees as weak learners, where n e s t i m a t o r s is the number of trees and m a x d e p t h is the depth of those trees; k n e i g h b o r s is the number of points to compare for the KNN algorithm, and w e i g h t s is the weighting of each neighbor and can be uniform or a function of the distances.
Table 3. Evaluations of the machine learning models, in function of their hyper-parameters’ tuning. The value C > 0 is a regularization parameter, ϕ is the kernel function of the SVM (commonly, Gaussian, polynomial, or sigmoid). The solver of the LDA can be a singular value decomposition, least-square solution, or eigenvalue decomposition. The AdaBoost algorithm uses decision trees as weak learners, where n e s t i m a t o r s is the number of trees and m a x d e p t h is the depth of those trees; k n e i g h b o r s is the number of points to compare for the KNN algorithm, and w e i g h t s is the weighting of each neighbor and can be uniform or a function of the distances.
ClassifierHyper-ParametersBest ConfigurationBest Score
SVM ( C , ϕ ) ( 0.1 , linear ) 95%
LDA ( s o l v e r ) ( least square ) 85%
AdaBoost ( n e s t i m a t o r s , m a x d e p t h ) ( 25 , 100 ) 85%
KNN ( k n e i g h b o r s , w e i g h t s ) ( 2 , distance ) 92%
Table 4. Number of possible sequences, with respect to the number of distinct actions | A | and the chosen maximum number of actions per sequence k.
Table 4. Number of possible sequences, with respect to the number of distinct actions | A | and the chosen maximum number of actions per sequence k.
k = 1 k = 2 k = 3
| A | = 2 2614
| A | = 3 31239
| A | = 4 42084
| A | = 5 530155
Publisher’s Note: MDPI stays neutral with regard to jurisdictional claims in published maps and institutional affiliations.

Share and Cite

MDPI and ACS Style

Schweitzer, F.; Campeau-Lecours, A. IMU-Based Hand Gesture Interface Implementing a Sequence-Matching Algorithm for the Control of Assistive Technologies. Signals 2021, 2, 729-753. https://doi.org/10.3390/signals2040043

AMA Style

Schweitzer F, Campeau-Lecours A. IMU-Based Hand Gesture Interface Implementing a Sequence-Matching Algorithm for the Control of Assistive Technologies. Signals. 2021; 2(4):729-753. https://doi.org/10.3390/signals2040043

Chicago/Turabian Style

Schweitzer, Frédéric, and Alexandre Campeau-Lecours. 2021. "IMU-Based Hand Gesture Interface Implementing a Sequence-Matching Algorithm for the Control of Assistive Technologies" Signals 2, no. 4: 729-753. https://doi.org/10.3390/signals2040043

APA Style

Schweitzer, F., & Campeau-Lecours, A. (2021). IMU-Based Hand Gesture Interface Implementing a Sequence-Matching Algorithm for the Control of Assistive Technologies. Signals, 2(4), 729-753. https://doi.org/10.3390/signals2040043

Article Metrics

Back to TopTop