Next Article in Journal
Additive Manufacturing of Dual-Zone Personalized Shin Guards
Previous Article in Journal
Degradation and Long-Term Response Evaluation of Polymeric Components Produced by Additive Manufacturing
 
 
Font Type:
Arial Georgia Verdana
Font Size:
Aa Aa Aa
Line Spacing:
Column Width:
Background:
Article

Geometry-Dependent Mechanical Performance of Additively Manufactured Metal–Polymer Hybrid Joints with Lattice-Based Transition Zones

by
Alexander Walzl
* and
Konstantin Prabitz
Chair of Metalforming, Technical University of Leoben, Franz-Josef Straße 18, 8700 Leoben, Austria
*
Author to whom correspondence should be addressed.
J. Manuf. Mater. Process. 2026, 10(3), 103; https://doi.org/10.3390/jmmp10030103
Submission received: 12 February 2026 / Revised: 6 March 2026 / Accepted: 15 March 2026 / Published: 17 March 2026

Abstract

Metal–polymer hybrid joints are gaining importance as they combine high structural rigidity with a low weight. Additive manufacturing processes such as the laser powder bed fusion process (L-PBF) enable the production of complex metallic lattice structures that allow for form-fitting force transmission between the metal and polymer as mechanical interlock elements. In this work, metal–polymer hybrid compounds with additively manufactured transition zones are systematically investigated and mechanically evaluated. Three different lattice geometries (z4A, z8A, z8V) were fabricated from maraging steel (1.2709) using L-PBF and then hybridised with injection moulding using polypropylene (PP C7069-100NA). Mechanical characterisation was performed by tensile tests according to DIN EN ISO 527, in combination with statistical analyses and an analytical serial three-spring model to determine the homogenised elasticity modulus of the transition zone. The results show significant geometry-related differences in tensile strength, maximum force, and effective stiffness. The A-shaped transition zone geometry (z4A) achieves the highest mechanical performance and up to 82% of the tensile strength of the pure polymer, while the V-shaped transition zone geometry (z8V) has significantly lower load-bearing capacities. Variance analysis shows a dominant geometric influence with effect strength of η2 ≈ 0.99. The analytically predicted stiffness values match the experimental results within 5–10%. This work demonstrates a reproducible, simulation-sparse approach to the analysis and design of metal–polymer hybrid connections.

Graphical Abstract

1. Introduction

For modern lightweight applications, the combination of different materials plays a crucial role to fulfil specific demands [1]. In general assemblies, metal parts act as load-bearing structural elements, while polymers address functional or aesthetic roles because of their low density, good formability, and adjustable surface properties. Therefore, for certain applications, the joining of polymers and metals is crucial for high part-life durability and sustainable design. Kah et al. [2] and Amancio-Filho et al. [3] divide actual joining methods into glueing and mechanical and energetic joining. Energy-based joining technologies like laser- or ultrasonic joining demonstrate strong potential in joining performance, but they are also very limited due to material combinations of dissimilar materials and surface topography [4,5,6,7,8,9]. In contrast, mechanical joining technologies like riveting or clinching lead to high damage to the polymer next to the joining position, which significantly reduces the dynamic performance and service lifespan of the joint [10]. Galińska [11] addresses the weaker joining performance of mechanically joined fibre-reinforced polymers due to delamination, stress peaks, and structural degradation [12]. Central to all polymers is very low adhesion bonding to metallic surfaces [13,14,15], meaning that geometrical interlocks are the only possibility to connect metals and polymers [16]. Grujicic et al. [17] show form-fitting hybrid joints, generated by conventional metal forming technologies and injection moulding, but only with low shear and tensile properties in the joint. Lambiase et al. [18,19,20] investigate mechanically clinched aluminium–polymer hybrid joints, finding that a strong affinity for crack initiation within the polymer is evident. This behaviour can also be seen in other energetic and mechanical joining technologies, like friction welding [21,22], ultrasonic welding [23,24,25,26], and riveting [27]. These studies propose that the overall joining performance is governed by the interlock geometry among all joining partners.
By considering additive manufacturing technologies, more complex joint interfaces can be realised [28]. Abreu et al. [13] show that a geometrically optimised pin interlock and adapted AM processing parameters lead to an increase in joint performance of +368.97%. Furthermore, the study shows a direct relationship between the pin shape (cylindrical, conical, combined) and the joint performance by generating mechanical interlocks. Additionally, the homogenous distribution of the polymer and the occurrence of entrapped air (pores) are crucial for generating high-performance joints. Ren et al. [14] support this result and show that better wettability of the polymer on the metal part, as well as a better mechanical interlock, can be achieved through nano-scale structured surfaces. Furthermore, Pereira et al. [29] show that the joint performance (shear strength) and the necessary forces for joining can be improved by using meso-scale profiles. Both studies show that the addressed length scale of the interlock structures is crucial for the generation of high-performance metal–polymer joints.
These studies show that additive manufacturing technologies are suitable for generating hybrid joints. The laser powder bed fusion process (L-PBF) is well established to generate complex geometries with high accuracy in a layer-wise manner [30,31]. The used near-infrared (NIR) laser melts the used metal powder line by line and layer by layer within the desired geometry [32,33,34]. This unique manufacturing process enables the generation of complex-shaped interlock geometries on metal parts [35,36,37,38]. The fields of application for such hybrid joints are automotive and aerospace structures with a light weight. The present study investigates the suitability of structured lattice geometries for hybrid metal–polymer joints in depth. It is subdivided into a general part on the estimation of the optimal transition zone length h and unit cell sizes z, followed by a study on different transition shapes (A and V shapes; see Figure 1). The hybrid joint performance is evaluated by tensile testing and statistical analysis (ANOVA). Furthermore, an analytic spring model is used to describe the relative stiffness of the hybrid joint. Despite the increasing interest in hybrid metal–polymer structures, the design of reliable transition zones remains a major engineering challenge. Conventional joining techniques such as adhesives, mechanical fasteners, or surface structuring often suffer from limited load transfer capabilities, process complexity, or insufficient durability under mechanical loading. Additive manufacturing offers new possibilities for designing complex lattice-based interlocking structures that can improve the mechanical interaction between metal and polymer components. However, systematic investigations on how the lattice geometry influences the mechanical performance of such hybrid joints are still limited. The present study addresses this gap by experimentally investigating different lattice transition geometries and identifying key design parameters that govern the mechanical performance of additively manufactured metal–polymer hybrid connections.

2. Materials and Methods

The investigated hybrid metal–polymer joints consist of maraging steel (1.2709) and polypropylene (Braskem PP C7069-100NA). The metal parts (including the different lattice structures; see Figure 2) are generated by L-PBF and used as an “inlay” within the injection mould to apply the polymer component.
Maraging steel provides good processability, with high strength of up to 2100 MPa and a nominal Young’s modulus of 175 GPa. Polypropylene has a low density, good processability, and moderate toughness. Reference measurements at 23 °C and 50% relative humidity show a Young’s modulus of 1.656 GPa and UTS of 26.6 MPa.
Furthermore, it was found, using a flat transition zone, that there was no chemical or natural bonding between the polymer and the metal component. Therefore, the final tensile test results were only governed by the interlock of the polymer inside the metal lattice structure.
The first series of samples addressed the influences of the different cell sizes and transition lengths. The transition zone was kept perpendicular for all cell size and length combinations to exclude any geometrical impact on the joint performance. The sample configuration included transition zone lengths of 5 mm, 10 mm, and 15 mm and cell sizes of 2 mm, 4 mm, and 8 mm (Table 1). In the present study, the relative density of the lattice structures was kept constant at 30% in order to isolate the influence of geometric parameters such as the cell size and transition geometry. Variations in the relative density would simultaneously influence the stiffness of the lattice and the available polymer interlocking volume and were therefore beyond the scope of the present investigation. The final tensile sample with a hybrid transition zone (Figure 3) meets the standard geometry for tensile test specimens of polymers. This defined specimen geometry enables the clear separation of the elastic contributions of the metallic segment, the polymer segment, and the transition zone, which is essential for the subsequent application of the analytical three-spring model.
The second test series focused on the impact of the geometrical shape of the lattice structure within the transition zone. An A-shaped and a V-shaped transition geometry (see Figure 1 and Table 2) were used to determine the importance of the general transition geometry for the hybrid joint performance. In combination with the perpendicular transition from the first series, three different shape types were available for shape impact evaluation.
Different transition shapes influence the polymer flow during joining and affect the possible interlock between both materials. The investigated geometric parameter levels were selected based on both manufacturing constraints and design considerations. The chosen lattice cell sizes (z = 2, 4, and 8 mm) represent different structural scales that can be reliably produced using the L-PBF process while still allowing sufficient polymer infiltration during injection moulding. The smallest cell size approaches the lower manufacturable limit for stable lattice structures, whereas the larger cell sizes allowed the investigation of coarser structural configurations and their influences on load transfer behaviour. The selected transition zone lengths (a = 5, 10, and 15 mm) represent typical design ranges for lattice-based interlocking zones in hybrid joints and enabled a systematic investigation of the influence of the transition length on the mechanical response of the hybrid structure.

2.1. Sample Preparation

The L-PBF machine M280 by EOS (Krailling, Germany) was used to generate the metal side of the tensile test specimen. Maraging steel powder X3NiCoMoTi 18-9-5 (1.2709) was taken, with a mean particle diameter of 40 µm. The laser parameters were set to a power level of 285 W and a scan velocity of 960 mm/s. Furthermore, a hatch distance of 0.11 mm and a spot diameter of 100 µm were applied. All additively manufactured parts were ground on both plane sides for the injection moulding process to avoid any influence of the rough as-welded surface. A maximum thickness of the metal samples of 4 mm was chosen. The necessary grinding work was performed by a surface grinding machine (SJ824, Jakobsen, Vejle, Denmark) loaded with an Al2O3 grinding disc. The next step was the application of the polymer material on the metal part. The hybrid joint between the metal and polymer was achieved by injection moulding. The injection moulding machine Arburg Allrounder 470A 1000-400 (Arburg, Loßburg, Germany) was used, with the processing setup given in Table 3.
The polypropylene Braskem PP C7069-100NA was used for the polymer part. Its good fluidity and processing capabilities are favourable for the creation of hybrid joints.
To validate that the applied injection moulding parameters ensured the complete filling of the polymer, a preliminary mould flow-based filling simulation was performed. The results confirmed that the polymer front reached all lattice cavities without stagnation zones. Figure 4 shows the predicted time for solidification, indicating the complete infiltration of the metal lattice.
In general, process simulations of mould filling and solidification are very valuable tools in casting and moulding processes, as they allow the prediction of material flows, temperature distribution, and potential defect formation, thereby enabling improved process design and component quality [39].

2.2. Testing Procedure

For the mechanical testing of the hybrid metal–polymer joint, the tensile testing machine Zwick Z250 (Zwick Roell, Ulm, Germany, with a makroXtense extensometer [40]) was used. Furthermore, a pre-testing force of about 20 N was applied. The global Young’s modulus Eeff, yield strength, and ultimate tensile strength were determined from the tensile tests. The measured elastic modulus served as the input parameter for the analytical three-spring model used to calculate the homogenised stiffness of the transition zone. According to this testing specification, the following sample series were tested:
  • 10× reference samples—100% polypropylene;
  • 48× hybrid samples with perpendicular transitions—steel/polypropylene;
  • 36× hybrid samples with different transition zones (A, V)—steel/polypropylene.

2.3. Multi-Spring Model

A series of three springs (Figure 5) is used to describe the hybrid joint behaviour during loading conditions. The transition zone of the multi-spring model consists of an additively manufactured metal lattice structure completely filled with polymer. The other two parts represents the polymer and the metal parts.
The basic idea behind the model is that each segment carries the same load. Therefore, the elongation under certain load conditions can be determined. By this assumption, the change in length l i for each segment within the analytical model can be calculated by
Δli = FL⁄(Ei × A)
whereby F [N], L [mm], Ei [MPa], and A [mm2] are the load force, base length, Young’s modulus, and cross-section, respectively. Furthermore, the overall elongation l s u m can be determined using (2):
Δlsum = F (lsteel/Esteel + lcon/Econ + lpoly/Epoly)/A
By combining (1) and (2) and the effective stiffness Eeff of the hybrid joint, the unknown stiffness Econ of the metal–polymer segment can be determined according to (3):
Econ = lcon/(L/Eeff − lsteel/Esteel − lpoly/Epoly)
This relationship allows the determination of the hybrid metal–polymer joint performance in terms of polymer interlock by a homogenised material model. Finally, the resulting stiffness of the connection segment can be used to quantify the joint performance. The model is valid only for the elastic deformation regime. To describe plastic deformations too, the surface roughness and crack initiation and propagation within the polymer regime have to be considered as well. Therefore, the model supplies a “safe life” design for hybrid joints between dissimilar materials.

2.4. Result Analysis and Statistics

The experimental evaluation of the reference samples and the hybrid specimens was performed using one- and two-factor analysis of variance (ANOVA), as well as unpaired Welch t-tests to assess statistically significant differences between the investigated configurations. Within the ANOVA framework, the F-value represents the ratio of the variance between the investigated groups to the variance within the groups. A high F-value therefore indicates that differences between the mean values of the lattice geometries exceed the inherent scatter within each group. The corresponding p-value quantifies the probability of obtaining an equal or more extreme result under the assumption of the null hypothesis (no geometrical influence). A significance level of α = 0.05 was applied. In addition to statistical significance, the effect size η2 was calculated to quantify the proportion of the total variance explained by the geometric factor, thereby allowing an assessment of the practical relevance of the observed differences. Unpaired Welch t-tests were conducted for pairwise comparisons between individual geometries. The Welch t-test was chosen due to its robustness against unequal variances between groups. The t-value describes the standardised difference between two group means relative to their pooled standard error, while the associated p-value indicates the probability that the observed difference arises from random variation. In addition to the statistical evaluation, an analytical three-spring model was employed to relate the experimentally measured global stiffness of the hybrid specimen to the stiffness contribution of the transition zone. While the effective Young’s modulus Eeff is directly determined from the global stress–strain response, the homogenised Young’s modulus of the transition zone Econ is calculated analytically based on the serial stiffness formulation and the known material properties of the metallic and polymer segments. Due to the specimen manufacturing process, the number of tested samples differed slightly between the investigated configurations and the reference polypropylene specimens. To account for the resulting unbalanced dataset, Welch’s t-tests were applied for pairwise comparisons, as this method is robust with respect to unequal variances and different sample sizes.

3. Results

The results are structured according to reference samples from the preliminary study and those from the final investigation of different transition geometries, allowing a systematic interpretation of the mechanical performance. The reference samples show a σYS of 17.9 MPa (s = 0.64 MPa, CI95% = 17.43 MPa, 18.32 MPa), UTS of 26.6 MPa (s = 0.52 MPa, CI95% = 26.25, 26.95), uniform elongation εuniform = 2.63 (s = 0.07, CI95% = 2.585, 2.677), and a Young’s modulus Ereff = 1694 MPa (s = 47.52 MPa, CI95% = 1661 MPa; 1727 MPa). The narrow confidence intervals verify the high reproducibility and low material property spreading.
The first test series investigated the influence of the cell size z [mm] and transition zone length a [mm] on the mechanical properties of the hybrid joint. Cell sizes of 2, 4, and 8 mm, as well as transition zone lengths of 5, 10, and 15 mm, were used for tensile testing. The transition zone was designed perpendicularly to the force direction, with a cross-section of 4 × 10 mm. The two-factor ANOVA shows a significant influence on all mechanical properties only for cell size z. The major result is significantly better joint performance for z = 4 mm and z = 8 mm and significantly weaker mechanical properties for z = 2 mm (Table 4). Furthermore, the analysis shows that there is no significant difference between z = 4 mm and z = 8 mm. Therefore, cell sizes z = 4 mm and z = 8 mm were used for the next test series to investigate different transition zone shapes. Since the first test series showed significantly reduced mechanical performance for the smallest cell size (z = 2 mm), only the cell sizes z = 4 mm and z = 8 mm were selected for the second experimental campaign. This selection allowed the influence of the transition geometry (A and V shapes) to be investigated for lattice structures that had already demonstrated mechanically viable performance. Furthermore, the comparison between two different structural scales enabled an evaluation of possible interaction effects between the lattice geometry and cell size.
Based on the findings, the second test series focused on different transition geometries (A and V shapes) considering cell sizes z = 4 mm and z = 8 mm. The stress–strain results are given in Table 5.
The results (Figure 5) show a lower σUTS for all hybrid samples of the second series compared to the reference samples, but a significant difference between the transition zone shapes is evident. The shape z4A reaches a σUTS of 21.7 MPa (81.5% of σUTS,ref), while the shape z8A reaches only 15.87 MPa (59.6% of σUTS,ref). The transition zone shape z8V shows the weakest value of 11.92 MPa (44.8% of σUTS,ref).
Furthermore, other mechanical properties follow the initial σUTS ranking (Figure 6). All hybrid samples show higher stiffness than pure polymer samples because of the steel component. At this point, it is essential to distinguish between the effective Young’s modulus of the complete hybrid specimen (Eeff), determined from the global stress–strain response, and the Young’s modulus of the transition zone (Econ), describing the local stiffness of the polymer-filled lattice region. The experimentally measured modulus Eeff represents the elastic response of the entire hybrid system and therefore results from the serial interaction of the metallic segment, the transition zone, and the polymer segment. Consequently, variations in transition geometry directly affect the stiffness contribution of the connection segment, while the global elastic response is additionally governed by the stiffness and length fractions of the surrounding metallic and polymeric parts. This relationship is consistently described by the analytical three-spring model employed in this work. In this model, the hybrid joint is represented by three linear springs arranged in series, corresponding to the metallic segment, the polymer-filled transition zone, and the polymer tensile specimen.
Under elastic loading, all segments carry the same force, and the total elongation of the hybrid specimen is given by the sum of the individual segment elongations. Based on the measured global stiffness Eeff and the known material properties of the metallic and polymer segments, the homogenised Young’s modulus of the transition zone Econ can be determined analytically.
The effective Young’s modulus increases from 1656 MPa for the reference samples to 3437 MPa for z4A and 4181 MPa for z8A.
A significant influence of the transition shape on the mechanical properties of the hybrid joint can be seen with the help of a single-factor ANOVA. The results (high F-values and low p-values) show high significance for all evaluated mechanical properties of the hybrid joint (Table 6). The effect strength η 2 > 0.99 for all properties indicates the direct relationship between the variance and the transition shape. Thus, the design of the transition zone shape governs the mechanical performance and is a crucial feature in designing hybrid joints.
Furthermore, all three transition shapes were analysed using an unpaired Welch t-test. The analysis results show a pronounced and consistent difference between all transition shapes (Table 7):
  • z4A samples show higher stiffness, yield strength, and tensile strength → highest hybrid joint performance;
  • Compared to z4A, z8A shows weaker strength and stiffness but reaches the highest elongation values → high-ductility hybrid joint;
  • z8V is the weakest transition shape in terms of strength and ductility but reaches the highest joint stiffness → least favourable shape.
It is evident that the mechanical performance of the hybrid joint is directly dependent on the lattice structure inside the transition zone. Furthermore, the strong impact on the hybrid joint’s stiffness and maximum strength can be seen by analysing and comparing the tensile test results of all three transition shapes.
The tensile strength of the hybrid joints is lower than that of pure polypropylene, as failure occurs within the lattice zone in all cases. The mechanical performance shows a clear dependence on the transition geometry (Figure 7). The A-shaped structure z4A achieves around 82% of the reference strength, with 21.71 MPa, while z8A achieves around 60% and the V-shaped structure z8V only achieves around 45% of the polymer’s strength. This ranking is confirmed by the maximum forces.
The effective elastic moduli of the hybrid samples are significantly higher than that of the pure polymer, at 3437–4181 MPa. Differences between geometries are less pronounced regarding the level of stiffness compared to the strength, as the transition zone in the serial structural model only contributes a portion of the overall stiffness (Table 8).
The comparison between the experimentally determined effective Young’s modulus Eeff and the analytically derived transition modulus Econ confirms the validity of the serial three-spring model. The observed deviations of less than ten percent, possibly occurring due to insufficient sample preparation and inhomogeneities in the hybrid joint, demonstrate that the elastic interaction between the metallic segment, polymer segment, and polymer-filled lattice can be sufficiently described by the simplified analytical serial spring approach.
The fracture images of the samples (Figure 8) provide additional information about the underlying debonding mechanism. The h15z8 structures (samples from the lattice evaluation test series, with a perpendicular transition zone, a zone length of 15 mm, and a cell size of 8 mm) show a cohesive failure mode within the polymer, indicating the good anchoring of the material within the lattice structure. The z8A samples show isolated pulling mechanisms and micro-delamination, while the z8V samples show the clear separation of the polymer from the lattice structure.
The fracture surfaces of the V-structure are characteristic of failure along the lattice orientation and confirm the limited ability of this geometry to transfer forces perpendicular to the structure orientation. Based on the analytical model, the homogenised elastic modulus of the transition zone was determined for each geometry. This value describes the effective stiffness of the polymer-filled lattice volume and allows a direct evaluation of the mechanical efficiency of the respective structure. The transition zone of the z4A structure has the highest young’s modulus, followed by the z8A structure, and the z8V geometry forms the lower end. There is little variation within the respective groups, which suggests consistent filling and reproducible manufacturing quality. It should be noted that the analytical three-spring model is strictly valid within the elastic deformation regime. Nevertheless, the differences in the homogenised transition modulus Econ provide valuable insights into the mechanical efficiency of the respective lattice geometries. Structures exhibiting higher transition stiffness also show more stable load transfer and the delayed onset of damage, whereas geometries with reduced transition stiffness are prone to early interfacial debonding and polymer pull-out, as confirmed by the observed fracture patterns.

4. Discussion

The results clearly show that the mechanical performance of metal–polymer hybrid connections is not primarily determined by the intrinsic material properties of the materials involved but rather by the geometric design and form fit of the transition zone. Additively manufactured metallic lattice structures act as mechanical elements whose geometries dominate force transmission and thus the strength and stiffness properties of the hybrid connection. A consistent relationship between the transition geometry and mechanical behaviour is particularly evident when comparing the structures examined. The A-shaped transitions (z4A and z8A) have significantly better mechanical performance than the V-shaped structure (z8V). While the A-shaped geometries allow for largely axial and stable force introduction into the transition zone, the V-shaped alignment of the lattice struts leads to increased shear components, which promote early damage and reduced load-bearing capacity. Furthermore, in the V-shaped geometry, the inclined orientation of the lattice struts causes the applied tensile load to be decomposed into axial and shear components within the struts. The resulting shear stresses and bending moments reduce the load-bearing efficiency of the structure compared to the A-shaped geometry, where the struts are more closely aligned with the loading direction and therefore primarily carry axial forces. This interpretation is supported by the experimentally observed fracture images. The z4A samples show predominantly cohesive failure in the polymer, indicating effective form closure and uniform load transfer. In z8A, local de-networks and micro-delamination already occur, while the z8V structure is characterised by the pronounced exfoliation of the polymer along the lattice orientation. The latter points to a failure mechanism dominated by the interface and inefficient mechanical bonds. The presented results should be interpreted within the scope of the investigated parameter space. This study was limited to a single material combination (maraging steel and polypropylene), a fixed relative lattice density, and quasi-static tensile loading conditions. Consequently, the identified geometric effects primarily reflect the behaviour of this specific hybrid system. Different material combinations, lattice densities, or loading conditions may lead to different mechanical responses. In addition, the analytical three-spring model is restricted to the linear elastic regime and does not account for plastic deformation or damage evolution. Future work should therefore investigate additional material systems, lattice densities, and loading scenarios, such as cyclic or impact loading, to further generalise the design guidelines derived in this study.
The statistical analysis supports this structural dependence. The variance analysis results in exceptionally high effect sizes (η2 ≈ 0.99), which confirms that almost all of the variance in the strength and stiffness values can be attributed to differences in the lattice geometry and indicates the pronounced separability of the examined geometries. This statement applies to the parameter space considered here (material combination, relative density, manufacturing and testing conditions), and we cannot rule out the possibility that other influencing factors may become more significant under changed boundary conditions. In particular, between the geometries z4A and z8V, pronounced and consistent differences are shown in both the mechanical characteristic values and the failure behaviour. The increased stiffness values of all hybrid samples compared to the pure polymer are consistent with the serial three-spring model and illustrate the dominant influence of the metallic section on the elastic response of the overall system. At the same time, the transition geometry significantly influences the effective elastic modulus of the hybrid sample. The analytically determined transition moduli follow the same ranking as the experimentally determined stiffness and strength values, thus reflecting the efficiency of force transmission within the lattice structure. The strong correlation between the experimentally measured and analytically predicted stiffness values, with deviations of <10%, confirms that the simplified serial model approach reliably captures the essential mechanical relationships. In addition to the geometry, the filling level of the lattice zone, the local porosity of the L-PBF structure, the surface roughness, and small deviations in relative density can influence the mechanical response. However, the low variation within the test series suggests that these effects are secondary in the present dataset and the observed ranking is primarily due to the geometry. For quantitative classification, the targeted variation of individual disturbance variables (e.g., defined density deviations or controlled filling levels) could be useful in future work. Despite being limited to the linear elastic range, the model allows for a robust evaluation of the relative performance of different transition geometries and is an efficient and physically plausible tool, particularly for early development phases and variant comparisons. The analytical three-spring model exclusively describes the linear elastic range and does not model plastic deformations, local stress concentrations, or damage development. Additionally, geometric effects were investigated within a defined parameter space (material pairing, relative density, cell type, and process window). Statements about transferability to other polymers, densities, or types of loading (e.g., vibration, impact) are therefore only possible to a limited extent and should be systematically tested in further studies. Overall, the hybrid compounds examined show consistent mechanical behaviour, where stiffness and strength are determined by the same geometric parameters. The findings provide a reliable basis for deriving design guidelines for the design of additively manufactured lattice structures in polymer–metallic hybrid connections.

5. Conclusions

The present work examines the mechanical performance of additively manufactured metal–polymer hybrid joints and clearly shows that the load-bearing behaviour of these joints is significantly determined by the geometric design of the transition zone. The combination of metal lattice structures produced by laser powder bed fusion and overmoulded polypropylene enables robust mechanical interlocks, but their efficiency depends heavily on the lattice geometry. The conducted tensile tests, the analytical modelling, and the statistical evaluation provide a consistent overall picture from which reliable statements about the mechanical performance of the examined transition geometries can be derived. The central findings of the work can be summarised as follows:
  • The lattice geometry is the dominant influence factor for the strength and maximum force of the hybrid samples. The A-shaped structure z4A has the highest load-bearing capacity, while the V-shaped geometry z8V shows the lowest mechanical performance. The differences between the geometries are highly statistically significant and are accompanied by exceptionally high effect sizes (η2 ≈ 0.99).
  • The observed failure mechanisms confirm the geometric interpretation of the results. While the z4A structure fails cohesively in the polymer, z8A shows the first signs of debonding and micro-delamination. The z8V geometry is characterised by the pronounced exfoliation of the polymer along the lattice orientation, indicating an inefficient mechanical bond.
  • The effective Young’s modulus of the hybrid samples is primarily determined by the metallic section, but it is in a range whereby geometrically determined differences in the transition zone remain measurable and interpretable. The transition geometry significantly contributes to the global stiffness despite the serial arrangement.
  • The homogenised elastic modulus of the transition zone proves to be a suitable characteristic for describing the mechanical quality of the lattice structure. The analytically calculated transition modules match the experimental stiffness and strength values in their ranking and compactly represent the efficiency of the form fit.
  • The developed analytical serial model describes the global elastic stiffness profile of the hybrid samples with sufficient accuracy. The deviations between the experimentally measured and analytically predicted values are consistently under ten percent, so that a complex finite element simulation in the elastic range is not required.
The results allow for concrete design guidelines to be derived for future polymer–metallic hybrid connections:
  • Small cell sizes and high relative densities promote effective polymer anchoring and lead to increased mechanical performance.
  • A-shaped lattice structures are superior to V-shaped designs in terms of force transmission, as they allow for predominant axial load guidance and reduce detrimental shear components.
  • Short-laid, highly interconnected transition zones improve the structural integration of the metal and polymer and have a positive effect on stiffness and strength.
  • The homogenised transition module is suitable as a central design criterion, as it can be compared across geometries and materials and can be determined without numerical simulation.
The presented results provide practical design guidelines for additively manufactured lattice transition zones in metal–polymer hybrid joints. Such structures are particularly relevant for lightweight engineering applications where metallic load-bearing elements must be integrated into polymer components. Potential application areas include hybrid structural components in lightweight automotive design, aerospace assemblies, and injection-moulded parts with integrated metallic reinforcement structures.
Furthermore, this work shows that analytical models provide a quick, physically comprehensible, and reliable basis for evaluation, especially in the early development phases of hybrid lightweight structures. As long as the analysis focuses on the linear elastic range and geometric optimisations are the focus, a full form-filling or finite element simulation is not necessarily required. However, for further investigation, a detailed analysis of the filling behaviour, the expansion of the analytical model to include nonlinear effects, and coupling with local numerical submodels are recommended to capture failure mechanisms and damage development in greater detail.

Author Contributions

Conceptualisation, A.W.; methodology, A.W.; validation, A.W. and K.P.; formal analysis, A.W. and K.P.; investigation, A.W. and K.P.; data curation, A.W.; writing—original draft preparation, A.W.; writing—review and editing, A.W. and K.P.; visualisation, A.W.; supervision, A.W.; project administration, A.W.; funding acquisition, A.W. All authors have read and agreed to the published version of the manuscript.

Funding

This research was funded by the Austrian Research Promotion Agency (FFG) within the project CEPAM (e-Call Nr.: 51188104).

Data Availability Statement

The raw data supporting the conclusions of this article will be made available by the authors on request.

Acknowledgments

Special thanks are given to Thomas Lucyshyn from the Chair of Processing Polymers at the Technical University of Leoben for performing the polymer application to the printed metal parts by injection moulding.

Conflicts of Interest

The authors declare no conflicts of interest.

References

  1. Scattina, A.; Peroni, L.; Peroni, M.; Avalle, M. Numerical Analysis of Hybrid Joining in Car Body Applications. J. Adhes. Sci. Technol. 2011, 25, 2409–2433. [Google Scholar] [CrossRef]
  2. Kah, P.; Suoranta, R.; Martikainen, J.; Magnus, C. Techniques for joining dissimilar materials. Metals and polymers. Rev. Adv. Mater. Sci. 2014, 36, 152–164. [Google Scholar]
  3. Amancio-Filho, S.T.; dos Santos, J.F. Joining of polymers and polymer–metal hybrid structures: Recent developments and trends. Polym. Eng. Sci. 2009, 49, 1461–1476. [Google Scholar] [CrossRef]
  4. Bergmann, J.P.; Stambke, M. Potential of Laser-manufactured Polymer-metal hybrid Joints. Phys. Procedia 2012, 39, 84–91. [Google Scholar] [CrossRef]
  5. Fortunato, A.; Cuccolini, G.; Ascari, A.; Orazi, L.; Campana, G.; Tani, G. Hybrid metal-plastic joining by means of laser. Int. J. Mater. Form. 2010, 3, 1131–1134. [Google Scholar] [CrossRef]
  6. Schricker, K.; Stambke, M.; Bergmann, J.P.; Bräutigam, K.; Henckell, P. Macroscopic Surface Structures for Polymer-metal Hybrid Joints Manufactured by Laser Based Thermal Joining. Phys. Procedia 2014, 56, 782–790. [Google Scholar] [CrossRef]
  7. Rodríguez-Vidal, E.; Lambarri, J.; Soriano, C.; Sanz, C.; Verhaeghe, G. A Combined Experimental and Numerical Approach to the Laser Joining of Hybrid Polymer—Metal Parts. Phys. Procedia 2014, 56, 835–844. [Google Scholar] [CrossRef]
  8. Roesner, A.; Scheik, S.; Olowinsky, A.; Gillner, A.; Reisgen, U.; Schleser, M. Laser Assisted Joining of Plastic Metal Hybrids. Phys. Procedia 2011, 12, 370–377. [Google Scholar] [CrossRef]
  9. Akkasali, N.K.; Biswas, S.; Sen, S.; Anitha, S. A state-of-the-art review on adhesively bonded joints of similar and dissimilar materials. J. Adhes. Sci. Technol. 2024, 38, 4317–4371. [Google Scholar] [CrossRef]
  10. Yousefi Kanani, A.; Green, S.; Hou, X.; Ye, J. Hybrid and adhesively bonded joints with dissimilar adherends: A critical review. J. Adhes. Sci. Technol. 2021, 35, 1821–1859. [Google Scholar] [CrossRef]
  11. Galińska, A. Mechanical Joining of Fibre Reinforced Polymer Composites to Metals-A Review. Part I: Bolted Joining. Polymers 2020, 12, 2252. [Google Scholar] [CrossRef]
  12. Budzik, M.K.; Wolfahrt, M.; Reis, P.; Kozłowski, M.; Sena-Cruz, J.; Papadakis, L.; Nasr Saleh, M.; Machalicka, K.V.; Teixeira de Freitas, S.; Vassilopoulos, A.P. Testing mechanical performance of adhesively bonded composite joints in engineering applications: An overview. J. Adhes. 2022, 98, 2133–2209. [Google Scholar] [CrossRef]
  13. Abreu, T.; Leal, R.M.; Leitão, C.; Galvão, I. Metal–Polymer Joining by Additive Manufacturing: Effect of Printing Parameters and Interlocking Design. J. Manuf. Mater. Process. 2024, 8, 228. [Google Scholar] [CrossRef]
  14. Ren, J.; Chen, W.; Wang, S.; Kimura, F.; Sang, J.; Hirahara, H.; Kajihara, Y. Chemical interactions in the injection molded direct joining of polymers and hot water-treated galvanized steel. J. Mater. Res. Technol. 2025, 37, 4217–4231. [Google Scholar] [CrossRef]
  15. Nasreen, A.; Shaker, K.; Nawab, Y. Effect of surface treatments on metal–composite adhesive bonding for high-performance structures: An overview. Compos. Interfaces 2021, 28, 1221–1256. [Google Scholar] [CrossRef]
  16. Jeevi, G.; Nayak, S.K.; Abdul Kader, M. Review on adhesive joints and their application in hybrid composite structures. J. Adhes. Sci. Technol. 2019, 33, 1497–1520. [Google Scholar] [CrossRef]
  17. Grujicic, M.; Sellappan, V.; Arakere, G.; Seyr, N.; Obieglo, A.; Erdmann, M.; Holzleitner, J. The Potential of a Clinch-Lock Polymer Metal Hybrid Technology for Use in Load-Bearing Automotive Components. J. Mater. Eng. Perform. 2009, 18, 893–902. [Google Scholar] [CrossRef]
  18. Lambiase, F. Joinability of different thermoplastic polymers with aluminium AA6082 sheets by mechanical clinching. Int. J. Adv. Manuf. Technol. 2015, 80, 1995–2006. [Google Scholar] [CrossRef]
  19. Lambiase, F. Mechanical behaviour of polymer–metal hybrid joints produced by clinching using different tools. Mater. Des. 2015, 87, 606–618. [Google Scholar] [CrossRef]
  20. Lambiase, F.; Di Ilio, A. Mechanical clinching of metal–polymer joints. J. Mater. Process. Technol. 2015, 215, 12–19. [Google Scholar] [CrossRef]
  21. Liu, F.C.; Liao, J.; Nakata, K. Joining of metal to plastic using friction lap welding. Mater. Des. 2014, 54, 236–244. [Google Scholar] [CrossRef]
  22. Sun, Y.; Zhao, Q.; Qin, Z.; Li, P.; Wang, J.; Li, J.; Li, T.; Wang, B.; Dong, H. Radial microstructural uniformity in inertia friction welded IN718/FGH96 dissimilar joints with post-weld heat treatment. J. Mater. Sci. 2026, 61, 1962–1979. [Google Scholar] [CrossRef]
  23. Balle, F.; Eifler, D. Statistical test planning for ultrasonic welding of dissimilar materials using the example of aluminum-carbon fiber reinforced polymers (CFRP) joints. Mater. Werkst. 2012, 43, 286–292. [Google Scholar] [CrossRef]
  24. Balle, F.; Wagner, G.; Eifler, D. Ultrasonic spot welding of aluminum sheet/carbon fiber reinforced polymer–joints. Mater. Werkst. 2007, 38, 934–938. [Google Scholar] [CrossRef]
  25. Balle, F.; Wagner, G.; Eifler, D. Ultrasonic Metal Welding of Aluminium Sheets to Carbon Fibre Reinforced Thermoplastic Composites. Adv. Eng. Mater. 2009, 11, 35–39. [Google Scholar] [CrossRef]
  26. Qin, Z.; Zhou, L.; Liu, S.; Meng, X.; Li, J.; Xie, Y.; Song, X.; Zhang, H.; Huang, Y. High Pressure–Amplitude Ratio Ultrasonic Spot Welding of Thermoplastic Carbon Fiber-Reinforced Epoxy. Adv. Eng. Mater. 2022, 24, 2100706. [Google Scholar] [CrossRef]
  27. Abibe, A.B.; Amancio-Filho, S.T.; dos Santos, J.F.; Hage, E. Mechanical and failure behaviour of hybrid polymer–metal staked joints. Mater. Des. 2013, 46, 338–347. [Google Scholar] [CrossRef]
  28. Ejaz, H.; Awan, M.A.; Muzzammil, H.M.; Ullah, M.; Akhavan-Safar, A.; daSilva, L.F.M.; Tanveer, A. Strength improvement/optimization methods in adhesively bonded joints: A comprehensive review of past and present techniques. Mech. Adv. Mater. Struct. 2025, 32, 4078–4106. [Google Scholar] [CrossRef]
  29. Pereira, M.A.R.; Galvão, I.; Costa, J.D.M.; Amaro, A.M.; Leal, R.M. Metal-polymer friction stir spot welding enhanced by meso-mechanical interlocking. Int. J. Adv. Manuf. Technol. 2025, 136, 4581–4593. [Google Scholar] [CrossRef]
  30. Zhou, L.; Miller, J.; Vezza, J.; Mayster, M.; Raffay, M.; Justice, Q.; Al Tamimi, Z.; Hansotte, G.; Sunkara, L.D.; Bernat, J. Additive Manufacturing: A Comprehensive Review. Sensors 2024, 24, 2668. [Google Scholar] [CrossRef] [PubMed]
  31. Walzl, A.; Buchmayr, B. Topologieoptimierung—Entwicklungswerkzeug für die additive Fertigung. Berg- Huettenmaenn. Monatsh. 2017, 162, 110–116. [Google Scholar] [CrossRef]
  32. Dejene, N.D.; Lemu, H.G. Current Status and Challenges of Powder Bed Fusion-Based Metal Additive Manufacturing: Literature Review. Metals 2023, 13, 424. [Google Scholar] [CrossRef]
  33. Newton, R.; van Rensburg, J.; Scott, C.; Wohlers, T.; Campbell, R.I.; Diegel, O.; Huff, R.; Kowen, J. Wohlers Report 2023. 3D Printing and Additive Manufacturing: Global State of the Industry; Wohlers Associates: Fort Collins, CO, USA, 2023. [Google Scholar]
  34. Buchmayr, B.; Panzl, G.; Walzl, A.; Wallis, C. Laser Powder Bed Fusion—Materials Issues and Optimized Processing Parameters for Tool steels, AlSiMg- and CuCrZr-Alloys. Adv. Eng. Mater. 2017, 19, 1600667. [Google Scholar] [CrossRef]
  35. Lambiase, F.; Scipioni, S.I.; Lee, C.-J.; Ko, D.-C.; Liu, F. A State-of-the-Art Review on Advanced Joining Processes for Metal-Composite and Metal-Polymer Hybrid Structures. Materials 2021, 14, 1890. [Google Scholar] [CrossRef]
  36. Belei, C.; Effertz, P.S.; Meier, B.; Amancio-Filho, S.T. Additive manufacturing of metal-polymer hybrid parts: The influence of as-printed LPBF surface roughness on the joint strength. Front. Mater. 2023, 10, 100184. [Google Scholar] [CrossRef]
  37. Barakat, A.A.; Darras, B.M.; Nazzal, M.A.; Ahmed, A.A. A Comprehensive Technical Review of the Friction Stir Welding of Metal-to-Polymer Hybrid Structures. Polymers 2022, 15, 220. [Google Scholar] [CrossRef]
  38. Kasaei, M.M.; Carbas, R.J.; Marques, E.A.; Da Silva, L.F. A novel joining technology for metal and polymer sheets. J. Adv. Join. Process. 2024, 9, 100184. [Google Scholar] [CrossRef]
  39. Almonti, D.; Salvi, D.; Mingione, E.; Vesco, S. Lightweight and Sustainable Steering Knuckle via Topology Optimization and Rapid Investment Casting. J. Manuf. Mater. Process. 2025, 9, 252. [Google Scholar] [CrossRef]
  40. ISO 6892-1:2009; Metallische Werkstoffe—Zugversuch—Teil 1: Prüfverfahren bei Raumtemperatur. Deutsche Fassung EN ISO 6892-1. Deutsche Industrie Norm e.V.: Berlin, Germany, 2009.
Figure 1. Different transition zone shapes used for evaluation of geometrical impact on mechanical properties. The red dotted lines indicate the general shear zones of the different transition zone shapes.
Figure 1. Different transition zone shapes used for evaluation of geometrical impact on mechanical properties. The red dotted lines indicate the general shear zones of the different transition zone shapes.
Jmmp 10 00103 g001
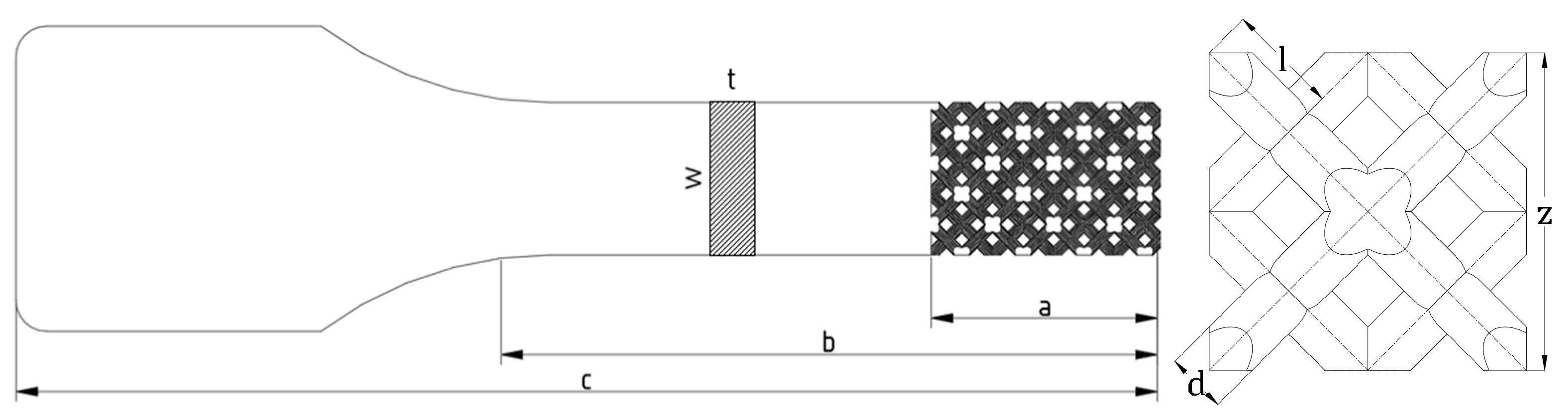
Figure 2. General design of the metal test specimen with a rectangular cross-section within the testing length (thickness t = 4 mm and width w = 10 mm): a—lattice length [mm], b—half-parallel length [mm], c—half-tensile test sample length [mm], z—unit cell size [mm], l—strut length [mm], d—strut diameter [mm].
Figure 2. General design of the metal test specimen with a rectangular cross-section within the testing length (thickness t = 4 mm and width w = 10 mm): a—lattice length [mm], b—half-parallel length [mm], c—half-tensile test sample length [mm], z—unit cell size [mm], l—strut length [mm], d—strut diameter [mm].
Jmmp 10 00103 g002
Figure 3. Manufactured hybrid tensile test sample of a metallic SLM structural part and an injection-moulded polymer section. The polymer-filled lattice zone forms the perpendicular transition geometry between the two materials.
Figure 3. Manufactured hybrid tensile test sample of a metallic SLM structural part and an injection-moulded polymer section. The polymer-filled lattice zone forms the perpendicular transition geometry between the two materials.
Jmmp 10 00103 g003
Figure 4. Simulation results of the mould filling (solidification time) of the hybrid train sample. The mould flow analysis shows complete and robust filling of the polymer component, including the complex lattice structure. No form-filling critical defects such as incompletely filled areas or stagnant flow occurred.
Figure 4. Simulation results of the mould filling (solidification time) of the hybrid train sample. The mould flow analysis shows complete and robust filling of the polymer component, including the complex lattice structure. No form-filling critical defects such as incompletely filled areas or stagnant flow occurred.
Jmmp 10 00103 g004
Figure 5. Analytical series model for determining the effective elastic modulus of the transition zone. The axial deformation of the hybrid specimen is described as the sum of the deformations of the metallic section, the polymeric transition zone, and the polymeric tensile bar, which are represented in the model by linear springs. The known material parameters of the end segments allow the determination of the unknown transition modulus EVerb by transforming the serial stiffness equation. The equation for the connection spring constant ccon can be derived by using the serial spring model and the given material properties. The material dependend spring constants csteel and cpoly are given by (E × A) / l for the metal and polymer section.
Figure 5. Analytical series model for determining the effective elastic modulus of the transition zone. The axial deformation of the hybrid specimen is described as the sum of the deformations of the metallic section, the polymeric transition zone, and the polymeric tensile bar, which are represented in the model by linear springs. The known material parameters of the end segments allow the determination of the unknown transition modulus EVerb by transforming the serial stiffness equation. The equation for the connection spring constant ccon can be derived by using the serial spring model and the given material properties. The material dependend spring constants csteel and cpoly are given by (E × A) / l for the metal and polymer section.
Jmmp 10 00103 g005
Figure 6. (a) Tensile strength σUTS; (b) maximum loading force Fmax; (c) effective elastic modulus E; and (d) elongation at break ε of the reference sample and the three hybrid structures z4A, z8A, and z8V. The results show the strong dependence of the mechanical properties on the transition geometry. While the reference sample shows the highest values for σUTS and Fmax as expected, the z4A structure among the hybrid samples achieves the best combination of strength and stiffness. The geometries z8A and z8V show significantly reduced strength and stiffness values, with z8V providing the weakest mechanical performance. The very small error bars demonstrate the high reproducibility of the measurement series.
Figure 6. (a) Tensile strength σUTS; (b) maximum loading force Fmax; (c) effective elastic modulus E; and (d) elongation at break ε of the reference sample and the three hybrid structures z4A, z8A, and z8V. The results show the strong dependence of the mechanical properties on the transition geometry. While the reference sample shows the highest values for σUTS and Fmax as expected, the z4A structure among the hybrid samples achieves the best combination of strength and stiffness. The geometries z8A and z8V show significantly reduced strength and stiffness values, with z8V providing the weakest mechanical performance. The very small error bars demonstrate the high reproducibility of the measurement series.
Jmmp 10 00103 g006
Figure 7. Averaged stress–strain curves of the hybrid samples with transition geometries z8A, z8V, and z4A, including ±1 SD. z4A samples provide the highest stiffness and maximum stress, z8A shows intermediate behaviour, and z8V samples show the lowest load-bearing values.
Figure 7. Averaged stress–strain curves of the hybrid samples with transition geometries z8A, z8V, and z4A, including ±1 SD. z4A samples provide the highest stiffness and maximum stress, z8A shows intermediate behaviour, and z8V samples show the lowest load-bearing values.
Jmmp 10 00103 g007
Figure 8. Comparison of the fracture behaviour of the investigated transition geometries after tensile testing. Representative failure patterns are shown for (a) h15z8, exhibiting predominantly cohesive polymer failure with a preserved form fit between the polymer and metal; (b) z8A, showing locally increased interfacial loading accompanied by incipient micro-delamination at the polymer–lattice interface; and (c) z8V, characterised by interfacially dominated failure with shear- and detachment-related crack formation. The red-marked regions indicate the characteristic crack propagation paths, which differ depending on the lattice orientation and cell size.
Figure 8. Comparison of the fracture behaviour of the investigated transition geometries after tensile testing. Representative failure patterns are shown for (a) h15z8, exhibiting predominantly cohesive polymer failure with a preserved form fit between the polymer and metal; (b) z8A, showing locally increased interfacial loading accompanied by incipient micro-delamination at the polymer–lattice interface; and (c) z8V, characterised by interfacially dominated failure with shear- and detachment-related crack formation. The red-marked regions indicate the characteristic crack propagation paths, which differ depending on the lattice orientation and cell size.
Jmmp 10 00103 g008
Table 1. Sample specifications and lattice configurations for lattice evaluation test series. For definitions of a, z, d, and l, see Figure 2.
Table 1. Sample specifications and lattice configurations for lattice evaluation test series. For definitions of a, z, d, and l, see Figure 2.
Shape Type
[a × z3]
Strut Diameter d [mm]Strut Length l [mm]Rel. Density ρ [%]No. of Samples
5 × 230.3850.866306
5 × 430.771.732306
5 × 831.543.464306
10 × 230.3850.866306
10 × 430.771.732306
10 × 831.543.464306
15 × 430.771.732306
15 × 831.543.464306
Table 2. Sample specifications and lattice configurations for transition shape-dependent test series with a transition zone length of 15 mm and different transition zone shapes (Figure 1). Three samples were used for each cavity to rule out any possible influence of deviations in each cavity during sample preparation.
Table 2. Sample specifications and lattice configurations for transition shape-dependent test series with a transition zone length of 15 mm and different transition zone shapes (Figure 1). Three samples were used for each cavity to rule out any possible influence of deviations in each cavity during sample preparation.
Shape TypeStrut Diameter d [mm]Strut Length l [mm]Rel. Density ρ [%]No. of Samples
z4_A0.771.7323012
z8_A1.543.4643012
z8_V1.543.4643012
Table 3. Injection moulding process parameters used for manufacturing of hybrid specimens.
Table 3. Injection moulding process parameters used for manufacturing of hybrid specimens.
TemperatureHolding PressureHolding TimeInjection Moulding Processing Time
ToolNozzleFillHoldCoolingΣ
40 °C230 °C350 bar15 s3 s15.2 s32 s50.2 s
Table 4. Results of the two-factor ANOVA of the screening tests with the factors cell size z and transition length a for the characteristic values E, σYS, σUTS, and εuniform, including effect strengths and identified optimal cell sizes. Variables z and a are related to the transition zone of the specimen.
Table 4. Results of the two-factor ANOVA of the screening tests with the factors cell size z and transition length a for the characteristic values E, σYS, σUTS, and εuniform, including effect strengths and identified optimal cell sizes. Variables z and a are related to the transition zone of the specimen.
PropertyFactorF-Valuep-Valueη2Best Cell Size (z)
E [MPa]z5.370.0080.19z = 4 mm (highest stiffness)
a1.290.2840.05
z × a0.540.7050.02
σYS [MPa]z21.682.6 × 10−70.49z = 8 mm (highest strength)
a1.410.2530.03
z × a3.530.0090.08
σUTS [MPa]z21.033.6 × 10−70.48z = 8 mm (highest strength)
a1.250.2940.03
z × a3.630.0080.08
εuniform [%]z10.431.9 × 10−40.32z = 8 mm (highest uniform elongation)
a1.220.3040.04
z × a1.740.1490.05
Table 5. Summary of the experimentally determined mechanical properties of the investigated transition geometries (z4A, z8A, z8V), including mean values and associated 95% confidence intervals.
Table 5. Summary of the experimentally determined mechanical properties of the investigated transition geometries (z4A, z8A, z8V), including mean values and associated 95% confidence intervals.
Shape TypeEeff [MPa]CI95%σUTS [MPa]CI95%Fmax [kN]CI95%ε [%]CI95%
z4A3437±21021.71±0.300.87±0.0121.06±0.04
z8A4181±24115.87±0.220.64±0.0081.54±0.08
z8V3877±20711.92±0.190.48±0.0081.19±0.20
Table 6. The ANOVA results show highly significant differences between all four groups for all mechanical properties. The exceptionally small p-values show the statistical robustness of the measurement data.
Table 6. The ANOVA results show highly significant differences between all four groups for all mechanical properties. The exceptionally small p-values show the statistical robustness of the measurement data.
PropertyF-Valuep-Valueη2Interpretation
σUTS [MPa]323.117.25 × 10−80.993Very strong effect of geometry
Fmax [kN]383.713.99 × 10−80.994Geometry almost completely determines max. force
E [MPa]551.651.67 × 10−90.998Very strong influence of geometry (stiffness-dominated)
εuniform [%]1196.927.56 × 10−100.998Transition geometry explains almost all variance
Table 7. Welch t-tests of the hybrid geometries (z4A, z8A, z8V) for all mechanical characteristics, including effect evaluation, t-values, p-values, and interpretive conclusions.
Table 7. Welch t-tests of the hybrid geometries (z4A, z8A, z8V) for all mechanical characteristics, including effect evaluation, t-values, p-values, and interpretive conclusions.
PropertyResult (Data)t-Valuep-ValueInterpretation
z4A vs. z8AEz4A ≫ z8A5.491.47 × 10−4Significant—z4A has a significantly higher E-modulus
σYSz4A > z8A−2.940.008Significant—z4A has a higher yield point
σUTSz4A ≫ z8A26.145.88 × 10−16Very significant—z4A is significantly stronger
εuniformz4A > z8A5.482.73 × 10−5Significant—z4A is equal in terms of uniform elongation
εtotalz8A ≫ z4A−8.214.27 × 10−6Significant—z8A has significantly higher elongation at break
z4A vs. z8VESimilar1.100.293Not significant
σYSz4A > z8V−1.790.088Marginal, not significant
σUTSz4A ≫ z8V65.027.96 × 10−22Very significant—z4A is significantly stronger
εuniformz4A ≫ z8V14.471.24 × 10−8Significant—that of z4A is higher
εtotalSimilar−0.700.497Not significant
z8A vs. z8VEz8A < z8V−3.184.37 × 10−3Significant—z8V is stiff
σYSSimilar0.990.332Not significant
σUTSz8A > z8V19.122.90 × 10−12Very significant—z8A is stronger
εuniformz8A ≫ z8V8.465.61 × 10−7z8A is deformable
εtotalz8A ≫ z8V7.302.65 × 10−6z8A is significantly more ductile
Overall resultPropertyOrderBestInterpretation
Young’s modulusz4A > z8V > z8Az4AHighest values
Yield strengthz4A > z8A ≈ z8Vz4AHighest strength
Tensile strengthz4A > z8A > z8Vz4AHighest max. stress
Uniform elongationz4A > z8A > z8Vz4AHighest ductility without fracture
Elongation at breakz8A ≫ z4A ≈ z8Vz8AHighest overall ductility
Table 8. Comparison of the effective elastic modulus Eeff determined from the tensile tests with the analytically calculated transition modulus Econ for the lattice geometries examined.
Table 8. Comparison of the effective elastic modulus Eeff determined from the tensile tests with the analytically calculated transition modulus Econ for the lattice geometries examined.
Shape TypeEeff [MPa]Econ [MPa] AnalyticalDeviation [%]
z4A34373150+8.3
z8A41813820+8.6
z8V38773620+6.6
Disclaimer/Publisher’s Note: The statements, opinions and data contained in all publications are solely those of the individual author(s) and contributor(s) and not of MDPI and/or the editor(s). MDPI and/or the editor(s) disclaim responsibility for any injury to people or property resulting from any ideas, methods, instructions or products referred to in the content.

Share and Cite

MDPI and ACS Style

Walzl, A.; Prabitz, K. Geometry-Dependent Mechanical Performance of Additively Manufactured Metal–Polymer Hybrid Joints with Lattice-Based Transition Zones. J. Manuf. Mater. Process. 2026, 10, 103. https://doi.org/10.3390/jmmp10030103

AMA Style

Walzl A, Prabitz K. Geometry-Dependent Mechanical Performance of Additively Manufactured Metal–Polymer Hybrid Joints with Lattice-Based Transition Zones. Journal of Manufacturing and Materials Processing. 2026; 10(3):103. https://doi.org/10.3390/jmmp10030103

Chicago/Turabian Style

Walzl, Alexander, and Konstantin Prabitz. 2026. "Geometry-Dependent Mechanical Performance of Additively Manufactured Metal–Polymer Hybrid Joints with Lattice-Based Transition Zones" Journal of Manufacturing and Materials Processing 10, no. 3: 103. https://doi.org/10.3390/jmmp10030103

APA Style

Walzl, A., & Prabitz, K. (2026). Geometry-Dependent Mechanical Performance of Additively Manufactured Metal–Polymer Hybrid Joints with Lattice-Based Transition Zones. Journal of Manufacturing and Materials Processing, 10(3), 103. https://doi.org/10.3390/jmmp10030103

Article Metrics

Back to TopTop