NextGen Training for Medical First Responders: Advancing Mass-Casualty Incident Preparedness through Mixed Reality Technology
Abstract
:1. Introduction
- Category 1 (red): acute, life-threatening condition;
- Category 2 (yellow): non-life-threatening injuries but urgent treatment required;
- Category 3 (green): minor or no injuries that do not require ambulance transport;
- Category 4 (black): deceased or expectant.
1.1. Current Training Methods
1.2. Understanding Mixed Reality (MR)
1.3. Related Work
2. Methods and Material
2.1. End-User Requirements
2.2. Agile Prototype Development
The MR Base System
2.3. Field Trials
3. Results and Discussion
3.1. Training Objectives in XR
- 1.
- Objectives and Outcomes: Enhancing situational awareness, resilience and MCI performance.
- 2.
- Audience Proficiency: Tailoring to MFRs’ experience levels.
- 3.
- Scenario and Tasks: Defining MCI specifics and required actions.
- 4.
- Technology and Devices: Selecting the virtual environment, patient simulation manikin, feedback systems and sensors.
- 5.
- Feedback and Guidance: Providing real-time cues and post-training assessment.
- 6.
- Evaluation Metrics: Assessing performance, cognitive states and satisfaction.
- 1.
- Initial Scene Assessment and Coordination:
- Identify as the commander.
- Conduct a scene safety assessment.
- Establish communication channels.
- Coordinate with internal and external teams.
- Organize and categorize the scene into zones (hot, warm and cold).
- Make informed decisions based on the initial assessment.
- Reiterate scene safety assessment to adapt to changing circumstances.
MR offers the opportunity to realistically simulate the chaos of an MCI where trainees can practice assuming command roles, establishing communication channels (via virtual radios) and organizing the scene into different zones. This allows for training decision-making in stressful situations based on initial assessments. - 2.
- Triage, Evacuation and Resource Management:
- Arrange and perform the initial triage.
- Assign evacuation priority to triaged victims.
- Continue communication and coordination.
- Prioritize care and evacuation.
- Organize logistics for care and transport of uninjured individuals.
- Efficiently manage internal and external resources.
- Communicate the arrival of additional resources.
- Identify access and egress points.
- Oversee ambulance parking for optimal access.
- Determine correct hospital destinations and transport modes.
- Continuously adapt to resource availability and patient needs.
MR provides a controlled setting for practicing initial triage of virtual patients with various injury types. Compared to real-world training, where injuries are often represented through written cards and/or make-up, VEs offer an enhanced level of realism and adaptability in terms of injury progression. Trainees can practice making decisions regarding prioritization of care and evacuation, managing resources and identifying crucial access and exit points in a simulated but realistic environment. - 3.
- Medical Assessment, Treatment and Psychological Support:
- Rapidly evaluate and categorize injured individuals based on injury severity.
- Use triage tags effectively for labeling and identifying victims.
- Communicate critical information to the triage commander.
- Follow the systematic ABCDE approach for medical assessment and treatment (Airway, Breathing, Circulation, Disability and Exposure).
- Understand the importance of continuous communication, especially during patient evacuation.
- Provide psychological first aid to individuals in emotional distress.
- Closely monitor patient conditions and promptly report deterioration.
- Explore the effective utilization of “Healthy Green” victims as resources for various essential tasks.
- By incorporating technological solutions into the training framework, MFRs can effectively master the core learning objectives, improving their preparedness and response capabilities in challenging MCI scenarios.
- The technological solutions can also collect data on trainees’ actions and performance in the simulated scenarios in relation to the learning objectives, thus supporting the trainers’ feedback and the joint reflections performed in the debriefing activity of the simulation training.
In MR, trainees can practice medical assessments using the ABCDE approach on virtual patients exhibiting a range of medical conditions. They can also work on providing psychological first aid to virtual agents programmed to show signs of emotional distress. However, it is worth noting that the current state of MR technology presents limitations in the interaction and responsiveness of these virtual patients, as discussed in Section 3.3.1.
3.2. Scenario Design
3.2.1. Scenario 1—Country Road Bus Crash
3.2.2. Scenario 2—Tunnel Accident
3.2.3. Scenario Editor
3.2.4. Stress Factors in Scenarios for MFRs
- Electricity (e.g., broken lamp post);
- Unidentifiable liquids at the site (e.g., oily liquid on the floor);
- Changes in weather (e.g., thunderstorm clouds approaching);
- Electrical light changes (e.g., flickering light in tunnel or building).
- Increased number of casualties (e.g., newly arriving at the site);
- Sudden deterioration of a patient.
- Loud noises (e.g., alarms, ambulance noise);
- Healthy “green” persons, bystanders or children and other family members at the incident site or assembly area for the injured.
3.2.5. Smart Scenario Control
3.3. Responsive Worlds
3.3.1. Responsive Agents
3.3.2. Realism and Haptics
3.4. Performance Monitoring and Management
3.4.1. Real-Time Performance Monitoring
3.4.2. After Action Review
3.4.3. MED1stMR Analytics and Statistics Tool (MAS)
- Total Triages reflects the sum of triage processes executed.
- Minimum, Maximum and Average Triage Duration (s) portrays the shortest, longest and mean time, respectively, taken for triage processes.
- Triage Accuracy assesses the precision in identifying pre-assigned colors of NPCs and aims to gauge simulation clarity over trainee performance.
- Total Training Time denotes the entire duration spent in the scenario.
- Identified Stressors table delineates high-stress periods with details like timestamps, anomaly confidence and severity, identified stressor and stressor confidence, which evaluate the certainty and significance of stress alterations and their causes.
- Main Stressor highlights the primary source of severe stress.
- Stress During Training quantifies stress levels at each second, derived from heart rate and heart rate variability versus baseline measurements.
- Grafana (E): Produces graphical visualizations of training statistics, biosignals and stressor analyses using processed data.
- Trino (F): Grants fine-grained data access to authorized users, aiding researchers in downloading both raw and processed data.
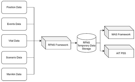
3.4.4. Data Management and Integration
- Refense MR training system: Provides data on motion of tracked objects and trainees, including position, rotation, status, audio recordings, voice clips, and event records.
- Manikin ADAM-X: Coordinates patient simulation, transmitting medical data like blood pressure, heart rate, respiratory rate and CPR metrics to the VR system.
- Wearable PLUX biosignal sensor system: Supplies live streams of raw sensor data and processed features like stress score, encompassing ECG, heart rate (HR) and electrodermal activity (EDA).
4. Future Work
5. Conclusions
Supplementary Materials
Author Contributions
Funding
Institutional Review Board Statement
Informed Consent Statement
Data Availability Statement
Acknowledgments
Conflicts of Interest
Abbreviations
| AAR | After Action Review |
| AI | Artificial Intelligence |
| AR | Augmented Reality |
| AIT | Austrian Institute of Technology |
| CBRNE | Chemical, Biological, Radiological, Nuclear, and high-yield Explosives |
| CPR | Cardiopulmonary Resuscitation |
| CNN | Convolutional Neural Networks |
| ECG | Electrocardiogram |
| EDA | Electrodermal Activity |
| ER | Extended Reality |
| EWK | Extent of World Knowledge |
| HDFS | Hadoop Distributed File System |
| HMD | Head-Mounted Display |
| HR | Heart Rate |
| KPI | Key Performance Indicator |
| ML | Machine Learning |
| MCI | Mass Casualty Incident |
| MAS | MED1stMR Analytics and Statistics Tool |
| MFRs | Medical First Responders |
| MSCRED | Multi-Scale Convolutional Recurrent Encoder-Decoder |
| MR | Mixed Reality |
| NPC | Non-Player Character |
| PSS | Protected Sharepoint Server |
| RNN | Recurrent Neural Network |
| UCD | User-centered Design |
| VAS | Visual Analogue Scale |
| VE | Virtual Environment |
| VR | Virtual Reality |
| Web UI | Web User Interface |
References
- Commission, E. Overview of Natural and Man-Made Disaster Risks the European Union May Face; Technical Report; Publications Office of the European Union: Luxembourg, 2021. [Google Scholar]
- Feyen, L.; Ciscar, J.; Gosling, S.; Ibarreta, D.; Soria, A. Climate Change Impacts and Adaptation in Europe: JRC PESETA IV Final Report; Technical Report 30180; Publications Office of the European Union: Luxembourg, 2020. [Google Scholar]
- Europol. European Union Terrorism Situation and Trend Report; Technical Report; Publications Office of the European Union: Luxembourg, 2021. [Google Scholar]
- Shubeck, K.T.; Craig, S.D.; Hu, X. Live-action mass-casualty training and virtual world training: A comparison. Proc. Hum. Factors Ergon. Soc. Annu. Meet. 2016, 60, 2103–2107. [Google Scholar] [CrossRef]
- Baetzner, A.S.; Wespi, R.; Hill, Y.; Gyllencreutz, L.; Sauter, T.C.; Saveman, B.I.; Mohr, S.; Regal, G.; Wrzus, C.; Frenkel, M.O. Preparing medical first responders for crises: A systematic literature review of disaster training programs and their effectiveness. Scand. J. Trauma, Resusc. Emerg. Med. 2022, 30, 76. [Google Scholar] [CrossRef] [PubMed]
- Rall, M.; Oberfrank, S. Simulation-Was ist das überhaupt? In Handbuch Simulation; Bürger-Verlag GmbH: Edewecht, Germany, 2016; pp. 17–32. [Google Scholar]
- Biggs, J.; Tang, C. Train-the-Trainers: Implementing Outcomes-based Teaching and Learning in Malaysian Higher Education. Malays. J. Learn. Instr. 2011, 8, 1–19. [Google Scholar] [CrossRef]
- Biggs, J.; Tang, C.; Kennedy, G. Teaching for Quality Learning at University 5e, 5th ed.; McGraw-Hill Education (UK): Maidenhead, UK, 2022. [Google Scholar]
- Gout, L.; Hart, A.; Houze-Cerfon, C.H.; Sarin, R.; Ciottone, G.R.; Bounes, V. Creating a Novel Disaster Medicine Virtual Reality Training Environment. Prehospital Disaster Med. 2020, 35, 225–228. [Google Scholar] [CrossRef] [PubMed]
- Skarbez, R.; Smith, M.; Whitton, M.C. Revisiting milgram and kishino’s reality-virtuality continuum. Front. Virtual Real. 2021, 2, 647997. [Google Scholar] [CrossRef]
- Slater, M. Place illusion and plausibility can lead to realistic behaviour in immersive virtual environments. Philos. Trans. R. Soc. Biol. Sci. 2009, 364, 3549–3557. [Google Scholar] [CrossRef] [PubMed]
- Uhl, J.C.; Regal, G.; Schrom-Feiertag, H.; Murtinger, M.; Tscheligi, M. XR for First Responders: Concepts, Challenges and Future Potential. In Proceedings of the Virtual Reality and Mixed Reality: 20th EuroXR International Conference, EuroXR 2023, Rotterdam, The Netherlands, 29 November–1 December 2023; Proceedings. Springer Nature: Berlin/Heidelberg, Germany, 2023. [Google Scholar]
- Andreatta, P.B.; Maslowski, E.; Petty, S.; Shim, W.; Marsh, M.; Hall, T.; Stern, S.; Frankel, J. Virtual reality triage training provides a viable solution for disaster-preparedness. Acad. Emerg. Med. 2010, 17, 870–876. [Google Scholar] [CrossRef] [PubMed]
- Schneeberger, M.; Paletta, L.; Wolfgang Kallus, K.; Reim, L.; Schönauer, C.; Peer, A.; Feischl, R.; Aumayr, G.; Pszeida, M.; Dini, A.; et al. First Responder Situation Reporting in Virtual Reality Training with Evaluation of Cognitive-emotional Stress using Psychophysiological Measures. Cogn. Comput. Internet Things 2022, 43. [Google Scholar] [CrossRef]
- Paletta, L.; Schneeberger, M.; Reim, L.; Kallus, W.; Peer, A.; Ladstätter, S.; Schönauer, C.; Weber, A.; Feischl, I.R. Work-in-Progress—Digital Human Factors Measurements in First Responder Virtual Reality-Based Skill Training; IEEE: Vienna, Austria, 2022; pp. 9–11. [Google Scholar]
- Mossel, A.; Schoenauer, C.; Froeschl, M.; Peer, A.; Goellner, J.; Kaufmann, H. Immersive training of first responder squad leaders in untethered virtual reality. Virtual Real. 2021, 25, 745–759. [Google Scholar] [CrossRef]
- Zechner, O.; Schrom-feiertag, H.; Uhl, J. Mind the Heart: Designing a Stress Dashboard Based on Physiological Data for Training Highly Stressful Situations; Springer Nature: Cham, Switzerland, 2023; Volume 2, pp. 209–230. [Google Scholar] [CrossRef]
- Lima, R.; Os, D. Heart Rate Variability and Electrodermal Activity in Mental Stress Aloud: Predicting the Outcome; SciTePress: Setúbal, Portugal, 2019; pp. 42–51. [Google Scholar] [CrossRef]
- Koutitas, G.; Smith, S.; Lawrence, G. Performance evaluation of AR/VR training technologies for EMS first responders. Virtual Real. 2021, 25, 83–94. [Google Scholar] [CrossRef]
- Bucher, K.; Blome, T.; Rudolph, S.; von Mammen, S. VReanimate II: Training first aid and reanimation in virtual reality. J. Comput. Educ. 2019, 6, 53–78. [Google Scholar] [CrossRef]
- Al-Hiyari, N.N.; Jusoh, S.S. Healthcare Training Application: 3D First Aid Virtual Reality. In Proceedings of the International Conference on Data Science, E-Learning and Information Systems 2021, Ma’an, Jordan, 5–7 April 2021; pp. 107–116. [Google Scholar]
- Scherfgen, D.; Schild, J. Estimating the Pose of a Medical Manikin for Haptic Augmentation of a Virtual Patient in Mixed Reality Training. In Proceedings of the Symposium on Virtual and Augmented Reality, Virtual Event, Brazil, 18–21 October 2021; pp. 33–41. [Google Scholar] [CrossRef]
- Uhl, J.C.; Regal, G.; Gallhuber, K.; Tscheligi, M. Tangible Immersive Trauma Simulation: Is Mixed Re-ality the next level of medical skills training. In Proceedings of the 2023 CHI Conference on Human Factors in Computing Systems (CHI’23), Hamburg, Germany, 23–28 April 2023; Volume 1. [Google Scholar] [CrossRef]
- Duda, S.; Warburton, C.; Black, N. Contextual Research. In Human-Computer Interaction. Design and User Experience. HCII 2020; Kurosu, M., Ed.; Springer: Cham, Switzerland, 2020; Volume 12181. [Google Scholar]
- Liaqat, A.; Axtell, B.; Munteanu, C.; Epp, C.D. Contextual Inquiry, Participatory Design, and Learning Analytics: An Example. In Proceedings of the Companion Proceedings 8th International Conference on Learning Analytics & Knowledge, Sydney, Australia, 7–9 March 2018. [Google Scholar]
- Graneheim, U.H.; Lundman, B. Qualitative content analysis in nursing research: Concepts, procedures and measures to achieve trustworthiness. Nurse Educ. Today 2004, 24, 105–112. [Google Scholar] [CrossRef] [PubMed]
- Graneheim, U.H.; Lindgren, B.M.; Lundman, B. Methodological challenges in qualitative content analysis: A discussion paper. Nurse Educ. Today 2017, 56, 29–34. [Google Scholar] [CrossRef] [PubMed]
- Blomkvist, S. Towards a Model for Bridging Agile Development and User-Centered Design. In Human-Centered Software Engineering—Integrating Usability in the Software Development Lifecycle; Seffah, A., Gulliksen, J., Desmarais, M.C., Eds.; Springer: Dordrecht, The Netherlands, 2005; pp. 219–244. [Google Scholar] [CrossRef]
- Erlam, G.; Smythe, L.; Clair, V. Simulation Is Not a Pedagogy. Open J. Nurs. 2017, 7, 779–787. [Google Scholar] [CrossRef]
- Hackstein, A.; Hagemann, V.; von Kaufmann, F.; Regner, H. Handbuch Simulation; Bürger-Verlag GmbH: Edewecht, Germany, 2016. [Google Scholar]
- Orgill, B.; Nolin, J. Learning Taxonomies in Medical Simulation; StatPearls Publishing: Treasure Island, FL, USA, 2020. [Google Scholar]
- Hugelius, K.; Becker, J.; Adolfsson, A. Five Challenges When Managing Mass Casualty or Disaster Situations: A Review Study. Int. J. Environ. Res. Public Health 2020, 17, 3068. [Google Scholar] [CrossRef]
- Schnack, A.; Wright, M.J.; Holdershaw, J.L. Does the locomotion technique matter in an immersive virtual store environment?—Comparing motion-tracked walking and instant teleportation. J. Retail. Consum. Serv. 2021, 58, 102266. [Google Scholar] [CrossRef]
- Curran, N. Factors of immersion. Wiley Handb. Hum. Comput. Interact. 2018, 1, 239–254. [Google Scholar]
- Zechner, O.; Kleygrewe, L.; Jaspaert, E.; Schrom-Feiertag, H.; Hutter, R.I.V.; Tscheligi, M. Enhancing Operational Police Training in High Stress Situations with Virtual Reality: Experiences, Tools and Guidelines. Multimodal Technol. Interact. 2023, 7, 14. [Google Scholar] [CrossRef]
- Kiran, M.; Murphy, P.; Monga, I.; Dugan, J.; Baveja, S.S. Lambda architecture for cost-effective batch and speed big data processing. In Proceedings of the 2015 IEEE International Conference on Big Data (Big Data), Santa Clara, CA, USA, 29 October–1 November 2015; pp. 2785–2792. [Google Scholar] [CrossRef]
- Sunny, J.S.; Patro, C.P.K.; Karnani, K.; Pingle, S.C.; Lin, F.; Anekoji, M.; Jones, L.D.; Kesari, S.; Ashili, S. Anomaly Detection Framework for Wearables Data: A Perspective Review on Data Concepts, Data Analysis Algorithms and Prospects. Sensors 2022, 22, 756. [Google Scholar] [CrossRef] [PubMed]











Disclaimer/Publisher’s Note: The statements, opinions and data contained in all publications are solely those of the individual author(s) and contributor(s) and not of MDPI and/or the editor(s). MDPI and/or the editor(s) disclaim responsibility for any injury to people or property resulting from any ideas, methods, instructions or products referred to in the content. |
© 2023 by the authors. Licensee MDPI, Basel, Switzerland. This article is an open access article distributed under the terms and conditions of the Creative Commons Attribution (CC BY) license (https://creativecommons.org/licenses/by/4.0/).
Share and Cite
Zechner, O.; García Guirao, D.; Schrom-Feiertag, H.; Regal, G.; Uhl, J.C.; Gyllencreutz, L.; Sjöberg, D.; Tscheligi, M. NextGen Training for Medical First Responders: Advancing Mass-Casualty Incident Preparedness through Mixed Reality Technology. Multimodal Technol. Interact. 2023, 7, 113. https://doi.org/10.3390/mti7120113
Zechner O, García Guirao D, Schrom-Feiertag H, Regal G, Uhl JC, Gyllencreutz L, Sjöberg D, Tscheligi M. NextGen Training for Medical First Responders: Advancing Mass-Casualty Incident Preparedness through Mixed Reality Technology. Multimodal Technologies and Interaction. 2023; 7(12):113. https://doi.org/10.3390/mti7120113
Chicago/Turabian StyleZechner, Olivia, Daniel García Guirao, Helmut Schrom-Feiertag, Georg Regal, Jakob Carl Uhl, Lina Gyllencreutz, David Sjöberg, and Manfred Tscheligi. 2023. "NextGen Training for Medical First Responders: Advancing Mass-Casualty Incident Preparedness through Mixed Reality Technology" Multimodal Technologies and Interaction 7, no. 12: 113. https://doi.org/10.3390/mti7120113
APA StyleZechner, O., García Guirao, D., Schrom-Feiertag, H., Regal, G., Uhl, J. C., Gyllencreutz, L., Sjöberg, D., & Tscheligi, M. (2023). NextGen Training for Medical First Responders: Advancing Mass-Casualty Incident Preparedness through Mixed Reality Technology. Multimodal Technologies and Interaction, 7(12), 113. https://doi.org/10.3390/mti7120113

