Next Article in Journal
The Assistant Personal Robot Project: From the APR-01 to the APR-02 Mobile Robot Prototypes
Previous Article in Journal
A New Look at Excavation Techniques and Design of Rock-Cut Architectures
 
 
Font Type:
Arial Georgia Verdana
Font Size:
Aa Aa Aa
Line Spacing:
Column Width:
Background:
Article

Concept Development—From Academia to Industry: A Journey Motivated by the Design of Portable Thermal Slippers

by
Belmiro P. M. Duarte
1,2,*,
Ana M. F. Carvalho
1,
Daniela S. B. Lima
1,
Diana I. S. Costa
1,
Inês R. Nunes
1,
João P. S. C. Batista
1,
Paulo J. S. Gomes
1 and
Fernando P. Bernardo
2
1
Department of Chemical and Biological Engineering, Coimbra Engineering Academia, Polytechnic Institute of Coimbra, Rua Pedro Nunes, Quinta da Nora, 3030-199 Coimbra, Portugal
2
Centro de Investigação em Engenharia dos Processos Químicos e dos Produtos da Floresta, Department of Chemical Engineering, University of Coimbra, Rua Sílvio Lima, Pólo II, 3030-790 Coimbra, Portugal
*
Author to whom correspondence should be addressed.
Designs 2022, 6(4), 65; https://doi.org/10.3390/designs6040065
Submission received: 21 May 2022 / Revised: 8 July 2022 / Accepted: 18 July 2022 / Published: 21 July 2022

Abstract

:
Concept design is an early and crucial phase in product development where the general concept of a product is created. In this stage, various aspects of the product are considered, such as usability and technical performance, among others. Product design and development are currently a well-established area of knowledge, and academia is increasingly including its fundamentals in regular curricula, especially in the areas of engineering, design, and marketing. At the same time, industrial players recognize the potential of the method for i. responding successfully to market uncertainty and speed; ii. improving the knowledge available and the systematization of creative processes; and iii. ensuring that the decision process is explicit and well documented. Nevertheless, only a few studies demonstrating the concept design procedure in detail are available in the literature. In this paper, we thus present a detailed case study concerning the design of portable thermal slippers, so as to demonstrate the application of structured procedures and systematic approaches to concept design, and providing a pedagogical review of methods and tools to support the analysis and decisions along the several steps of the concept design procedure. The particular case study here addressed resulted from the collaboration between an academic institution and a company operating in the home footwear industry, with the design team including elements from both sides.

1. Motivation

A fundamental stage in product development is concept generation. In practice, this is the ability to come up with new ideas for products in a systematic way that allows maximizing the speed-to-market, which in turn shortens the life cycle of the products in early stages. Typically, firms create a range of ideas and options, before selecting the best one, which is then taken forward and developed. Ideas are evaluated, and the best (or the most promising) one(s) is (are) selected using criteria aligned with the needs of the customers and technical requirements expressed as specifications. Herein, we use the definition of Ulrich and Eppinger [1] of product concept where a product concept is an approximate description of the product, technology, and working principles and is accompanied by a graphic representation and a textual description.
A relatively recent paradigm [2] assumes that firms can and should use external and internal ideas, exploiting internal as well as external paths to market, as they advance in using new technologies and their know-how emerges. This conceptual environment induces positive effects and competitive advantages at various levels such as the acquisition of technology and commercialization strategies, R&D efficiency, and corporate interactions, among others [3]. Another area where the impact is felt is in achieving proficiency in new product development, which, in turn, can help many organizations in reaching success. Product development is one of the most important factors for success and, at the same time, one of the most difficult activities in every business. Product development is a set of growth policies and activities, which through various steps of product generation bring about minor or major modifications to products [4].
In product development, activities are often classified into i. concept design, ii. technical design, iii. detail design, and iv. manufacturing process design [5]. Concept engineering is a systematic approach commonly used in the concept design phase. This method has supporting tools and techniques and allows one to understand customers’ expectations and convert them into physically realizable concepts [6]. Concept engineering addresses not only each phase of the product concept decision process but also each of the supporting routines. The complete procedure includes: i. understanding the customer’s environment, ii. converting the knowledge acquired into product requirements, iii. operationalizing the knowledge available, iv. concept generation, and v. concept selection. Further, each task requires verification and validation, and the process is iterative [7].
Providing an introduction to concept design is a common practice in engineering/design courses. In addition, firms are evolving to focus additional efforts on product development. However, some of the specificities of the procedure are still elusive in practice or otherwise must be adapted to the company’s culture. Literature demonstrating the application of the concept design procedure (and the respective tools) to a case study in a systematic way is limited. Particularly in the chemical engineering area, there has been an active discussion about the changes needed in the curricula in order to meet the requirements of product-based industries [8,9,10]. One of the top difficulties identified is the lack of comprehensive case studies covering the many steps of product concept development. Recent textbooks and other materials have been developed [11,12], but with partial case studies, each one covering a particular step of the development process, while comprehensive examples illustrating the whole journey from customer needs to new product concepts are still not available. Application examples are also reported in mechanical and aerospace engineering (see Guo et al. [13], Chiesa et al. [14], Woldemichael and Hashim [15] among others), but they focus mainly on specific steps and do not address the complete procedure that goes from needs elicitation to concept selection.
Thus, the purpose of this paper is twofold: i. analyzing the specificities and tools of the product concept design procedure, step by step, and adopting a pedagogical perspective, and ii. applying the framework to a comprehensive case study concerning the design of portable thermal slippers, a project that resulted from a joint collaboration between academia and an industrial partner. In the remainder of this paper, we refer to individuals involved in the activities of concept design as the Design Team (DT), who are also the authors of the present study.
The paper is organized as follows. Section 2 introduces the company and identifies the customer needs. Section 3 establishes specifications for product performance. Section 4 presents the concepts generated, combining solutions to critical technical problems. Section 5 presents the selection of concepts for preliminary design. Finally, Section 6 offers a summary of the results obtained, provides an overview of the procedure, and analyzes the next steps of the product development process. In Section 2, Section 3, Section 4 and Section 5, several diverse methods supporting the different steps of the product concept design procedure are used, motivated by the specific problems addressed and focusing on obtaining results so as to proceed with the design process. This practical perspective is complemented by a thorough selection of literature references, where the interested reader may learn more about the methods used. Further, in the end of each of Section 2, Section 3, Section 4 and Section 5, a summary of the methods used and results attained is provided in the form of a table.

2. Eliciting Customer Needs

In this section, we identify the consumer needs and their relative importance in acquisition behavior. First, in Section 2.1, we characterize the firm involved in the project. Then, in Section 2.2, we identify the needs with a focus group. Finally, in Section 2.3, the needs are ordered according to their importance through a survey.

2.1. Characterizing the Firm

Here, we characterize the firm involved in this joint collaboration.
The firm produces home footwear for European markets and aims at broadening the product mix with portable thermal slippers. This product has been requested by customers and retailers and is aligned with the company’s expansion policy of further integrating technology in their products. The company runs a Quality Management System in compliance with ISO 9001:2018 standard but has low experience with Quality-by-Design (QbD) activities, especially in product development and concept design.
The production line is organized in multi-model assembly lines. Each of the lines produces in campaigns of one product at once according to the orders; all products share the storage and expedition sections. The layout of the lines is organized into two functional sections: i. the cutting section, where the fabric is cut to adequate size and form, and ii. the stitching section, where the parts are stitched and the product quality is tested.

2.2. Identifying Customer Needs

Now, we identify customer needs. We followed the methodology of Ulrich and Eppinger [1] and Urban and Hauser [16] to create information that can be translated into needs. First, we organized a focus group to discuss closely related products and aspects such as the potential use of the product, pros and cons of existing products, and improvements to make. The meeting was conducted by avoiding direct questions as much as possible so that the elements of the focus group could feel free to give their opinions. The focus group was formed by eight lead users (see (von Hippel [17], Chap. 8) for the definition of lead user) that commonly use home footwear and the owner of a production line operating in this business area.
The relevant customer statements were gathered and converted into perceived needs by the DT. Table 1 shows the perceived needs identified, and we note that some of them are associated with materials and heat storage. Further, the list includes the Price as well as elements such as the energy charging system.
Next, the DT organized the perceived needs into a hierarchy using an affinity chart (see Mizuno [18] for an overview of affinity diagrams and its application). A brainstorming session was conducted to iteratively aggregate the needs identified into larger groups sharing a common relation. The larger groups received new tags and became the primary needs. Smaller groups became associated with secondary needsand tertiary needs, respectively. Practically, they were populated with original perceived needs. Table 2 presents a hierarchical list of needs obtained by construction. To simplify the interpretation, a numbering system was used for their identification. Primary needs are identified by single digits (e.g., “1.”) and secondary needs by two digits, where the first is for the primary need to which they belong hierarchically and the second is for the identifier (e.g., “1.1.”). Likewise, tertiary needs are identified by three digits (e.g., “1.1.1.”). This procedure allowed all the elements of the DT to improve the idea of the product, discuss it, and enlarge the limits of the functionality. This was a constructive step where creativity and understanding were expanded.
The secondary needs 4.1. and 4.5. have multiple technological alternatives, which are here considered as tertiary needs. For instance, the thermal slippers system may be based on electrical heating using a rechargeable battery (need 4.1.1.), a non-rechargeable set of of batteries (need 4.1.2.), or a thermogel (need 4.1.3.), which is a material that releases energy when changing from a liquid state to a firm gel state. It is assumed in this stage that the future product will only incorporate one of these alternatives, which are then seen as exclusive. It should be noted that, strictly speaking, these tertiary needs are not defined in the space of customer needs, since they are already possible technological solutions (and thus they belong to the space of solutions, not the space of needs). The DT has made good note of this imperfection and that these pre-concepts should not bias or restrict the future step of the generation f new product concepts (which will be addressed in Section 4 of this paper).

2.3. Determining the Relative Importance of the Needs

This section describes the approach used in ordering the needs by their relative importance.
A survey approach was followed to determine the relative importance of the customers’ needs. The questionnaire was disseminated using a social network, and the customers were asked to compare: i. the importance of primary needs; ii. the importance of secondary needs of each primary need; and iii. the importance of tertiary needs of each secondary need when existing. A behavioral anchored rating scale (BARS) with 10 levels was used for comparison. The level “1” was for the lowest importance and “10” for the highest, and the respondents were asked to directly compare needs’ importance giving values (from 1 to 10 in intervals of 1) to each alternative need. BARS are rating scales that add behavioral-scale anchors to traditional rating scales and are intended to facilitate more accurate ratings of the target person’s behavior [19]. In our questionnaire, we adopted an anchor level of “10”, so the respondents were asked to rate at least one of the alternatives of each question with “10”.
The data resulting from questionnaires were first analyzed and filtered to avoid incomplete responses. The remaining data sample has 279 records, and was characterized using basic statistics [20]. Table 3 presents the mean (represented by x ¯ ), standard deviation (s), coefficient of variation ( C v ; expressed in %) and the relative importance (I; also expressed in %) of the needs. Here, C v = s / x ¯ × 100 , and I is the ratio of the importance of a specific need to the sum of importance of all needs of the same level (i.e., primary, secondary and tertiary needs). To compute the relative importance of each need in a question, we first compute the sum of averages of all of them, say i = 1 n x ¯ i ; then, the relative importance is given by
I i ( % ) = x ¯ i i = 1 n x ¯ i × 100 ,
where x ¯ i is the average for ith need and n the total number of needs compared in that specific question. The calculation of the relative importance of secondary and tertiary needs is performed by multiplying the relative of importance of the primary (or secondary) need at which they belong by their relative importance expressed in a percentage. To analyze the internal consistency of the questionnaire responses, Cronbach’s alpha coefficient was used (see Falissard [20] for a discussion).
Two noticeable findings are observed from Table 3: i. the respondents consider most of the needs important, and ii. the primary needs are perceived as nearly important. We obtained a value of 0.85, which indicates good internal consistency of the questionnaire [21].
To strengthen the decision of considering the needs important enough in light of the values system of the DT to proceed to subsequent stages of concept design, a threshold value was set, where, by definition, the threshold is the minimum acceptable importance of a need in order to incorporate the need in the design ([22], Glossary). Here, we adopted the value of 5.5, which is the middle value of the BARS used in the questionnaire, but other values can be considered. Consequently, the needs 1.3., 1.4., and 4.1.2. were considered unimportant. Because the tertiary needs are exclusive (i.e., the adoption of one of them implies not adopting another one), only the two most important were maintained in the final ranking. Then, the importance of the needs was re-scaled to sum to 100%. The results are shown in Table 4.
Table 5 summarizes the tasks and the methods adopted in each of the steps of the Customer needs elicitation phase.

3. Preliminary Performance Specifications

In this Section, we set preliminary specifications for the product’s desired performance.
Specifications are measurable criteria that the product should be designed to satisfy. They are required to be set at different stages of the product design process; naturally, the targets in the concept design phase are broad and are successively revised and tightened until the embodiment phase. Specifications must include three necessary properties. First, they must be quantitative, measurable criteria that the product is expected to satisfy. Thus, to be unambiguous, they must contain a metric. Second, they should be expressed using engineering units (i.e., they can be compared on a standard scale). Finally, they must have ideal and standard target values associated with them [23].
Section 3.1 introduces the measurable criteria used for assessing the ability of the product to satisfy the customers. Section 3.2 sets the ideal and standard targets using information from a benchmarking analysis of competing products.

3.1. Setting the Criteria

Here, we establish the criteria associated with their specifications and respective units. The approach used relies on the work of Franke [24]; when possible, the specifications proposed fall into the categories listed in his work. We also consider criteria identified by specific standards used in the home footwear industry and materials’ quality control. Finally, discrete (which include binary) criteria are also used to represent qualitative alternatives when quantitative metrics are not available. In the last case, an equivalence between the alternatives and indicator variables is established. The metrics associated with the criteria to satisfy and the units to express them are listed in Section 3.2 but they were decided on this phase of the procedure.

3.2. Setting the Targets

Now, we set the targets for metrics proposed in Section 3.1. We use the benchmarking approach proposed by Otto and Wood [7] and follow the six-step process introduced there.
First, the DT formed a list of design issues. Next, we formed a list of competitive and related products that may have similar functions and characteristics to portable thermal slippers. We considered various models of different competitors, which are designated by COMP i , where “COMP” stands for competitor and i stands for its index. Due to the limitation in using copyrighted images or brand names of competitors, we keep them unnamed. Next, we searched for information characterizing the selected products and generated a database including descriptions of the i. products themselves, ii. functions they perform, and iii. market segments at which they are aimed. The database was completed with their performance in the dimensions used for benchmarking, when the analysis is possible [25].
The fourth step required the comparison of the products and functions they perform using the list of metrics considered for analysis. Our goal was twofold: i. establishing the intervals of performance of the competitive products which served to conveniently setting the target and standard values for our concepts, and ii. finding an ordering relation (of performance) for each metric that allowed us to subsequently set the direction of optimization. The information generated is shown in Table 6.
We first note that some information is unknown and must be completed as much as possible in subsequent phases of the process, which may require testing competing products. All needs have at least one metric, and in some cases, various metrics apply to a single need increasing the detail of the design at this stage.
Next, the benchmark information in Table 6 was used to construct the product specifications of the concepts to develop, see Table 7. Here, the metrics associated with criteria are in column 2, and the units to measure them in column 3. Further, the table also includes: i. the standard target values for the performance of the product in column 4, ii. the ideal target values in column 5, and iii. the direction of optimization of the performance in column 6. For identifying the direction we use the symbol “↗” for maximization, “↘” for minimization, and “⟶” for on target objectives.
Summing up, the set of specifications in Table 7 is complete and unambiguous as it allows analyzing whether the product satisfies the customers in all the dimensions associated with perceived needs.
Table 8 summarizes the tasks included in setting the preliminary specifications and the methods adopted in each one.

4. Concept Generation

In this Section, we develop concepts, i.e., ideas, for products that must fulfill as much as possible the set of performance specifications established in Section 3, which in turn are the best available objective translation of the customer needs previously identified in Section 2. Herein, we use a decomposition approach [23] for understanding the product and respective functions. Practically, the design task is decomposed into subproblems, which are typically easier to understand and solve than the design task as a whole. The problems are of three forms: i. functional models, ii. product architecture, and iii. product portfolio. The former class is related to the basic functions of the product, the second to the physical form and materials, and the last one to the specificities of products to construct a portfolio. The solutions for subproblems are created from various sources and are then combined to form concepts [26], which are then revised and verified. The steps of concept generation include i. understanding and decomposing the problem, a task detailed in Section 4.1; ii. generating a list of external and internal solutions for each of the subproblems associated with product function and product architecture classes (Section 4.2); and iii. combining solutions into different concepts (Section 4.3). Finally, the concepts generated are analyzed regarding their ability to meet the specifications, and those that fail are eliminated from the basis.

4.1. Understanding and Decomposing the Product

Here, we use functional decomposition to hierarchically decompose the product into its functional and physical components and list the corresponding subproblems. These elements should be capable of achieving the product’s functions. The physical decomposition aims at identifying the elements that, when assembled together, will accomplish the product’s function. The functional decomposition aims at representing the behavior of the product and its parts [27]. To decompose the problem into functions, we use the Function Analysis System Technique (FAST) [28]. FAST focuses on the functions required by a design, process, or service to accomplish its objective [29]; here, is used fundamentally to understand the system functions.
The FAST modeling process starts by identifying the product’s primary objective and basic function(s). The basic function(s) are decomposed into secondary support functions and, finally, into the supporting functions to support the basic functions. In practice, it is represented by a diagram block, where blocks are functions and the lines connecting them formalize relational rules. The secondary functions are the ones required for supporting the primary functions, and the basic functions support all the others. Here, the DT first started with the physical decomposition of the product identifying all the elements required. Then, a functional decomposition was carried out by setting the flow of activities, i.e., constructing the diagram block. Each of the activities was deconstructed by asking the question “what” needs to be done (i.e., what flows and basic functions are required) to perform this particular function. This procedure was iteratively followed until the basic functions were identified. They represent the basic technical problems to handle in product design.
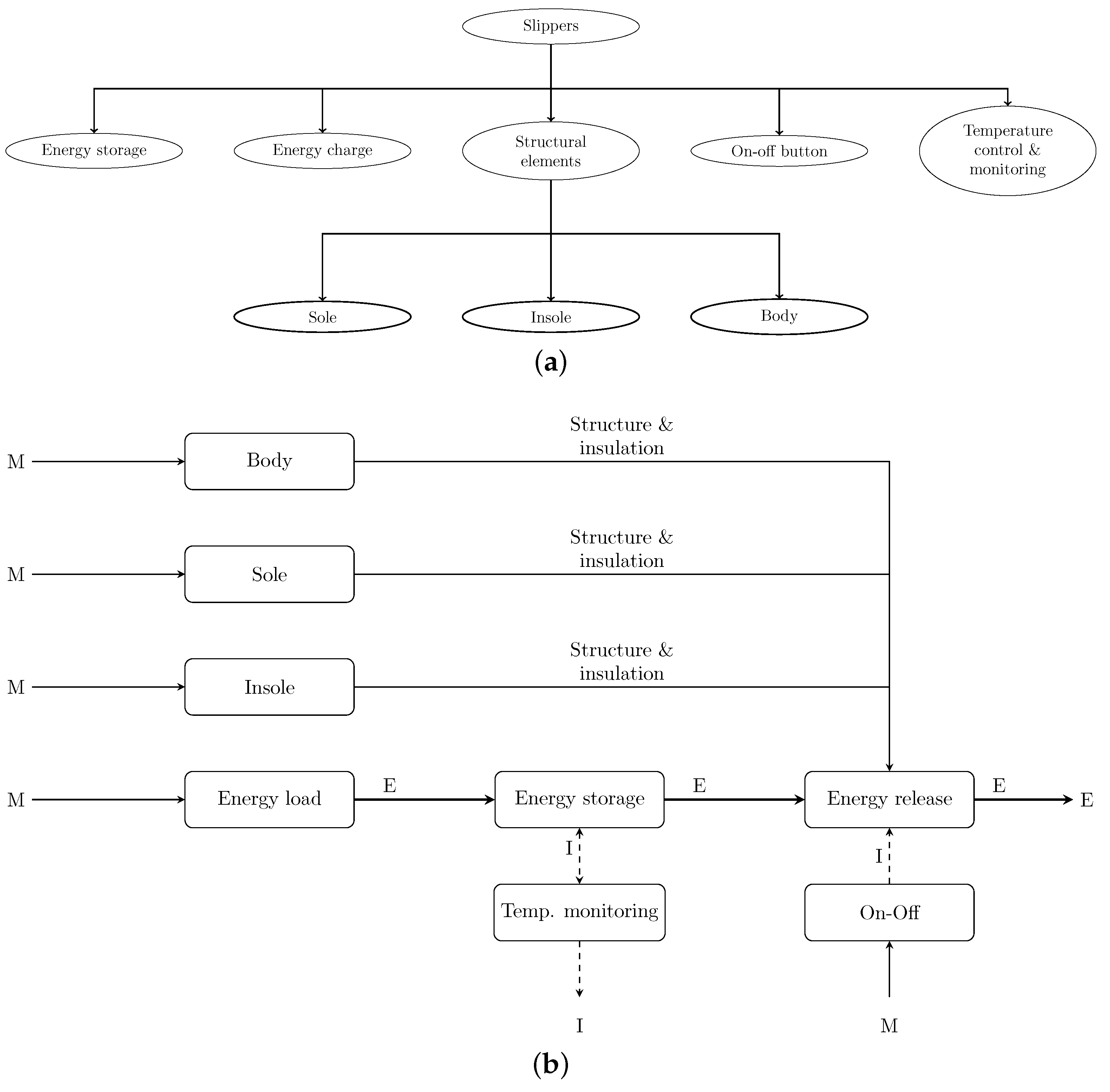
Figure 1a illustrates the proposed physical decomposition in the following elements: 1. the energy storage element; 2. the energy charging element; 3. the structural elements including the sole, insole and upper of the slippers; 4. the on–off switch element; and 5. the temperature control and monitoring system. Figure 1b shows the functional decomposition. The product includes several elements (sole, insole, and upper) used for structure and insulation (avoid energy loss). In addition, flows of information connect the on–off element with the energy release element to characterize the action of heating, and the temperature monitoring element with the energy storage element to characterize the action of measuring and display of the physical signal in a convenient scale.
Table 9 lists the primary tasks and subfunctions of product’s elements, and was constructed by aggregating physical and functional decompositions. The list of subproblems appears in Table 10. Here, we designate subproblems by SP i , where i stands for the subproblem index.

4.2. Finding Solutions

Here, we propose solutions for the subproblems identified in Section 4.1. The solutions arise from two distinct sources: i. external search, where, by external, we mean existing products, experts opinions, patents, and other published information; ii. internal search, which includes ideas generated by the DT in brainstorming sessions promoting associations and analogies. The solutions obtained by external search were gathered by observing competing products in use and analyzing available technical information. For convenience, the same set of products considered in benchmarking analysis (see Section 3.2) was considered in this task and used for constructing the basis of solutions. Further, an intensive analysis of free patents’ bases and scientific published sources was also conducted.
To generate internal solutions, the DT observed products in use with the similarity of functions and adapted the ideas using analogies. The solution fragments produced were then filtered and refined to be used herein. The experience of some of the DT elements as well as the knowledge of the materials’ characteristics was crucial in this phase.
We limit the research on materials to a superficial analysis where the fundamental properties were compared to specifications to shorten the number of concepts to feasible alternatives in a preliminary screening. The problem of comparing physical properties in-depth to optimize the choice was postponed to subsequent stages, namely the product prototyping and the design for robustness, which may include experimental plans to optimize the performance. The adopted alternatives are commonly used in similar products and are within the portfolio of raw materials for which the firm already has experience and suppliers.
Table 11 presents all the solutions found for each identified subproblem. To help in the interpretation, we designate a solution by S j _ SP i , where the first “S” is for solution, j identifies the solution index, “SP” is for subproblem and i identifies the subproblem (see Table 10 for the list of subproblems considered). The source used to generate the solutions is also discriminated, and we use “Extern.” for solutions resulting from external search and “Intern.” for internally generated fragments.

4.3. Generating Concepts

In this section, we generate concepts from solutions listed in Table 11.
The approach followed to generate concepts relies on the combination of solutions for each of the subproblems identified (see Table 10), which are in turn associated with the product’s subfunctions [1,7]. The number of possible concepts is naturally very large since the number of possible combinations increases geometrically with the number of subproblems and solutions. The DT used physical and geometrical incompatibilities to reduce the number of generated concepts to a tractable value. Then, eight concepts incorporating a broad range of solutions were chosen to be analyzed in further detail.
Let the concepts be represented by C k , where “C” stands for concept and k for the respective index. To simplify the identification, the concepts were named as follows: C 1 is Tough Slipper, C 2  Teddy Slipper, C 3 Ecofriendly Slipper, C 4 Techno Slipper, C 5 Vintage Slipper, C 6  Sprint Slipper, C 7  Star Slipper, and C 8 is Diamond Slipper. Table 12 lists the combination of solutions adopted in each concept; each column is for a different concept (C k ), each line corresponds to a subproblem (SP i ) and each cell of the matrix SP × C is a specific solution adopted.
All the generated concepts were supported by graphic and textual representations. The graphic representations have the form of sketches, including the solution elements (see Figure 2 and Figure 3). The textual description describes (in words) the technical solutions adopted. Due to space limitations, only the textual description of the concept Diamond Slipper is presented in Table 13, but equivalent descriptions were produced for the all the concepts developed.
The concepts generated were submitted to validation using the specifications of Table 7. The performance and solution of physical elements of each concept were compared to target values. Concepts that clearly do not allow reaching the standard targets were eliminated (although they are geometrically and physically feasible). Consequently, the resulting concepts of this phase are: i. Tough Slipper; ii. Teddy Slipper; iii. Techno Slipper; iv. Star Slipper; and v. Diamond Slipper, designated by List 1 in subsequent Sections.
Table 14 summarizes the tasks included in the phase of concept generation and the methods adopted herein.

5. Concept Selection

Here, we address the concept selection for subsequent tasks, namely concept prototyping and testing. The task of selecting the more promising concepts is crucial but complex, as it requires decisions under scenarios of large complexity and uncertainty. Typically, the DT is required to set criteria for comparison and then compare abstract entities—the concepts—to establish a relative order. Very often, the elements of the DT have different perceptions at the beginning, and the procedure firstly serves to articulate differences in understanding and to achieve a consensus [30]. We followed the approach proposed by Ulrich and Eppinger [1] and Otto and Wood [7] and decomposed the procedure into four sequential steps: i. concept screening, where concepts are compared to find a set of feasible (promising) alternatives (see Section 5.1); ii. improvement of concepts with negative solutions (see Section 5.2); iii. concept rating, where concepts are compared using the relative importance elicited for customers’ needs, in order to find the alternatives to develop (see Section 5.3); and iv. robustness analysis of the previous choice via Monte Carlo sampling methods (see Section 5.4).

5.1. Concept Screening

This Section addresses the comparison of concepts to reach a set of physically feasible alternatives. The approach followed is a four-step process [7]. First, the DT agreed on the criteria used for comparison. The adopted criteria (first column of Table 15) are aligned with the needs elicited from the customers and corresponding product performance specifications (see Table 7 in Section 2). To stimulate the creative aspects of concepts, the criterion Price was not considered in this phase, as it may hinder creative aspects of the concepts under evaluation, but, naturally, it must be incorporated in the decision in subsequent development phases. The objectives considered are in column 1 of Table 15. To simplify the subsequent mathematical treatment, let CR l be the representation of the lth criterion.
The second step required the DT to compare concepts. To simplify the process, one reference product existing in the market was considered (see the column 2 of Table 15), and the concepts emerging from Section 4.3 were compared to the reference for each of the criteria. Using a physically existing reference product is a common solution adopted for reducing the comparison bias [31,32]. The product chosen for reference was one of those previously considered in benchmarking analysis; here, it is denoted by R. In the discussion motivated by the comparison, the elements of the DT increased the understanding of the concepts and respective functional elements, which allowed reaching consensual positions.
The method used for concept screening was the decision-matrix based method proposed by Pugh [33]. Concepts are compared to the reference using a scale with three levels: { + 1 , 0 , 1 } . The sign “ + 1 ” corresponds to “better than”, “0” stands for “the same as”, and “ 1 ” for “worse than”. The results of the comparison of the concepts to the reference product are in columns 3-7 of Table 15.
For a clear systematization of the method, let ” C k R , CR l ” be the logical proposition stating that concept C k is better than the reference regarding the lth criterion. Similarly, ” C k R , CR l ” states that C k is worse than the reference and ” C k R , CR l ” that C k performs similarly to the reference. Let Δ l k be the score received by concept C k regarding a criterion CR l , with possible values + 1 , 0 and 1 . Δ l k is then given by:
Δ l k = + 1 , if C k R , CR l 0 , if C k R , CR l 1 , if C k R , CR l
The overall performance of concept C k is now measured by:
O k = l = 1 L Δ l k ,
where L is the number of criteria.
In the third step, the DT ranked the performance of the concepts using the metric O k . The alternatives that rate poorly are removed from the analysis, and the promising alternatives should be re-examined. Table 15 shows the results of concept screening. The concepts Teddy Slipper and Tough Slipper are preferred over the reference in some criteria but perform worse in some others, which results in an overall score O = 0 . The concepts Techno Slipper, Star Slipper, and Diamond Slipper appear as promising alternatives but should be re-analyzed, and if possible improved, since they are in some cases dominated by the reference, in particular in the Biodegradability criterion (see the seventh line of Table 15).
The fourth step of the procedure—improving promising concepts—is addressed next. Practically, it may generate improved and/or additional concepts, and if this happens, a second round of concept screening will be needed.

5.2. Attacking the Negatives and Improving Concepts

This Section deals with the improvement of negative-ranked criteria of the set of promising concepts. This task is more a reformulation of some concepts and, consequently, the generation of new ones than it is a selection step.
First, the DT analyzed the negative-ranked criteria of all concepts in Table 15. Then, we focused on the most promising alternatives, i.e., Star Slipper and Diamond Slipper concepts, and used the basis of solutions (Table 11) to prescribe physically compatible alternative solutions for criteria that compare negatively with R.
This reanalysis resulted in improved concepts named Star Slipper+ and Diamond Sleeper+, characterized in Table 16 and sketched in Figure 4. The concept Diamond Sleeper+ has the characteristics of a high-range product incorporating two distinct solutions for subproblems SP 11 and SP 15 . The concept can be used to extend the product mix. On the contrary, the concept Star Slipper+ has the potential for being an entry range product in the firm’s mix.
The new set of alternatives was ranked using the approach introduced in Section 5.1. The results are shown in Table 17. The concepts Techno Slipper, Star Slipper+, and Diamond Slipper+ should be further analyzed and rated using a finer comparison scale. This task is addressed next, in the concept-rating phase.

5.3. Concept Rating

Here, we rank the remaining concepts using an increased resolution scale able to better differentiate among competing concepts. The approach followed also relies on the method of Pugh [33], introduced in Section 5.1.
The scale used herein is also ordinal with five levels. The scale levels are the elements of Γ = { 5 , 4 , 3 , 2 , 1 } where “5” means “much better than the reference”, “4” means“better than the reference”, “3” means “same as the reference”, “2” means “worse than the reference ” and “1” means “much worse than the reference”. The criteria used for comparison are the same as those used in Section 5.1. The result of the comparison of concept C k to the reference is stored in the score variables Δ l k Γ .
To incorporate the relative importance of the customer’s needs in the decision, the criteria are weighted. The weights, designated by w l (for lth criterion), were set based on the relative importance of needs elicited in Section 2.3 (see Table 4) whose satisfaction they intend to measure. They were set by the DT after consensus and sum to 1.0 (see the second column of Table 18). The overall performance of the concepts is now measured by
O k = l = 1 L w l Δ l k .
The results of concept rating are shown in Table 18. Alternatives Star Slipper+ and Diamond Slipper+ have the potential to progress to testing phase, the former as an entry-range product and the latest as an high-range product.

5.4. Robustness of the Choice

This Section analyzes the robustness of the rating of concepts and selection made in the previous subsection and can be seen as a validation step.
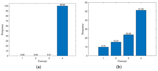
The decision for the two concepts (Star Slipper+ and Diamond Slipper+) involves various sources of uncertainty and inaccuracy, namely the weights w l and the scores Δ l k in Equation (4). To overcome this problem, we use Monte Carlo sampling to generate a large set of scenarios, varying the values of these parameters, and then determine the dominantconcept for each scenario, i.e., the concept with the maximum score for O k . Monte Carlo sampling is a computational technique based on constructing a random process for carrying out a numerical experiment by n-fold sampling from a random sequence of numbers with a prescribed probability distribution [34].
Here, we assume a normal distribution to generate random numbers, simulating uncertainty in criteria weights. Specifically, we consider independent normal distributions N ( w l , s l r ) for each weight, where s l r is the re-scaled standard deviation of weight w l , estimated from the relative importance of customer needs (see Table 4 in Section 2.3). The reference values of weights, w l , are in the second column of Table 18. The re-scaled standard deviation of weights is given by
s l r = s l w l 100 x ¯ l ,
where s l and x ¯ l are the standard deviation and the average of the importance of l th need in original BARS, respectively. To ensure that the weights sum to 1 in each scenario, we first generate L random numbers, and then re-scale them to unity. This procedure is repeated for each scenario; the number of scenarios, N, used in this study was set to 1e6.
Regarding scores Δ l k , we consider an uncertainty of ± 1 for scores 2, 3, and 4; 1 for score 5; and + 1 for score 1. This is simulated using independent integer uniform distributions for each Δ l k . More precisely, Δ l k U ( γ l k ) , where γ l k is a subset of Γ = { 5 , 4 , 3 , 2 , 1 } ; when Δ l k = 1 , γ l k = { 1 , 2 } ; when Δ l k = 2 , 3, or 4, γ l k = { Δ l k 1 , Δ l k , Δ l k + 1 } ; and when Δ l k = 5 , γ l k = { 4 , 5 } . This approach is also repeated for N scenarios.
For each scenario n { 1 , , N } , we determine the concept k with the best performance, i.e., k n = arg [ max k ( O k ) ] . Then, we compute the frequency of dominance of each of the concepts, i.e., the number of times the concept C k is the best over the total number of scenarios:
f k = n = 1 N 1 k n = k N ,
where 1 k n = k is an indicator variable that is 1 when k n = k and 0 otherwise.
The results of Monte Carlo sampling analysis are displayed in Figure 5 and they show that:
i.
concept Diamond Slipper+ is extensively dominant when the weights w l are varied (keeping scores Δ l k at their nominal values—see Figure 5a)—and
ii.
concept Diamond Slipper+ is also dominant when scores Δ l k vary (with weights w l fixed at their nominal values; see Figure 5b). In the second case, the dominance is weaker, with the concept Star Slipper+ also being well ranked.
A similar analysis incorporating the Price as an additional criterion may reduce (or extinguish) the gap between both concepts. The findings obtained in Section 5.3 are thus corroborated with this sensitivity analysis, and we can now conclude with more certainty that concepts Star Slipper+ and Diamond Slipper+ are good candidates to progress to prototyping and testing stages.
Table 19 summarizes the tasks included in the concept selection phase and the methods adopted herein.

6. Conclusions

We have considered the concept design phase of product development via concept engineering, a method that allows i. systematization of creative processes and of knowledge acquisition; ii. reproducibility of decisions that are well documented and explicit; and iii. the construction of a knowledge basis that can be used to deal with market uncertainty and speed and also to simplify the product development process. Concept design is an early and crucial phase in product development, and firms that use systematic methods to design their products are very often well suited to succeed in responding to market dynamics. Concept engineering is a systematic tool to handle product development activities that ensures the compatibility of the customer voice with the technical performance of the developed product as well as with technical resources and restrictions of the company. It is currently often used in quality-by-design activities.
Concept engineering follows a sequence of steps that aims at i. focusing on the product on customer needs; ii. generating knowledge towards the optimization of product quality given the available resources; and iii. generating knowledge that can be subsequently used to speed up the development process and increase the efficiency of the firm in similar activities. Despite the interest in the method, which developed in academia about 30 years ago and is now adopted by industrial and services companies, systematic studies demonstrating its use and especially the details of its implementation are still elusive. In addition, the method became part of engineering, marketing, and design courses, and students may benefit from having a comprehensive and systematic study addressing the problem.
Herein, we demonstrated the use of concept engineering in the design of new concepts of portable thermal slippers, a joint project between academia and a firm that already operates in the market of home footwear. The procedure followed is structured into four main steps: i. elicitation of customer needs (Section 2); ii. preliminary specification of the desired product performance (Section 3); iii. concept generation (Section 4); and iv. concept selection (Section 5).
We adopted systematic tools whenever possible, with the main goal of constructing a framework that assures the reproducibility of the procedure and the results. We ended up with two concepts: Star Slipper+ and Diamond Slipper+. The former is focused on entry-range segment and the latest on high-range niche, in a combined strategy that aims at widen the product portfolio.
Other systematic tools can be used in various steps of the procedure to increase the quantitativeness of the complete methodology, with one example being Conjoint Analysis [35]. However, the tools used herein combine i. the quantitative nature to be used within systematic methods to handle complex problems and ii. the easiness to be adopted by regular companies and academic institutions.
The final proposed concepts are good candidates to progress to subsequent phases, namely, i. concept prototyping and testing, ii. detailed specification, iii. robust design, iv. economic analysis, and v. the manufacturing process design.

Author Contributions

B.P.M.D.—Conceptualization, Formal analysis, Methodology, Writing; A.M.F.C.—Data curation, Investigation, Methodology; D.S.B.L.—Data curation, Investigation, Methodology; D.I.S.C.—Data curation, Investigation, Methodology; I.R.N.—Data curation, Investigation, Methodology; J.P.S.C.B.—Data curation, Investigation, Methodology; P.J.S.G.—Data curation, Investigation, Methodology; F.P.B.—Formal analysis, Methodology, Writing; All authors have read and agreed to the published version of the manuscript.

Funding

This research received no external funding.

Institutional Review Board Statement

Not applicable.

Informed Consent Statement

Informed consent was obtained from all subjects involved in the study.

Conflicts of Interest

The authors declare no conflict of interest.

References

  1. Ulrich, K.T.; Eppinger, S.D. Product Design and Development, 6th ed.; McGraw-Hill: New York, NY, USA, 2016. [Google Scholar]
  2. Amara, N.; Landry, R. Sources of information as determinants of novelty of innovation in manufacturing firms: Evidence from the 1999 statistics Canada innovation survey. Technovation 2005, 25, 245–259. [Google Scholar] [CrossRef]
  3. Arora, A.; Fosfuri, A.; Gambardella, A. Markets for Technology: The Economics of Innovation and Corporate Strategy, 1st ed.; The MIT Press: Cambridge, MA, USA, 2004; Volume 1. [Google Scholar]
  4. Rainey, D.L. Product Innovation: Leading Change through Integrated Product Development; Cambridge University Press: Cambridge, UK, 2005. [Google Scholar] [CrossRef]
  5. Dixon, J.R.; Duffey, M.R. The neglect of engineering design. Calif. Manag. Rev. 1990, 32, 9–23. [Google Scholar] [CrossRef]
  6. Burchill, G. Concept Engineering: An Investigation of TIME vs. MARKET Orientation in Product Concept Development. Ph.D. Thesis, Massachussets Institute of Technology, Boston, MA, USA, 1990. [Google Scholar]
  7. Otto, K.; Wood, K. Product Design—Techniques in Reverse Engineering and New Product Development, 1st ed.; Prentice Hall, Inc.: Upper Saddle River, NJ, USA, 2001. [Google Scholar]
  8. Costa, R.; Moggridge, G.D.; Saraiva, P.M. Chemical product engineering: An emerging paradigm within chemical engineering. AIChE J. 2006, 52, 1976–1986. [Google Scholar] [CrossRef] [Green Version]
  9. Bernardo, F.P.; Saraiva, P.M. A conceptual model for chemical product design. AIChE J. 2015, 61, 802–815. [Google Scholar] [CrossRef] [Green Version]
  10. Uhlemann, J.; Costa, R.; Charpentier, J.C. Product design and engineering—Past, present, future trends in teaching, research and practices: Academic and industry points of view. Curr. Opin. Chem. Eng. 2020, 27, 10–21. [Google Scholar] [CrossRef]
  11. Cussler, E.L.; Moggridge, G.D. Chemical Product Design, 2nd ed.; Cambridge University Press: Cambridge, UK, 2011. [Google Scholar]
  12. Bernardo, F.P.; Costa, R.; Moggridge, G.D.; Saraiva, P.M. Chemical product engineering and design: Active learning through the use of case studies. In Proceedings of the International Conference on Engineering Education, Coimbra, Portugal, 3–7 September 2007; Universidade de Coimbra: Coimbra, Portugal, 2007; pp. 3–7. [Google Scholar]
  13. Guo, F.F.; Yan, H.S.; Lan, C.C.; Huang, S.T. Conceptual design of fixed center steering wheels. In Proceedings of the ASME 2008 International Design Engineering Technical Conferences and Computers and Information in Engineering Conference, Brooklyn, NY, USA, 3–6 August 2008, IDETC/CIE2008; pp. 771–780. [Google Scholar]
  14. Chiesa, S.; Corpino, S.; Fioriti, M.; Rougier, A.; Viola, N. Zonal safety analysis in aircraft conceptual design: Application to SAvE aircraft. Proc. Inst. Mech. Eng. Part G J. Aerosp. Eng. 2013, 227, 714–733. [Google Scholar] [CrossRef]
  15. Woldemichael, D.E.; Hashim, F.M. Development of conceptual design support tool for subsea process equipment design. Int. J. Mech. Mechatronics Eng. 2010, 9, 12–17. [Google Scholar]
  16. Urban, G.; Hauser, J. Design and Marketing of New Products; Prentice-Hall Series in Automatic Computation; Prentice-Hall: Upper Saddle River, NJ, USA, 1980. [Google Scholar]
  17. von Hippel, E. The Source of Innovation; Oxford University Press: New York, NY, USA, 1988. [Google Scholar]
  18. Mizuno, S. Management for Quality Improvement: The 7 New QC Tools; Taylor & Francis: New York, NY, USA, 1988. [Google Scholar]
  19. Schwab, D.P.; Heneman III, H.G.; DeCotiis, T.A. Behaviorally anchored rating scales: A review of the literature. Pers. Psychol. 1975, 28, 549–562. [Google Scholar] [CrossRef]
  20. Falissard, B. Analysis of Questionnaire Data with R, 1st ed.; Chapman & Hall/CRC: London, UK, 2011. [Google Scholar]
  21. Cortina, J.M. What is coefficient alpha? An examination of theory and applications. J. Appl. Psychol. 1993, 78, 98–104. [Google Scholar] [CrossRef]
  22. Kahn, K. The PDMA Handbook of New Product Development; Wiley: New York, NY, USA, 2012. [Google Scholar]
  23. Pahl, G.; Beitz, W.; Feldhusen, J.; Grote, K. Engineering Design: A Systematic Approach; Springer: London, UK, 2006. [Google Scholar]
  24. Franke, H.J. Methodische schritte beim klären konstruktiver aufgabenstellungen. Konstruktion 1975, 27, 395–402. [Google Scholar]
  25. Dimancescu, D.; Dwenger, K. World-Class New Product Development: Benchmarking Best Practices of Agile Manufacturers; AMACOM: New York, NY, USA, 1996. [Google Scholar]
  26. Ullman, D. The Mechanical Design Process; McGraw-Hill Series in Mechanical Engineering; McGraw-Hill: New York, NY, USA, 2003. [Google Scholar]
  27. Kamrani, A.; Salhieh, S. Product Design for Modularity; Springer: New York, NY, USA, 2011. [Google Scholar]
  28. Akiyama, K. Function Analysis: Systematic Improvement of Quality and Performance; Productivity Press: Cambridge, MA, USA, 1991. [Google Scholar]
  29. Wixson, J.R. Function analysis and decomposistion using Function Analysis Systems Technique. In Proceedings of the INCOSE International Symposium, Brighton, UK, 6–10 June 1999; Wiley Online Library: Brighton, UK, 1999; Volume 9, pp. 800–805. [Google Scholar]
  30. Otto, K.N. Measurement methods for product evaluation. Res. Eng. Des. 1995, 7, 76–101. [Google Scholar] [CrossRef]
  31. Kerr, N.L.; Maccoun, R.J.; Kramer, G.P. Bias in judgment: Comparing individuals and groups. Psychol. Rev. 1996, 103, 687–719. [Google Scholar] [CrossRef]
  32. Guenther, A.; Eisenbart, B.; Dong, A. Creativity and successful product concept selection for innovation. Int. J. Des. Creat. Innov. 2021, 9, 3–19. [Google Scholar] [CrossRef]
  33. Pugh, S. Concept selection: A method that works. In Proceedings of the 1981 International Conference on Engineering Design; Hubka, V., Ed.; Cambridge University Press: Cambridge, UK, 1981; pp. 497–506. [Google Scholar]
  34. Lemieux, C. Monte Carlo and Quasi-Monte Carlo Sampling; Springer series in statistics; Springer: Dordrecht, The Netherlands, 2009. [Google Scholar] [CrossRef] [Green Version]
  35. Rao, V.R. Applied Conjoint Analysis; Springer: Dordrecht, The Netherlands, 2014. [Google Scholar]
Figure 1. Product decomposition: (a) Physical decomposition; (b) Function decomposition (legend: M—material flow; E—energy flow; I—information flow).
Figure 1. Product decomposition: (a) Physical decomposition; (b) Function decomposition (legend: M—material flow; E—energy flow; I—information flow).
Designs 06 00065 g001
Figure 2. Graphical representation of concepts: (a) Tough Slipper; (b) Teddy Slipper; (c) Ecofriendly Slipper; (d) Techno Slipper.
Figure 2. Graphical representation of concepts: (a) Tough Slipper; (b) Teddy Slipper; (c) Ecofriendly Slipper; (d) Techno Slipper.
Designs 06 00065 g002aDesigns 06 00065 g002b
Figure 3. Graphical representation of concepts (cont.): (a) Vintage Slipper; (b) Sprint Slipper; (c) Star Slipper; (d) Diamond Slipper.
Figure 3. Graphical representation of concepts (cont.): (a) Vintage Slipper; (b) Sprint Slipper; (c) Star Slipper; (d) Diamond Slipper.
Designs 06 00065 g003
Figure 4. Graphical representation of concepts: (a) Star Slipper+; (b) Diamond Slipper+.
Figure 4. Graphical representation of concepts: (a) Star Slipper+; (b) Diamond Slipper+.
Designs 06 00065 g004
Figure 5. Frequency of dominance of concepts (in %) obtained varying (a) the weights with w k N ( w l , s l r ) ; (b) the scores Δ l k U ( γ l k ) . Legend: Concept 1—Reference; Concept 2—Techno Slipper; Concept 3—Star Slipper+; Concept 4—Diamond Slipper+.
Figure 5. Frequency of dominance of concepts (in %) obtained varying (a) the weights with w k N ( w l , s l r ) ; (b) the scores Δ l k U ( γ l k ) . Legend: Concept 1—Reference; Concept 2—Techno Slipper; Concept 3—Star Slipper+; Concept 4—Diamond Slipper+.
Designs 06 00065 g005
Table 1. Perceived needs interpreted from the focus group.
Table 1. Perceived needs interpreted from the focus group.
Perceived Needs
The product should be washable
The product should exist in a range of sizes
The product should flexible to use
The product should be cheap
The product should have a long life
The heating time should be low
The product should include a temperature monitoring system
The product should have an energy storage system
The energy usage should be efficient
The product should include an energy wireless loading system
The product should be ergonomic
The product should have low weight
The product should include elastic materials
The product should be made of ductil materials
The product should be made of hypoallergenic materials
The product should be made of anti-bacterial materials
The product should be made of biodegradable materials
The product should have non-slip sole
The product should have an efficient thermal insulation
The product should have an heat load of large duration
Table 2. Perceived needs hierarchically organized.
Table 2. Perceived needs hierarchically organized.
Perceived Needs
1. Materials requirements
      1.1. Biodegradability and environmental sustainability
      1.2. Hypoallergenic
      1.3. Elastic
      1.4. Ductile
      1.5. Anti-bacterial
      1.6. Non-slip sole
      1.7. Thermal insulation
2. Flexibility
      2.1. Flexibility to use
      2.2. Range of sizes
3. Product lifetime
      3.1. Utilization cycles
      3.2. Loading cycles
4. Technological requirements
      4.1. Heating system
          4.1.1. Rechargeable battery
          4.1.2. Non-rechargeable set of batteries
          4.1.3. Thermogel
      4.2. Heating time
      4.3. Temperature monitoring system
      4.4. Energy efficiency
      4.5. Energy loading system
          4.5.1. External
          4.5.2. Via transformer
          4.5.3. Wireless
          4.5.4. USB
5. Washable
6. Weight
7. Price
Table 3. Results for the relative importance of the needs obtained from the questionnaire.
Table 3. Results for the relative importance of the needs obtained from the questionnaire.
Needs x ¯ s C v ( % ) I ( % )
1.7.252.6837.014.9
1.1.6.952.9842.92.29
1.2.7.342.8138.32.42
1.3.4.271.3531.71.40
1.4.4.411.0223.21.45
1.5.7.452.8438.22.46
1.6.7.492.7737.02.47
1.7.7.312.7137.02.41
2.6.732.6138.813.8
2.1.7.112.7438.57.00
2.2.6.912.8240.86.80
3.7.192.6636.914.8
3.1.7.422.8238.07.58
3.2.7.082.7038.27.22
4.6.372.8544.813.1
4.1.6.822.7139.82.72
4.1.1.6.723.1947.41.031
4.1.2.4.062.9572.50.623
4.1.3.6.942.3634.01.066
4.2.6.992.7939.82.79
4.3.6.922.8641.42.76
4.4.7.192.8239.32.87
4.5.6.662.6439.62.66
4.5.1.6.562.6941.00.697
4.5.2.5.573.0553.80.604
4.5.3.6.312.9947.40.670
4.5.4.6.473.2650.30.689
5.7.582.8737.815.8
6.6.832.8141.114.0
7.6.732.7440.613.9
Table 4. Perceived needs hierarchically organized by importance.
Table 4. Perceived needs hierarchically organized by importance.
Perceived NeedsImportance (%)
1. Materials requirements14.9
      1.1. Biodegradability and environmental sustainability2.83
      1.2. Hypoallergenic2.99
      1.5. Anti-bacterial3.04
      1.6. Non-slip sole3.05
      1.7. Thermal insulation2.98
2. Flexibility13.8
      2.1. Flexibility to use7.00
      2.2. Range of sizes6.80
3. Product lifetime14.8
      3.1. Utilization cycles7.58
      3.2. Loading cycles7.22
4. Technological requirements13.1
      4.1. Heating system2.58
          4.1.1. Rechargeable battery1.269
          4.1.3. Thermogel1.310
      4.2. Heating time2.64
      4.3. Temperature monitoring system2.62
      4.4. Energy efficiency2.72
      4.5. Energy loading system2.52
          4.5.1. External1.285
          4.5.4. USB1.235
5. Washable15.8
6. Weight14.0
7. Price13.9
Table 5. Summary of tasks and methods adopted in the Customer needs elicitation phase.
Table 5. Summary of tasks and methods adopted in the Customer needs elicitation phase.
TaskMethodsResults
Costumer needs identificationFocus groupTable 1
Costumer needs hierarchy settingAffinity diagramsTable 2
Needs relative importanceSurvey based on BARS, basic statistics treatment, threshold impositionTable 4
Table 6. Results of benchmarking analysis of potential competing products.
Table 6. Results of benchmarking analysis of potential competing products.
Competitors
Perceived NeedsMetric/StandardCOMP 1 COMP 2 COMP 3 COMP 4 COMP 5 COMP 6
1.
      1.1.St. EN13432
      1.2.St. ISO/IEC 71:2001
      1.5.St. ISO 20743
      1.6.St. EN ISO 20345:2011
      1.7.Thermal cond.
2.
      2.1.Uses011011
      2.2.Sizes112117
3.
      3.1.Lifetime
      3.2.Load duration in use60180120120
4.
      4.1.
          4.1.1.Voltage5220
          4.1.1.Capacity
          4.1.1.Volume
          4.1.1.Weight
          4.1.1.Warranty2
          4.1.3.Rupture tension
          4.1.3.Weight
          4.1.3.Thermal cap.
          4.1.3.Warranty
          4.1.3.Volume
      4.2.Loading time10
      4.3.Existing100000
      4.4.Energy efficiency
      4.5.
          4.5.1.Loading time1.5102
          4.5.4.Cable diameter
          4.5.4.Cable length
5.St. ISO 105:C06111101
6.Weight700400520650
7.Price34.9912.6419.9930.5815.9524.54
The symbol “–” stands for unavailable information.
Table 7. Product specifications (including metrics and respective target values).
Table 7. Product specifications (including metrics and respective target values).
NeedsMetric/StandardUnitStandard TargetIdeal TargetOptimum
1.
      1.1.St. EN13432Bin 1 01
      1.2.St. ISO/IEC 71:2001Bin 2 01
      1.5.St. ISO 20743Bin 3 01
      1.6.St. EN ISO 20345:2011Bin 4 01
      1.7.Heat transfer coef. W/(m2.K)0.790.60
2.
      2.1.UsesBin 5 01
      2.2.SizesDiscrete710
3.
      3.1.Lifetime years912
      3.2.Load duration in use min180210
4.
      4.1.
          4.1.1.Voltage V220220
          4.1.1.Capacity mA.h40006000
          4.1.1.Volume cm3400300
          4.1.1.Weight g400300
          4.1.1.Warranty years124
          4.1.3.Rupture tension N/mm6170
          4.1.3.Weight g400300
          4.1.3.Thermal cap. J/(kg.K)880900
          4.1.3.Warranty years23
          4.1.3.Volume ml400300
      4.2.Loading time min108
      4.3.ExistingBin 6 11
      4.4.Energy efficiency kWh/1000.h910
      4.5.
          4.5.1.Loading time min101.5
          4.5.4.Diameter mm5.65.6
          4.5.4.Length m33
5.St. ISO 105:C06Bin 7 11
6.Weight g250200
7.Price Euro34.9932.00
1 Non-biodegradable: 0; Biodegradable: 1. 2 Non-hypoallergenic: 0; Hypoallergenic: 1. 3 Non-anti-bacterial: 0; Anti-bacterial: 1. 4 Slip-sole: 0; Non-slip sole: 1. 5 Allows using at home: 0; Allows using at home and outside: 1. 6 Without temperature monitoring: 0; With temperature monitoring: 1. 7 Non-washable: 0; Washable: 1.
Table 8. Summary of tasks and methods adopted in the Preliminary specifications setting phase.
Table 8. Summary of tasks and methods adopted in the Preliminary specifications setting phase.
TaskMethodsResults
Setting the metrics and engineering unitsEngineering knowledgeTable 6
Setting the targetsBenchmarking analysis, engineering knowledgeTable 7
Table 9. Tasks and subfunctions of product’s elements.
Table 9. Tasks and subfunctions of product’s elements.
ElementTaskSubfunctionAssociated Need
Loading systemLoad the storage element 2.1, 3.1., 4.1., 4.2., 4.5.
Storage systemStore energyRelease energy3.2, 4.4, 6.
SoleContact with the soilComfort, safety1.4.
InsoleInsulateComfort1.1., 1.2., 1.3., 1.7., 5.
UpperInsulateComfort1.1., 1.2., 1.3., 1.7., 2.1., 2.2., 3.1., 5.
On–off systemControl storage systemLoad control3.2, 4.3., 4.4.
Temperature control & monitoringInformation of charge availabilityControl energy release4.3., 4.4.
Table 10. Subproblems associated with products functions.
Table 10. Subproblems associated with products functions.
SubproblemDescription
SP 1 Sole. Form
SP 2 Sole. External material
SP 3 Sole. Internal material
SP 4 Insole. Lining material
SP 5 Insole. Structural material
SP 6 Upper. Form
SP 7 Upper. Internal lining material
SP 8 Upper. External lining material
SP 9 Upper. Structural material
SP 10 Upper. Zipper of structure containing the heating element
SP 11 Heating system. Energy source
SP 12 Heating system. Temperature control system
SP 13 Heating system. Temperature monitoring system
SP 14 Heating system. On–off system
SP 15 Heating system. Loading system
Table 11. Solutions prescribed for subproblems in Table 10.
Table 11. Solutions prescribed for subproblems in Table 10.
SubproblemSourceSolutionSubproblemSourceSolution
SP 1 Extern.S 1 _ SP 1 : Planar with structured trackSP 2 Intern.S 1 _ SP 2 : Foam
Intern.S 2 _ SP 1 : Planar with vibram track Intern.S 2 _ SP 2 : XPS
Intern.S 3 _ SP 1 : Planar with zigzag track Intern.S 3 _ SP 2 : EPS
Intern.S 4 _ SP 1 : Planar with truck track Intern.S 4 _ SP 2 : Cork
SP 3 Intern.S 1 _ SP 3 : Virgin rubberSP 4 Intern.S 1 _ SP 4 : Modal
Intern.S 2 _ SP 3 : Styrene/Butadiene Intern.S 2 _ SP 4 : Wool
Intern.S 3 _ SP 3 : Espadrille Intern.S 3 _ SP 4 : Cotton
Intern.S 4 _ SP 3 : Neoprene Intern.S 4 _ SP 4 : Bioactive trevira
Intern.S 5 _ SP 3 : Ethylene/Propylene
SP 5 Intern.S 1 _ SP 5 : XPSSP 6 Extern.S 1 _ SP 6 : Shoe
Intern.S 2 _ SP 5 : Foam Extern.S 2 _ SP 6 : Boot
Intern.S 3 _ SP 5 : Gel memory foam
Intern.S 4 _ SP 5 : EVA
Intern.S 5 _ SP 5 : Polyethilene
Intern.S 6 _ SP 5 : Latex
SP 7 Extern.S 1 _ SP 7 : WoolSP 8 Extern.S 1 _ SP 8 : Plush linen
Intern.S 2 _ SP 7 : Modal Extern.S 2 _ SP 8 : Flannel
Intern.S 3 _ SP 7 : Cotton Extern.S 3 _ SP 8 : Polyester
Intern.S 4 _ SP 7 : Bioactive trevira Intern.S 4 _ SP 8 : Linen
Intern.S 5 _ SP 7 : Riso/Polar Intern.S 5 _ SP 8 : Velvet
Intern.S 6 _ SP 7 : Borreguillo Intern.S 6 _ SP 8 : Twill
SP 9 Extern.S 1 _ SP 9 : Spongy materialSP 10 Extern.S 1 _ SP 10 : Zipper eclair
Intern.S 2 _ SP 9 : Feathers Intern.S 2 _ SP 10 : Zipper velcro
Intern.S 3 _ SP 9 : Polyester
Intern.S 4 _ SP 9 : Dacron cotton
Intern.S 5 _ SP 9 : Burel
SP 11 Extern.S 1 _ SP 11 : GelSP 12 Intern.S 1 _ SP 12 : Temperature selector
+ Resistence
Extern.S 2 _ SP 11 : Natural seeds Intern.S 2 _ SP 12 : On–off control
+ Resistence
Intern.S 3 _ SP 11 : Rechargeable battery
Intern.S 4 _ SP 11 : Clay balls
Intern.S 5 _ SP 11 : Peltier tablet
SP 13 Extern.S 1 _ SP 13 : Thermocouple + PotentiometerSP 14 Extern.S 1 _ SP 14 : Switch
Intern.S 2 _ SP 13 : Thermostate Intern.S 2 _ SP 14 : Switch in potentiometer
Intern.S 3 _ SP 13 : Resistive capacity
SP 15 Extern.S 1 _ SP 15 : Charging base
Intern.S 2 _ SP 15 : Microwave oven
Intern.S 3 _ SP 15 : USB
Table 12. Concepts generated by the combination of solutions.
Table 12. Concepts generated by the combination of solutions.
Concepts
SubproblemTough SlipperTeddy SlipperEcofriendly SlipperTechno SlipperVintage SlipperSprint SlipperStar SlipperDiamond Slipper
SP 1 S 3 _ SP 1 S 1 _ SP 1 S 3 _ SP 1 S 2 _ SP 1 S 1 _ SP 1 S 2 _ SP 1 S 3 _ SP 1 S 1 _ SP 1
SP 2 S 2 _ SP 2 S 1 _ SP 2 S 4 _ SP 2 S 2 _ SP 2 S 4 _ SP 2 S 2 _ SP 2 S 4 _ SP 2 S 4 _ SP 2
SP 3 S 1 _ SP 3 S 5 _ SP 3 S 1 _ SP 3 S 4 _ SP 3 S 1 _ SP 3 S 1 _ SP 3 S 4 _ SP 3 S 4 _ SP 3
SP 4 S 3 _ SP 4 S 2 _ SP 4 S 1 _ SP 4 S 1 _ SP 4 S 2 _ SP 4 S 4 _ SP 4 S 4 _ SP 4 S 4 _ SP 4
SP 5 S 5 _ SP 5 S 2 _ SP 5 S 6 _ SP 5 S 3 _ SP 5 S 4 _ SP 5 S 3 _ SP 5 S 3 _ SP 5 S 3 _ SP 5
SP 6 S 2 _ SP 6 S 2 _ SP 6 S 1 _ SP 6 S 1 _ SP 6 S 2 _ SP 6 S 1 _ SP 6 S 2 _ SP 6 S 2 _ SP 6
SP 7 S 6 _ SP 7 S 5 _ SP 7 S 2 _ SP 7 S 2 _ SP 7 S 1 _ SP 7 S 4 _ SP 7 S 4 _ SP 7 S 4 _ SP 7
SP 8 S 6 _ SP 8 S 1 _ SP 8 S 4 _ SP 8 S 2 _ SP 8 S 2 _ SP 8 S 3 _ SP 8 S 3 _ SP 8 S 3 _ SP 8
SP 9 S 5 _ SP 9 S 4 _ SP 9 S 5 _ SP 9 S 4 _ SP 9 S 1 _ SP 9 S 4 _ SP 9 S 2 _ SP 9 S 2 _ SP 9
SP 10 S 1 _ SP 10 S 2 _ SP 10 S 1 _ SP 10
SP 11 S 3 _ SP 11 S 3 _ SP 11 S 2 _ SP 11 S 3 _ SP 11 S 1 _ SP 11 S 3 _ SP 11 S 3 _ SP 11 S 1 _ SP 11 and S 3 _ SP 11
SP 12 S 3 _ SP 12 S 1 _ SP 12 S 1 _ SP 12 S 1 _ SP 12 S 1 _ SP 12
SP 13 S 2 _ SP 13 S 1 _ SP 13 S 1 _ SP 13 S 3 _ SP 13 S 1 _ SP 13 S 1 _ SP 13
SP 14 S 1 _ SP 14 S 2 _ SP 14 S 2 _ SP 14 S 1 _ SP 14 S 2 _ SP 14 S 2 _ SP 14
SP 15 S 3 _ SP 15 S 3 _ SP 15 S 2 _ SP 15 S 1 _ SP 15 S 2 _ SP 15 S 3 _ SP 15 S 1 _ SP 15 S 1 _ SP 15 and S 2 _ SP 15
Table 13. Description of the concept Diamond Slippers.
Table 13. Description of the concept Diamond Slippers.
The track of the sole is of vibram type; the internal material of sole is cork; the material of the middle layer of the sole is neoprene; the lining material of the insole is bioactive trevira; the structural material of the insole is gel memory foam; the slippers are of boot type; the material of the internal lining of the upper element is bioactive trevira; the material of the external lining of the upper element is polyester; the thermal material of the structure is feathers; the bag of the thermal element has a zipper eclair; the product is prepared for two energy sources, i. thermal gel and ii. rechargeable battery; the temperature control system includes a temperature selector and a resistance; the monitoring system uses a thermopar and potentiometer; the switch mechanism is an on–off button incorporated in a potentiometer; and the charging system has also two alternatives, i. charging base; and ii. an external source (microwave oven).
Table 14. Summary of tasks and methods adopted in the Concept generation phase.
Table 14. Summary of tasks and methods adopted in the Concept generation phase.
TaskMethodsResults
Setting the problemsPhysical and Functional decomposition (via FAST)Table 10
Finding solutionsExternal and internally generated solutionsTable 11
Concept generationCombination of solution fragmentsTable 12
Preliminary concept screeningComparison with specificationsList 1
Table 15. Results of concept screening.
Table 15. Results of concept screening.
Comparison of Concepts to R (Expressed in Terms of Δ l k Indicators [see Equation (2)]).
CriteriaRTeddy SlipperTough SlipperTechno SlipperStar SlipperDiamond Slipper
Flexibility to use0 + 1 + 1 + 1 + 1 + 1
Washable000000
Temperature control000000
Non−slip sole000000
Hypoallergenic000 + 1 + 1 + 1
Biodegradability0 1 1 1 1 1
Utilization cycles000000
Loading cycles0 1 1 1 1 + 1
Energy efficiency000000
Weight0 + 1 + 1 + 1 + 1 + 1
O k 000113
Rank444221
ActionYesReviseReviseYesYesYes
Table 16. New concepts generated by the combination of solutions.
Table 16. New concepts generated by the combination of solutions.
Concepts
SubproblemStar Slipper+Diamond Slipper+
SP 1 S 2 _ SP 1 S 2 _ SP 1
SP 2 S 4 _ SP 2 S 4 _ SP 2
SP 3 S 1 _ SP 3 S 1 _ SP 3
SP 4 S 4 _ SP 4 S 4 _ SP 4
SP 5 S 6 _ SP 5 S 6 _ SP 5
SP 6 S 2 _ SP 6 S 4 _ SP 6
SP 7 S 4 _ SP 7 S 4 _ SP 7
SP 8 S 4 _ SP 8 S 3 _ SP 8
SP 9 S 2 _ SP 9 S 2 _ SP 9
SP 10 S 1 _ SP 10
SP 11 S 3 _ SP 11 S 3 _ SP 11 and S 4 _ SP 11
SP 12 S 1 _ SP 12 S 1 _ SP 12
SP 13 S 1 _ SP 13 S 1 _ SP 13
SP 14 S 2 _ SP 14 S 2 _ SP 14
SP 15 S 1 _ SP 15 S 1 _ SP 15 and S 2 _ SP 15
Table 17. Results of concept screening for new set of concepts.
Table 17. Results of concept screening for new set of concepts.
Comparison of Concepts to R (Expressed in Terms of Δ l k Indicators [see Equation (2)]).
CriteriaRTeddy SlipperTough SlipperTechno SlipperStar Slipper+Diamond Slipper+
Flexibility to use0 + 1 + 1 + 1 + 1 + 1
Washable000000
Temperature control000000
Non-slip sole000000
Hypoallergenic000 + 1 + 1 + 1
Biodegradability0 1 1 1 0 1
Utilization cycles000000
Loading cycles0 1 1 1 1 + 1
Energy efficiency000000
Weight0 + 1 + 1 + 1 + 1 + 1
O k 000123
Rank444321
ActionYesNoNoYesYesYes
Table 18. Results of concept rating.
Table 18. Results of concept rating.
Comparison of Concepts to R (Expressed in Terms of Δ l k Indicators in Γ ).
CriteriaWeightRTechno SlipperStar Slipper+Diamond Slipper+
Flexibility to use0.193444
Washable0.063333
Temperature control0.074444
Non-slip sole0.063444
Hypoallergenic0.062444
Biodegradability0.064134
Utilization cycles0.193333
Loading cycles0.184334
Energy efficiency0.084444
Weight0.053443
O k 3.333.403.513.70
Rank 4321
Action NoNoYesYes
Table 19. Summary of tasks and methods adopted in the Concept selection phase.
Table 19. Summary of tasks and methods adopted in the Concept selection phase.
TaskMethodsResults
Concept screeningMethod of PughTable 17
Improving the negativesCombination of solution fragmentsTable 16
Concept ratingWeighting method based on Pugh’s methodTable 18
Sensitivity analysisMonte Carlo samplingFigure 5
Publisher’s Note: MDPI stays neutral with regard to jurisdictional claims in published maps and institutional affiliations.

Share and Cite

MDPI and ACS Style

Duarte, B.P.M.; Carvalho, A.M.F.; Lima, D.S.B.; Costa, D.I.S.; Nunes, I.R.; Batista, J.P.S.C.; Gomes, P.J.S.; Bernardo, F.P. Concept Development—From Academia to Industry: A Journey Motivated by the Design of Portable Thermal Slippers. Designs 2022, 6, 65. https://doi.org/10.3390/designs6040065

AMA Style

Duarte BPM, Carvalho AMF, Lima DSB, Costa DIS, Nunes IR, Batista JPSC, Gomes PJS, Bernardo FP. Concept Development—From Academia to Industry: A Journey Motivated by the Design of Portable Thermal Slippers. Designs. 2022; 6(4):65. https://doi.org/10.3390/designs6040065

Chicago/Turabian Style

Duarte, Belmiro P. M., Ana M. F. Carvalho, Daniela S. B. Lima, Diana I. S. Costa, Inês R. Nunes, João P. S. C. Batista, Paulo J. S. Gomes, and Fernando P. Bernardo. 2022. "Concept Development—From Academia to Industry: A Journey Motivated by the Design of Portable Thermal Slippers" Designs 6, no. 4: 65. https://doi.org/10.3390/designs6040065

APA Style

Duarte, B. P. M., Carvalho, A. M. F., Lima, D. S. B., Costa, D. I. S., Nunes, I. R., Batista, J. P. S. C., Gomes, P. J. S., & Bernardo, F. P. (2022). Concept Development—From Academia to Industry: A Journey Motivated by the Design of Portable Thermal Slippers. Designs, 6(4), 65. https://doi.org/10.3390/designs6040065

Article Metrics

Back to TopTop