A Low-Cost Temperature-Controlled Chamber Fabricated for Materials Testing
Abstract
:1. Introduction
2. Materials and Methods
2.1. Materials Selection
2.2. Fabrication Analysis
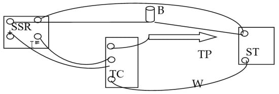
2.3. Chamber Development
3. Results
3.1. Functional Constructed Chamber
3.2. Chamber Testing and Its Calibrations
3.3. Material Test (Perovskite Thin Film)
4. Discussions
5. Conclusions
Supplementary Materials
Author Contributions
Funding
Acknowledgments
Conflicts of Interest
References
- Mensah, K.; Choi, J.M. Energy Consumption and Stability Investigation of Constant Temperature and Humidity Test Chamber. Int. J. Air-Cond. Refrig. 2017, 25, 1750010. [Google Scholar] [CrossRef]
- Han, Y.; Meyer, S.; Dkhissi, Y.; Weber, K.; Pringle, J.M.; Bach, U.; Spiccia, L.; Cheng, Y.-B. Degradation observation of encapsulated planar CH3NH3PbI3 perovskite solar cells at high temperatures and humidity. J. Mater. Chem. A 2015, 3, 8139–8147. [Google Scholar] [CrossRef]
- Lefcourt, A.M.; Buel, B.; Tasch, U. Large environmental chamber: Design and operating characteristics. Appl. Eng. Agric. 2001, 17, 691–701. [Google Scholar] [CrossRef]
- Garcia-Diego, F.J.; Pascual, J.J.; Marco-Jimerez, F. Technical Note: Design of large variable temperature chamber for heat stress studies in rabbits. World Rabbit Sci. 2011, 19, 225–231. [Google Scholar] [CrossRef]
- Ashara, G.S.; Vyas, D.S. Design, and simulation of temperature control of chamber based on automatic fan speed control. In Proceedings of the National Conference on Emerging Trends in Computer, Electrical & Electronics (ETCEE-2015), Rajkot, Gujara, India, 14 March 2015. [Google Scholar]
- Zhang, E.; Yuan, H.; Fu, J.; Jiang, X.; Hu, D. The design of temperature control system of test chamber based on the predictive control algorithm. In Proceedings of the Fourth International Conference on Instrumentation and Measurement, Computer, Communication, and Control, Harbin, China, 18–20 September 2014. [Google Scholar]
- Feng, J.; Li, R.-J.; Fan, K.-C.; Zhou, H.; Zhang, H. Development of a Low-Cost and Vibration-Free Constant-Temperature Chamber for Precision Measurement. Sens. Mater. 2015, 27, 329–340. [Google Scholar]
- Kramar, J.A. Nanometre resolution metrology with the Molecular Measuring Machine. Meas. Sci. Technol. 2005, 16, 2121. [Google Scholar] [CrossRef]
- Kim, S.W. New design of precision CMM based upon volumetric phase-measuring interferometry. Ann. Manuf. Technol. 2001, 50, 357–360. [Google Scholar] [CrossRef]
- Fan, K.C.; Fei, Y.T.; Yu, X.F.; Chen, Y.J.; Wang, W.L.; Chen, F.; Liu, Y.S. Development of a low-cost micro-CMM for 3D micro/nano measurements. Meas. Sci.Technol. 2006, 17, 524. [Google Scholar] [CrossRef]
- Products: Graphite Enhanced Polystyrene. Available online: www.neotherm.ie/neographite_031_graphite_enhanced_polystyrene.html (accessed on 13 February 2018).
- Market Study on Expandable Polystyrene. Available online: www.ceresana.com/en//marketstudies/plastics/expanded-polystrene (accessed on 13 February 2018).
- Lévesque, L. Law of cooling, heat conduction and Stefan—Boltzmann radiation laws fitted to experimental data for bones irradiated by the CO2 laser. Biomed. Opt. Express 2014, 5, 701–712. [Google Scholar] [CrossRef] [PubMed]
- Bartl, J.; Baranek, M. Emissivity of aluminum and its importance for radiometric measurement. Meas. Sci. Rev. 2004, 4, 31–36. [Google Scholar]
- Wu, L.-A.; Segal, D. Fourier’s law of heat conduction: Quantum mechanical master equation analysis. Phys. Rev. E 2008, 77, 060101(R). [Google Scholar] [CrossRef] [PubMed]






| S/N | Material | Specification | Quantity | Price ($) | Total Price ($) |
|---|---|---|---|---|---|
| 1 | Aluminium sheet | 1 mm (thick) | 1 | 37.44 | 37.44 |
| 2 | Rivets | 1 packet | 1.97 | 1.97 | |
| 3 | Wire | 2.5 mm | 4 yards | 1.15 | 4.59 |
| 4 | Filament bulb | 40 W | 3 | 0.33 | 0.99 |
| 5 | Temperature/Solid State Relay/Sensor | Mypin | 1 | 17.38 | 17.38 |
| 6 | Labor | 3 | 13.11 | 39.34 | |
| 7 | Lamp holder | 3 | 0.39 | 1.17 | |
| 8 | Battery | 100 AH–12 V | 1 | 98.36 | 98.36 |
| 9 | Inverter | 1 | 131.15 | 131.15 | |
| Total | 332.39 | ||||
| 10 | Overhead Cost | 32.85 | 32.85 | ||
| Grand Total | 365.24 |
| Set Temperature (°C) | MeanTemperature Reading from K-Type Thermocouple (°C) | Mean Temperature Reading from Reference Thermometer (°C) | Standard Deviation of Temperature Reading from K-Type Thermocouple (°C) | Standard Deviation of TemperatureReading from Reference Thermometer (°C) |
|---|---|---|---|---|
| 30 | 30.0120 | 30.0124 | 0.1372 | 0.1025 |
| 55 | 55.0340 | 54.9636 | 0.4644 | 0.1158 |
| 85 | 85.0440 | 85.0336 | 0.1723 | 0.0717 |
| Set Temperature (°C) | Mean Temperature Reading from Thermocouple (°C) | Standard Deviation of Temperature Reading from Thermocouple (°C) |
|---|---|---|
| 30 r | 29.965 | ±0.08482 |
| 30 l | 29.956 | ±0.08119 |
© 2018 by the authors. Licensee MDPI, Basel, Switzerland. This article is an open access article distributed under the terms and conditions of the Creative Commons Attribution (CC BY) license (http://creativecommons.org/licenses/by/4.0/).
Share and Cite
Ezike, S.C.; Alabi, A.B.; Ossai, A.N.; Aina, A.O. A Low-Cost Temperature-Controlled Chamber Fabricated for Materials Testing. Designs 2018, 2, 25. https://doi.org/10.3390/designs2030025
Ezike SC, Alabi AB, Ossai AN, Aina AO. A Low-Cost Temperature-Controlled Chamber Fabricated for Materials Testing. Designs. 2018; 2(3):25. https://doi.org/10.3390/designs2030025
Chicago/Turabian StyleEzike, Sabastine Chinedu, Aderemi Babatunde Alabi, Amarachukwu Nneka Ossai, and Adebayo Olaniyi Aina. 2018. "A Low-Cost Temperature-Controlled Chamber Fabricated for Materials Testing" Designs 2, no. 3: 25. https://doi.org/10.3390/designs2030025
APA StyleEzike, S. C., Alabi, A. B., Ossai, A. N., & Aina, A. O. (2018). A Low-Cost Temperature-Controlled Chamber Fabricated for Materials Testing. Designs, 2(3), 25. https://doi.org/10.3390/designs2030025

