Design and 3D Manufacturing of an Improved Heliostatic Illuminator
Abstract
1. Introduction
2. Materials and Methods
2.1. Astronomical Device Fundamentals
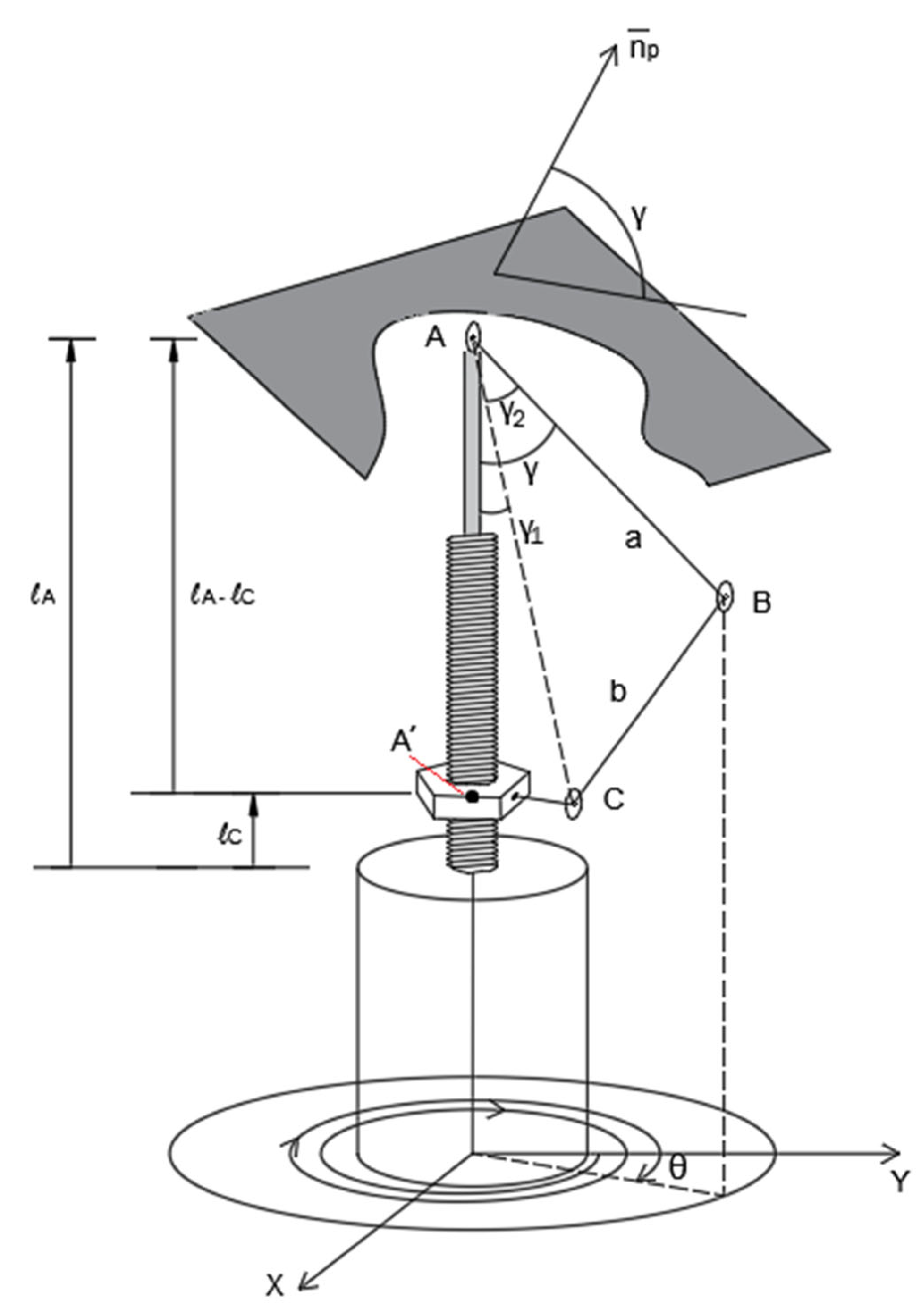
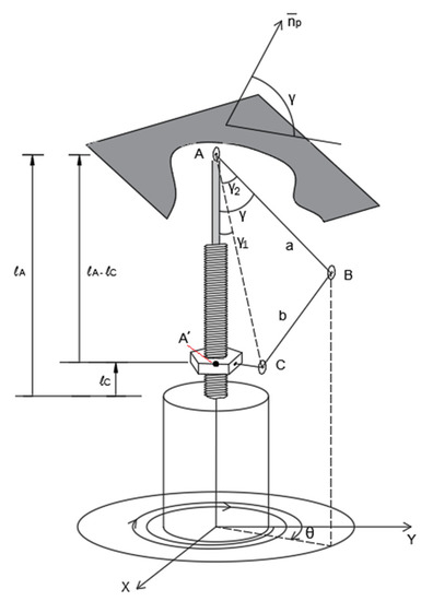
2.2. Mechanical Device Fundamentals
- The bar lengths must be allowed, for a summer solstice day, to have a value of θ, resulting in a value of according to Equations (12) and (13).
- Similarly, for a winter solstice day, the value must be achievable by the mechanism.
- Finally, because the pointing error depends on the dimensions of the device, a thorough analysis of the pointing error must be performed. In addition, dimensions should be chosen to provide a manageable error for the intended application.
2.3. Heliostat 3D Manufacturing
3. Results
3.1. Proposed Heliostatic Illuminator
3.1.1. Deformable Polygon
3.1.2. Transmission Parts
3.1.3. Support Parts
3.1.4. Installation Structure
4. Discussion
4.1. Pointing Error Analysis
4.2. Enhanced Heliostatic Illuminator: Improvements Achieved
5. Conclusions
- Mechanical design more compact and equipped with a direct transmission system that improves its movement;
- Significant reduction of the mass thanks to 3D manufacturing;
- Manufactured with recyclable and weather-resistant plastics;
- New structure for a more easy and precise installation;
- Greater stability and manageability;
- Lower production costs;
- Enhanced replicability.
Author Contributions
Funding
Data Availability Statement
Conflicts of Interest
References
- Dietz, T.; Shwom, R.L.; Whitley, C.T. Climate Change and Society. Annu. Rev. Sociol. 2020, 46, 135–158. [Google Scholar] [CrossRef]
- Bernauer, T. Climate Change Politics. Annu. Rev. Political Sci. 2013, 16, 421–448. [Google Scholar] [CrossRef]
- Gupta, J. A history of international climate change policy. WIREs Clim. Change 2010, 1, 636–653. [Google Scholar] [CrossRef]
- United Nations. Convención Marco de las Naciones Unidas Sobre el Cambio Climático; United Nations: New York, NY, USA, 1992. [Google Scholar]
- UNFCCC Report of the Conference of the Parties on Its Twenty-First Session, Held in Paris from 30 November to 13 December 2015. Part One: Proceedings; 2016; Volume 01192. Available online: https://unfccc.int/resource/docs/2015/cop21/eng/10.pdf (accessed on 14 December 2022).
- IPCC Climate Change 2022: Impacts, Adaptation, and Vulnerability. Contribution of Working Group II to the Sixth Assessment Report of the Intergovernmental Panel on Climate Change; Cambridge. 2022. Available online: https://www.ipcc.ch/report/ar6/wg3/ (accessed on 14 December 2022).
- United Nations The European Green Deal. Communication from the Commission; Brussels. 2019. Available online: https://www.esdn.eu/fileadmin/ESDN_Reports/ESDN_Report_2_2020.pdf (accessed on 14 December 2022).
- Rivera, L. Necesidad de una Transición Energética Justa con las Personas y la Naturaleza; 2022. Available online: https://www.fundacioncarolina.es/wp-content/uploads/2022/10/DT_FC_OXFAM4.pdf (accessed on 14 December 2022).
- Eurostat Shedding Light on Energy in the EU|2022 Interactive Edition; 2022. Available online: https://ec.europa.eu/eurostat/cache/infographs/energy/img/pdf/shedding-light-in-the-EU-2022_en.pdf?lang=en&lang=en (accessed on 14 December 2022).
- Parlamento Europeo Directiva 2012/27/UE del Parlamento Europeo y del Consejo, de 25 de Octubre de 2012. D. of. la Unión Eur. 2012, pp. 1–56. Available online: https://eur-lex.europa.eu/eli/dir/2012/27/oj (accessed on 14 December 2022).
- Kalinkina, N.; Zhdanova, I.; Chernysheva, I. The Organization of Natural Lighting in Buildings with Difficult Illuminated Areas; IOP Publishing Ltd: Bristol, England, 2020. [Google Scholar] [CrossRef]
- Caicedo, D.; Pandharipande, A.; Willems, F.M. Daylight-adaptive lighting control using light sensor calibration prior-information. Energy Build. 2014, 73, 105–114. [Google Scholar] [CrossRef]
- Doulos, L.T.; Sioutis, I.; Tsangrassoulis, A.; Canale, L.; Faidas, K. Revision of Threshold Luminance Levels in Tunnels Aiming to Minimize Energy Consumption at No Cost: Methodology and Case Studies†. Energies 2020, 13, 1707. [Google Scholar] [CrossRef]
- Alrubaih, M.S.; Zain, M.F.M.; Alghoul, M.A.; Ibrahim, N.L.N.; Shameri, M.A.; Elayeb, O. Research and development on aspects of daylighting fundamentals. Renew. Sustain. Energy Rev. 2013, 21, 494–505. [Google Scholar] [CrossRef]
- Yoo, S.; Kim, J.; Jang, C.-Y.; Jeong, H. A sensor-less LED dimming system based on daylight harvesting with BIPV systems. Opt. Express 2014, 22, A132–A143. [Google Scholar] [CrossRef]
- Wong, I.L. A review of daylighting design and implementation in buildings. Renew. Sustain. Energy Rev. 2017, 74, 959–968. [Google Scholar] [CrossRef]
- Mohapatra, B.; Kumar, M.R.; Mandal, S.K. Positioning of light shelves to enhance daylight illuminance in office rooms. Indones. J. Electr. Eng. Comput. Sci. 2019, 15, 168–177. [Google Scholar] [CrossRef]
- Thongtha, A.; Boontham, P. Experimental Investigation of Natural Lighting Systems Using Cylindrical Glass for Energy Saving in Buildings. Energies 2020, 13, 2528. [Google Scholar] [CrossRef]
- Jamala, N.; Rahim, R.; Shukri, S.M. The Architectural Analysis of the Illuminance Level in the Workspace, Using Natural and Artificial Lighting in Graha Pena Building in Makassar, Indonesia. J. Des. Built Environ. 2021, 21, 1–12. [Google Scholar] [CrossRef]
- Berardi, U.; Wang, T. Daylighting in an atrium-type high performance house. Build. Environ. 2014, 76, 92–104. [Google Scholar] [CrossRef]
- Kwon, C.W.; Lee, K.J. Integrated Daylighting Design by Combining Passive Method with DaySim in a Classroom. Energies 2018, 11, 3168. [Google Scholar] [CrossRef]
- Lee, K.S.; Han, K.J.; Lee, J.W. The Impact of Shading Type and Azimuth Orientation on the Daylighting in a Classroom–Focusing on Effectiveness of Façade Shading, Comparing the Results of DA and UDI. Energies 2017, 10, 635. [Google Scholar] [CrossRef]
- Song, J.; Luo, G.; Li, L.; Tong, K.; Yang, Y.; Zhao, J. Application of heliostat in interior sunlight illumination for large buildings. Renew. Energy 2018, 121, 19–27. [Google Scholar] [CrossRef]
- Mayhoub, M. Innovative daylighting systems’ challenges: A critical study. Energy Build. 2014, 80, 394–405. [Google Scholar] [CrossRef]
- Bystronski, Y.; Martau, B.T.; Costa-Neto, W.I. Use of Light Pipe and Electronic Heliostat for Lighting of Underground Areas in Porto Alegre. In Proceedings of the SOLAR 2017 Conference, Denver, CO, USA, 9–12 October 2017; International Solar Energy Society: Freiburg, Germany, 2017; pp. 1–8. [Google Scholar]
- Kontadakis, A.; Tsangrassoulis, A.; Doulos, L.; Zerefos, S. A Review of Light Shelf Designs for Daylit Environments. Sustainability 2018, 10, 71. [Google Scholar] [CrossRef]
- Oakley, G.; Riffat, S.B.; Shao, L. Daylight Performance of Lightpipes. Solar Energy 2000, 69, 89–98. [Google Scholar] [CrossRef]
- Ikuzwe, A.; Sebitosi, A. A novel design of a daylighting system for a classroom in rural South Africa. Sol. Energy 2015, 114, 349–355. [Google Scholar] [CrossRef]
- Malet-Damour, B.; Boyer, H.; Fakra, A.; Bojic, M. Light Pipes Performance Prediction: Inter Model and Experimental Confrontation on Vertical Circular Light-guides. Energy Procedia 2014, 57, 1977–1986. [Google Scholar] [CrossRef]
- Kennedy, D.M.; O’Rourke, F. Experimental analysis of a scaled, multi-aperture, light-pipe, daylighting system. Sol. Energy 2015, 122, 181–190. [Google Scholar] [CrossRef]
- Baroncini, C.; Boccia, O.; Chella, F.; Zazzini, P. Experimental analysis on a 1:2 scale model of the double light pipe, an innovative technological device for daylight transmission. Sol. Energy 2010, 84, 296–307. [Google Scholar] [CrossRef]
- Mohapatra, B.N.; Joshi, J. Modeling of vertical light pipes for daylight illumination of indoor industrial buildings. Sci. Tech. J. Inf. Technol. Mech. Opt. 2020, 20, 871. [Google Scholar] [CrossRef]
- Jiménez-Valle, A.; Varo-Martínez, M.; López-Luque, R. Experimental regression model to predict natural lighting levels and energy savings in buildings. Renew. Energy Power Qual. J. 2016, 537–541. [Google Scholar] [CrossRef]
- Sreelakshmi, K.; Ramamurthy, K. Review on fibre-optic-based daylight enhancement systems in buildings. Renew. Sustain. Energy Rev. 2022, 163, 112514. [Google Scholar] [CrossRef]
- Rosemann, A.; Kaase, H. Lightpipe applications for daylighting systems. Sol. Energy 2005, 78, 772–780. [Google Scholar] [CrossRef]
- Kischkoweit-Lopin, M. An overview of daylighting systems. Sol. Energy 2002, 73, 77–82. [Google Scholar] [CrossRef]
- Rosemann, A.; Mossman, M.; Whitehead, L. Development of a cost-effective solar illumination system to bring natural light into the building core. Sol. Energy 2008, 82, 302–310. [Google Scholar] [CrossRef]
- Tsangrassoulis, A.; Doulos, L.; Santamouris, M.; Fontoynont, M.; Maamari, F.; Wilson, M.; Jacobs, A.; Solomon, J.; Zimmerman, A.; Pohl, W.; et al. On the energy efficiency of a prototype hybrid daylighting system. Sol. Energy 2005, 79, 56–64. [Google Scholar] [CrossRef]
- Gibson, I.; Rosen, D.; Stucker, B.; Khorasani, M. Additive Manufacturing Technologies; Springer International Publishing: Cham, Switzerland, 2021. [Google Scholar] [CrossRef]
- Akhadov, Z.Z.; Abdurakhmanov, A.A.; Sobirov, Y.B.; Kholov, S.R.; Mamatkosimov, M.A.; Kuchkarov, A.A. A system with a tracking concentrating heliostat for lighting underground spaces with beams of sunlight. Appl. Sol. Energy 2014, 50, 122–124. [Google Scholar] [CrossRef]
- Ullah, I. Heliostats Daylighting System for Multi-floor Buildings. J. Daylighting 2019, 6, 202–209. [Google Scholar] [CrossRef]
- Yanpavlis, V.; Suzdalenko, A.; Stepanov, A.; Dzelzkaleja, L. Analysis of using a heliostat with non-rotating solar energy receivers. In Proceedings of the 2014 55th International Scientific Conference on Power and Electrical Engineering of Riga Technical University (RTUCON), Riga, Latvia, 14 October 2014; pp. 247–250. [Google Scholar] [CrossRef]
- Chang, C.-H.; Hsiso, H.-C.; Chang, C.-M.; Wang, C.-Y.; Lin, T.-H.; Chen, Y.-Y.; Lai, Y.-L.; Yen, C.-J.; Chen, K.-Y.; Whang, A.J.-W. Heliostat design for the daylighting system. Appl. Opt. 2014, 53, H165–H169. [Google Scholar] [CrossRef] [PubMed]
- Wang, C.-Y.; Whang, A.J.-W.; Tsai, Y.-L.; Yen, C.-J. The heliostat design for the Natural Light Illumination System. In Proceedings of the 2014 International Conference on Advanced Robotics and Intelligent Systems (ARIS), Taipei, Taiwan, 6–8 June 2014; pp. 103–106. [Google Scholar] [CrossRef]
- Torres-Roldán, M.; López-Luque, R.; Varo-Martínez, M. Design of an innovative and simplified polar heliostat for integration in buildings and urban environments. Sol. Energy 2015, 119, 159–168. [Google Scholar] [CrossRef]
- De Ahumada, L.F.; Physics for Energy and Renewable Resources Research Group. University of Cordoba. Spain; Torres-Roldán, M.; Osuna-Mérida, M.; Ramírez-Faz, J.; Luque, R.L.; Varo-Martínez, M. Daylighting system based on single-axis polar heliostat. Renew. Energy Power Qual. J. 2022, 20, 106–110. [Google Scholar] [CrossRef]
- Fernández-Ahumada, L.M.; Osuna-Mérida, M.; López-Sánchez, J.; Gómez-Uceda, F.J.; López-Luque, R.; Varo-Martínez, M. Use of Polar Heliostats to Improve Levels of Natural Lighting inside Buildings with Little Access to Sunlight. Sensors 2022, 22, 5996. [Google Scholar] [CrossRef]
- The third industrial revolution|Apr 21st 2012|The Economist. Available online: https://www.economist.com/weeklyedition/2012-04-21 (accessed on 9 November 2022).
- Frank, A.G.; Dalenogare, L.S.; Ayala, N.F. Industry 4.0 technologies: Implementation patterns in manufacturing companies. Int. J. Prod. Econ. 2019, 210, 15–26. [Google Scholar] [CrossRef]
- Candi, M.; Beltagui, A. Effective use of 3D printing in the innovation process. Technovation 2019, 80, 63–73. [Google Scholar] [CrossRef]
- Berman, B. 3-D printing: The new industrial revolution. Bus. Horiz. 2012, 55, 155–162. [Google Scholar] [CrossRef]
- Weller, C.; Kleer, R.; Piller, F.T. Economic implications of 3D printing: Market structure models in light of additive manufacturing revisited. Int. J. Prod. Econ. 2015, 164, 43–56. [Google Scholar] [CrossRef]
- Huang, S.H.; Liu, P.; Mokasdar, A.; Hou, L. Additive manufacturing and its societal impact: A literature review. Int. J. Adv. Manuf. Technol. 2013, 67, 1191–1203. [Google Scholar] [CrossRef]
- Bogers, M.; Hadar, R.; Bilberg, A. Additive manufacturing for consumer-centric business models: Implications for supply chains in consumer goods manufacturing. Technol. Forecast. Soc. Change 2016, 102, 225–239. [Google Scholar] [CrossRef]
- Steenhuis, H.-J.; Pretorius, L. Consumer additive manufacturing or 3D printing adoption: An exploratory study. J. Manuf. Technol. Manag. 2016, 27, 990–1012. [Google Scholar] [CrossRef]
- Petrovic, V.; Gonzalez, J.V.H.; Ferrando, O.J.; Gordillo, J.D.; Puchades, J.R.B.; Griñan, L.P. Additive layered manufacturing: Sectors of industrial application shown through case studies. Int. J. Prod. Res. 2010, 49, 1061–1079. [Google Scholar] [CrossRef]
- Beltagui, A.; Kunz, N.; Gold, S. The role of 3D printing and open design on adoption of socially sustainable supply chain innovation. Int. J. Prod. Econ. 2020, 221, 107462. [Google Scholar] [CrossRef]
- Delic, M.; Eyers, D.R. The effect of additive manufacturing adoption on supply chain flexibility and performance: An empirical analysis from the automotive industry. Int. J. Prod. Econ. 2020, 228, 107689. [Google Scholar] [CrossRef]
- Gao, W.; Zhang, Y.; Ramanujan, D.; Ramani, K.; Chen, Y.; Williams, C.B.; Wang, C.C.L.; Shin, Y.C.; Zhang, S.; Zavattieri, P.D. The status, challenges, and future of additive manufacturing in engineering. Comput. Aided Des. 2015, 69, 65–89. [Google Scholar] [CrossRef]
- Spencer, W. Fourier series representation of the position of the Sun. Search 1971, 2, 172. [Google Scholar]
- Torres-Roldán, M.; López-Luque, R.; Varo-Martínez, M. Assessment of the pointing error of heliostats with a single not polar rotation axis for urban applications. Sol. Energy 2016, 137, 281–289. [Google Scholar] [CrossRef]

















| Print Settings | Dimensions | Unit |
|---|---|---|
| Print Area | 220 × 220 × 250 | mm |
| Layer Height | 0.2 | mm |
| Nozzle | 0.4 | mm |
| Initial Layer Height | 0.3 | mm |
| Infill Density | 30 | % |
| Printing temperature | 245 | °C |
| Build Plate temperature | 90 | °C |
| Print speed | 60 | mm/s |
| Fan Speed | 0 | % |
| Support | Not needed |
| Features | Nomenclature | Length (mm) |
|---|---|---|
| Arm length | a | 88.52 |
| Pusher length | b | 65.00 |
| Separator length | c | 33.50 |
| Screw pitch | p | 1.50 |
Publisher’s Note: MDPI stays neutral with regard to jurisdictional claims in published maps and institutional affiliations. |
© 2022 by the authors. Licensee MDPI, Basel, Switzerland. This article is an open access article distributed under the terms and conditions of the Creative Commons Attribution (CC BY) license (https://creativecommons.org/licenses/by/4.0/).
Share and Cite
Varo-Martínez, M.; Ramírez-Faz, J.C.; López-Sánchez, J.; Torres-Roldán, M.; Fernández-Ahumada, L.M.; López-Luque, R. Design and 3D Manufacturing of an Improved Heliostatic Illuminator. Inventions 2022, 7, 127. https://doi.org/10.3390/inventions7040127
Varo-Martínez M, Ramírez-Faz JC, López-Sánchez J, Torres-Roldán M, Fernández-Ahumada LM, López-Luque R. Design and 3D Manufacturing of an Improved Heliostatic Illuminator. Inventions. 2022; 7(4):127. https://doi.org/10.3390/inventions7040127
Chicago/Turabian StyleVaro-Martínez, Marta, José C. Ramírez-Faz, Jesús López-Sánchez, Manuel Torres-Roldán, Luis Manuel Fernández-Ahumada, and Rafael López-Luque. 2022. "Design and 3D Manufacturing of an Improved Heliostatic Illuminator" Inventions 7, no. 4: 127. https://doi.org/10.3390/inventions7040127
APA StyleVaro-Martínez, M., Ramírez-Faz, J. C., López-Sánchez, J., Torres-Roldán, M., Fernández-Ahumada, L. M., & López-Luque, R. (2022). Design and 3D Manufacturing of an Improved Heliostatic Illuminator. Inventions, 7(4), 127. https://doi.org/10.3390/inventions7040127

